|
|
(21), (22) Заявка: 2006139558/28, 07.11.2006
(24) Дата начала отсчета срока действия патента:
07.11.2006
(46) Опубликовано: 20.01.2008
(56) Список документов, цитированных в отчете о поиске:
RU 2279664 C1, 10.07.2006. SU 348927 A1, 07.09.1972. SU 481821 A1, 08.12.1975. SU 481820, 17.10.1975.
Адрес для переписки:
241021, г.Брянск, ул. Мичурина, ФГУП “192 Центральный завод железнодорожной техники”
|
(72) Автор(ы):
Багров Геннадий Викторович (RU), Мицкович Владимир Степанович (RU), Фокин Юрий Иосифович (RU), Воробьев Владимир Иванович (RU), Воробьев Дмитрий Владимирович (RU), Тихомиров Виктор Петрович (RU), Клыков Андрей Николаевич (RU), Хохлов Алексей Дмитриевич (RU), Новиков Виктор Григорьевич (RU)
(73) Патентообладатель(и):
ФГУП “192 Центральный завод железнодорожной техники” (RU)
|
(54) ПРИБОР ДЛЯ ОПРЕДЕЛЕНИЯ МОЛЕКУЛЯРНОЙ СОСТАВЛЯЮЩЕЙ КОЭФФИЦИЕНТА ТРЕНИЯ
(57) Реферат:
Прибор имеет основание, механизм нагружения, установленные друг против друга с возможностью сближения держатели образцов с параллельными опорными плоскостями, один из которых взаимодействует с механизмом нагружения, устройство для измерения прикладываемого момента. Между держателями образцов расположена оправка с закрепленным в ней сферическим индентором. Механизм поворота индентора выполнен в виде оправки, один из концов которой через редуктор соединен с двигателем, а на другом ее конце, установленном в подшипнике вертикальной стойки, расположен кулачок, контактирующий с подпружиненными роликами. Образцы, установленные в держателях через электроизоляцию с возможностью перемещения, подкреплены пружинами, упирающимися в ограничители, установленные на плиту через электроизолирующие прокладки. Держатели с образцами имеют механизм создания возвратно-вращательного движения в виде электродвигателя и двух шестерен, одна из которых через изоляционную прокладку контактирует с нижним держателем. При этом магнитный контур имеет регулируемый воздушный зазор. 1 з.п. ф-лы, 2 ил.
Изобретение относится к области испытательной техники, в частности к приборам для определения коэффициентов трения и их составляющих.
Известен прибор для определения молекулярной составляющей в условиях трения скольжения [1], т.е. прочности адгезионных связей исследуемых материалов, содержащий корпус, механизм нагружения, установленные друг против друга с возможностью сближения держателей образцов с параллельными опорными плоскостями, один из которых взаимодействует с механизмом нагружения, расположенную между держателями оправку с закрепленным в ней сферическим индентором, механизм поворота индентора вокруг своей оси и устройство для измерения прикладываемого к индентору крутящего момента.
При этом механизм поворота индентора выполнен в виде установленного с возможностью поворота в плоскости, перпендикулярной опорным плоскостям держателей, и жестко закрепленного на оправке рычага, неподвижно установленного на нем сегмента, дуга которого описана из центра индентора, и охватывающей сегмент по дуге гибкой связи, на которую воздействует нагрузка, например, подвешен груз.
Недостатком описанного устройства является невозможность учета молекулярной составляющей коэффициента трения от влияния магнитного потока и электрического тока.
Наиболее близким техническим решением, выбранным в качестве прототипа, является прибор для определения молекулярной составляющей коэффициента трения [2].
Для этого прибор оборудован магнитопроводом с расположенной на нем электромагнитной катушкой, который образует вместе с держателями образцов, образцами и сферическим индентором общий магнитный контур, и источником тока, подключенным токопроводящими проводами к образцам.
Недостатком описанного технического решения, принятого за прототип, является учет молекулярной составляющей коэффициента трения только при скольжении.
Целью изобретения является повышение точности измерения молекулярной составляющей коэффициента трения при наличии внешних факторов, таких как электрический ток, магнитный поток, и пульсирующей составляющей крутящего момента при одновременном действии качения со скольжением и верчением.
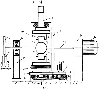
На фиг.1 изображена принципиальная схема предлагаемого прибора, а на фиг.2 – разрез линии А-А на фиг.1.
Прибор содержит нижнее основание 1 с механизмом создания возвратно-вращательного движения держателей 2 и 8 образцов 7 (фиг.1), который состоит из шестерен 3 и 4, установленных в подшипниках 5 и приводимых в действие электродвигателем 6. Между образцами 7 с плоскими и параллельными между собой исследуемыми поверхностями, установленными в нижний 2 и верхний 8 держатели образцов с возможностью перемещения через электроизоляцию 9, установлен сферический индентор 10. Индентор 10 приводится во вращательное движение в плоскости, перпендикулярной плоскостям образцов 7, оправкой 11, один из концов которой через редуктор 12 соединен с двигателем 13. На другом ее конце, установленном в подшипнике 14 вертикальной стойки 15, расположен кулачок 16, контактирующий с подпружиненными роликами 17. Для нагружения образцов 7 осевым усилием имеется механизм 18, установленный на вертикальных стойках 19.
Образцы 7 подкреплены пружинами 20, упирающимися в ограничители 21, установленные на плиту 22 через электроизолирующие прокладки 23 (фиг.2). Для создания в зоне контакта внешних воздействий прибор снабжен магнитопроводом 24 с находящейся на нем электромагнитной катушкой, а также подключенного посредством токоподводящих проводов к испытуемым образцам 7 источником тока (не показаны). С целью создания магнитного потока, в основном проходящего через зону контакта, нижний держатель 2 изолирован от шестерни 4 изоляционной прокладкой 25. Магнитопровод 24 плотно соприкасается с нижним держателем 2 через магнитный проводник 26, а с верхним 8 – через регулируемый воздушный зазор , образуя общий контур для прохождения магнитного потока через образцы 7.
Момент измеряется измерительным устройством (на чертеже не показано).
Прибор работает следующим образом.
Два плоскопараллельных образца 7 закрепляются в держателях 2 и 8. Между ними устанавливается оправка с индентором 10. При помощи механизма нагружения 18 к образцам прикладывается сжимающая нагрузка N. Время выдержки образцов под нагрузкой должно быть достаточным для завершения пластической деформации в зоне контакта индентора с образцами и соответствовать стандартной пробе Бринелля. К электромагнитной катушке магнитопровода 24 подводится переменное или постоянное напряжение, тем самым создается магнитный поток. Для усиления магнитного потока образцы 7 и индентор 10 изолированы от шестерни 4 прокладкой 25. Включается источник тока (на фиг.1 и 2 не показан), и ток подводится к образцам 7. Таким образом, в зоне контакта индентора 6 с образцами 4 действуют внешние возмущения – магнитный поток и электрический ток.
Включают электродвигатель 6 и через механизм, который состоит из шестерен 3 и 4, установленных в подшипниках 5, создается возвратно-вращательное движение держателей 2 и 8 образцов 7. При этом реализуется схема трения верчения образцов 7 относительно индентора 10.
К индентору 10 прикладывают крутящий момент Мкр, необходимый для его поворота в плоскости, перпендикулярной опорным плоскостям держателей, т.е. в плоскости, сжимающей образцы нагрузки N, реализуя схему трения качения со скольжением образцов 7 по индентору 10. Крутящий момент создается двигателем 13 и передается через редуктор 12 по оправке 11. На другом конце оправки 11 расположен кулачок 16, который под действием подпружиненных роликов 17 (показан один) создает на оправке пульсирующую составляющую момента. Так как образцы 7 подпружинены пружинами 20, то они, перемещаясь в плоскости, перпендикулярной сжимающей нагрузке N, реализуют схему трения качения со скольжением образцов 7 по индентору 10 при сжатии и растяжении соответствующих пружин 20, при наличии в зоне контакта пульсирующей составляющей момента.
Изменяя величину крутящего момента двигателя 13, можно реализовать разную величину проскальзования в зоне контакта образцов 7 и индентора 10.
Для изменения магнитного потока между образцами 7 и индентором 10 регулируют воздушный зазор в магнитопроводе .
Измеряют момент М специальным устройством (на чертеже не показано).
По измеряемым значениям момента М и нагрузки N определяют молекулярную составляющую коэффициента трения.
Таким образом, в описанном приборе повышается точность измерения молекулярной составляющей коэффициента трения при наличии внешних факторов, таких как электрический ток, магнитный поток, и пульсирующей составляющей момента при одновременном действии трения качения со скольжением и верчением.
Источники информации
1. А.С. СССР №348927, М. Кл. G01N 19/02, опубл. 23.08.72, бюл. №25.
2. Патент РФ №2279664, М. Кл. G01N 19/02, опубл. 10.07.06, бюл. №19.
Формула изобретения
1. Прибор для определения молекулярной составляющей коэффициента трения, содержащий основание, механизм нагружения, установленные друг против друга с возможностью сближения держатели образцов с параллельными опорными плоскостями, один из которых взаимодействует с механизмом нагружения, расположенную между держателями оправку с закрепленным в ней сферическим индентором, механизм поворота индентора вокруг своей оси и устройство для измерения прикладываемого к индентору крутящего момента, причем механизм поворота индентора выполнен в виде жестко закрепленной оправки, имеющей возможность поворота в плоскости, перпендикулярной опорным поверхностям образцов, при этом прибор оборудован магнитопроводом с расположенной на нем электромагнитной катушкой, который образует вместе с плитой, держателями образцов, образцами и сферическим индентором магнитный контур, и источником тока, подключенным токоподводящими проводами к образцам, отличающийся тем, что механизм поворота индентора выполнен в виде оправки, один из концов которой через редуктор соединен с двигателем, а на другом ее конце, установленном в подшипнике вертикальной стойки расположен кулачок, контактирующий с подпружиненными роликами, образцы, установленные в держателях через электроизоляцию с возможностью перемещения, подкреплены пружинами, упирающимися в ограничители, установленные на плиту через электроизолирующие прокладки, а держатели образцов имеют механизм создания возвратно-вращательного движения в виде электродвигателя и двух шестерен, одна из которых через изоляционную прокладку контактирует с нижним держателем.
2. Прибор для определения молекулярной составляющей коэффициента трения по п.1, отличающийся тем, что магнитный контур имеет регулируемый воздушный зазор.
РИСУНКИ
|
|