|
|
(21), (22) Заявка: 2006109666/02, 27.03.2006
(24) Дата начала отсчета срока действия патента:
27.03.2006
(46) Опубликовано: 20.01.2008
(56) Список документов, цитированных в отчете о поиске:
ДОБАТКИН В.И. Слитки титановых сплавов. – М.: Металлургия, 1966, с.25-26. SU 1654353 A1, 07.06.1991. SU 1260402, 30.09.1986. SU 919166 A1, 07.04.1982. SU 646788 A1, 25.08.1979.
Адрес для переписки:
624760, Свердловская обл., г. Верхняя Салда, ул. Парковая, 1, ОАО “Корпорация ВСМПО-АВИСМА”, патентный отдел
|
(72) Автор(ы):
Альтман Петр Семенович (RU)
(73) Патентообладатель(и):
ОАО “Корпорация ВСМПО-АВИСМА” (RU)
|
(54) ЭЛЕКТРОДОДЕРЖАТЕЛЬ ДУГОВОЙ ЭЛЕКТРОПЕЧИ
(57) Реферат:
Изобретение относится к металлургии, в частности к конструкции вакуумной дуговой печи, предназначенной для выплавки титановых сплавов. Электрододержатель дополнительно содержит тепловой сифон, расположенный между полостью с теплоносителем и хвостовиком крепления расходуемого электрода, при этом отношение площади сечения полости теплового сифона к площади сечения электрододержателя составляет 0,5-0,8. Изобретение повышает взрывобезопасность работы дуговой печи. 1 ил.
Изобретение относится к области черной и цветной металлургии, к конструкции вакуумной дуговой печи, в частности, предназначенной для выплавки титановых сплавов.
Электрододержатель является одним из важных элементов дуговых печей, к которым предъявляются следующие требования:
– подведение с минимальными потерями к электроду тока, сила которого на большегрузных печах составляет десятки килоампер;
– высокая механическая прочность в условиях действия значительных статических и знакопеременных динамических нагрузок;
– сопротивление тепловым нагрузкам, обусловленным действием тока и теплопередачей от расплава.
Известна конструкция электрододержателя (В.И.Добаткин и др. Слитки титановых сплавов, М.: Металлургия, 1966 г., стр.26-25) – прототип. Конструкция электрододержателя выполнена в виде двух коаксиально расположенных труб, снизу к наружной трубе приварен хвостовик для присоединения огарка. По внутренней трубе к хвостовику подают теплоноситель (охлаждающую воду), которая поднимается по зазору между трубами к сливному патрубку. Вверху приварены серьги для подсоединения гибких водоохлаждаемых шин подвода тока и опорное кольцо для крепления электрододержателя в траверсе привода. В процессе работы электрододержатель нагревается за счет прохождения электрического тока, джоулева тепла на контакте хвостовик-электрод, тепла от электрической дуги и жидкой ванны расплава. Наиболее нагруженной в тепловом отношении частью конструкции является часть корпуса, примыкающая к хвостовику, которая по условиям работы требует наиболее интенсивного охлаждения. Отвод большого количества тепла требует наличия развитой системы охлаждения, расположенной возможно ближе к хвостовику крепления электрода при интенсивной циркуляции значительных масс теплоносителя для поддержания необходимой по технологии температуры электрододержателя.
Недостатком данной конструкции является то, что в случае разрушения огарка или его сплавления более критической величины, которая устанавливается опытным путем, возникает перекидывание электрической дуги на хвостовик крепления огарка и его мгновенный прогар, в этом случае происходит попадание большой массы воды непосредственно в рабочую зону печи. При значительных поступлениях воды возможен не только паровой взрыв, но и взрыв гремучей смеси, т.к. титан взаимодействует с водой с ее диссоциацией и выделением свободного водорода. Неконтролируемое развитие данной ситуации приводит к авариям с тяжелыми последствиями.
Целью изобретения является повышение взрывобезопасности работы дуговой печи.
Техническим результатом, достигаемым при осуществлении изобретения, является недопущение попадания в рабочее пространство дуговой печи воды из системы охлаждения электрододержателя при его разрушении в количестве, приводящем к развитию аварийной ситуации.
Указанный технический результат достигается тем, что электрододержатель дуговой электропечи, содержащий хвостовик крепления расходуемого электрода, полую полость, заполненную теплоносителем, поступающим из внешнего источника, контактные серьги, дополнительно содержит тепловой сифон, расположенный между полостью с теплоносителем и хвостовиком крепления расходуемого электрода, при этом отношение площади сечения полости сифона к площади сечения электрододержателя составляет 0,5-0,8.
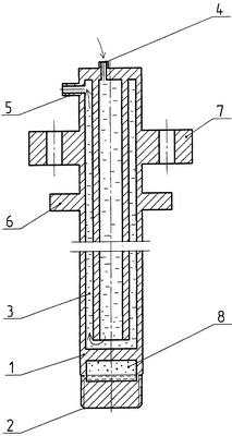
На чертеже представлен общий вид электрододержателя: корпус 1, хвостовик с резьбой для крепления огарка 2, полость с теплоносителем 3, патрубки подвода теплоносителя 4 и его отвода 5, опорное крепежное кольцо 6 контактной серьги 7 и тепловой сифона 8, в котором находится жидкий теплоноситель, например дистиллированная вода.
В процессе работы происходит разогрев электрододержателя, особенно со стороны хвостовика 2, при этом происходит интенсивный подвод тепла к нижней поверхности теплового сифона 8. Тепло передается воде, которая частично заполняет полость сифона, при этом часть воды испаряется с отбором избыточного количества тепла. Образующийся пар поступает на верхнюю плоскость стенки теплового сифона, которая с другой стороны является полостью, которая постоянно охлаждается теплоносителем, поступающим от внешнего источника по патрубку 4 и отводимым с помощью патрубка 5. После контакта с холодной стенкой пар переходит в состояние пересыщения и конденсируется с выделением теплоты. Выделенное тепло через стенку передается циркулирующему теплоносителю. Сконденсированная жидкость опускается на нижнюю плоскость теплового сифона, где снова образуется пар. Таким образом, обеспечивается непрерывный процесс охлаждения электрододержателя. В случае перебрасывания дуги на хвостовик 2 и его прогара в рабочую зону печи попадает небольшое количество воды, выделяемая энергия которой при ее фазовых превращения гарантировано не превышает пороговую, приводящую к развитию аварийной ситуации. Кроме того, изменение технологического процесса в рабочем пространстве печи, вызванное попаданием в нее небольшого количества воды, легко фиксируется известными способами, и автоматика печи выдает сигнал об остановке процесса плавки.
При отношении площади сечения полости сифона к площади сечения электрододержателя менее 0,5 ухудшаются теплопередающие свойства теплового сифона.
При отношении площади сечения полости сифона к площади сечения электрододержателя более 0,8 происходит увеличение активного сопротивления электрододержателя, что приводит к увеличению электрических потерь в нем.
Данное изобретение позволяет надежно фиксировать начало развития аварийной ситуации и позволяет локализовать ее на начальной стадии.
Формула изобретения
Электрододержатель дуговой электропечи, содержащий хвостовик крепления расходуемого электрода, контактные серьги и выполненный с полостью, заполненной теплоносителем, поступающим из внешнего источника, отличающийся тем, что он дополнительно содержит тепловой сифон, расположенный между полостью с теплоносителем и хвостовиком крепления расходуемого электрода, при этом отношение площади сечения полости теплового сифона к площади сечения электрододержателя составляет 0,5-0,8.
РИСУНКИ
|
|