|
|
(21), (22) Заявка: 2006112546/06, 17.04.2006
(24) Дата начала отсчета срока действия патента:
17.04.2006
(46) Опубликовано: 20.01.2008
(56) Список документов, цитированных в отчете о поиске:
RU 2189514 С2, 20.05.2001. RU 2004122644 A1, 27.05.2005. SU 141357 А, 01.01.1961. US 4300775 А, 17.11.1981. US 5271426 А, 21.12.1993. DE 19652169 А, 18.06.1998. ЕР 0260962 А1, 23.03.1988. WO 01/5507 А1, 02.08.2001.
Адрес для переписки:
125252, Москва, ул. Зорге, 36, кв.54, Т.В. Барнауловой
|
(72) Автор(ы):
Григорьев Анатолий Анатольевич (RU)
(73) Патентообладатель(и):
Григорьев Анатолий Анатольевич (RU)
|
(54) УПЛОТНЕНИЕ
(57) Реферат:
Изобретение относится к деталям машин, в частности к конструктивным элементам, и предназначено для герметизации мест сопряжения подвижных и неподвижных узлов запорно-регулирующей арматуры магистральных трубопроводов. Уплотнение установлено в корпусе трубопроводной арматуры с возможностью взаимодействия с ее подвижным элементом и содержит полость. Эта полость заполнена передающей давление средой. Полость выполнена в виде герметично закрытой тонкостенной трубки. В качестве передающей давление среды использовано вязкое вещество. Часть герметичного объема трубки заполнена воздухом. Изобретение направлено на повышение надежности работы за счет более равномерного уплотняющего воздействия на поверхность запорного органа в условиях высокотемпературного воздействия и высокого давления на арматуру без привлечения дополнительных источников среды для создания необходимого давления в полости уплотнительного элемента. 4 з.п. ф-лы, 6 ил.
Изобретение относится к деталям машин, в частности к конструктивным элементам, относящимся к местам сопряжения подвижных и неподвижных узлов трубопроводной арматуры.
Известны уплотнения, обеспечивающие герметизацию пары седло – запорный орган трубопроводной арматуры, выполненные из упругодеформируемого полимерного материала (ЕР 0401443, F16K 5/06, 1989 г.; RU 2217636, F16K 5/06, 2002 г.), либо в виде комбинации полимерного уплотнительного элемента с дополнительным поджимным элементом из металла. Подобные уплотнения эффективны в ограниченном диапазоне давлений рабочей среды и в ограниченном температурном диапазоне как рабочей среды, так и окружающей. Применение исключительно металлических элементов позволяет применить уплотнение в широких температурных пределах и в условиях сильного износа, вызываемого частым срабатыванием. Однако при ограниченных упругих свойствах материалов затруднено качественное уплотнение пары седло – запорный орган в широком диапазоне давлений рабочей среды и особенно в условиях высоких давлений.
С целью усиления упругих свойств уплотнения последнее дополнительно нагружают в сторону запорного органа давлением жидкости. Уплотнение по патенту RU 2189514, кл. F16K 3/20, 2002 г., наиболее близкое к заявляемому по числу совпадающих признаков, представляет собой охватывающую седло полость, образованную расположенными параллельно запорному органу мембранами. Полость заполнена средой, передающей давление, чем обеспечивается герметизация седла относительно запорного органа. Однако упомянутая полость нагружается давлением извне посторонней средой через специальный напорный канал и отверстия в каком-либо элементе корпуса, например патрубке, либо рабочей средой, что усложняет как изготовление арматуры в целом, так и ее обслуживание в процессе эксплуатации.
Настоящее изобретение решает задачу создания уплотнения для запорно-регулирующей арматуры трубопроводов, обеспечивающего равномерное уплотняющее воздействие на поверхность запорного органа в условиях высокотемпературного воздействия и высокого давления на арматуру, при высокой частоте срабатывания последней без привлечения дополнительных источников среды для создания необходимого давления в полости уплотнительного элемента.
Задача решается тем, что в уплотнении, установленном в корпусе трубопроводной арматуры с возможностью взаимодействия с ее подвижным элементом и содержащем полость, заполненную передающей давление средой, упомянутая полость выполнена в виде герметичной закрытой тонкостенной трубки, в качестве передающей давление среды использовано вязкое вещество, при этом часть герметичного объема заполнена воздухом. В качестве вязкого вещества преимущественно используется глицерин, а часть объема, заполненная воздухом, составляет от 10 до 20%. Элементом арматуры, с которым введено в контакт уплотнение, может быть как ее корпус, так и установленное в корпусе жесткое седло. Уплотнение может содержать по меньшей мере еще одну аналогичную полость в виде герметичной трубки, заполненной передающей давление средой, при этом обе полости помещены в единую герметичную оболочку.
Уплотнение заявленной конструкции может быть применено практически в любом типе арматуры: в задвижке для герметизации ножевого либо клинового запорного органа, в поворотном затворе, а также в сальниковых уплотнениях арматуры. Трубчатое уплотнение может быть выполнено из стали или иного материала достаточной упругости, изогнуто по форме уплотняемой поверхности и после частичного заполнения передающей давление средой закрыто герметично таким образом, чтобы часть герметичного объема была заполнена воздухом. Помимо глицерина могут быть использованы масла либо иные химические соединения, обладающие вязкостью, большей вязкости транспортируемой рабочей среды при заданной температуре. Несколько аналогичных трубок, помещенные в трубку большого диаметра, позволяют использовать уплотнение при больших давлениях рабочей среды и обезопасить область седла арматуры от возможных протечек передающей давление среды.
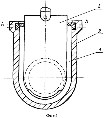
Изобретение поясняется описанием и приложенными к нему чертежами, на которых представлены примеры выполнения арматуры с заявленным уплотнением. На фиг.1 представлен разрез ножевой задвижки с уплотнением запорного органа; на фиг.2 – разрез по А-А фиг.1; на фиг.3 – разрез клиновой задвижки; фиг.4 – разрез сальникового уплотнения; на фиг.5 – разрез поворотного затвора; на фиг.6 – разрез уплотнения по п.5 формулы изобретения.
Уплотнение 1 выполнено в виде стальной трубки, заполненной, например, глицерином приблизительно на 80% объема и запаянной герметично с тем, чтобы оставшуюся часть объема составлял воздух. Трубка помещена в выемку корпуса 2 запорной арматуры с возможностью взаимодействия с запорным органом, например ножевым 3 (фиг.1, фиг.2). В корпусе установлено жесткое седло 4, с которым введено в контакт уплотнение 1, взаимодействующее с клиновым запорным органом 5 (фиг.3), либо с дисковым 6 в поворотном затворе (фиг.4). Уплотнение может быть использовано в сочетании с сальниковым 7 для герметизации корпуса арматуры в месте выхода из него подвижного шпинделя 8. Трубка изогнута по форме уплотняемого элемента. Уплотнение может содержать несколько аналогичных трубок, объединенных единой герметичной оболочкой 9.
Уплотнение может быть изготовлено и работает следующим образом.
Трубку, герметично закрытую с одного конца, заполняют материалом, передающим давление рабочей среды, на 80-90% и герметично закрывают с другого конца. Готовому уплотнению изгибом придают необходимую форму и помещают, например, в проточку корпуса арматуры в месте необходимой герметизации. В процессе функционирования арматуры подвижная ее часть (запорный орган или шпиндель запорного органа) оказывает давление на трубку, давление воспринимается заполняющей трубку средой и передается ею на другие части и стенки трубки, чем обеспечивается полное поверхностное прижатие уплотнения к подвижному элементу.
Изобретение может быть использовано в запорно-регулирующей арматуре магистральных трубопроводов, транспортирующих жидкость или газ.
Формула изобретения
1. Уплотнение, установленное в корпусе трубопроводной арматуры с возможностью взаимодействия с ее подвижным элементом и содержащее полость, заполненную передающей давление средой, отличающееся тем, что полость выполнена в виде герметично закрытой тонкостенной трубки, а в качестве передающей давление среды использовано вязкое вещество, при этом часть герметичного объема заполнена воздухом.
2. Уплотнение по п.1, отличающееся тем, что часть герметичного объема, заполненная воздухом, составляет от 10 до 20%.
3. Уплотнение по п.1, отличающееся тем, что в качестве вязкого вещества использован глицерин.
4. Уплотнение по п.1, отличающееся тем, что в корпусе установлено седло, а с седлом введена в контакт упомянутая трубка.
5. Уплотнение по п.1, отличающееся тем, что оно содержит по меньшей мере еще одну аналогичную полость, при этом обе полости помещены в единую герметичную оболочку.
РИСУНКИ
MM4A – Досрочное прекращение действия патента СССР или патента Российской Федерации на изобретение из-за неуплаты в установленный срок пошлины за поддержание патента в силе
Дата прекращения действия патента: 18.04.2008
Извещение опубликовано: 10.06.2010 БИ: 16/2010
|
|