|
(21), (22) Заявка: 2005132429/11, 20.10.2005
(24) Дата начала отсчета срока действия патента:
20.10.2005
(43) Дата публикации заявки: 27.04.2007
(46) Опубликовано: 20.01.2008
(56) Список документов, цитированных в отчете о поиске:
RU 2003134115 A1, 10.05.2005. SU 1221418 A, 30.03.1986. SU 520479 A, 13.07.1976. SU 1307132 A1, 30.04.1987.
Адрес для переписки:
664074, г.Иркутск-74, ул. Чернышевского, 15, ИрГУПС, патентно-лицензионный отдел, О.В. Видякиной
|
(72) Автор(ы):
Тупицын Альберт Алексеевич (RU), Тупицын Алексей Альбертович (RU)
(73) Патентообладатель(и):
Тупицын Альберт Алексеевич (RU), Тупицын Алексей Альбертович (RU)
|
(54) ТОРЦОВЫЙ ЗУБЧАТО-ШАРИКОВЫЙ ВАРИАТОР
(57) Реферат:
Изобретение относится к машиностроению и может быть использовано в механизмах для изменения скорости движения без прерывания потока мощности. Торцовый зубчато-роликовый вариатор состоит из двух соосных зубчатых колес (1, 4), имеющих торцовые зубья. Движение от ведущего колеса (1) к ведомому колесу (4) осуществляется через набор тел качения сферической формы (шарики). Шарики свободны, но находятся в замкнутом пространстве между зубьями колес, наружным (8) и внутренним (7) кольцами. При вращении ведущего колеса боковые поверхности его зубьев заставляют двигаться тела качения в круговом и осевом направлениях. Шарики имеют различные траектории и скорости перемещения, в сумме составляющие вращательное движение некоторой среды («третьего тела»), которая передает движение от ведущего колеса к ведомому. Передаточное отношение зависит от плотности среды, в свою очередь зависящей от геометрических параметров зубчатых колес, диаметров и количества тел качения и зазора между зубьями колес. Конструкция вариатора предусматривает возможность перемещения одного из колес по шлицам вала или направляющей шпонке вдоль оси. Изменяющаяся плотность «третьего тела» позволяет варьировать передаточное отношение, в том числе без прерывания потока мощности. 6 ил.
Предлагаемое изобретение касается конструкции механизмов, позволяющих изменять скорость движения во время работы без прерывания потока мощности.
В приводах многих машин возникает необходимость изменения скоростей движения во время работы. Для этого используются коробки передач (КПП), представляющие собой сложные механизмы. Применение КПП требует отключения главного движения, например, сцеплением в автомобилях или остановкой двигателя в металлорежущих станках и т.д.
В современных легковых автомобилях используются «коробки-автоматы» – коробки с автоматическим переключением скоростей.
«Коробка-автомат» – сложнейшая техническая система, состоящая из:
– механической части, содержащей многодисковое сцепление и многоступенчатую планетарную передачу;
– гидравлической части, содержащей гидронасос, гидротрансформатор, систему трубопроводов и клапанов;
– блок управления, содержащий систему управления силовой электрикой, электромагнитными клапанами и датчиками.
Стоимость коробки-автомата сопоставима со стоимостью двигателя.
Пока «коробки-автоматы» удерживают позиции, но отмечена тенденция их отступления перед полуавтоматическими и бесступенчатыми трансмиссиями (вариаторами).
Специалисты ведущих автомобильных фирм пришли к выводу, что для бесступенчатой трансмиссии из существующих конструкций наиболее приемлема конструкция клиноременного вариатора, имеющего разъемные шкивы, такие, что их половинки расходятся и сходятся, за счет чего ремень работает на разных диаметрах. Однако слабое место клиноременного вариатора – ремень, который проскальзывает и разрушается при больших нагрузках.
На некоторых моделях автомобилей «Ниссан» и «Ауди» установлены вариаторы, где ремень заменен цепью из стальной ленты и нанизанных на нее трапецеидальных сегментов.
Клиноременный вариатор с обычным ремнем – не очень надежная конструкция, с цепью – более дорогой и сложный в изготовлении, поэтому некоторые фирмы ведут исследования по разработке более надежных и компактных конструкций вариатора. Так, например, немецкая фирма GJT из Альсдорфа заинтересовалась конструкцией вариатора, состоящего из двух металлических конусов и кольца между ними. При перемещении кольца вдоль конусов передаточное отношение изменяется. Конструкция вариатора была запатентована в 1902 г. и только теперь внедряется. Разработчики не раскрыли механизм перемещения кольца и отметили, что конусы и кольцо находятся в жидкости, которая покрывает рабочие поверхности тончайшей легкой пленкой и это дает возможность передавать значительные нагрузки. Состав жидкости также не раскрывается.
Предлагаемое техническое решение может служить альтернативой существующим конструкциям вариаторов, применяемых в автостроении и других отраслях машиностроения.
Известна механическая передача [1], содержащая ведущее и ведомое колеса с торцовыми зубьями, набор тел качения в виде шариков, размещенных равномерно по окружности в продольных пазах корпуса и ограниченном пространстве между зубьями колес. Известна также передача [2], отличающаяся от [1] тем, что тела качения (шарики) расположены в межзубчатом пространстве свободно. Набор свободных, в пределах замкнутого межзубчатого пространства, сферических тел качения можно представить в виде некой среды – «третьего тела». При вращении ведущего колеса боковая поверхность зубьев заставляет шарики двигаться одновременно в круговом и осевом направлениях. Тела качения имеют различные траектории и скорости движения, в сумме составляющие вращательное движение «третьего тела», передающего движение от ведущего колеса к ведомому.
В [2] передаточное отношение определяется плотностью «третьего тела», зависящей от геометрических параметров зубчатых колес, диаметров тел качения, их количества и зазора между зубьями колес.
Предлагаемая конструкция торцового зубчато-шарикового вариатора предусматривает изменение зазора между зубьями ведущего и ведомого колес во время работы перемещением одного из них вдоль оси передачи.
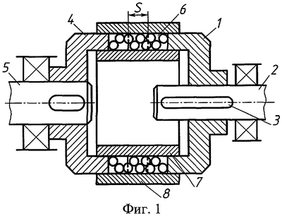
На фиг.1 показана конструктивная схема зубчато-шарикового вариатора.
Ведущее зубчатое колесо 1 расположено на валу 2 таким образом, что возможно перемещение его по шпонке 3 вдоль оси вала 2. Ведомое колесо 4 закреплено на валу 5. Колеса 1 и 4 имеют торцовые зубья и непосредственно между собой не взаимодействуют. Передача движения осуществляется через «третье тело» 6 – набор тел качения сферической формы. Шарики 5,6 мм в количестве 250 шт, составляющие «третье тело», находятся в замкнутом пространстве между колесами и кольцами: внутренними 7 и наружными 8. Наружное кольцо 8 может быть заменено стенкой корпуса.
Перемещением зубчатого колеса 1 вдоль оси передачи по направляющей шпонке изменяется расстояние s между зубьями колес, при этом изменяются свойства «третьего тела» – его плотность, от которой зависит передаточное отношение.
Для проверки возможности работы была изготовлена модель вариатора, которую исследовали на специальном стенде (фиг.2).
Вариатор 9 передает движение от вала двигателя 10 на вал генератора 11. Двигатель и генератор закреплены на салазках 12 и 13. Салазки 12 жестко закреплены в направляющей 14. В модели вариатора перемещение зубчатого колеса осуществляется не по направляющей шпонке (фиг.1), а перемещением салазок 13 вместе с генератором вдоль направляющей с помощью винта 15 (фиг.2).
Венцы ведомого и ведущего колес вариатора имеют одинаковые параметры (фиг.3). Число зубьев z=6.
Двигатель, на валу которого помещалось ведущее колесо, имеет частоту вращения 980 об/мин, мощность 0,45 кВт. Ведомое колесо установлено на вал генератора, в качестве которого использован двигатель постоянного тока с независимым возбуждением обмоток. С помощью системы реостатов, включенных в электрическую цепь генератора, на ведомое колесо передачи подавалась нагрузка до 0,4 кВт.
На фиг.4 показан общий вид стенда для исследования вариатора. На фиг.5 представлены ведущее колесо, закрепленное на валу двигателя и наружное кольцо на ведомом колесе, закрепленном на валу генератора; на фиг.6 – ведомое и ведущее зубчатые колеса и внутреннее кольцо.
Исследования на стенде подтвердили способность передачи данной конструкции преобразовывать вращательное движение с любым передаточным отношением, а также возможность изменения скорости без остановки движения (без прерывания потока мощности).
При максимальной плотности (крайнее левое положение генератора) ведущее и ведомое колеса вращаются с одинаковой скоростью (i=1). Уменьшение плотности третьего тела при работающей передаче снижает скорость вращения ведомого колеса до нуля. Скорость вращения колес замерялась тахометром.
При установившемся режиме работы (постоянной нагрузке) было установлено постоянство передаточного отношения.
Передаточное отношение вариатора i зависит от плотности «третьего тела», которая определяется расстоянием s (фиг.1) между торцами колес. При заданных геометрических параметрах звеньев вариатора и постоянной мощности возможно аналитическое определение i в зависимости от s.
Возможно построение этих зависимостей в виде тарировочных графиков, замеряя с помощью тахометра числа оборотов ведущего и ведомого колес при различных s.
Для заданного коэффициента варьирования и определенной мощности можно найти оптимальные значения диаметров колес, диаметров тел качения и их количество, параметры зубьев (количество, высота, профиль и т.д.).
Отсутствие в предлагаемой конструкции вариатора непосредственного контакта зубчатых колес не требует высокой точности их изготовления. Технология производства зубчатых колес упрощается за счет сокращения многих технологических операций, требующих специального оборудования. Стоимость тел качения, производимых в условиях массового производства на подшипниковых заводах, весьма невелика.
Таким образом, торцовые зубчато-шариковые вариаторы могут быть конкурентоспособными по отношению к вариаторам, выпускаемым как отечественной, так и зарубежной промышленностью.
Источники информации
1. Авт. свидет. SU 12214180 (Г.И.Измалков). 30.03.1980 г.
2. Зубчатая передача зацеплением через «третье тело». Заявка № 2003134115/11 (036642) от 24.11.2003.
Формула изобретения
Зубчатая передача зацеплением через «третье тело», содержащая ведущее и ведомое колеса, имеющие торцовые зубья, набор тел качения сферической формы (шарики), свободно находящихся в ограниченном межзубчатом пространстве, отличающаяся тем, что одно из зубчатых колес имеет возможность осевого перемещения для варьирования передаточного отношения, в том числе без прерывания потока мощности.
РИСУНКИ
|