|
|
(21), (22) Заявка: 2006117962/06, 24.05.2006
(24) Дата начала отсчета срока действия патента:
24.05.2006
(46) Опубликовано: 20.01.2008
(56) Список документов, цитированных в отчете о поиске:
САЗАНОВ Б.В. Тепловые электрические станции, Москва, Энергия, 1974, с.101-102, рис.7-17. US 5471834 A1, 19.12.1995. US 2589548 A1, 18.05.1952. US 4815282 A, 28.03.1989. GB 866017 A, 26.04.1961. DE 3424310 A1, 09.01.1986.
Адрес для переписки:
191036, Санкт-Петербург, С-36, ул. 6-я Советская, 25/20, кв.5, В.С. Григорчуку
|
(72) Автор(ы):
Григорчук Владимир Степанович (RU)
(73) Патентообладатель(и):
Григорчук Владимир Степанович (RU)
|
(54) ГАЗОТУРБИННЫЙ ДВИГАТЕЛЬ
(57) Реферат:
Газотурбинный двигатель содержит генератор газа, газовую турбину высокого давления, вход которой пневматически соединен с выходом газового генератора через баллон-рессивер газа, а выход связан с атмосферой, компрессор. Газотурбинный двигатель также содержит турбину низкого давления, вход которой соединен с выходом турбины высокого давления, а выход связан с атмосферой. Вал турбин соединен через муфту свободного хода с генератором газа. Внутри цилиндрического корпуса генератора газа закреплен ротор, представляющий собой ступицу, которая выполнена заодно с четырьмя радиальными лопастями, установленными через 90 градусов одна от другой. В верхней и нижней частях цилиндрического корпуса выполнены соответственно выпускной и впускной патрубки, причем первый из них через баллон-рессивер газа соединен с входом турбины высокого давления. В правой части круглого цилиндрического корпуса перпендикулярно линии, проходящей через центры выпускного и впускного патрубков, выполнен сквозной канал, в котором установлена свеча зажигания, представляющая собой спираль, намотанную на изоляционное основание и нагреваемую электрическим током. В левой части круглого цилиндрического корпуса, напротив свечи зажигания, на передней и задней крышках выполнены соосно друг другу отверстия, соединенные с патрубками, один из которых соединен через воздушный фильтр с атмосферой, а другой посредством трубопровода связан с форсункой эжекторного устройства, установленной внутри впускного трубопровода турбины высокого давления. Впускной патрубок генератора газа соединен с системой подачи топлива, а через баллон-рессивер сжатого воздуха связан с выпускным каналом роторного лопастного компрессора. Впускной канал роторного лопастного компрессора соединен с атмосферой через воздушный фильтр. Изобретение позволяет повысить производительность генератора газа. 11 ил.
Настоящее изобретение относится к области машиностроения и может найти применение в качестве газотурбинного двигателя.
Известен двухтактный двигатель П.Унрау, содержащий цилиндровый блок с картером и крышкой, кривошипно-шатунный механизм, расположенный в цилиндровом блоке и картере, газовую турбину с радиальными лопатками, причем вход газовой турбины связан с выходом двухтактного двигателя, а выход – с атмосферой, механизм передач, связывающий газовую турбину с кривошипно-шатунным механизмом, системы питания, охлаждения, смазки и запуска /В.И.Дубовской. Автомобили и мотоциклы России 1896-1917 г., М.: Транспорт, 1994, c.278-279, рис.162/.
Недостатками известного двигателя П.Унрау являются низкий КПД, недостаточная мощность, тепловые потери и потери на трение.
Указанные недостатки обусловлены наличием кривошипно-шатунного механизма, неполным использованием лопастей газовой турбины.
Известен также газотурбинный двигатель со свободнопоршневым генератором газа, содержащий многоступенчатую газовую турбину, поршневой генератор газа, выход которого соединен через баллон-рессивер газа с входом многоступенчатой газовой турбины, а вход связан через баллон-рессивер сжатого воздуха с компрессором, системы питания, охлаждения, смазки и запуска /Б.В.Сазанов. Тепловые электрические станции. Энергия, М.: 1974, c.101-102, рис.7-17/.
Известный газотурбинный двигатель со свободнопоршневым генератором газа, как наиболее близкий по технической сущности и достигаемому полезному результату, принят за прототип.
Недостатками газотурбинного двигателя со свободнопоршневым генератором газа, принятого за прототип, являются: низкая производительность генератора газа, сложность его конструкции и неполное использование энергии раскаленных газов.
Указанные недостатки обусловлены отсутствием турбины низкого давления и конструкцией генератора газа.
Целью настоящего изобретения является повышение производительности генератора газа и более полное использование энергии раскаленных газов.
Указанная цель согласно изобретению обеспечивается тем, что свободнопоршневой генератор газа заменен дополнительной турбиной низкого давления, вход которой соединен c выходом турбины высокого давления, а выход связан c атмосферой, установленной на одном и том же валу c турбиной высокого давления и размещенной в одном и том же корпусе с последней, генератором газа, передний конец вала которого соединен через муфту свободного хода c задним концом вала турбин, представляющим собой круглый цилиндрический корпус, закрытый передней и задней крышками, имеющими отверстия для прохода вала, на котором внутри корпуса закреплен ротор, представляющий собой ступицу, которая выполнена заодно c четырьмя радиальными лопастями, имеющими элементы уплотнения, установленными через 90 градусов одна относительно другой, а в верхней и нижней частях круглого цилиндрического корпуса выполнены соответственно выпускной и впускной патрубки, причем первый из них через баллон-рессивер газа соединен с входом турбины высокого давления, кроме того, в правой части круглого цилиндрического корпуса перпендикулярно линии, проходящей через центры выпускного и впускного патрубков, выполнен сквозной канал, в котором установлена свеча зажигания, представляющая собой спираль, намотанную на изоляционное основание и нагреваемую электрическим током, кроме того, в левой части круглого цилиндрического корпуса, напротив свечи зажигания, на передней и задней крышках выполнены соосно друг другу отверстия, соединенные c патрубками, один из которых соединен через воздушный фильтр с атмосферой эжекторным устройством, установленным внутри впускного трубопровода турбины высокого давления, причем головная часть форсунки входит внутрь диффузора, размещенного там же, а сама форсунка посредством трубопровода соединена со вторым патрубком генератора газа, кроме того, впускной патрубок генератора газа соединен c системой подачи топлива, роторным лопастным компрессором, впускной канал которого через воздушный фильтр соединен c атмосферой, а выпускной канал посредством трубопровода через баллон-рессивер сжатого воздуха связан с впускным патрубком генератора газа, причем передний конец вала роторного лопастного компрессора соединен с задним концом вала генератора газа посредством соединительной муфты, генератором-стартером, передний конец вала которого посредством соединительной муфты соединен с задним концом вала роторного лопастного компрессора.
Сущность изобретения поясняется чертежами, где на фигуре 1 изображен общий вид газотурбинного двигателя, на фигуре 2 – вид сверху на газотурбинный двигатель, на фигуре 3 – схема газотурбинного двигателя, на фигуре 4 – кинематическая схема газотурбинного двигателя, на фигуре 5 – разрез по АА фигуры 4, на фигуре 6 – общий вид генератора газа, на фигуре 7 – вид на генератор газа слева при снятой передней крышке, на фигуре 8 – общий вид эжекторного устройства в разрезе, на фигуре 9 – общий вид роторного лопастного компрессора, на фигуре 10 – вид на роторный лопастной компрессор слева при снятой передней крышке в разрезе, на фигуре 11 – схема принципа действия газотурбинного двигателя.
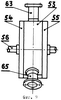
Газотурбинный двигатель содержит турбинный блок 1, установленный на раме 2, баллон-рессивер газа 3, закрепленный на турбинном блоке, эжекторное устройство 4, генератор газа 5, закрепленный на раме, роторный лопастной компрессор 6, также закрепленный на раме, баллон-рессивер сжатого воздуха 7, блок привода вспомогательных механизмов 8, выполненный заодно с роторным лопастным компрессором, стартер-генератор электрического тока 9, а также систему подачи топлива 10. Газотурбинный блок содержит корпус 11 с впускным 12 и выпускным 13 каналами, внутри которого на подшипниках установлен турбинный вал 14, на котором закреплены турбина высокого давления 15 и турбина низкого давления 16, имеющие направляющие аппараты 17 и 18, закрепленные внутри корпуса. Впускной трубопровод 19 выполнен заодно с эжекторным устройством, имеет запорный кран 20 и соединяет впускной канал турбинного блока с выпускным каналом баллона-рессивера газа. Эжекторное устройство содержит корпус 21, впускной 22 и выпускной 23 патрубки. Внутри корпуса размещены диффузор 24 и форсунка 25 с патрубком 26, сопло которой направлено в сторону движения потока газа. Генератор газа содержит круглый цилиндрический корпус 27 с рубашкой охлаждения 28, закрытый передней 29 и задней 30 крышками, имеющими в центре отверстия для прохода вала 31, на котором закреплена ступица 32, выполненная заодно с четырьмя радиальными лопастями 33, имеющими элементы уплотнения 34, установленными через 90 градусов одна от другой. В верхней и нижней частях круглого цилиндрического корпуса выполнены соответственно выпускной 35 и впускной 36 патрубки. Выпускной патрубок посредством трубопровода 37 с впускным клапаном 38 соединен с впускным каналом баллона-рессивера газа. В правой части круглого цилиндрического корпуса перпендикулярно линии, проходящей через центры впускного и выпускного патрубков, выполнен сквозной канал 39, в котором установлена свеча зажигания 40, представляющая собой спираль, намотанную на изоляционное основание и нагреваемую электрическим током. В левой части круглого цилиндрического корпуса, напротив свечи зажигания, на передней и задней крышках выполнены соосно друг другу отверстия 41, соединенные с патрубками 42, 43, один из которых через воздушный фильтр 44 соединен с атмосферой, а другой посредством трубопровода 45 соединен о форсункой эжекторного устройства. Ротор в положении, показанном на фигуре 7, делит внутреннюю полость круглого цилиндрического корпуса на четыре камеры: впускную 46, сгорания 47, выпускную 48 и продувочную 49. Передний конец вала генератора газа соединен с ведомой полумуфтой 50 муфты свободного хода, ведущая полумуфта которой соединена с задним концом турбинного вала. Ведущая полумуфта 51 взаимодействует с ведомой полумуфтой посредством роликов 52, размещенных в вырезах ведомой полумуфты. Роторный компрессор /см. Политехнический словарь, изл.2, гл. ред. А.Ю.Ишлинский. Советская энциклопедия, М., 1980, с.233, ст. “компрессор, рис. на с.234/ содержит круглый цилиндрический корпус 53, закрытый передней 54 и задней 55 крышками, в отверстиях которых установлен вал 56, на котором закреплен ротор 57, ось которого смещена вниз относительно оси круглого цилиндрического корпуса таким образом, что наружная поверхность ротора в нижнем положении контактирует с внутренней нижней поверхностью круглого цилиндрического корпуса. Ротор имеет четыре радиальных паза 58, выполненных под углом 90 градусов один относительно другого. В радиальных пазах установлены лопасти 59, нагруженные пружинами 60. Две левые полости круглого цилиндрического корпуса посредством отверстий 61 соединены с трубопроводом 62, оканчивающимся впускным патрубком 63, который посредством трубопровода 64 соединен с воздушным фильтром. Нижняя правая полость сообщается с нижним выпускным патрубком 65, который посредством трубопровода 66 через впускной клапан 67 соединен с баллоном-рессивером сжатого воздуха, выпускной канал которого посредством трубопровода 68 с запорным краном 69 соединен с впускным патрубком генератора газа. Круглый цилиндрический корпус роторного лопастного компрессора имеет рубашку охлаждения 70. Передний конец вала роторного лопастного компрессора посредством соединительной муфты 71 соединен с задним концом вала генератора газа. Задний конец вала роторного лопастного компрессора кинематически связан с механизмом привода валов масляного насоса 72, водяного насоса 73 системы охлаждения и топливного насоса 74, а посредством соединительной муфты 75 соединен со стартером-генератором электрического тока.
Работа газотурбинного двигателя
После проверки систем газотурбинного двигателя производится его запуск. Перед запуском необходимо закрыть краны 20, 65. После этого включается стартер-генератор электрического тока 9, питаемый от аккумуляторных батарей, не показанных на чертежах, который приводит во вращение роторный лопастной компрессор 6, генератор газа 5 и механизм привода вспомогательных агрегатов 8. При этом роторный лопастной компрессор 6 забирает через воздушный фильтр 44 воздух из атмосферы, сжимает его до необходимой величины и по трубопроводу 66 через впускной клапан 67 направляет его в баллон-рессивер сжатого воздуха 7. В это время генератор газа 5 работает вхолостую, а турбины высокого 15 и низкого 16 давления неподвижны и отделены от валов роторного лопастного компрессора 6 и генератора газа 5 муфтой свободного хода, ведомая полумуфта 50 которой вращается, а ведущая полумуфта 51 неподвижна. Как только давление сжатого воздуха в баллоне-рессивере 7 достигнет необходимой величины, открывается кран 69 и сжатый воздух устремляется во впускную камеру 46 генератора газа 5 и вместе с ним туда поступает топливо из топливной системы 10, где перемешивается со сжатым воздухом. /На фигуре 11 показано сплошными стрелками/. При повороте ступицы 32 с лопастями 33 генератора газа 5 в направлении, показанном стрелкой, на 90 градусов топливная смесь перемещается в камеру сгорания 47, где она воспламеняется от нагретой электрическим током спирали свечи зажигания 40, и давление газа резко возрастает. При повороте ступицы 32 с лопастями 33 генератора газа 5 еще на 90 градусов образовавшиеся газы перемещаются в выпускную камеру 48, из которой, расширяясь, выбрасываются через выпускной патрубок 35, трубопровод 37 и впускной клапан 38 в баллон-рессивер газа 3, где и накапливаются. Как только давление в баллоне-рессивере газа 3 достигнет необходимой величины, открывается кран 20 и горячие газы под давлением поступают в турбинный блок 1 и начинают вращать турбины высокого 15 и низкого 16 давления. /На фигуре 11 показано пунктирными стрелками/. При повороте ступицы 32 и лопастей 33 генератора газа 5 еще на 90 градусов оставшиеся отработанные газы перемещаются в продувочную камеру 49, где и происходит их удаление. Во время движения раскаленных газов впереди эжекторной форсунки 25 возникает разрежение, в результате которого остаточные газы из продувочной камеры 49 через отверстие 41 по трубопроводу 45 устремляются в турбинный блок, а вместо них через воздушный фильтр 44 в продувочную камеру 49 засасывается воздух из атмосферы. И далее все повторяется сначала. Происходит поступление сжатого воздуха, смешанного с топливом, воспламенение и сгорание горючей смеси, выброс раскаленных газов и удаление остатков отработанных газов и поступление чистого воздуха. В момент поступления раскаленных газов в турбинный блок 1 турбина высокого давления 15 и турбина низкого давления 16 приходят во вращение. /На фигуре 11 показано пунктирными стрелками/. Когда частота вращения турбинного вала14 станет выше частоты вращения вала 31, муфта свободного хода соединит все валы в одно целое. Питание стартера-генератора электрического тока отключается от аккумуляторных батарей и он переходит в режим генератора постоянного тока, энергия которого поступает для зарядки аккумуляторных батарей и для собственных нужд. В этом случае турбины высокого 15 и низкого 16 давления приводят в движение, кроме нагрузки, еще и генератор газа 5, роторный лопастной компрессор 6, механизм привода вспомогательных агрегатов 8 и генератор постоянного тока 9. Частота вращения газовых турбин высокого и низкого давления может изменяться за счет изменения количества топлива, подаваемого в генератор газа 5. Для остановки газотурбинного двигателя необходимо прекратить подачу топлива в генератор газа и закрыть краны 20 и 69. Наличие впускных клапанов 38 и 67 при закрытых кранах 20, 69 позволяет сохранить некоторое количество сжатого воздуха и газа в баллонах-рессиверах 3, 7, что способствует более быстрому запуску газотурбинного двигателя. Газотурбинный двигатель может быть использован на электростанциях и на морских и речных судах.
Положительный эффект: более высокий КПД и более высокая мощность на выходном валу.
Формула изобретения
1. Газотурбинный двигатель, содержащий генератор газа, газовую турбину высокого давления, вход которой пневматически соединен с выходом газового генератора через баллон-ресивер газа, а выход связан с атмосферой, компрессор, системы питания, охлаждения, смазки, зажигания и запуска, отличающийся тем, что введена дополнительно турбина низкого давления, вход которой соединен с выходом турбины высокого давления, а выход связан с атмосферой, установленная на одном и том же валу с турбиной высокого давления и выполненная в одном и том же корпусе с последней, причем второй конец вала турбин соединен через муфту свободного хода с генератором газа, представляющим собой круглый цилиндрический корпус, закрытый передней и задней крышками, имеющими отверстия для прохода вала, на котором внутри корпуса закреплен ротор, представляющий собой ступицу, которая выполнена заодно с четырьмя радиальными лопастями, имеющими элементы уплотнения, установленными через 90° одна от другой, а в верхней и нижней частях цилиндрического корпуса выполнены соответственно выпускной и впускной патрубки, причем первый из них через баллон-ресивер газа соединен с входом турбины высокого давления, кроме того, в правой части круглого цилиндрического корпуса перпендикулярно линии, проходящей через центры выпускного и впускного патрубков, выполнен сквозной канал, в котором установлена свеча зажигания, представляющая собой спираль, намотанную на изоляционное основание и нагреваемую электрическим током, кроме того, в левой части круглого цилиндрического корпуса напротив свечи зажигания на передней и задней крышках выполнены соосно друг другу отверстия, соединенные с патрубками, один из которых соединен через воздушный фильтр с атмосферой, а другой посредством трубопровода связан с форсункой эжекторного устройства, установленной внутри впускного трубопровода турбины высокого давления, причем головная часть форсунки входит внутрь диффузора, размещенного там же, кроме того, впускной патрубок генератора газа соединен с системой подачи топлива, а через баллон-ресивер сжатого воздуха связан с выпускным каналом роторного лопастного компрессора, передний конец вала которого посредством соединительной муфты соединен с задним концом вала генератора газа, а задний конец вала роторного лопастного компрессора соединен посредством соединительной муфты с передним концом вала генератора-стартера, причем впускной канал роторного лопастного компрессора соединен с атмосферой через воздушный фильтр.
РИСУНКИ
|
|