|
(21), (22) Заявка: 2006116671/06, 15.05.2006
(24) Дата начала отсчета срока действия патента:
15.05.2006
(46) Опубликовано: 20.01.2008
(56) Список документов, цитированных в отчете о поиске:
SU 357358 A, 27.11.1972. RU 2046970 C1, 27.10.1995. SU 1121488 A, 30.10.1984. US 200455843 A, 25.03.2004. EP 0280200 A, 31.08.1988. JP 2003328767 A, 19.11.2003. FR 2801127 A, 18.05.2001.
Адрес для переписки:
644020, г.Омск-20, Красный пер., 2, 1152, ФГУП КБТМ
|
(72) Автор(ы):
Беляева Татьяна Сергеевна (RU), Лобанов Сергей Владимирович (RU), Тюлюкин Юрий Петрович (RU)
(73) Патентообладатель(и):
Федеральное государственное унитарное предприятие Конструкторское бюро транспортного машиностроения (RU)
|
(54) СИЛОВОЙ АГРЕГАТ ДЛЯ ПРИВОДА НАСОСА ВЫСОКОГО ДАВЛЕНИЯ
(57) Реферат:
Изобретение относится к области добычи полезных ископаемых, а конкретно – к силовым агрегатам для привода насосных установок высокого давления, и может быть использовано для выполнения различных операций на нефтяных и газовых скважинах. В качестве трансмиссии в нем использована малогабаритная танковая планетарная коробка передач (КП), которая установлена соосно коленчатому валу двигателя и связана первичным валом через соединительный валик и предохранительную муфту с носком коленчатого вала, а на фланце корпуса КП, обращенном к двигателю, размещен однорядный шестеренчатый редуктор, на выводных валах которого установлены гидронасосы для принудительной смазки насоса высокого давления и смазки КП и гидронасос для питания гидромотора привода центробежного вентилятора обдува радиатора, причем входной вал редуктора связан шлицами с первичным валом КП с обеспечением сохранения заданного режима работы гидронасосов независимо от включенной передачи в КП, при этом радиатор жидкостного охлаждения двигателя, масляный радиатор системы смазки двигателя и масляный радиатор трансмиссии размещены в общем стеллаже над одним из блоков цилиндров двигателя, а центробежный вентилятор размещен с использованием объема ниши под тем же блоком цилиндров и связан напорной магистралью, образованной плоским воздуховодом, установленным с боку двигателя в габаритах самоходного шасси, с упомянутыми радиаторами, с обеспечением возможности их охлаждающего обдува, при этом двигатель силового агрегата оборудован системами дистанционного запуска и управления, а система выпуска отработанных газов снабжена цилиндрическим коллектором со встроенными устройствами искрогашения и сбора несгоревших остатков дизельного топлива и смолообразных продуктов горения. Изобретение обеспечивает повышение эффективности охлаждения, пожаробезопасности, улучшения эксплуатационных характеристик. 7 з.п. ф-лы, 9 ил.
Изобретение относится к области добычи полезных ископаемых, а конкретно – к силовым агрегатам для привода насосных установок, и может быть использовано для выполнения различных операций на нефтяных и газовых скважинах, таких как гидроразрыв пластов, гидропескоструйная перфорация, цементирование и глушение скважин, промывочно-продавочные работы и т.д.
Известен привод насосной установки, выполненной по свидетельству на полезную модель №20127 по заявке №2001113459 от 15.05.2001 г., Е21В 33/14, который осуществляется от двигателя шасси автомобиля, на раме которого смонтирован насос высокого давления.
Недостатком известного привода является ограниченность моторесурса двигателя, который вырабатывается как при выполнении работ на нефтяных и газовых скважинах, так и при транспортировке установки на значительные расстояния к месторождениям. Кроме того, мощность двигателя автомобиля КамАЗ, на шасси которого выполнена насосная установка, не позволяет обеспечить привод насосов более высокого давления и производительности, что также ограничивает эксплуатационные возможности.
Известен привод агрегата насосного, выполненного по свидетельству на полезную модель №20138 по заявке №2001114001 от 25.05.2001 г., F04B 17/00, который осуществляется двумя силовыми агрегатами, каждый из которых выполнен в виде газотурбинного двигателя (ГТД) с трансмиссией в виде коробки передач и соединен с одной из сторон приводного вала. Коробки передач оборудованы электрогидравлическими устройствами включения в работу обоих ГТД либо одного из них. Известные силовые агрегаты имеют следующие недостатки, обусловленные использованием ГТД:
– повышенная пожароопасность из-за наличия значительной по объему высокотемпературной струи отработавших газов, истекающих из выхлопного патрубка при работе двигателя, а также возможность помпажных явлений в турбокомпрессоре, при которых происходит выброс пламени из камеры сгорания наружу, что затрудняет использование агрегата на нефтяных и газовых месторождениях;
– система запуска требует наличия мощных источников электрической энергии, дорогостоящей пусковой аппаратуры и стартера;
– значительно больший расход топлива по сравнению с дизелем равной мощности;
– повышенная стоимость по сравнению с дизелем равной мощности;
– сложность технического обслуживания и ремонта ввиду отсутствия ремонтных баз и подготовленных кадров.
Кроме того, так как смазка насоса высокого давления осуществляется с приводом от вала отбора мощности двигателя шасси, требуется его работа в течение всего рабочего цикла насоса, что ведет к выработке моторесурса двигателя и большому расходу топлива на неоптимальном режиме холостого хода.
Известен силовой агрегат для привода универсальной нефтепромысловой насосной установки (см. статью Ибрагимова Э.С., Гаджиева Р.И., Горбова В.Г, Серякова В.Ф., Газарова Р.Е. в журнале «Химическое и нефтяное машиностроение», 1984 г., №8, стр.5), принимаемый за прототип, который состоит из дизельного двигателя с системами топливной, смазки и охлаждения, воздухоочистителей, пускового устройства и др.
Система смазки – циркуляционная, принудительная, включает центробежный маслозакачивающий насос, радиатор и бак. Система охлаждения – водяная, принудительная, закрытая. Состоит из радиаторов, установленных перед двигателем и перепускных линий, позволяющих направлять движение рабочей жидкости через радиаторы или минуя их.
На боковых стенках силового агрегата установлены четыре инерционных воздухоочистителя, соединенных с турбокомпрессорами двигателя. Запуск двигателя осуществляется электростартером, питаемым током от специально предусмотренной аккумуляторной батареи. Каждый выхлопной коллектор двигателя снабжен индивидуальным глушителем-искрогасителем.
Фрикционной муфтой постоянно замкнутого типа через карданный вал двигатель соединен с первичным валом трехвальной коробки передач.
Известный силовой агрегат имеет следующие недостатки:
– установка радиаторов системы охлаждения перед двигателем поперек него, использование четырех инерционных воздухоочистителей и двух глушителей-искрогасителей приводит к увеличению габаритов силового агрегата, что снижает транспортабельность универсальной нефтепромысловой насосной установки, делает возможным ее размещение только на шасси автомобиля КРАЗ, которое имеет самую длинную базу, при этом практически вся остальная зона грузовой платформы использована для размещения труб и гидравлической арматуры, которые затрудняют доступ для обслуживания и ремонта агрегата, повышают трудоемкость работ;
– использование электрического запуска двигателя требует обслуживания аккумуляторной батареи, особого ухода за ней в зимних условиях, а возможность короткого замыкания повышает пожароопасность на нефтяных и газовых скважинах;
– коробка передач, кроме больших габаритов, имеет значительную массу, что ухудшает показатели подвижности самоходного шасси.
Настоящим изобретением решается задача создания компактного силового агрегата для привода насоса высокого давления с высоким уровнем пожарной безопасности и надежности.
Технический результат, достигнутый при решении поставленной задачи, заключается в следующем:
– повышение эффективности охлаждения независимо от включенной передачи в КП;
– повышение пожаробезопасности;
– повышение удобства обслуживания и ремонтопригодности силового агрегата;
– повышение проходимости самоходного шасси в связи с уменьшением массы агрегата.
Поставленная задача решается тем, что в качестве трансмиссии в нем использована малогабаритная танковая планетарная коробка передач (КП), которая установлена соосно коленчатому валу двигателя и связана первичным валом через соединительный валик и зубчатую муфту с носком коленчатого вала, а на фланце корпуса КП, обращенном к двигателю, размещен однорядный шестеренчатый редуктор, на выводных валах которого установлены гидронасосы для принудительной смазки насоса высокого давления и КП и гидронасос для питания гидромотора привода центробежного вентилятора обдува радиатора, причем входной вал редуктора связан шлицами с первичным валом КП с обеспечением сохранения заданного режима работы гидронасосов независимо от включенной передачи в КП, при этом радиатор жидкостного охлаждения двигателя, масляный радиатор системы смазки двигателя и масляный радиатор трансмиссии размещены в общем стеллаже над одним из блоков цилиндров двигателя, а центробежный вентилятор размещен с использованием объема ниши под тем же блоком цилиндров и связан напорной магистралью, образованной плоским воздуховодом, установленным сбоку двигателя в габаритах самоходного шасси, с упомянутыми радиаторами, с обеспечением возможности их охлаждающего обдува, при этом двигатель силового агрегата оборудован системами дистанционного запуска и управления, а система выпуска отработанных газов снабжена цилиндрическим коллектором со встроенными устройствами искрогашения и сбора несгоревших остатков дизельного топлива и смолообразных продуктов горения.
Планетарная КП установлена в цилиндрическом, снабженном торцевой крышкой корпусе, закрепленном на общей раме через полый постамент, полость которого использована в качестве масляного бака смазки КП и упомянутого шестеренчатого редуктора, а в качестве корпуса для шестеренчатого редуктора использована торцевая крышка корпуса КП.
Танковая планетарная КП снабжена устройством электрогидравлического управления с возможностью реализации работы на четырех передачах для обеспечения эксплуатационных режимов работы насоса высокого давления и заимствована с танка Т-80.
Система дистанционного управления включает систему воздушного запуска двигателя с компрессором, используемым для подкачки воздушных баллонов, снабженным ременным приводом, шкив которого жестко закреплен на ведомой полумуфте упомянутой зубчатой муфты, а компрессор снабжен кожухом, который связан воздуховодом с входной полостью воздухоочистителя, и использован для охлаждения компрессора обдувом, при этом двигатель снабжен электромеханическим приводом управления подачей топлива, обеспечивающим работу двигателя в диапазоне от нулевой до максимальной мощности.
Двигатель снабжен системой предпускового подогрева, которая содержит теплообменник, размещенный в маслобаке двигателя и выполненный с возможностью гидравлической связи с агрегатами самоходного шасси, при этом на маслобаке двигателя установлен насос системы смазки, заборная полость которого размещена в районе теплообменника.
Цилиндрический коллектор системы выпуска отработавших газов установлен вертикально, связан с выпускными коллекторами двигателя патрубками с обеспечением тангенциальной подачи двух потоков отработавших газов, при этом размеры коллектора выбраны с обеспечением эффективной сепарации к периферии в закрученном потоке несгоревших остатков топлива, сажи и их гашения при взаимодействии со стенками коллектора, а в его днище установлен штуцер для отвода жидких смолообразных продуктов в отстойник.
Гидравлическая система привода вентилятора системы охлаждения выполнена с возможностью автоматического поддержания оптимального теплового режима за счет включения-отключения вентилятора управляющим электрическим сигналом от датчиков температур масла и охлаждающей жидкости с обеспечением поддержания в эксплуатационных интервалах температур.
Устройство электрогидравлического управления выполнено с использованием однообмоточных электромагнитов, которые снабжены кожухами на общем коллекторе, связанном воздуховодом с входной полостью воздухоочистителя, и использованными для охлаждения электромагнитов обдувом.
Анализ основных отличительных признаков показал, что:
– использование в качестве трансмиссии малогабаритной танковой планетарной КП, заимствованной с танка Т-80 и снабженной устройством электрогидравлического управления, обеспечило возможность реализации работы на четырех передачах, для обеспечения эксплуатационных режимов работы насоса высокого давления при малых габаритах и собственной массе;
– размещение на фланце корпуса КП, обращенном к двигателю, однорядного шестеренчатого редуктора, на выводных валах которого установлены гидронасосы, позволило обеспечить принудительную смазку насоса высокого давления, смазку КП и питание гидромотора привода центробежного вентилятора обдува радиатора, а также выполнение связи шлицами входного вала редуктора с первичным валом КП обеспечило смазку узлов сразу после начала раскрутки с обеспечением сохранения заданного режима работы указанных гидронасосов независимо от включенной передачи в КП;
– размещение радиатора жидкостного охлаждения двигателя, масляного радиатора системы смазки двигателя и масляного радиатора системы смазки трансмиссии в общем стеллаже над одним из блоков цилиндров двигателя, размещение центробежного вентилятора с использованием объема ниши под тем же блоком цилиндров и связь напорной магистралью, образованной плоским воздуховодом, установленным сбоку двигателя в габаритах самоходного шасси, с указанными радиаторами, обеспечило возможность их охлаждающего обдува, повысило эффективность теплоотдачи, снизило гидравлические потери, что позволило уменьшить габариты системы и силового агрегата в целом;
– снабжение двигателя силового агрегата системой воздушного запуска позволило сократить номенклатуру узлов и деталей за счет исключения источников электрической энергии, стартера и дорогостоющей пусковой аппаратуры;
– включение в систему воздушного запуска компрессора позволило использовать его для подкачки воздушных баллонов, что повысило надежность гарантированного пуска;
– снабжение компрессора кожухом, который связан воздуховодом с входной полостью воздухоочистителя и использован для охлаждения компрессора обдувом, позволило исключить перегрев компрессора, а значит, и вероятность его заклинивания;
– выполнение системы электрогидравлического управления КП с использованием однообмоточных электромагнитов повысило надежность системы, а снабжение электромагнитов кожухами, выполненными на общем коллекторе, связанном воздуховодом с входной полостью воздухоочистителя, и использованными для охлаждения электромагнитов, позволило исключить их перегрев при длительной работе и выход из стоя;
– снабжение системы выпуска отработавших газов цилиндрическим коллектором со встроенными устройствами искрогашения и сбора несгоревших остатков дизельного топлива и смолообразных продуктов горения обеспечило повышение безопасности работ на нефтяных и газовых скважинах и уменьшило количество вредных выбросов в окружающую среду.
Изобретение поясняется чертежами, на которых изображено:
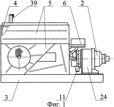
на фиг.1 – вид сбоку на силовой агрегат;
на фиг.2 – вид сбоку на силовой агрегат со снятыми щитками;
на фиг.3 – вид сверху на силовой агрегат, вид А на фиг.2;
на фиг.4 – вид спереди на силовой агрегат, вид Б на фиг.2;
на фиг.5 – элемент В на фиг.2;
на фиг.6 – элемент Г на фиг.2;
на фиг.7 – вид сбоку на шестеренчатый редуктор, вид Д на фиг.6;
на фиг.8 – вид на масляный бак двигателя с вырывом по теплообменнику системы предпускового подогрева, вид Е на фиг.4;
на фиг.9 – вид сверху на систему пожаробезопасного отвода отработавших газов, вид Ж на фиг.4.
Силовой агрегат для привода насоса высокого давления (см. фиг.1-4) состоит из трех основных модулей – это дизельный V-образный двигатель 1 с обслуживающими системами, включая системы воздухоочистки, топливную, смазки, выпуска отработавших газов, жидкостного охлаждения, и трансмиссия в виде коробки передач (КП) 2, размещенные на общей раме 3. Силовой агрегат выполнен с возможностью соединения его выводного вала с помощью зубчатой муфты с валом насоса высокого давления и установки совместно с ним на раму самоходного шасси для эксплуатации в составе передвижной насосной установки (не показана).
На раме 3 расположен корпус 4, обеспечивающий защиту размещенных в нем узлов от механических повреждений и атмосферных осадков. Корпус 4 представляет собой стальную сварную каркасную конструкцию. Для доступа к агрегатам двигателя 1 имеются съемные щитки 5. Для очистки воздуха, поступающего к цилиндрам двигателя 1, предназначен воздухоочиститель 6, снабженный сигнализатором предельного сопротивления воздуха (не показан).
В качестве КП 2 в силовом агрегате использована малогабаритная танковая планетарная КП, которая установлена соосно коленчатому валу двигателя 1 и связана первичным валом 7 через соединительный валик 8 и зубчатую муфту 9 с носком коленчатого вала 10 (см. фиг.5). КП 2 заимствована с танка Т-80 и снабжена устройством электрогидравлического управления с возможностью реализации работы на четырех передачах для обеспечения эксплуатационных режимов работы насоса высокого давления. Танковые КП наиболее полно удовлетворяют требованиям к трансмиссиям для силовых агрегатов, так как они выполнены в малых габаритах и способны передавать значительные крутящие моменты в широком диапазоне частот вращения. Указанная КП (см. «Объект 219Р. Техническое описание и инструкция по эксплуатации», книга вторая, Москва, «Военное издательство», 1986 г., стр.394) механическая, планетарная, имеет три степени свободы. Основными элементами, определяющими ее работу, являются ведущий и ведомый валы, три планетарных ряда, три тормоза и два блокировочных фрикциона, которые размещены в корпусе, устанавливаемом в картер.
На фланце корпуса КП 2, обращенном к двигателю 1, размещен однорядный шестеренчатый редуктор 11, на выводных валах которого (см. фиг.6, 7) установлены гидронасосы – 12 для принудительной смазки насоса высокого давления и 13 – смазки КП, а также гидронасос 14 для питания гидромотора 15 привода центробежного вентилятора 16 системы охлаждения.
Входной вал 17 редуктора 11 связан шлицами с первичным валом 7 КП 2 с обеспечением сохранения заданного режима работы указанных гидронасосов независимо от включенной передачи в КП 2.
В систему охлаждения входят радиатор 18 жидкостного охлаждения двигателя 1, масляный радиатор 19 системы смазки двигателя и масляный радиатор 20 системы смазки КП 2, которые размещены в общем стеллаже над одним из блоков цилиндров двигателя 1. Центробежный вентилятор 16 размещен с использованием объема ниши под тем же блоком цилиндров и связан напорной магистралью, образованной плоским воздуховодом 21, установленным сбоку двигателя 1 в габаритах самоходного шасси, с упомянутыми радиаторами, с обеспечением возможности их охлаждающего обдува. Такое размещение центробежного вентилятора 16 позволяет выполнить воздуховод 21 минимальной протяженности и тем самым снизить гидравлические потери.
Гидравлическая система привода вентилятора 16 системы охлаждения может быть выполнена с возможностью автоматического поддержания оптимального теплового режима за счет включения-отключения вентилятора 16 управляющим электрическим сигналом от датчиков температур масла и охлаждающей жидкости (не показаны) с обеспечением поддержания в эксплуатационных интервалах температур.
В заявляемом силовом агрегате КП 2 установлена в цилиндрическом корпусе 22, снабженном торцевой крышкой 23 и закрепленном на общей раме 3 через полый постамент 24, полость которого использована в качестве масляного бака смазки КП 2 и шестеренчатого редуктора 11. В качестве корпуса для шестеренчатого редуктора 11 использована торцевая крышка 22 корпуса КП 2.
Для повышения надежности в устройстве электрогидравлического управления использованы однообмоточные электромагниты 25. Основной стационарный и вспомогательный дистанционный пульты (не показаны) выполнены с возможностью управления, в том числе дистанционного, как двигателем 1, так и КП 2.
Двигатель 1 силового агрегата снабжен системой предпускового подогрева, которая содержит (см. фиг.8) теплообменник 26, размещенный в маслобаке 27 двигателя 1 и выполненный с возможностью гидравлической связи с агрегатами самоходного шасси. На маслобаке 27 установлен насос 28 системы смазки, заборная полость которого размещена в районе теплообменника 26.
Система дистанционного управления включает систему воздушного запуска с помощью сжатого воздуха, размещенного в двух баллонах 29, для подкачки которых использован компрессор 30, снабженный ременным приводом, шкив которого 31 жестко закреплен на ведомой полумуфте 32 зубчатой муфты 9. Для охлаждения компрессора 30 обдувом он снабжен кожухом 33, который связан воздуховодом 34 с входной полостью воздухоочистителя 6. Для охлаждения однообмоточных электромагнитов 25 системы электрогидравлического управления КП 2 использованы кожуха на общем коллекторе 35, который связан воздуховодом 36 с входной полостью воздухоочистителя 6. Кроме того, система дистанционного управления двигателя, включает электромеханический привод управления подачей топлива 37, обеспечивающий работу двигателя 1 в диапазоне от нулевой до максимальной мощности.
Двигатель 1 силового агрегата снабжен системой пожаробезопасного отвода отработавших газов (см. фиг.9), которая включает цилиндрический коллектор 38 с выхлопной трубой 39, на торце которой установлен искрогаситель 40. Цилиндрический корпус коллектора 38 установлен вертикально и связан с выпускными коллекторами двигателя 1 патрубками 41.
В днище цилиндрического коллектора 38 установлен штуцер для отвода жидких смолообразных продуктов разложения несгоревшего дизельного топлива в отстойник (не показаны).
Работа
Силовой агрегат для привода насоса высокого давления может быть использован на нефтяных и газовых скважинах в составе передвижной насосной установки для выполнения различных операций, таких как гидроразрыв пластов, гидропескоструйная перфорация, цементирование и глушение скважин, промывочно-продавочные работы и т.д.
Управление работой силового агрегата может осуществляться как со стационарного пульта, так и с дистанционного.
Работа двигателя 1 и его систем осуществляется известными для дизельных двигателей способами. Перед запуском производится предпусковой подогрев с помощью теплообменника 26, через который пропускается рабочая жидкость, например вода, разогретая работающими агрегатами самоходного шасси.
Пуск двигателя 1 производится раскруткой коленчатого вала 10 до рабочих частот вращения за счет подачи в цилиндры сжатого воздуха из баллонов 29. После пуска, при работающем двигателе 1, компрессор 30 производит подкачку баллонов 29 для обеспечения последующих пусков. Очищенный в воздухоочистителе 6 воздух поступает в цилиндры двигателя 1, а отработавшие газы – в цилиндрический коллектор 38. При этом за счет разрежения во входной полости воздухоочистителя 6 и воздуховодах 34 и 36 наружный воздух поступает в кожухи 33 и 35 для охлаждения компрессора 30 и однообмоточных электромагнитов 25 системы электрогидравлического управления КП 2. По мере запыления кассет воздухоочистителя 6 срабатывает сигнализатор предельного сопротивления воздуха, при этом загорается лампочка на пульте.
При эксплуатации силового агрегата на нефтяных и газовых месторождениях очень важным требованием является обеспечение пожаробезопасности. Гашение искр в коллекторе 38 достигается тем, что потоки отработавших газов из выхлопных коллекторов двигателя 1 по патрубкам 41 подводятся в корпус коллектора 38 тангенциально. В закрученном потоке несгоревшие остатки топлива, сажа сепарируются к периферии и гасятся, взаимодействуя со стенками коллектора 38. Отвод жидких смолообразных продуктов разложения несгоревшего дизельного топлива в отстойник производится через штуцер, установленный в днище коллектора 38. Дополнительную защиту от искр осуществляет искрогаситель 40.
Кроме того, коллектор 38 используется в качестве глушителя.
Радиаторы, 18, 19 и 20 системы охлаждения обдуваются вентилятором 16, обеспечивая оптимальный тепловой режим работы двигателя 1, КП 2 и шестеренчатого редуктора 11.
Гидросистема привода вентилятора 16 выполняет следующие функции:
– ограничивает максимальное давление на входе в гидромотор 15 на всех режимах работы;
– исключает переход гидромотора 15 в насосный режим при остановке двигателя силового агрегата;
– включает или выключает вентилятор по сигналу датчиков температуры масла, воды в системе охлаждения, а также по электрическому сигналу, поступающему от тумблера на пульте управления.
КП 2 является планетарным редуктором, обеспечивающим четыре передачи, нейтраль и тормоз. В начале работы насоса высокого давления закачка жидкости в скважину производится на высших передачах КП 2. При увеличении давления в скважине КП 2 переключается на пониженные передачи.
Таким образом, настоящим изобретением решена поставленная задача создания компактного силового агрегата для привода насоса высокого давления с высоким уровнем пожарной безопасности и надежности.
Формула изобретения
1. Силовой агрегат для привода насоса высокого давления, содержащий размещенные на общей раме дизельный V-образный двигатель с обслуживающими системами, включая системы воздухоочистки, топливную, смазки, выпуска отработавших газов, жидкостного охлаждения с радиатором и центробежным вентилятором обдува радиатора, и трансмиссию, выполненный с возможностью установки совместно с упомянутым насосом на самоходное шасси, отличающийся тем, что в качестве трансмиссии в нем использована малогабаритная танковая планетарная коробка передач (КП), которая установлена соосно коленчатому валу двигателя и связана первичным валом через соединительный валик и зубчатую муфту с носком коленчатого вала, а на фланце корпуса КП, обращенном к двигателю, размещен однорядный шестеренчатый редуктор, на выводных валах которого установлены гидронасосы для принудительной смазки насоса высокого давления и КП и гидронасос для питания гидромотора привода центробежного вентилятора обдува радиатора, причем входной вал редуктора связан шлицами с первичным валом КП с обеспечением сохранения заданного режима работы гидронасосов независимо от включенной передачи в КП, при этом радиатор жидкостного охлаждения двигателя, масляный радиатор системы смазки двигателя и масляный радиатор трансмиссии размещены в общем стеллаже над одним из блоков цилиндров двигателя, а центробежный вентилятор размещен с использованием объема ниши под тем же блоком цилиндров и связан напорной магистралью, образованной плоским воздуховодом, установленным сбоку двигателя в габаритах самоходного шасси, с упомянутыми радиаторами, с обеспечением возможности их охлаждающего обдува, при этом силовой агрегат оборудован системами дистанционного пуска и управления, а система выпуска отработавших газов снабжена цилиндрическим коллектором со встроенными устройствами искрогашения и сбора несгоревших остатков дизельного топлива и смолообразных продуктов горения.
2. Силовой агрегат по п.1, отличающийся тем, что планетарная КП установлена в цилиндрическом корпусе, снабженном торцевой крышкой и закрепленном на общей раме через полый постамент, полость которого использована в качестве масляного бака смазки КП и упомянутого шестеренчатого редуктора, а в качестве корпуса для шестеренчатого редуктора использована торцевая крышка корпуса КП.
3. Силовой агрегат по п.2, отличающийся тем, что танковая планетарная КП снабжена устройством электрогидравлического управления с возможностью реализации работы на четырех передачах для обеспечения эксплуатационных режимов работы насоса высокого давления и заимствована с танка Т-80.
4. Силовой агрегат по п.1, отличающийся тем, что система дистанционного управления включает систему воздушного запуска двигателя с компрессором, используемым для подкачки воздушных баллонов, снабженным ременным приводом, шкив которого жестко закреплен на ведомой полумуфте упомянутой зубчатой муфты, а компрессор снабжен кожухом, который связан воздуховодом с входной полостью воздухоочистителя, и использован для охлаждения компрессора обдувом, при этом двигатель снабжен электромеханическим приводом управления подачей топлива, обеспечивающим работу двигателя в диапазоне от нулевой до максимальной мощности.
5. Силовой агрегат по п.1, отличающийся тем, что двигатель снабжен системой предпускового подогрева, которая содержит теплообменник, размещенный в маслобаке двигателя и выполненный с возможностью гидравлической связи с агрегатами самоходного шасси, при этом на маслобаке двигателя установлен насос системы смазки, заборная полость которого размещена в районе теплообменника.
6. Силовой агрегат по п.1, отличающийся тем, что цилиндрический коллектор системы выпуска отработавших газов установлен вертикально, связан с выпускными коллекторами двигателя патрубками с обеспечением тангенциальной подачи потоков отработавших газов из патрубков, при этом размеры коллектора выбраны с обеспечением эффективной сепарации к периферии в закрученном потоке несгоревших остатков топлива, сажи и их гашения при взаимодействии со стенками коллектора, а в его днище установлен штуцер для отвода жидких смолообразных продуктов в отстойник.
7. Силовой агрегат по п.1, отличающийся тем, что гидравлическая система привода вентилятора системы охлаждения выполнена с возможностью автоматического поддержания оптимального теплового режима за счет включения-отключения вентилятора управляющим электрическим сигналом от датчиков температур масла и охлаждающей жидкости с обеспечением поддержания в эксплуатационных интервалах температур.
8. Силовой агрегат по п.3, отличающийся тем, что устройство электрогидравлического управления выполнено с использованием однообмоточных электромагнитов, которые снабжены кожухами на общем коллекторе, связанном воздуховодом с входной полостью воздухоочистителя, и с использованием для охлаждения электромагнитов обдувом.
РИСУНКИ
PD4A – Изменение наименования обладателя патента СССР или патента Российской Федерации на изобретение
(73) Новое наименование патентообладателя:
Открытое акционерное общество «Конструкторское бюро транспортного машиностроения» (RU)
Адрес для переписки:
644020, г. Омск, Красный пер., д. 2, ОАО КБТМ
Извещение опубликовано: 27.07.2009 БИ: 21/2009
|