|
| На основании пункта 3 статьи 13 Патентного закона Российской Федерации от 23 сентября 1992 г. № 3517-I патентообладатель обязуется передать исключительное право на изобретение (уступить патент) на условиях, соответствующих установившейся практике, лицу, первому изъявившему такое желание и уведомившему об этом патентообладателя и федеральный орган исполнительной власти по интеллектуальной собственности, – гражданину РФ или российскому юридическому лицу. |
|
(21), (22) Заявка: 2005133276/06, 31.10.2005
(24) Дата начала отсчета срока действия патента:
31.10.2005
(43) Дата публикации заявки: 10.05.2007
(46) Опубликовано: 20.01.2008
(56) Список документов, цитированных в отчете о поиске:
RU 2056512 C1, 20.03.1996. RU 2076933 C1, 10.04.1997. RU 2175068 C1, 20.10.2001. US 3823694 A, 16.07.1974. DT 2514212 A1, 14.10.1976.
Адрес для переписки:
198205, Санкт-Петербург, ул. Авангардная, 2, корп.2, кв.9, В.Г. Агафонову
|
(72) Автор(ы):
Агафонов Владимир Григорьевич (UA)
(73) Патентообладатель(и):
Агафонов Владимир Григорьевич (UA)
|
(54) РОТОРНЫЙ ДВИГАТЕЛЬ ВНУТРЕННЕГО СГОРАНИЯ (ВАРИАНТЫ)
(57) Реферат:
Изобретение относится к двигателестроению, в частности к роторным двигателям внутреннего сгорания. Изобретение позволяет повысить надежность двигателя и повысить его КПД. Роторный двигатель внутреннего сгорания содержит цилиндрический корпус, разделенный поперечный перегородкой на две секции с впускными и выпускными окнами; двухсекционный ротор с радиальными пазами. Ротор жестко объединен общим валом и размещен в соответствующих секциях с поверхностным контактом в торцевых и линейным в цилиндрической частях корпуса. Элемент разделения рабочей камеры между корпусом и ротором – шибер установлен в радиальном пазу каждого ротора с возможностью радиального перемещения, для образования камер переменного объема соответственно для впуска, сжатия, расширения и выпуска газов. В первом варианте двигатель имеет две камеры сжатия, накрест расположенные одна над другой с двусторонним отсечением их от соответствующих камер переменного объема с помощью регулируемых на открытие-закрытие клапанов. Кулачковый распредвал имеет привод от вала отбора мощности через зубчатую передачу. Двигатель содержит два опорных валика с коромыслами; золотники в виде круглого стержня с вырезом для впуска и выпуска газов в каждой секции с зубчатыми секторами, рычагами и пружинами; трехслойные раздвижные шиберы с лабиринтным уплотнением; П-образные уплотнители в корпусе в зоне постоянного линейного касания ротора с корпусом по цилиндрической образующей и продолжением по торцевым поверхностям с обеих сторон к валу ротора. В каждой секции совершаются все рабочие процессы двигателя за два оборота вала. По второму варианту двигатель имеет две параллельные между собой камеры сжатия, размещенные в утолщенной части корпуса, с двусторонним отсечением их от соответствующих камер переменного объема с помощью регулируемых на открытие-закрытие клапанов. Кулачковый распредвал имеет привод от вала отбора мощности через зубчатую передачу. Двигатель содержит два опорных валика с коромыслами; трехслойные раздвижные шиберы с лабиринтным уплотнителем; П-образные уплотнители в корпусе в зоне постоянного линейного касания ротора с корпусом по цилиндрической образующей и продолжением по торцевым поверхностям с обеих сторон к валу ротора. 2 н. и 4 з.п. ф-лы, 20 ил.
Роторный ДВС двухсекционный с двумя камерами сжатия, накрест расположенными над корпусом и запирающимися с двух сторон клапанами; с трехслойным раздвижным шибером, предотвращающим пропуски газов между шибером и корпусом; с П-образным уплотнителем, предотвращающим пропуски газов между ротором и корпусом; с газораспределительным механизмом, включающим кулачковый распредвал, два опорных валика с коромыслами, клапаны и золотники. В каждой секции двигателя совершаются все рабочие процессы двигателя.
Второй вариант двигателя также с двумя камерами сжатия, параллельно размещенными в утолщенной части корпуса и запирающимися с обеих сторон клапанами; с теми же шибером, П-образным уплотнителем и газораспределительным механизмом, но без золотников. Двигатель может быть использован как реверсивный при сблокировании систем всасывания и выхлопа путем взаимного их переключения. Рабочие процессы разделены по секциям.
В обоих двигателях достигается возможность получения высокой степени сжатия и надежной экономичной работы.
Изобретение относится к машиностроению роторных ДВС.
Известен роторный ДВС, патент RU 2161708. Двигатель имеет неподвижный корпус с впускными и выпускными окнами, ротор, камеры переменного объема.
Недостатками названного двигателя являются: перетекание газов из камер переменного объема с большим давлением в камеры с меньшим давлением через зазоры соприкасающихся торцевых поверхностей ротора с корпусом; через зазоры между выступами-поршнями ротора с корпусом; через линейный контакт соприкосновения заслонок с ротором; через зазоры между заслонками и торцевыми поверхностями корпуса; через зазоры между заслонками и их камерами; малый ход ротора при расширении газов; потребность очень жестких пружин к заслонкам для непрерывного контакта заслонок с ротором при переходе выступами-поршнями кромок заслонок, что вызывает большую силу трения, значительный износ соприкасающихся поверхностей и затрату энергии на преодоление трения и сжатие пружин. При слабых пружинах заслонка будет создавать ударные действия, что также влечет разрушение поверхностей и смешивание воспламененных газов с газами зоны сжатия. Таким образом, в конструкции невозможно создать высокую степень сжатия, проблематична возможность работы, а если и заработает, то неэкономично.
Известен роторный ДВС, патент RU 2056512, состоящий из двух секций, каждая из которых включает одну из двух цилиндрических частей ротора, соединенных общей осью, и содержит рабочую полость вокруг ротора, разделяемую на две камеры переменного объема зоной сопряжения окружности ротора и корпуса и поршнем, выдвигающимся из тела ротора.
Недостатками этого двигателя являются: невозможность получения стабильного высокого давления в камере сжатия, т.к. газы из этой камеры будут постоянно перетекать в обе секции через перепускной канал, а в секциях – в камеры переменного объема с меньшим давлением через зазоры между ротором и корпусом по торцевым поверхностям и по цилиндрической образующей линии их соприкосновения; а также пропуски газов будут через неплотности контактов поршня, разделяющего рабочую зону на камеры переменного объема, с корпусом, и также по торцевым поверхностям и по цилиндрической образующей линии их контакта из камеры переменного объема с большим давлением в камеру с меньшим давлением. Кроме падения давления газов они будут смешиваться. Пружины в поршнях работать не будут из-за высоких температур. Следовательно, не только экономичность, но работоспособность конструкции сомнительна.
Цель изобретения – создание работоспособного и надежного двигателя с высоким КПД.
Цель достигается в роторном двигателе внутреннего сгорания, содержащем цилиндрический корпус, разделенный поперечной перегородкой на две секции с впускными и выпускными окнами; двухсекционный ротор с радиальными пазами, жестко объединенный общим валом и размещенный в соответствующих секциях с поверхностным контактом в торцевых и линейным в цилиндрической частях корпуса; элемент разделения рабочей камеры между корпусом и ротором – шибер, установленный в радиальном пазу каждого ротора с возможностью радиального перемещения, для образования камер переменного объема соответственно для впуска, сжатия, расширения и выпуска газов. Согласно изобретению двигатель имеет две камеры сжатия, накрест расположенные одна над другой, с двусторонним отсечением их от соответствующих камер переменного объема с помощью регулируемых на открытие-закрытие клапанов; кулачковый распредвал с приводом от вала отбора мощности через зубчатую передачу; два опорных валика с коромыслами; золотники в виде круглого стержня с вырезом для впуска и выпуска газов в каждой секции с зубчатыми секторами, рычагами и пружинами; трехслойные раздвижные шиберы с лабиринтным уплотнением; П-образные уплотнители в корпусе в зоне постоянного линейного касания ротора с корпусом по цилиндрической образующей и продолжением по торцевым поверхностям с обеих сторон к валу ротора; в каждой секции совершаются все рабочие процессы двигателя за два оборота вала. Шибер может состоять из трех пластин, составленных из восьми элементов, имеющий возможность перемещаться комплектами элементов как в осевом, так и в радиальном направлении, а также раздвигаться между отдельными элементами, обеспечивая непроницаемость газов через контакт шибера с корпусом благодаря наличию постоянного трехлинейного контакта элементов шибера с корпусом как по цилиндрической образующей, так и по торцевым поверхностям, и при любом положении ротора, образуя в местах соприкосновения с корпусом лабиринтное уплотнение. П-образный уплотнитель может состоять из горизонтального и двух вертикальных уплотнителей в виде прямоугольных стержней с лабиринтными канавками, подвижно взаимодействующих между собой; горизонтальный уплотнитель с каждого конца имеет жестко соединенный с ним под прямым углом рычаг с наклонным окном, с входящим в последнее штырем вертикального уплотнителя, для перемещения вертикального уплотнителя к торцу ротора при опускании горизонтального уплотнителя после выхода из контакта шибера с уплотнителями; в месте стыкования уплотнителей имеются каналы для прохода газов из камер переменного объема в пазы уплотнителей и воздействия этих газов на уплотнители с тыльной стороны с целью прижатия их к поверхностям ротора; горизонтальный уплотнитель имеет клиновидный двухлепестковый рычаг-подъемник, а вертикальные уплотнители имеют скос для плавного вхождения в контакт шибера с уплотнителями и вдавливания их в свои пазы на время перехода через них шибера.
В другом варианте цель достигается в роторном двигателе внутреннего сгорания, содержащем цилиндрический корпус, разделенный поперечной перегородкой на две секции с впускными и выпускными окнами; двухсекционный ротор с радиальными пазами, жестко объединенный общим валом и размещенный в соответствующих секциях с поверхностным контактом в торцевых и линейным в цилиндрической частях корпуса; элемент разделения рабочей камеры между корпусом и ротором – шибер, установленный в радиальном пазу каждого ротора с возможностью радиального перемещения, для образования камер переменного объема соответственно для впуска, сжатия, расширения и выпуска газов. Согласно другому варианту изобретения двигатель имеет две параллельные между собой камеры сжатия, размещенные в утолщенной части корпуса, с двусторонним отсечением их от соответствующих камер переменного объема с помощью регулируемых на открытие-закрытие клапанов; кулачковый распредвал с приводом от вала отбора мощности через зубчатую передачу; два опорных валика с коромыслами; трехслойные раздвижные шиберы с лабиринтным уплотнителем; П-образные уплотнители в корпусе в зоне постоянного линейного касания ротора с корпусом по цилиндрической образующей и продолжением по торцевым поверхностям с обеих сторон к валу ротора. Клапаны камер сжатия могут быть расположены два в одной секции на линии, параллельной оси вала, и два в другой секции на симметричной относительно вертикальной оси двигателя линии и также параллельной оси вала. При переключении окон двигателя с подвода воздуха или горючей смеси на трубу выхлопа в одной секции, а в другой – окна с трубой выхлопа на подвод свежего заряда двигатель будет работать с вращением вала в противоположном направлении, т.е. двигатель становится реверсивным, причем без других дополнительных переключений газораспределительных клапанов.
Сущность изобретения. У цилиндрического двухсекционного корпуса, наружная и внутренняя окружности которого эксцентричны, имеются две камеры сжатия, накрест расположенные одна над другой и запирающиеся с обеих сторон клапанами. В пазу каждого ротора трехслойный составной шибер, плотно прилегающий трехлинейно с лабиринтом к поверхностям рабочей камеры как по цилиндрической образующей, так и по торцевым поверхностям, предотвращающий пропуски газов между шибером и корпусом. Для устранения пропуска газов между ротором и корпусом по цилиндрической образующей их касания и по торцевым поверхностям в пазу корпуса устанавливается П-образный уплотнитель. Двигатель имеет газораспределительный механизм с кулачковым распредвалом, двумя опорными валиками с коромыслами, клапанами и золотниками. В каждой секции двигателя происходят все рабочие процессы ДВС за два оборота вала.
В другом варианте двигателя две камеры сжатия параллельно расположены в утолщенной части корпуса и запираются с обеих сторон клапанами. Рабочие процессы в секциях разделены и постоянны, что хотя и вызывает неравномерный нагрев по секциям, но предлагаемый двигатель наряду с достоинствами первого варианта по уплотнениям соприкасающихся поверхностей может быть использован как реверсивный при сблокировании систем всасывания и выхлопа для переключения их на взаимно обратное движение газов и противоположное вращение вала. Причем газораспределение проще без золотников с их секторами и рычагами. Цель достигается в результате надежного разделения камер переменного объема трехлинейным шибером с лабиринтными каналами с плотным прилеганием его к рабочим поверхностям корпуса и в радиальном и в осевом направлениях, а также надежного контакта без зазоров по линии касания ротора с цилиндрической образующей корпуса и в продолжении этой линии под прямым углом в торцевых поверхностях к валу ротора благодаря П-образному уплотнителю и также с лабиринтами, достигается возможность получения высокой степени сжатия, а в сочетании с запирающимися с двух сторон клапанами камер сжатия и регулируемым газораспределением получения надежной и экономичной работы двигателя в обоих вариантах.
Перечень фигур:
фиг.1 – двигатель с разрезом правой секции;
фиг.2 – двигатель, вид сверху;
фиг.3 – двигатель, вид на передаточный механизм распредвала и золотников. Сечение А-А;
фиг.4 – двигатель, поперечный разрез. Сечение Б-Б и В-В;
фиг.5 – шибер в сборе;
фиг.6 и 7 – половинки наружной пластины шибера;
фиг.8-11 – элементы средней пластины шибера;
фиг.12 – П-образный уплотнитель в сборе;
фиг.13 – горизонтальный уплотнитель;
фиг.14 – вертикальный уплотнитель /левый/;
фиг.15 – 19 – изображен второй вариант двигателя;
фиг.19 – вид на двигатель сверху, на камеры сжатия без крышки;
фиг.20 – выступы в пазу ротора для пазов шибера. Сечение Г-Г показано без шибера.
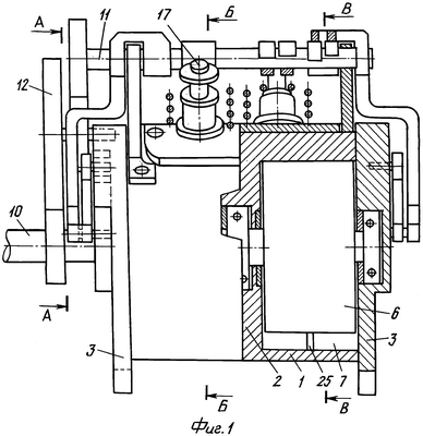
Предлагаемый двигатель (вариант первый) состоит из цилиндрического двухсекционного неподвижного корпуса 1, наружная и внутренняя окружности которого эксцентричны, разделенного по секциям перегородкой 2, закрытого с обоих торцов крышками 3, с двумя камерами сжатия 4 и 5; в каждой секции размещается эксцентрично относительно внутренней окружности корпуса ротор 6, в пазу которого подвижно помещается шибер 7, разделяющий рабочую камеру между поверхностями ротора и корпуса на две камеры переменного объема 8 и 9. Вал 10 роторов обеих секций имеет соединение между собой шлицевым или вильчатым способом в районе перегородки и опирается на подшипники качения в торцевых крышках корпуса и в перегородке 2. Продолжением вала ротора является вал отбора мощности. Механизм газораспределения включает кулачковый распредвал 11 с зубчатой передачей 12, два опорных валика 13 с коромыслами, клапаны 14 и 15 впуска газов в камеры сжатия, клапаны 16 и 17 выпуска газов из камер сжатия, золотники 18 в виде круглых стержней с вырезами в районе окон корпуса для впуска свежего заряда и 19 для выпуска отработанных газов с соответствующими рычагами привода и зубчатыми секторами 20.
Для предотвращения пропуска газов через зазоры и неплотности сопряженных деталей двигатель имеет уплотнительные устройства – составной шибер и П-образный уплотнитель, оба с лабиринтами из выступов с канавками.
Шибер 7 состоит из трех составных пластин, которые образованы из восьми элементов, и все они взаимно перекрывают места стыковки как в осевом, так и в радиальном направлении, т.е. соединены между собой подвижным замковым способом, фиг.5-11. Каждая половинка наружных пластин имеет окно 21 с входящим в это окно штифтом 22 средней пластины. Средняя пластина состоит из четырех частей. Две верхние при рассмотрении шибера над осью ротора вместе с половинками наружных объединены в два пакета по три элемента с помощью штифтов 22. Эти пакеты могут перемещаться как в радиальном, так и в осевом направлении. В осевом направлении они перемещаются на величину износа пластин шибера и торцевых поверхностей корпуса, вместе с нижними частями /элементами/ средней пластины, фиг.10, 11, для чего в утолщениях имеются пазы 23 и выступы 24, фиг.20, у ротора 6, не допускающие перемещения нижних частей средней пластины в радиальном направлении. Причем все наружные половинки пластин могут смещаться относительно средних в радиальном направлении в обе стороны, для чего окна 21 имеют овальную форму, допускающие такие смещения.
Шибер 7 перемещается в пазу ротора 6 в радиальном направлении под действием центробежных сил инерции и давления газов рабочей камеры на наружные пластины со стороны оси ротора 6 к периферии, куда газы проникают по установленному каналу 25 между половинками наружных пластин. Те же газы действуют на те же наружные пластины в канале 25 и в осевом направлении, т.е. раздвигают эти половинки, а следовательно, и оба пакета элементов пластин, составляющих шибер, обеспечивая плотное подвижное соприкосновение всех элементов шибера с поверхностями рабочей камеры при любом положении ротора 6.
Сборка шибера 7 с ротором 6. Устанавливаются половинки нижней части средней пластины, фиг.10, 11, 20, с вхождением в пазы 23 выступов 24 в пазах ротора 6 с обеих сторон ротора. Затем собранные два активно-подвижных пакета наружных и верхних частей средней пластины, объединенных штифтом 22, фиг.6-9, устанавливаются в паз ротора 6 сверху. После чего собранный ротор 6 с шибером 7 устанавливается в рабочую камеру корпуса 1.
В двигателях большей мощности в местах касания ротора с цилиндрической образующей корпуса и в направлении к оси вала 10 в торцевых поверхностях устанавливается в пазах корпуса П-образный уплотнитель, фиг.12, содержащий горизонтальный уплотнитель, фиг.13, и два вертикальных, фиг.14. Горизонтальный имеет уклон от параллельности с шибером 7 на величину своей ширины и клиновидный двухлепестковый подъемник 26. Вертикальные имеют скос 27, уменьшающийся по мере удаления от вала 10. Подъемник 26 и скосы 27 служат для плавного вдавливания уплотнителей на величину зазора между ротором и корпусом, в свои пазы шибером 7 на время прохождения его через уплотнители. Уклон горизонтального уплотнителя служит для исключения заклинивания его с шибером и от разрушения их. Лабиринты служат для предотвращения утечки газов через соприкасающиеся поверхности из камер переменного объема с большим давлением в камеры с меньшим давлением.
Горизонтальный уплотнитель, фиг.13, с обеих сторон имеет жестко соединенные с ним под прямым углом рычаги с наклонным окном 28, для входящего в это окно штыря 29 вертикального уплотнителя, служащее для перемещения вертикального уплотнителя к торцу ротора при опускании горизонтального уплотнителя после выхода из контакта с ним шибера 7. В месте стыкования уплотнителей, горизонтального с вертикальным, имеются каналы 30 для прохода газов из камер переменного объема в пазы уплотнителей и воздействия этих газов на уплотнители с тыльной стороны, с целью прижатия их к поверхностям ротора. Горизонтальный уплотнитель действует и собственным весом.
Конструктивный минимальный угол в проекции поперечного сечения двигателя, между клапанами впуска газов в камеру сжатия и выпуска из нее, при работе двигателя особенно на тяжелом топливе зависит от оптимальной быстроходности двигателя и от качества применяемого топлива по необходимой величине задержки самовоспламенения топлива. Максимальный угол ограничивается в небольшой степени экономичностью.
Двигатель (вариант второй) содержит корпус 31, разделенный перегородкой 32, закрытый с обоих торцов крышками 33, и имеет две камеры сжатия 34 и 35, располагающиеся параллельно между собой в утолщенной части корпуса 31; ротор 36, в пазу которого подвижно помещается шибер 37, разделяющий рабочую камеру между поверхностями ротора и корпуса на две камеры переменного объема 38 и 39; вал 40. Механизм газораспределения включает кулачковый распредвал 41 с зубчатой передачей 42, два опорных валика с коромыслами, клапаны 44 и 45 в одной секции двигателя, расположенные на одной линии, параллельной оси вала, а также и клапаны 46 и 47 в другой секции, но по другую сторону от вертикальной оси симметрии двигателя, в проекции поперечного сечения двигателя; отсутствуют золотники с их секторами и рычагами, т.к. окна для впуска свежего заряда в одной секции и выпуска отработанных газов в другой не перекрываются. Конструкция проще.
Двигатель (вариант первый) работает следующим образом. При вращении вала и ротора 6 в камерах переменного объема /КПО/ происходят процессы: в первой секции в КПО 8 – всасывание, в КПО 9 – выхлоп, в другой секции соответственно – рабочий ход и сжатие. При этом открыты клапаны 15, 16 и золотники 18, 19 первой секции. В первой секции свежий заряд в КПО 8 поступает через открытый золотник 18, а из КПО 9 вытесняются отработанные газы через золотник 19. Во второй секции газы или газовая смесь из КПО 9 через открытый клапан 15 поступают в камеру сжатия /КС/ 5, а газы из КС 4 через открытый клапан 16 поступают в КПО 8.
При прохождении шиберами 7 в обеих секциях через окна клапанов 14, 15 и золотников 19 в обеих секциях закрывается клапан 15, после чего открывается золотник 19 второй секции, через который начинается выхлоп. Клапаны 14 и 17 закрыты, а 16 открыт. Золотники 18 и 19 первой секции открыты, а 18 второй секции закрыт. В КС 5 подается порция топлива через форсунку или искра зажигания.
При прохождении шиберами 7 окон клапанов 16, 17 и золотников 18 в обеих секциях закрываются золотники 18, 19 первой секции и клапан 16 второй секции, после чего открываются клапаны 14, 17 и золотник 18 второй секции. Клапан 15 закрыт, а золотник 19 второй секции открыт. Воспламененные газы в КС 5 через открытый клапан 17 устремляются в КПО 8, где и происходит расширение газов, т.е. рабочий ход. В КПО 9 происходит вытеснение газов в КС 4 через клапан 14 – процесс сжатия. Во второй секции в КПО 8 – процесс всасывания через золотник 18, а в КПО 9 – выпуск отработанных газов через золотник 19 второй секции – выхлоп.
При прохождении шиберами 7 окон клапанов 14, 15 и золотников 19 закрывается клапан 14, после чего открывается золотник 19 первой секции для выхлопа. Открыты клапан 17 и золотники 18, 19 второй секции. Закрыты клапаны 15, 16 и золотник 18 первой секции. В КС 4 подается топливо или искра.
При происхождении шиберами 7 окон клапанов 16, 17 и золотников 18 закрываются клапан 17 и золотники 18, 19 второй секции, после чего открываются клапаны 16, 15 и золотник 18 первой секции. Клапан 14 закрыт, золотник 19 первой секции открыт. У первой секции в КПО 8 происходит процесс всасывания через золотник 18, а в КПО 9 – выхлоп через золотник 19. Во второй секции в КПО 8 – рабочий ход, газы поступают из КС 4 через клапан 16, а в КПО 9 – сжатие и вытеснение газов в КС 5 через клапан 15.
Далее действия и процессы повторяются. Нагнетание свежего заряда, т.е. газов или смеси, в КС происходит из одной секции, а выпуск воспламененных в ней газов в другую. В последующий оборот вала нагнетание свежего заряда из другой секции во вторую КС, а воспламененные в ней газы выходят в первую секцию и т.д. Так, за два оборота вала в каждой секции совершаются все процессы ДВС. И за каждый оборот эти процессы совершаются в обеих секциях.
При вращении ротора соприкосновение шибера 7 с внутренней поверхностью корпуса 1 площадь их контакта меняется от максимальной ширины шибера до линейной. Предлагаемая конструкция шибера позволяет увеличить этот контакт в три раза, т.к. все три пластины шибера постоянно имеют такой контакт при любом положении ротора, имея возможность смещения наружных пластин относительно средних в обе стороны благодаря наличию окон 21 в наружных пластинах, фиг.6, 7, для штифтов 22, фиг.8, 9, с зазором на такое смещение, а образованный между пластинами лабиринт еще более увеличивает надежность непроницаемости газов через контактирующие поверхности шибера с корпусом.
При износе торцевых поверхностей шибера 7 и корпуса 1 появление зазора исключается раздвижением половинок шибера в осевом направлении, для чего у нижних частей /элементов/ средних пластин шибера образованы пазы 23, фиг.10, 11, для входящих в них выступов 24 ротора 6, фиг.20.
Взаимодействие уплотнительных элементов. При сближении шибера 7 с П-образным уплотнителем, фиг.12, шибер набегает на клиновидный двухлепестковый подъемник 26 горизонтального уплотнительного и на скосы 27 вертикальных уплотнителей, плавно отжимает эти уплотнители в свои пазы на величину зазора между ротором и корпусом. После сбегания шибера с уплотнителей горизонтальный уплотнитель, фиг.13, опускается до соприкосновения с ротором под действием собственного веса и давления газов, проникающих в тыльную часть уплотнителей по каналам 30, фиг.12, со стороны КПО 9; одновременно прижимаются к торцам ротора и вертикальные уплотнители, т.к. при опускании горизонтального уплотнителя наклонные окна 28 в его вертикальных рычагах воздействуют на штыри 29 вертикальных уплотнителей, а также под действием давления газов с тыльной стороны из тех же каналов 30, прижимающих их к ротору.
Работа двигателя по второму варианту – отличительные особенности. При вращении вала 40, фиг.15-19, в КПО происходят процессы: в первой секции в КПО 38 – расширение газов, в КПО 39 – выхлоп, в другой секции соответственно в КПО 38 – всасывание, в КПО 39 – сжатие. При этом открыты клапаны 46 в первой секции и 45 во второй. Свежий заряд во второй секции в КПО 38 постоянно поступает через окно 48, а отработанные газы в первой секции из КПО 39 выходят через окно 49, и также постоянно. Клапаны 44 и 47 закрыты.
При прохождении шибером 37 через окна клапанов 44 и 45 второй секции и окно 49 первой секции закрывается клапан 45, соединяющий КС 35 с КПО 39 второй секции. Клапаны 47 и 44 закрыты. В КС 35 подается топливо или искра зажигания.
При прохождении шибером 37 через окна клапанов 46 и 47 первой секции и окно 48 второй секции закрывается клапан 46 и открывается клапан 47, выпускающий воспламененные газы из КС 35 в КПО 38 первой секции, где происходит рабочий ход, и клапан 44, соединяющий КС 34 с КПО 39 второй секции, где происходит сжатие газов или горючей смеси.
При прохождении шибером 37 окон клапанов 44 и 45 и окон 49 закрывается клапан 44. В КС 34 подается топливо или искра зажигания.
При прохождении шибером 37 окон клапанов 46, 47 и окон 48 закрывается клапан 47 и открываются клапан 46, выпускающий воспламененные газы из КС 34 в КПО 38, где газы расширяются, и клапан 45, соединяющий КС 35 с КПО 39 второй секции, где происходит сжатие.
Далее действия повторяются. Свежий заряд воздуха или горючей смеси нагнетается из одной секции в камеры сжатия, чередующиеся через каждый оборот вала, а воспламененные газы из камер сжатия поступают в другую секцию, затем после расширения вытесняются, т.е. происходит выхлоп. Таким образом, процессы в секции постоянны, за каждый оборот вала в одной секции происходят всасывание и сжатие одновременно, в другой – расширение и выхлоп.
Двигатель такой конструкции можно сделать реверсивным, сблокировав всасывающий и выхлопной коллекторы, всего лишь для переключения подвода свежего заряда от одной секции на другую, т.е. к выхлопному окну, а выхлопной трубопровод другой секции на предыдущую, т.е. к окну всасывания. И камеры сжатия будут работать также в обратном порядке. Например, при рассмотренном направлении вращения вала 40 клапаны 46 и 47 первой секции выпускают воспламененные в камерах сжатия газы в КПО 38, а клапаны 44 и 45 второй секции пропускают свежий заряд в эти КС из КПО 39, при переключении, т.е. при перемене направления вращения вала на противоположное, клапаны 46 и 47 будут впускать свежий заряд в камеры сжатия из КПО 38, а клапаны 44 и 45 выпускать воспламененные газы из камер сжатия в КПО 39 второй секции. Причем каких-либо иных переключений клапанов газораспределения не требуется. Прост не только реверс, но и конструкция проще. При сочетании с остальными конструктивными предложениями первого варианта, т.е. положительными достоинствами, двигатель и по второму варианту найдет свое применение.
Формула изобретения
1. Роторный двигатель внутреннего сгорания, содержащий цилиндрический корпус, разделенный поперечной перегородкой на две секции с впускными и выпускными окнами; двухсекционный ротор с радиальными пазами, жестко объединенный общим валом и размещенный в соответствующих секциях с поверхностным контактом в торцевых и линейным в цилиндрической частях корпуса; элемент разделения рабочей камеры между корпусом и ротором – шибер, установленный в радиальном пазу каждого ротора с возможностью радиального перемещения, для образования камер переменного объема соответственно для впуска, сжатия, расширения и выпуска газов, отличающийся тем, что имеет две камеры сжатия, накрест расположенные одна над другой, с двусторонним отсечением их от соответствующих камер переменного объема с помощью регулируемых на открытие-закрытие клапанов; кулачковый распредвал с приводом от вала отбора мощности через зубчатую передачу; два опорных валика с коромыслами; золотники в виде круглого стержня с вырезом для впуска и выпуска газов в каждой секции с зубчатыми секторами, рычагами и пружинами; трехслойные раздвижные шиберы с лабиринтным уплотнением; П-образные уплотнители в корпусе в зоне постоянного линейного касания ротора с корпусом по цилиндрической образующей и продолжением по торцевым поверхностям с обеих сторон к валу ротора; в каждой секции совершаются все рабочие процессы двигателя за два оборота вала.
2. Двигатель по п.1, отличающийся тем, что шибер состоит из трех пластин, составленных из восьми элементов, имеющий возможность перемещаться комплектами элементов как в осевом, так и в радиальном направлениях, а также раздвигаться между отдельными элементами, обеспечивая непроницаемость газов через контакт шибера с корпусом благодаря наличию постоянного трехлинейного контакта элементов шибера с корпусом как по цилиндрической образующей, так и по торцевым поверхностям и при любом положении ротора, образуя в местах соприкосновения с корпусом лабиринтное уплотнение.
3. Двигатель по п.1, отличающийся тем, что П-образный уплотнитель состоит из горизонтального и двух вертикальных уплотнителей в виде прямоугольных стержней с лабиринтными канавками, подвижно взаимодействующих между собой; горизонтальный уплотнитель с каждого конца имеет жестко соединенный с ним под прямым углом рычаг с наклонным окном, с входящим в последнее штырем вертикального уплотнителя для перемещения вертикального уплотнителя к торцу ротора при опускании горизонтального уплотнителя после выхода из контакта шибера с уплотнителями; в месте стыкования уплотнителей имеются каналы для прохода газов из камер переменного объема в пазы уплотнителей и воздействия этих газов на уплотнители с тыльной стороны с целью прижатия их к поверхностям ротора; горизонтальный уплотнитель имеет клиновидный двухлепестковый рычаг-подъемник, а вертикальные уплотнители имеют скос для плавного вхождения в контакт шибера с уплотнителями и вдавливания их в свои пазы на время перехода через них шибера.
4. Роторный двигатель внутреннего сгорания, содержащий цилиндрический корпус, разделенный поперечной перегородкой на две секции с впускными и выпускными окнами; двухсекционный ротор с радиальными пазами, жестко объединенный общим валом и размещенный в соответствующих секциях с поверхностным контактом в торцевых и линейным в цилиндрической частях корпуса; элемент разделения рабочей камеры между корпусом и ротором – шибер, установленный в радиальном пазу каждого ротора с возможностью радиального перемещения, для образования камер переменного объема соответственно для впуска, сжатия, расширения и выпуска газов, отличающийся тем, что имеет две параллельные между собой камеры сжатия, размещенные в утолщенной части корпуса, с двухсторонним отсечением их от соответствующих камер переменного объема с помощью регулируемых на открытие-закрытие клапанов; кулачковый распредвал с приводом от вала отбора мощности через зубчатую передачу; два опорных валика с коромыслами; трехслойные раздвижные шиберы с лабиринтным уплотнителем; П-образные уплотнители в корпусе в зоне постоянного линейного касания ротора с корпусом по цилиндрической образующей и продолжением по торцевым поверхностям с обеих сторон к валу ротора.
5. Двигатель по п.4, отличающийся тем, что клапаны камер сжатия расположены два в одной секции на линии, параллельной оси вала, и два в другой секции на симметричной относительно вертикальной оси двигателя линии и также параллельной оси вала.
6. Двигатель по п.4, отличающийся тем, что при переключении окон двигателя с подвода воздуха или горючей смеси на трубу выхлопа, а окна с трубой выхлопа на подвод свежего заряда двигатель будет работать с вращением вала в противоположном направлении, т.е. двигатель становится реверсивным, причем без других дополнительных переключений газораспределительных клапанов.
РИСУНКИ
|
|