|
|
(21), (22) Заявка: 2006121808/12, 19.06.2006
(24) Дата начала отсчета срока действия патента:
19.06.2006
(46) Опубликовано: 20.01.2008
(56) Список документов, цитированных в отчете о поиске:
RU 2174581 C1, 10.10.2001. RU 2236530 C2, 20.09.2004. FR 2622237 A1, 28.04.1989. US 3767240 A, 23.10.1973. FR 2585057 A1, 23.01.1987.
Адрес для переписки:
690001, Приморский край, г.Владивосток, ул. Пушкинская, 37, ДВГТУ, патентный отдел, М.И. Звонареву
|
(72) Автор(ы):
Кучма Олег Владимирович (RU)
(73) Патентообладатель(и):
Кучма Олег Владимирович (RU)
|
(54) ЗАМОК ДВЕРИ
(57) Реферат:
Изобретение может быть использовано для защиты различных объектов от доступа посторонних лиц с достижением технического результата, заключающегося в повышении надежности фиксации ригеля в корпусе замка и взломостойкости замка. Замок содержит корпус, снабженный полостью, выполненной с возможностью возвратно-поступательного движения в ней ригеля, и средство фиксации ригеля в запертом положении. Ригель выполнен в виде детали, отдельной от корпуса. Если один из упомянутых элементов жестко закреплен на подвижном элементе двери, то второй – жестко закреплен на ее неподвижном элементе. Ригель выполнен в виде пластины с фигурным вырезом переменной ширины, который на участке взаимодействия ригеля с запорным элементом выполнен округлым, с диаметром, большим ширины прямолинейного участка фигурного выреза, начинающегося от торца пластины. Средство фиксации ригеля в запертом положении выполнено в виде цилиндрического вала, установленного с возможностью вращения в корпусе замка вокруг оси, перпендикулярной поверхности ригеля. Сечение вала соответствует диаметру округлого участка фигурного выреза. На участке взаимодействия с ригелем вал снабжен проточками, расстояние между днищами которых меньше ширины прямолинейного участка фигурного выреза, а ширина не меньше толщины ригеля. Вал снабжен средством поворота, выполненным в виде привода вращения, предпочтительно управляемого через контроллер. 1 з.п. ф-лы, 5 ил.
Изобретение относится к замкам, предпочтительно электромеханическим.
Известен замок двери, который содержит установленный в корпусе подпружиненный ригель и подпружиненную втулку с кулачком, который взаимодействует с ригелем. В корпусе также установлен механизм блокировки, включающий электромагнит и якорь электромагнита, который и является непосредственно средством блокировки передвижения ригеля (см. SU 972024, Е05В 47/02, 1982).
Недостатки устройства – электромагнит в режиме блокирования потребляет большое количество электрической мощности, это не позволяет питать замок от автономных малогабаритных источников питания, что значительно сужает область его практического применения.
Известен также замок двери, содержащий корпус, снабженный полостью, выполненной с возможностью возвратно-поступательного движения в ней ригеля, и средство фиксации ригеля в запертом положении (см. пат. RU №2174581, Е05В 47/00, 2001). Замок отличается низким энергопотреблением, поскольку для приведения узлов замка в положение “заперто” не требуется подачи электропитания на средство фиксации ригеля, а для приведения механизмов замка в положение “отперто” требуется лишь короткий импульс напряжения, что чрезвычайно упрощает требования к источнику электропитания и устройству управления замком.
Недостатки устройства – недостаточная надежность фиксации ригеля, малая взломостойкость замка (имеется возможность механического отжима двери в дверной коробке, имеется возможность подачи питания в обход управляющей схемы для срабатывания соленоида, имеется возможность ложного срабатывания соленоида при помощи физических воздействий (вибрации, магнитные поля), имеется возможность производства любых манипуляций с замком вплоть до проникновения внутрь корпуса без отслеживания таких действий хозяином замка).
В основу настоящего изобретения положена задача повышения надежности фиксации ригеля в корпусе замка и взломостойкости замка.
Технический результат, проявляющийся при решении поставленной задачи, выражается в повышении надежности работы замка (за счет минимизации числа взаимодействующих деталей), исключается возможность открывания замка при механическом отжиме двери в дверной коробке, исключается возможность ложного срабатывания средства фиксации ригеля при помощи физических воздействий (вибрации, магнитные поля), исключается возможность несанкционированного производства манипуляций с замком, минимизируется потребление электроэнергии, исключается возможность открывания двери перепиливанием ригеля.
Результат достигается тем, что замок двери, содержащий корпус, снабженный полостью, выполненной с возможностью возвратно-поступательного движения в ней ригеля, и средство фиксации ригеля в запертом положении, отличается тем, что ригель выполнен в виде детали, отдельной от корпуса, при этом если один из упомянутых элементов жестко закреплен на подвижном элементе двери, то второй – жестко закреплен на ее неподвижном элементе, причем ригель выполнен в виде пластины с фигурным вырезом переменной ширины, который на участке взаимодействия ригеля с запорным элементом выполнен округлым, с диаметром, большим ширины прямолинейного участка фигурного выреза, начинающегося от торца пластины, при этом средство фиксации ригеля в запертом положении выполнено в виде цилиндрического вала, установленного с возможностью вращения в корпусе замка вокруг оси, перпендикулярной поверхности ригеля, при этом сечение вала соответствует диаметру округлого участка фигурного выреза, причем на участке взаимодействия с ригелем вал снабжен проточками, расстояние между днищами которых меньше ширины прямолинейного участка фигурного выреза, а ширина не меньше толщины ригеля, кроме того, вал снабжен средством поворота. Кроме того, средство поворота вала выполнено в виде привода вращения, предпочтительно управляемого через контроллер.
Указанные особенности изобретения представляют его отличия от прототипа и обуславливают новизну предложения; эти отличия являются существенными, поскольку именно они обеспечивают достижение технического результата, отраженного в технической задаче, и отсутствуют в известных технических решениях с тем же эффектом.
Сопоставительный анализ совокупности существенных признаков заявляемого технического решения с существенными признаками аналогов и прототипа свидетельствует о его соответствии критерию “новизна”.
Признаки отличительной части формулы изобретения решают следующие функциональные задачи.
Признаки «… ригель выполнен в виде детали, отдельной от корпуса, при этом если один из упомянутых элементов жестко закреплен на подвижном элементе двери, то второй – жестко закреплен на ее неподвижном элементе» обеспечивают возможность закрывания-открывания замка горизонтальным перемещением ригеля (или корпуса замка) поперек торца двери, что, в свою очередь, исключает возможность открывания двери перепиливанием ригеля, поскольку площадь сечения ригеля в зазоре между дверью и косяком существенно увеличивается, кроме того, такое конструктивное решение обеспечивает возможность открывания-закрывания двери за счет мускульной силы человека, что позволяет использовать привод вращения только на приведение в работу средства фиксации ригеля.
Признаки «… ригель выполнен в виде пластины с фигурным вырезом переменной ширины, который на участке взаимодействия ригеля с запорным элементом выполнен округлым, с диаметром, большим ширины прямолинейного участка фигурного выреза, начинающегося от торца пластины» обеспечивают возможность фиксации ригеля поворотом в его округлой части вала, ширина которого во взаимно перпендикулярных направлениях выполнена разной, так что при размещении вала «узкой» стороной вдоль прямолинейного участка фигурного выреза ригель свободно входит и выходит из корпуса замка, а при развороте вала на величину, кратную нечетному числу четвертей его полного оборота, «ширина» вала в направлении движения ригеля оказывается больше ширины прямолинейного участка фигурного выреза, что исключает возможность захода ригеля в корпус замка (если дверь была открыта) или ригель жестко фиксируется в корпусе замка (если дверь была закрыта).
Признаки «… средство фиксации ригеля в запертом положении выполнено в виде цилиндрического вала, установленного с возможностью вращения в корпусе замка вокруг оси, перпендикулярной поверхности ригеля, при этом сечение вала соответствует диаметру округлого участка фигурного выреза, причем на участке взаимодействия с ригелем вал снабжен проточками, расстояние между днищами которых меньше ширины прямолинейного участка фигурного выреза, а ширина не меньше толщины ригеля» обеспечивают возможность запирания или освобождения ригеля разворотом вала.
Признаки «… вал снабжен средством поворота» обеспечивают возможность разворота вала в положение, обеспечивающее открывание-закрывание замка.
Признаки второго пункта формулы изобретения позволяют повысить степень секретности замка при его управлении через контроллер, снабженный средством ввода кода доступа.
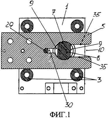
На фиг.1 показан разрез замка в плоскости, параллельной плоскости ригеля, в положении «закрыто»; на фиг.2 – то же, в положении «открыто»; на фиг.3 показан вид ригеля; на фиг.4 показан сборочный чертеж корпуса замка в аксонометрии; на фиг.5 показано положение замка на двери.
На чертежах показаны корпус замка, содержащий боковые пластины 1 и 2, и втулки-распорки 3, обеспечивающие размещение в полости корпуса (зазоре 4 между пластинами 1 и 2) ригеля 5 с возможностью возвратно-поступательного движения в ней. Также показано средство фиксации ригеля 5 в запертом положении, выполненное в виде цилиндрического вала 6, установленного с возможностью вращения в корпусе замка вокруг оси, перпендикулярной поверхности ригеля 5. Сечение вала 6 соответствует диаметру округлого участка 7 фигурного выреза 8 ригеля 5, причем на участке взаимодействия с ригелем вал 6 снабжен проточками 9, расстояние между днищами которых меньше ширины прямолинейного участка 10 фигурного выреза 8 ригеля 5, а ширина не меньше толщины ригеля, кроме того, вал 6 установлен во втулках 11 и снабжен средством поворота, включающим электромотор 12 с шестерней 13 на валу, установленной в зацеплении с зубчатым колесом 14, зафиксированным на валу червяка 15, установленного в зацеплении с червячным колесом 16, фиксируемым на конце вала 6, выступающем над поверхностью боковой пластины 1.
Конструкция вала 6 такова, что при полном обороте в любом направлении (360°) имеется два сектора (по 5°), соответствующих положению «открыто», расположенных через 180°, и два сектора, соответствующих положению «закрыто» (по 90° каждый, через 180°). Позиции «открыто» и «закрыто» взаимно перпендикулярны.
При нелимитируемой толщине двери средство поворота вала может быть выполнено иначе, чем показано.
Электромотор 12 зафиксирован винтом 17 в раме 18, закрепленной на внешней стороне боковой пластины 1 винтами 19.
Червяк 15 пропущен через отверстие 20 П-образной скобы 21, при этом один его конец вставлен во втулку 22, размещенную в отверстии 23 П-образной скобы 21, а второй пропущен через втулку 24, закрепленную в отверстии 20 П-образной скобы 21, причем на конце червяка 15, выступающем из названной втулки, закреплено зубчатое колесо 14, взаимодействующее с шестерней 13, закрепленной на валу электромотора 12.
В свою очередь, П-образная скоба 21 закреплена на внешней стороне боковой пластины 1 винтами 25.
Управление положением вала 6 осуществляется интеллектуально на основе обратной связи от одного и более магнитных датчиков известной конструкции (не показаны) через контроллер (не показан). При этом система управления включает в себя упомянутые датчики, коромысло 26, на концах которого закреплены точечные магниты 27 (коромысло 26 закреплено в прорези 28 червячного колеса 16, совпадающей с аналогичной прорезью 28, выполненной на торце вала 6). Выводы магнитных датчиков связаны с соответствующими входами контроллера, при этом один из датчиков установлен с возможностью определения угла поворота коромысла 26 (а следовательно, и вала 6), второй датчик располагают на редукторе с возможностью контроля за углом его поворота. Кроме того, для исключения заклинивания вала ригелем используют механический ограничитель, выполненный в виде болта 29, пересекающего зазор 4 между пластинами 1 и 2 и установленного с возможностью упирания в дно дополнительной прорези 30, соосной с прямолинейным участком 10 фигурного выреза 8. Дополнительно для исключения заклинивания вала ригелем используют сенсор (например, фотопрерыватель известной конструкции), связанный с контроллером, выполненный в виде болта 31, фиксируемого в ригеле 5. Названные элементы препятствуют срабатыванию замка (повороту вала 6) при промежуточном (не до конца задвинутом) положении ригеля. Для обеспечения попадания ригеля в створ замка используют подстроечный болт 32.
Кроме того, показаны дверное полотно 33 и косяк двери 34.
В качестве контроллера может быть использован электронный блок, предпочтительно микроконтроллер (например, Microchip 16 F 684), функционально включающий в себя элементы, обеспечивающие решение следующих задач:
– ввод и хранение энергонезависимого кода доступа;
– сравнение кода доступа, имеющегося в памяти контроллера и вводимого;
– формирование сигнала управления исполнительным механизмом (соответственно, его открывание или закрывание).
Названные функции реализуются в основном программным путем. Кроме этих функций, непосредственно связанных с обеспечением работы замка, контроллер может обеспечивать подачу сигнала о неверно набранном коде и/или включение охранной сигнализации или выполнить иное действие, предусмотренное в перечне опций, выбираемых при покупке замка.
Заявленное устройство работает следующим образом.
В дверное полотно (или на стену рядом с дверью) монтируют считывающий узел, выходы которого известным образом соединяют с контроллером исполнительного механизма дверного замка (обеспечивая недоступность каналов связи с внешней стороны двери), кроме того, на вертикальный торец дверного полотна 33 крепят ригель, так чтобы его фигурная прорезь была ориентирована к корпусу замка, который закрепляют, соответственно, на косяк двери 34.
Процедура открывания-закрывания двери (соответственно, выдвигание ригеля из корпуса замка и его вдвигание в корпус замка) осуществляется путем перемещения дверного полотна за счет мускульной силы пользователя.
При закрывании двери пользователем, когда ригель полностью зайдет в корпус замка, срабатывает фотопрерыватель, в результате чего сигнал от него поступает на контроллер и контроллер переводит ротор в положение «закрыто».
Для открытия замка необходимо, чтобы контроллер получил соответствующий кодовый сигнал извне, что обеспечивается пользователем путем ввода в контроллер кодового сигнала посредством кодового ключа, соответствующего используемой конструкции контроллера.
При этом процедура «открывания» или «закрывания» замка сводится к повороту вала 6 в одно из положений («открыто» или «закрыто») электромотором 12 через редуктор (шестерню 13, зубчатое колесо 14, червяк 15 и червячное колесо 16).
При положениях «открыто» и «закрыто» магниты, расположенные на редукторе и на коромысле, фиксируются напротив датчиков, так что при несанкционированном изменении положения магнитов замка контроллер замка обеспечивает подачу сигнала тревоги или вызов милиции.
При попытке грубого взлома путем отжима дверного полотна 33 домкратом ригель 5 деформируется и заклинивается в полости корпуса замка, т.к. «берега» 35 прямолинейного участка 10 фигурного выреза 8 наползают (натягиваются) на вал 6, отгибаясь, соответственно, вверх и вниз, и расклиниваясь во втулки 3, что делает такой способ взлома неэффективным.
Заявленное устройство характеризуется следующими достоинствами:
– привод можно скрытно устанавливать на двери таким образом, что его месторасположение невозможно определить снаружи;
– возможность установки на двери, открывающейся как «наружу», так и «вовнутрь», в том числе на сдвижные, раздвижные или распашные двери;
– электрическая совместимость с большинством существующих СКД сторонних производителей (пошаговый режим);
– «торцевая» установка на дверное полотно или раму практически исключает возможность высверливания механизма, так как он виден «в профиль», причем червяк и червячное колесо защищены, а ротор скрыт ригелем, кроме того, «вертикальный» плоский ригель, установленный вплотную к раме, сильно затрудняет возможность его перепиливания. Ригель имеет равную толщину по всей длине, а не только там, «где видно»;
– установка замка на раму и «запираемый» ригель исключают возможность «отжимания» дверного полотна или вдавливание ригеля;
– использование мотора (а не соленоида или электромагнита) и отсутствие самовзвода исключает разнообразные способы взлома замка, основанные на «провоцировании» срабатывания самовзвода;
– интеллектуальное управление электродвигателем с использованием обратной связи от сенсоров сильно затрудняет открытие замка путем подачи питания на электродвигатель в обход контроллера, а также существенно снижает механический износ привода и уровень шума от его работы;
– невысокое пиковое электропотребление привода позволяет использовать привод с недорогими блоками питания или батареями.
Формула изобретения
1. Замок двери, содержащий корпус, снабженный полостью, выполненной с возможностью возвратно-поступательного движения в ней ригеля, и средство фиксации ригеля в запертом положении, отличающийся тем, что ригель выполнен в виде детали, отдельной от корпуса, при этом, если один из упомянутых элементов жестко закреплен на подвижном элементе двери, то второй жестко закреплен на ее неподвижном элементе, причем ригель выполнен в виде пластины с фигурным вырезом переменной ширины, который на участке взаимодействия ригеля с запорным элементом выполнен округлым, с диаметром, большим ширины прямолинейного участка фигурного выреза, начинающегося от торца пластины, при этом средство фиксации ригеля в запертом положении выполнено в виде цилиндрического вала, установленного с возможностью вращения в корпусе замка вокруг оси, перпендикулярной поверхности ригеля, при этом сечение вала соответствует диаметру округлого участка фигурного выреза, причем на участке взаимодействия с ригелем вал снабжен проточками, расстояние между днищами которых меньше ширины прямолинейного участка фигурного выреза, а ширина не меньше толщины ригеля, кроме того, вал снабжен средством поворота.
2. Замок по п.1, отличающийся тем, что средство поворота вала выполнено в виде привода вращения, предпочтительно управляемого через контроллер.
РИСУНКИ
|
|