|
|
(21), (22) Заявка: 2006116793/12, 17.05.2006
(24) Дата начала отсчета срока действия патента:
17.05.2006
(46) Опубликовано: 20.01.2008
(56) Список документов, цитированных в отчете о поиске:
RU 2261974 C1, 10.10.2005. EA 4584 В1, 24.06.2004. RU 2145013 C1, 27.01.2000. RU 2221123 C1, 10.01.2004. US 3994521 A, 30.11.1976. US 6155617 A, 05.12.2000. US 5222776 A, 29.06.1993.
Адрес для переписки:
109004, Москва, Пестовский пер., 16, стр.3, ООО “ТРАНС-ПЛОМБИР”, руководителю
|
(72) Автор(ы):
Акимов Владимир Ефимович (RU), Назаркин Сергей Владимирович (RU), Анненков Александр Васильевич (RU), Гафуров Александр Саярович (RU), Воронин Игорь Алексеевич (RU), Илюхин Сергей Андреевич (RU)
(73) Патентообладатель(и):
Общество с ограниченной ответственностью “ТРАНС-ПЛОМБИР” (RU)
|
(54) ГИБКОЕ ЗАПОРНО-ПЛОМБИРОВОЧНОЕ УСТРОЙСТВО
(57) Реферат:
Изобретение относится к области скобяных изделий и, в частности, к запорно-пломбировочным устройствам, в которых в качестве замыкателя используется гибкий элемент, например отрезок троса, и касается устройства, содержащего отрезок троса, один конец которого является пассивным, а второй свободный конец отрезка троса при запирании протягивается сквозь корпус с образованием петли и фиксируется в нем посредством механизма запирания, состоящего из двух одинаковых фиксирующих элементов, подпружиненной пружиной замыкания, обоймы, размещенной в полости корпуса, имеющей плоские наклонные поверхности, с которыми взаимодействуют при запирании фиксирующие элементы. Корпус имеет входное и выходное отверстия, причем последнее образовано в крышке, которая закрывает корпус. При этом пружина замыкания одним концом надета на выступ, которым снабжена обойма, и опирается на заднюю стенку обоймы, а другим концом опирается на крышку. Устройство снабжено средством дополнительной фиксации механизма запирания, выполненного в виде промежуточной подвижной опоры для пружины замыкания, взаимодействующей после образования петли минимального размера и предварительной фиксации отрезка троса фиксирующими элементами с витками пружины, расположенными на выступе обоймы, при этом указанная опора выполнена в виде рукоятки с резьбовым участком, ввернутым в сквозное резьбовое отверстие, выполненное в корпусе под острым углом к продольной оси отрезка троса. Рукоятка имеет участок с уменьшенным поперечным сечением, его параметры выбраны из условия обламывания рукоятки при достижении необходимых усилий воздействия торца резьбового участка через сжатые соседние витки пружины замыкания на заднюю стенку обоймы. Техническим результатом является обеспечение наряду с высокими усилиями запирания высокой надежности при эксплуатации. 4 з.п. ф-лы, 4 ил.
Область техники, к которой относится изобретение
Данное изобретение относится в целом к скобяным изделиям и, в частности, к устройствам для запирания с опломбированием дверей железнодорожных вагонов, грузовых контейнеров и автофургонов, люков цистерн, штурвалов хоппер-зерновозов, пакгаузов, складов, магазинов, торговых палаток и других объектов.
Более конкретно изобретение относится к запорно-пломбировочным устройствам, в которых в качестве замыкателя используется гибкий элемент, например отрезок троса.
Уровень техники
Известно гибкое запорно-пломбировочное устройство, описанное в патенте США №3994521, в котором для запирания используется отрезок троса, один конец которого жестко фиксируется в корпусе, который снабжен средствами для фиксации при запирании второго свободного конца отрезка троса, пропускаемого через входное отверстие в корпусе, далее через ролики и через сквозное отверстие в обойме и затем через выходное отверстие. В качестве средства для фиксации отрезка троса используются шарики, размещенные в посадочных местах подпружиненной обоймы и взаимодействующие при запирании с внутренней конической поверхностью корпуса (наклонными плоскостями) и боковой поверхностью отрезка троса. Это устройство имеет следующие недостатки. Оно не обладает высокой надежностью, поскольку в замкнутом состоянии не исключает проскальзывания и проворачивания шариков. Вследствие чего после злоумышленного вскрытия и доступа к охраняемому объекту оно может быть повторно закрыто. При этом сам факт злоумышленного вскрытия обнаруживается после санкционированного вскрытия устройства.
Известно гибкое запорно-пломбировочное устройство, описанное в качестве RU №2261974 (МКИ Е05В 39/02), в котором для запирания используется отрезок троса, один конец которого жестко фиксируется в корпусе и который снабжен средствами для фиксации при запирании второго свободного конца отрезка троса, пропускаемого через входное отверстие в корпусе и далее через фиксирующие элементы и через сквозное отверстие в обойме и затем через выходное отверстие в крышке. В качестве средства для фиксации отрезка троса используются два ролика, размещенные в посадочных местах подпружиненной обоймы и имеющие цилиндрические проточки посередине, взаимодействующие при запирании с боковой поверхностью отрезка троса, и с внутренними наклонными плоскостями полости корпуса своими боковыми поверхностями. При этом оси входного отверстия в корпусе, выходного отверстия в крышке, полости корпуса и сквозного отверстия в обойме совпадают. Устройство имеет высокие усилия запирания, сочетающиеся с простотой и технологичностью изготовления. При этом для надежной эксплуатации устройства требуется необходимость выполнения минимально допустимого технологического зазора между входным отверстием и поверхностью троса, с тем чтобы исключить возможность обратного вытягивания отрезка троса из корпуса при злоумышленном воздействии на механизм запирания каким-либо тонким, но достаточно жестким предметом через указанный зазор. Неточности в изготовлении и ненадлежащий технологический контроль при серийном выпуске продукции не исключает нестабильности надежного запирания устройства, а следовательно, и злоумышленного вскрытия с последующим доступом к материальным ценностям охраняемого объекта и повторному запиранию устройства, позволяющего скрыть сам факт злоумышленного вскрытия.
Техническим результатом предлагаемого гибкого запорно-пломбировочного устройства является обеспечение наряду с высокими усилиями запирания, достигнутыми в указанном выше изобретении высокой надежности при его эксплуатации.
Сущность изобретения
Обеспечивается указанный технический результат за счет того, что гибкое запорно-пломбировочное устройство, содержащее отрезок троса, один конец которого является пассивным, а второй свободный конец отрезка троса при запирании протягивается сквозь корпус с образованием петли и фиксируется в нем посредством механизма запирания, состоящего из двух одинаковых фиксирующих элементов, подпружиненной пружиной замыкания, обоймы, размещенной в полости корпуса, имеющей плоские наклонные поверхности, с которыми взаимодействуют при запирании фиксирующие элементы, при этом корпус имеет входное и выходное отверстия, причем последнее образовано в крышке, которая закрывает корпус, причем продольные оси выходного и входного отверстий и оси сквозного отверстия и полости корпуса совпадают, при этом пружина замыкания одним концом надета на выступ, которым снабжена обойма, и опирается на заднюю стенку обоймы, а другим концом опирается на крышку, причем фиксирующие элементы выполнены в виде двух одинаковых роликов, взаимодействующих с обоймой, имеющей сквозное отверстие для пропускания свободного конца отрезка троса, устройство снабжено средством дополнительной фиксации механизма запирания, выполненного в виде промежуточной подвижной опоры для пружины замыкания, взаимодействующей после образования петли минимального размера и предварительной фиксации отрезка троса фиксирующими элементами с витками пружины, расположенными на выступе обоймы, при этом указанная опора выполнена в виде рукоятки с резьбовым участком, ввернутым в сквозное резьбовое отверстие, выполненное в корпусе, причем последнее выполнено под острым углом к продольной оси отрезка троса, измеренным в направлении, обратном направлению прилагаемого усилия к отрезку троса при попытке несанкционированного вскрытия устройства, причем рукоятка имеет за резьбовым участком участок с уменьшенным поперечным сечением, выполненным по виду в форме усеченного конуса, меньшим диаметром обращенным к резьбовому участку.
А также тем, что параметры участка с уменьшенным поперечным сечением выбраны из условия обламывания рукоятки при достижении необходимых усилий воздействия торца резьбового участка через сжатые соседние витки пружины замыкания на заднюю стенку обоймы.
А также тем, что сквозное резьбовое отверстие выполнено на боковой поверхности корпуса со стороны крепления пассивного конца отрезка троса.
А также тем, что продольная ось сквозного резьбового отверстия и упомянутые оси отверстий и полости корпуса лежат в одной плоскости.
А также тем, что по меньшей мере резьбовой участок рукоятки выполнен с повышенной твердостью.
Краткое описание чертежей
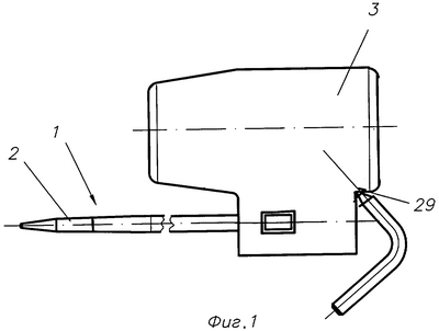
На фиг.1 изображено гибкое запорно-пломбировочное устройство, общий вид, в незамкнутом состоянии.
На фиг.2 – то же с вырывом, в исходном положении устройства, подготовленного к запиранию.
На фиг.3 – вид слева.
На фиг.4 – рукоятка.
Предпочтительный вариант осуществления изобретения
Ниже изобретение поясняется на примере выполнения с последовательным пояснением процесса запирания.
Устройство содержит отрезок троса 1, имеющий свободный конец 2, который может быть снабжен наконечником, и который проводят через запорный узел охраняемого объекта (не показано) и вводят его внутрь корпуса 3 через входное отверстие 4 в корпусе, при этом пассивный конец 5 отрезка троса 1 смонтирован в соосных отверстиях 6 и 7, выполненных в приливе 8, а его конец при этом снабжен втулкой 9 и закрыт крышкой 10, имеющей выходное отверстие 11 и закрывающей полость 12 корпуса 3. Корпус 3 выполнен плоским. Затем отрезок троса проводят через внутреннюю полость 12 в корпусе, в которой размещен по меньшей мере один подпружиненный пружиной замыкания 13 (предварительного) фиксирующий элемент, например шарик, либо ролик 14. Предпочтительно для фиксации отрезка троса 1 снабжать устройство двумя фиксирующими элементами-роликами 14, размещенными в подпружиненной пружиной замыкания 13 обойме 15 (либо свободно расположенными в полости корпуса и подпружиненными через толкатель). Обойма выполнена плоской и ее толщина соответствует (с учетом технологических допусков) внутреннему размеру (ширине) полости корпуса. Продольные оси фиксирующих элементов-роликов 14 в собранном виде устройства параллельны друг другу, а плоскость, в которой они располагаются, перпендикулярна продольной оси отрезка троса 1. В исходном положении устройства, подготовленного к запиранию, боковые цилиндрические поверхности роликов не касаются друг друга благодаря наличию разделителя роликов, которые выполнены в виде выступов 16 на щечках 17 обоймы 15, и располагающихся симметрично и параллельно относительно оси сквозного (осевого) отверстия 18, выполненного в обойме 15. Каждый из роликов снабжен посередине цилиндрической проточкой 19 для заклинивания при запирании свободного конца отрезка троса. Одновременно в указанном положении боковые цилиндрические поверхности роликов находятся в постоянном контакте с наклонными плоскостями 20 (коническими поверхностями), сопряженными с параллельными плоскостями 21 полости 12 корпуса 3.
При дальнейшем пропускании свободного конца 2 отрезка троса 1 фиксирующие элементы-ролики 14 вместе с обоймой 15, преодолевая усилия пружины замыкания 13 (предварительного), одним концом одетой на выступ 22 на обойме 15, и опирается на ее заднюю стенку, перемещаются по наклонным плоскостям 20 (поверхностям) полости 12 корпуса 3 и пропускают отрезок троса через сквозное (осевое) отверстие 18 в обойме 15. Указанные элементы составляют механизм запирания.
После протаскивания свободного конца отрезка троса 1 через корпус его протягивают до образования петли минимального размера в зоне запорного узла (проушины) объекта.
В таком положении под действием пружины замыкания 13 (предварительного) отрезок троса 1 оказывается автоматически зафиксированным (застопоренным) фиксирующим элементом или элементами-роликами 14, которые своими боковыми цилиндрическими поверхностями взаимодействуют одновременно с обоймой 15 и с боковой поверхностью отрезка троса 1 и внутренними наклонными плоскостями 20 внутренней полости 12 корпуса.
На этом заканчивается первый этап запирания устройства, обеспечивающим высокие силовые характеристики взаимодействия роликов с отрезком троса благодаря жесткой фиксации роликов между наклонными плоскостями 20 (противоположными гранями внутренней полости корпуса), с одной стороны, и боковой поверхностью отрезка троса 1, с другой стороны.
Положение, которое занимает обойма 15 после предварительной фиксации, а следовательно, и его задняя стенка и выступ показаны тонкими линиями.
Однако, из-за возможности воздействия на механизм запирания через зазор между входным отверстием и поверхностью троса устройство не может обеспечить высокую надежность.
Недостаточно надежно оно и при эксплуатации, когда полость корпуса может быть заполнена влагой с последующим замораживанием. В этом случае создаются условия для облегчения вытягивания отрезка троса из устройства.
Для обеспечения высокой надежности запирания устройство снабжено средствами дополнительной фиксации механизма запирания. Оно выполнено в виде промежуточной подвижной опоры 23 для пружины замыкания 13, взаимодействующей после образования петли минимального размера и предварительной фиксации отрезка троса фиксирующими элементами с витками пружины, расположенными на выступе 22 обоймы 15, при этом указанная опора 23 выполнена в виде рукоятки 24 с резьбовым участком 25, ввернутым в сквозное резьбовое отверстие 26, выполненное в корпусе 3, причем последнее выполнено под острым углом к продольной оси отрезка троса, измеренным в направлении, обратном направлению прилагаемого усилия к отрезку троса при попытке несанкционированного вскрытия устройства (по стрелке на фиг.1), причем рукоятка имеет за резьбовым участком 25 участок с уменьшенным поперечным сечением, выполненным по виду в форме усеченного конуса 27, меньшим диаметром обращенным к резьбовому участку.
Параметры участка с уменьшенным поперечным сечением выбраны из условия обламывания рукоятки 24 при достижении необходимых усилий воздействия торца 28 резьбового участка 25 через сжатые соседние витки пружины замыкания на заднюю стенку обоймы.
Сквозное резьбовое отверстие 26 выполнено на боковой поверхности 29 корпуса со стороны крепления пассивного конца 5 отрезка троса, продольная ось сквозного резьбового отверстия 26 и упомянутые оси отверстий: входного 4, сквозного 18, выходного 11 и полости корпуса лежат в одной плоскости.
По меньшей мере, резьбовой участок 25 рукоятки выполнен с повышенной твердостью.
Средство дополнительной фиксации механизма запирания используется следующим образом.
Рукоятку 24 ввинчивают в сквозное резьбовое отверстие 26 в корпусе до тех пор, пока участок с уменьшенным поперечным сечением, выполненным в виде усеченного конуса 27, не окажется утопленным в резьбовое отверстие 26. При этом торец 28 резьбового участка 25 взаимодействует с витками пружины, расположенными на выступе 22, и перемещает их в направлении продольной оси отрезка троса 1 к стенке обоймы. При дальнейшем ввинчивании рукоятки 24 соседние витки сжимаются и начинают взаимодействовать с задней стенкой обоймы 15 и перемещать обойму с фиксирующими элементами-роликами 14 в зону с меньшим поперечным сечением 30 в полости корпуса.
Ролики 14, взаимодействующие цилиндрической боковой поверхности с наклонными плоскостями 20 (гранями, расположенными под углом), деформируют боковую поверхность отрезка троса. Причем, чем больше усилие, прикладываемое через собранные соседние витки пружины на заднюю стенку обоймы 15 (при дальнейшем ввинчивании рукоятки), тем дальше фиксирующие элементы-ролики 14 совместно с обоймой перемещаются в сторону участка 30 с меньшем поперечным сечением внутренней полости корпуса и тем сильнее деформируют боковую поверхность отрезка троса.
Тем самым достигается гарантированное высокое усилие стопорения отрезка троса, а следовательно, невозможность несанкционированного вскрытия устройства. Поскольку при попытке несанкционированного вскрытия путем проникновения через технологический зазор между входным отверстием 4 и боковой поверхностью отрезка троса каким-либо тонким предметом, пусть и достаточной жесткости, воздействовать на элементы механизма запирания с целью их перемещения в направлении, обратном направлению вытягивания отрезка троса невозможно, т.к. обойма, а также и весь механизм запирания застопорен через совмещенные витки пружины замыкания 13 промежуточной подвижной опорой 23, жесткость которой в значительной мере превосходит жесткость предмета для несанкционированного вскрытия.
При достижении необходимых усилий воздействия торца 28 резьбового участка 25 рукоятки 24 через соседние совмещенные (собранные вместе) витки на заднюю стенку обоймы 15 рукоятка обламывается. При этом обламывание будет происходить в зоне сопряжения меньшего диаметра усеченного конуса 27, в виде которого выполнен участок с уменьшенным поперечным сечением, с резьбовым участком 25.
Благодаря этому весь участок усеченного конуса 27 останется на отделяемой (обламываемой) рукоятке, а не будет выступать на оставшемся в резьбовом участке, тем самым исключая возможность принудительного силового воздействия на него (усеченный конус) с целью несанкционированного вывинчивания утопленного резьбового участка 25 в корпусе. Таким образом достигается невозможность злоумышленного проникновения в полость корпуса для воздействия каким-либо образом на механизм запирания с целью несанкционированного вскрытия устройства.
Еще одним обстоятельством, препятствующим воздействию на механизм запирания, является высокая твердость резьбового участка, в значительной степени затрудняющая его высверливание.
На внешнюю поверхность рукоятки может быть нанесена заводским способом соответствующая маркировка, дублирующая пломбировочную информацию, нанесенную на внешнюю поверхность корпуса, подтверждающая факт санкционированного запирания.
Санкционированное отпирание предлагаемого гибкого запорно-пломбировочного устройства осуществляется перекусыванием отрезка троса специальным инструментом, после чего отрезок троса легко вытягивается из корпуса.
Таким образом, предлагаемое устройство просто в конструктивном отношении, удобно при эксплуатации и обеспечивает высокую степень предохранения от злоумышленного вскрытия устройства.
Формула изобретения
1. Гибкое запорно-пломбировочное устройство, содержащее отрезок троса, один конец которого является пассивным, а второй свободный конец отрезка троса при запирании протягивается сквозь корпус с образованием петли и фиксируется в нем посредством механизма запирания, состоящего из двух одинаковых фиксирующих элементов, подпружиненной пружиной замыкания обоймы, размещенной в полости корпуса, имеющей плоские наклонные поверхности, с которыми взаимодействуют при запирании фиксирующие элементы, при этом корпус имеет входное и выходное отверстия, причем последнее образовано в крышке, которая закрывает корпус, причем продольные оси выходного и входного отверстий и оси сквозного отверстия и полости корпуса совпадают, при этом пружина замыкания одним концом надета на выступ, которым снабжена обойма, и опирается на заднюю стенку обоймы, а другим концом опирается на крышку, причем фиксирующие элементы выполнены в виде двух одинаковых роликов, взаимодействующих с обоймой, имеющей сквозное отверстие для пропускания свободного конца отрезка троса, отличающееся тем, что устройство снабжено средством дополнительной фиксации механизма запирания, выполненного в виде промежуточной подвижной опоры для пружины замыкания, взаимодействующей после образования петли минимального размера и предварительной фиксации отрезка троса фиксирующими элементами с витками пружины, расположенными на выступе обоймы, при этом указанная опора выполнена в виде рукоятки с резьбовым участком, ввернутым в сквозное резьбовое отверстие, выполненное в корпусе, причем последнее выполнено под острым углом к продольной оси отрезка троса, измеренным в направлении, обратном направлению прилагаемого усилия к отрезку троса при попытке несанкционированного вскрытия устройства, причем рукоятка имеет за резьбовым участком участок с уменьшенным поперечным сечением, выполненным по виду в форме усеченного конуса, меньшим диаметром обращенным к резьбовому участку.
2. Устройство по п.1, отличающееся тем, что параметры участка с уменьшенным поперечным сечением выбраны из условия обламывания рукоятки при достижении необходимых усилий воздействия торца резьбового участка через сжатые соседние витки пружины замыкания на заднюю стенку обоймы.
3. Устройство по п.1, отличающееся тем, что сквозное резьбовое отверстие выполнено на боковой поверхности корпуса со стороны крепления пассивного конца отрезка троса.
4. Устройство по п.1, отличающееся тем, что продольная ось сквозного резьбового отверстия и упомянутые оси отверстий и полости корпуса лежат в одной плоскости.
5. Устройство по п.1, отличающееся тем, что по меньшей мере резьбовой участок рукоятки выполнен с повышенной твердостью.
РИСУНКИ
|
|