|
(21), (22) Заявка: 2005130597/03, 03.10.2005
(24) Дата начала отсчета срока действия патента:
03.10.2005
(43) Дата публикации заявки: 10.04.2007
(46) Опубликовано: 20.01.2008
(56) Список документов, цитированных в отчете о поиске:
ОНУФРИЕВ Н.М. Усиление железобетонных конструкций промышленных зданий и сооружений. – М.: Стройиздат, 1965, с.241-247. ФЕРЕНЧИК П. Предварительно напряженные стальные конструкции. – М.: Стройиздат, 1979, с.196. SU 100439 A1, 01.01.1955. SU607932 A1, 25.05.1978. SU 1470910 A1, 07.04.1989. SU 1583572 A1, 07.08.1990.
Адрес для переписки:
443001, г.Самара, ул. Молодогвардейская, 194, СГАСУ, патентный отдел
|
(72) Автор(ы):
Ильин Николай Алексеевич (RU), Эсмонт Сергей Викторович (RU), Шепелев Александр Петрович (RU)
(73) Патентообладатель(и):
Государственное образовательное учреждение высшего профессионального образования “Самарский государственный архитектурно-строительный университет” (СГАСУ) (RU)
|
(54) СПОСОБ АНКЕРОВКИ НАПРЯГАЕМЫХ РАСПОРОК УСИЛЕНИЯ
(57) Реферат:
Изобретение относится к области строительства, в частности к способу анкеровки напрягаемых распорок усиления. Технический результат заключается в обеспечении совместной работы анкеров и усиливаемого элемента, повышении несущей способности анкеров и усиливаемого элемента, повышении огнезащиты стальных элементов анкеров. Способ анкеровки напрягаемых распорок усиления включает установку упорных элементов, прикрепляемых к усиливаемому элементу конструкции стяжными болтами. Опорные части анкеров выполняют в виде стальных обойм обжатия с упорными столиками для грузовых винтов распорок. Обойму обжатия выполняют из составных скоб с упорными ребрами на концевых участках. Упорные ребра оборудуют стяжными болтами. Внутреннюю поверхность скоб подвергают обработке для повышения сил трения покоя. Металлические элементы анкеров после введения распорок в работу покрывают огнезащитным материалом. 16 з.п. ф-лы, 8 ил.
Изобретение относится к строительству и может быть использовано при анкеровке напрягаемых распорок усиления несущих элементов железобетонных конструкций, например сжатых элементов ферм покрытий зданий.
Известен способ анкеровки напрягаемых распорок, включающий установку опорного столика из стального уголкового профиля с ребрами жесткости, который приваривают на две ветви обоймы усиления железобетонного элемента в верхней ее части, предварительно устанавливая, на столике грузовой винт с упорной гайкой /см. а.с. SU №607932, кл. 2 Е04G 25/02. Способ усиления колонн./ В.В.Гусельников. Опубл. 25.05.78. Бюл. №19 [1].
К причинам, препятствующим достижению указанного ниже технического результата при использовании известного способа анкеровки, относится то, что в известном способе опорный столик для грузового винта требует установки металлоемкой обоймы в виде продольных стальных спаренных уголков, не обеспечивая совместную работу анкерного устройства и усиливаемого элемента конструкции, при этом элементы анкерного устройства и распорок усиления не имеют огнезащиты.
Известен способ анкеровки напрягаемых распорок усиления, содержащий металлическое уголковое обрамление, которое прикрепляют к опорным элементам, охватывая верхние и нижние примыкающие к усиливаемому элементу конструкции, при этом металлическое обрамление примыкают к уголкам обоймы усиления снаружи /см. а.с. SU №1470910, кл. 4 Е04G 23/02. Способ усиления колонн./ А.Д.Федоров. Опубл. 07.04.89. Бюл. №13 [2].
К причинам, препятствующим достижению указанного ниже технического результата при использовании известного способа анкеровки относится то, что металлические обрамления, выступающие в качестве опорных столиков анкерного устройства для напрягаемых распорок (уголков обоймы), имеет ненадежное сцепление с усиливаемым элементом и не обеспечивает их эффективную совместную работу, следовательно, не высока надежность работы элементов анкеровки напрягаемых распорок усиления.
Наиболее близким техническим решением к изобретению по совокупности признаков способ анкеровки напрягаемых распорок усиления, включающий установку четырех уголков, связанных попарно планками. Уголки через накладки упирают в специальные упорные уголки и стягивают болтами, которые пропускают через отверстия в накладках /см. а.с.SU №100439, кл. E04G 23/02 (кл. 37b, 3-03). Способ усиления колонн./ Н.М.Онуфриев. Заявка от 28.09.1953 г. – принято за прототип [3].
К причинам, препятствующим достижению указанного ниже технического результата при использовании известного способа анкеровки напрягаемых распорок усиления, принятого за прототип, относится то, что известный способ не эффективен в работе из-за отсутствия надежного сцепления анкерного устройства с бетоном усиливаемого железобетонного элемента и ненадежной их совместной работы, а стальные элементы анкерного устройства не имеют огнезащиты.
В известном способе анкеровки опорные уголки для концов ветвей напрягаемых распорок имеют шарнирное (а не жесткое) опирание, следовательно, в процессе эксплуатации усиленных элементов конструкций здания возможны дополнительные сдвиги опорных уголков.
Сущность изобретения заключается в следующем. Задача, на решение которой направлено заявленное изобретение, состоит в повышении рациональности, качества и надежности работы анкеров напрягаемых распорок усиления.
Технический результат – обеспечение качественной совместной работы анкеров и усиливаемого железобетонного элемента, повышение несущей способности анкеров на действие сдвигающих сил за счет увеличения в 2-3 раза статического коэффициента трения покоя между его обоймой обжатия и бетоном усиливаемого элемента конструкции, повышение несущей способности усиливаемого элемента в зоне 2-4-стороннего обжатия обоймой анкерного устройства, повышение огнезащиты стальных элементов анкеров.
Указанный технический результат при осуществлении изобретения достигается тем, что известный способ анкеровки напрягаемых распорок усиления, содержащий установку упорных элементов для распорок, непосредственно прикрепляемых к усиливаемому элементу конструкции стяжными болтами, – опорные части анкеров выполняют в виде стальных обойм обжатия с упорными столиками для грузовых винтов распорок, обойму обжатия выполняют из составных скоб с упорными ребрами на концевых участках, упорные ребра скоб оборудуют стяжными болтами, внутреннюю поверхность скоб подвергают обработке для повышения сил трения покоя; металлические элементы анкеров после введения напрягающих распорок в работу покрывают огнезащитным материалом.
Кроме этого, особенности анкерного устройства заключаются в том, что в плоскости контакта со скобами обоймы на поверхности обжимаемого бетона усиливаемого элемента повышают шероховатость путем насечки бетонных зубов и/или углублений для бетонных шпонок.
Для максимального повышения статического коэффициента трения покоя по сочленяющейся поверхности скобы и усиливаемого элемента оптимальное напряжение обжатия бетона Rобж.опт, принимают по формуле (1):

где Rв,loc – расчетное сопротивление бетона смятию, МПа (кгс/см2).
Для увеличения сопротивления бетона смятию скобой обоймы обжатия во вновь уложенном слое бетона или строительного раствора в качестве косвенного армирования устанавливают дополнительно арматурные сетки.
Диаметры стяжных болтов для спаренных скоб и их количество принимают по расчету в зависимости от площади смятия усиливаемого элемента и оптимального напряжения обжатия бетона.
Сочленяющиеся скобы обоймы обжатия утопливают «в сок» пластичного цементно-песчаного раствора состава 1:3 с выжиманием.
При величине нагрузки усиления на напрягаемые распорки более усилия от сопротивления сдвигу обоймы обжатия, последнюю соединяют сваркой с существующей рабочей арматурой усиливаемого элемента с помощью «коротышей» или «уток»-отгибов, выполняемых из отрезков арматуры класса А 240 (A-I) или круглой стали диаметром 10-40 мм.
Обойму 4-стороннего обжатия усиливаемого элемента выполняют из четырех Г-образных скоб, свариваемых между собою в торец и соединяемых стяжными болтами.
Обойма 2-стороннего обжатия усиливаемого элемента вытекают из двух швеллеро-образных скоб и соединяют их стяжными болтами.
Г-образную скобу обоймы обжатия выполняют из двух металлических пластин, соединяемых под углом 90°, на концевых участках которых устанавливают упорные ребра с отверстиями для стяжных болтов.
Г-образную скобу обоймы обжатия выполняют из металлической полосы, изгибая в средней части ее длины и на концевых участках под углом 90°, на последних выполняют упорные ребра с отверстиями для стяжных болтов.
Г-образную скобу обоймы обжатия выполняют из двух отрезков уголкового профиля, соединяя торцами одних их полок под углом 90°, другие полки уголков используют в качестве упорных ребер, оборудуя их отверстиями для стяжных болтов.
Швеллерообразную скобу обоймы обжатия выполняют из отрезков швеллера, на концевых участках полок которого устанавливают упорные ребра с отверстиями для стяжных болтов.
Швеллерообразную скобу обоймы обжатия выполняют из металлической полосы, изгибая в средней части ее длины и на концевых участках под углом 90°, образовывая в упорных ребрах отверстия для стяжных болтов.
Высоту сварного шва, соединяющего элементы скобы, принимают по расчету на растяжение, но не менее 6 мм.
Для предупреждения ослабевания натяжных гаек под нагрузкой на стяжные болты устанавливают контр-гайки или упругие шайбы.
После включения преднапряженных распорок в работу на металлические элементы анкеров наносят огнезащитное покрытие, толщину которого принимают по теплотехническому расчету, но не менее 50 мм.
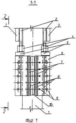
На чертежах представлено:
на фиг.1 изображено анкерное устройство, на которое крепят напрягаемые распорки усиления сжатого железобетонного элемента, вид спереди, сечение 1-1 на фиг.2;
на фиг.2 – то же, вид сбоку, сечение 2-2 на фиг.1;
на фиг.3 – то же, вид сверху, сечение 3-3 на фиг.2;
1 – усиливаемый сжатый элемент конструкции; 2 – остов напрягаемой распорки; 3 – ветви распорок; 4 – грузовые винты с упорными гайками; 5 – упорные столики; 6 – скобы обоймы обжатия; 7 – упорные ребра скобы; 8 – сварные швы; 9 – стяжные болты; 10 – соединительные стальные планки; 11 – концы остовов распорок (коротыши); 12 – зубчатая поверхность бетона усиливаемого элемента конструкции; 13 – ребра жесткости скоб обоймы обжатия;
на фиг.4 изображена Г-образная скоба из двух металлических пластин, соединяемых под углом 90°;
на фиг.5 изображена Г-образная скоба из металлической полосы, изгибаемой в средней ее части и на концевых участках под углом 90°;
на фиг.6 изображена Г-образная скоба из двух отрезков уголкового профиля, соединяемых торцами одних их полок под углом 90°;
на фиг.7 изображена швеллерообразная скоба из отрезков швеллера с устанавливаемыми ребрами на концевых участках полок его;
на фиг.8 изображена швеллерообразная скоба из металлической полосы, которую изгибают под углом 90° в двух местах в средней ее части и на концевых участках, оборудуемая отверстиями для стяжных болтов.
Сведения, подтверждающие возможность осуществления изобретения с получением указанного выше технического результата.
Пример конкретного выполнения. Анкерное устройство для закрепления напрягаемых ветвей распорок 3 усиления сжатого железобетонного элемента (стойки стропильной фермы) выполняют в виде скоб обоймы обжатия 6, которая содержит Г-образные металлические скобы (4 шт., толщина с=10 мм, марка стали С 285), по два упорных ребра скобы 7 для каждой скобы (размеры ребра в×h×l=:25×50×250 мм, сталь С 285), стяжные болты 9 (20 шт., болт диаметром резьбы d=16 мм, длиной l=140 мм, l0=40 мм, с крупным шагом резьбы, головка шестигранная, класс прочности 5.8, без покрытия), сварные швы 8 (толщина ш=6 мм), упорные столики 5 (2 шт., толщина пластины п=50 мм), соединительные стальные планки 10 (2 шт., в×h×l=25×50×250 мм).
Стяжной болт 9 оборудуют шайбой и гайкой (диаметр резьбы d=16 мм, гайка шестигранная, класса точности В, высокая m=20 мм).
Напрягаемую распорку составляют из стального остова напрягаемой распорки 2 (круглого d=20 мм или квадратного сечения а=20 мм), двух ветвей распорок 3 (2 75×50×6 мм), грузового винта 4 (диаметр трапецеидальной резьбы d=20 мм, длина L=200 мм, класс прочности 5.8), упорной гайки (класс прочности В, шестигранная, высокая m=24 мм), контргайки и коротыша 11 (d=20 мм).
После введения анкерного устройства и напрягаемых распорок в работу на металлические элементы устройства усиления нанесен защитный слой легкого бетона толщиной 50 мм.
Введение деталей анкерного устройства для закрепления напрягаемых распорок в работу производят следующим образом. Изготовляют в мастерских отдельные детали анкерного устройства и прикрепляют с натягом скобы обоймы обжатия 6.
Обжатие поперечного сечения усиливаемого сжатого элемента конструкции осуществляется натяжением скоб обоймы обжатия 6 с помощью стяжных болтов 9.
Включение в работу скоб обоймы обжатия 6 производят одновременным вращением упорных гаек стяжных болтов динамометрическим ключом.
Применением предложенного способа анкеровки напрягаемых распорок усиления железобетонного элемента улучшают качественные показатели: анкер прост в изготовлении и монтаже вследствие рационального использования прокатного металла; конструкция анкера снижает расходы металла в 1,5-2 раза; анкерное устройство многоцелевое по назначению, т.к. им одновременно исправляют поврежденный элемент, а также, обжимая бетон, улучшают анкеровку арматуры усиливаемого железобетонного элемента.
Использование предложенного способа обеспечивает надежное и быстрое включение в совместную работу анкера, распорок усиления и железобетонного элемента несущей конструкции; увеличивает анкерующую способность упоров устройства усиления за счет возрастания сил сцепления и увеличение статического трения металлических скоб обоймы обжатия на поверхности контакта с бетоном усиливаемого элемента; сопротивление сдвигу обоймы обжатия повышается в 4-6 раз.
Предложенный способ анкеровки напрягаемых распорок применен в строительной промышленности при усилении элементов решетки стропильной железобетонной фермы пролетом 24 м с параллельными поясами высотой 2,7 м, поврежденной пожаром. Восстановительные работы были проведены без остановки основного производства многопролетного промышленного здания высотой 10 м (г. Самара, 2005 г.).
Источники информации
7. А.с. SU №607932, кл. 2 Е04G 25/02. Способ усиления колонн. /В.В.Гусельников. Опубл. 25.05.78. Бюл. №19.
2. А.с. SU №1470910, кл. 4 Е04G 23/02. Способ усиления колонн. / А.Д.Федоров. Опубл. 07.04.89. Бюл. №13.
3. А.с. SU №100439, кл. Е04G 23/02 (кл. 37b, 3-03). Способ усиления колонн. / Н.М.Онуфриев. Заявка от 28.09.1953 г.
Формула изобретения
1. Способ анкеровки напрягаемых распорок усиления, содержащий установку упорных элементов для распорок, непосредственно прикрепляемых к усиливаемому элементу конструкции стяжными болтами, отличающийся тем, что опорные части анкеров выполняют в виде стальных обойм обжатия с упорными столиками для грузовых винтов распорок, обойму обжатия выполняют из составных скоб с упорными ребрами на концевых участках, упорные ребра скоб оборудуют стяжными болтами, внутреннюю поверхность скоб подвергают обработке для повышения сил трения покоя; металлические элементы анкеров после введения напрягающих распорок в работу покрывают огнезащитным материалом.
2. Способ анкеровки по п.1, отличающийся тем, что в плоскости контакта со скобами обоймы на поверхности обжимаемого бетона усиливаемого элемента повышают шероховатость путем насечки бетонных зубов и/или углублений для бетонных шпонок.
3. Способ анкеровки по п.1, отличающийся тем, что для максимального повышения статического коэффициента трения покоя по сочленяющейся поверхности скобы и усиливаемого элемента оптимальное напряжение обжатия бетона Rобж.опт принимают по формуле (1)
Rобж.опт=0,45·Rв.loc,
где Rв.loc – расчетное сопротивление бетона смятию, МПа (кгс/см2).
4. Способ анкеровки по п.1, отличающийся тем, что для увеличения сопротивления бетона смятию скобой обоймы обжатия во вновь уложенном слое бетона или строительного раствора в качестве косвенного армирования устанавливают дополнительно арматурные сетки.
5. Способ анкеровки по п.1, отличающийся тем, что диаметры стяжных болтов для спаренных скоб и их количество принимают по расчету в зависимости от площади смятия усиливаемого элемента и оптимального напряжения обжатия бетона.
6. Способ анкеровки по п.1, отличающийся тем, что сочленяющиеся скобы обоймы обжатия утапливают “в сок” пластичного цементно-песчаного раствора состава 1:3 с выжиманием.
7. Способ анкеровки по п.1, отличающийся тем, что при величине нагрузки усиления на напрягаемые распорки более усилия от сопротивления сдвигу обоймы обжатия последнюю соединяют сваркой с существующей рабочей арматурой усиливаемого элемента с помощью “коротышей” или “уток” – отгибов, выполняемых из отрезков арматуры класса А 240 (A-I) или круглой стали диаметром 10-40 мм.
8. Способ анкеровки по п.1, отличающийся тем, что обойму 4-стороннего обжатия усиливаемого элемента выполняют из четырех Г-образных скоб, свариваемых между собою в торец и соединяемых стяжными болтами.
9. Способ анкеровки по п.1, отличающийся тем, что обойма 2-стороннего обжатия усиливаемого элемента вытекает из двух швеллерообразных скоб и соединяют их стяжными болтами.
10. Способ анкеровки по любому из пп.1 и 8, отличающийся тем, что Г-образную скобу обоймы обжатия выполняют из двух металлических пластин, соединяемых под углом 90°, на концевых участках которых устанавливают упорные ребра с отверстиями для стяжных болтов.
11. Способ анкеровки по любому из пп.1 и 8, отличающийся тем, что Г-образную скобу обоймы обжатия выполняют из металлической полосы, изгибая в средней части ее длины и на концевых участках под углом 90°, на последних выполняют упорные ребра с отверстиями для стяжных болтов.
12. Способ анкеровки по любому из пп.1 и 8, отличающийся тем, что Г-образную скобу обоймы обжатия выполняют из двух отрезков уголкового профиля, соединяя торцами одни из полок под углом 90°, другие полки уголков используют в качестве упорных ребер, оборудуя их отверстиями для стяжных болтов.
13. Способ анкеровки по любому из пп.1 и 9, отличающийся тем, что швеллерообразную скобу обоймы обжатия выполняют из отрезков швеллера, на концевых участках полок которого устанавливают упорные ребра с отверстиями для стяжных болтов.
14. Способ анкеровки по любому из пп.1 и 9, отличающийся тем, что швеллерообразную скобу обоймы обжатия выполняют из металлической полосы, изгибая в средней части ее длины и на концевых участках под углом 90°, образовывая в упорных ребрах отверстия для стяжных болтов.
15. Способ анкеровки по п.1, отличающийся тем, что высоту сварного шва, соединяющего элементы скобы, принимают по расчету на растяжение, но не менее 6 мм.
16. Способ анкеровки по п.1, отличающийся тем, что для предупреждения ослабевания натяжных гаек под нагрузкой на стяжные болты устанавливают контр-гайки или упругие шайбы.
17. Способ анкеровки по п.1, отличающийся тем, что после включения преднапряженных распорок в работу на металлические элементы анкеров наносят огнезащитное покрытие, толщину которого принимают по теплотехническому расчету, но не менее 50 мм.
РИСУНКИ
MM4A – Досрочное прекращение действия патента СССР или патента Российской Федерации на изобретение из-за неуплаты в установленный срок пошлины за поддержание патента в силе
Дата прекращения действия патента: 04.10.2007
Извещение опубликовано: 20.05.2009 БИ: 14/2009
|