|
|
(21), (22) Заявка: 2006110786/04, 03.04.2006
(24) Дата начала отсчета срока действия патента:
03.04.2006
(46) Опубликовано: 20.01.2008
(56) Список документов, цитированных в отчете о поиске:
Колышев В.И., Костин П.П., Силкин В.В. Асфальтобетонные и цементобетонные заводы. – М.: Транспорт, 1982, с. 8, с. 207. SU 1301744 A1, 18.03.1985. RU 2109028 C1, 20.04.1998. RU 2093442 C1, 20.10.1997. RU 2163918 C1, 10.03.2001.
Адрес для переписки:
344022, г.Ростов-на-Дону, ул.Социалистическая, 162, РГСУ, патентный отдел
|
(72) Автор(ы):
Никулин Юрий Яковлевич (RU), Илиополов Сергей Константинович (RU), Саенко Сергей Сергеевич (RU)
(73) Патентообладатель(и):
Никулин Юрий Яковлевич (RU), Илиополов Сергей Константинович (RU), Саенко Сергей Сергеевич (RU), Ростовский государственный строительный университет (RU)
|
(54) СПОСОБ МИНИМИЗАЦИИ ОКИСЛЕНИЯ БИТУМА В РАБОЧЕМ КОТЛЕ ПРИ ПРИГОТОВЛЕНИИ АСФАЛЬТОБЕТОННОЙ СМЕСИ НА АСФАЛЬТОБЕТОННОМ ЗАВОДЕ
(57) Реферат:
Изобретение относится к строительству автомобильных дорог и может быть использовано при приготовлении горячей асфальтобетонной смеси. Сущность изобретения заключается в способе минимизации окисления битума в рабочем котле при приготовлении асфальтобетонной смеси на асфальтобетонном заводе, осуществляющий в каждом рабочем цикле приготовления асфальтобетонной смеси забор битума из рабочего котла через всасывающий патрубок непрерывно работающим битумным насосом, выход которого подключают через основной трехходовой кран или к битумному дозатору в период дозирования, или в период возврата битума в рабочий котел к возвратному битумопроводу, к концу которого подключают с помощью шланга сливное устройство погружного типа, выход сливного устройства подсоединяют к всасывающему патрубку битумного насоса, а поверхность битума в рабочем котле покрывают слоем термостойкой жидкости, не взаимодействующей с битумом и имеющей плотность значительно меньше плотности битума. 1 ил.
Изобретение относится к строительству автомобильных дорог и может быть использовано при приготовлении горячей асфальтобетонной смеси.
Приготовление асфальтобетонных смесей осуществляется на асфальтобетонных заводах (АБЗ).
Технологический процесс приготовления смесей является постоянным и состоит из следующих основных операций (см. Колышев В.И., Силкин В.В., Маренич П.В. Асфальтобетонные и цементобетонные заводы дорожного строительства. М.: Транспорт, 1976, 207 с., с.7):
– заготовки каменных материалов – песка и щебня различных фракций;
– транспортирования битума соответствующих марок с завода-изготовителя, слив в битумохранилища, разогрев и при необходимости выпаривание содержащейся в битуме воды и нагрев его до заданной температуры;
– заготовки и подачи на склад минерального порошка;
– предварительного дозирования, высушивания и нагрева минеральных материалов (песка и щебня) до заданной температуры;
– дозирования каменных составляющих смесей (песка, щебня двух фракций и минерального порошка) в соответствии с заданным рецептом;
– перемешивания минеральных материалов всухую в смесителе;
– забор и дозирование битума;
– впрыск под давлением битума в смеситель и перемешивания минеральных материалов с битумом;
– выгрузки готовой асфальтобетонной смеси в бункер-накопитель или кузов автомобиля-самосвала.
Известен способ забора битума из рабочего котла и его дозирования при приготовлении асфальтобетонной смеси на установках с одним смесителем (ДС-117, ДС-158 и др.) (см. Колышев В.И., Костин П.П., Силкин В.В. Асфальтобетонные и цементобетонные заводы. М: Транспорт, 1982, 207 с., с.8). Битум, нагретый до рабочей температуры (150-160°С), забирают из рабочего котла через всасывающий патрубок непрерывно работающим битумным насосом и через основной трехходовой кран транспортируют либо в битумный дозатор (цикл дозирования), либо по возвратному трубопроводу обратно в рабочий котел (цикл возврата).
Существенным недостатком при данном способе забора и дозировании является осуществляемый под давлением слив возвращаемого в рабочий котел битума, приводящий к разрушению пленочного покрытия поверхности битума и активному взаимодействию вяжущего с кислородом воздуха как в разбрызгиваемых струях при сливе, так и по непрерывно разрушаемой поверхностной пленке битума.
При этом происходят необратимые изменения в битуме (старение), сопровождающиеся изменением химического состава, структуры и физико-механических свойств. В битуме снижается процентное содержание масляных компонентов за счет испарения наиболее легких фракций и частичного перехода масел в смолы, увеличивается процентное содержание асфальтенов за счет перехода смол в асфальтены. Качество битума ухудшается, так, например, температуры размягчения и хрупкости повышаются, увеличивается вязкость, он становится менее пластичным. Высокая рабочая температура значительно повышает склонность к старению (см. Руденская И.М., Руденский А.В. Органические вяжущие для дорожного строительства. М.: Транспорт, 1984, 229 с., с.39).
Анализ циклограмм приготовления асфальтобетонных смесей (Проектирование производственных предприятий дорожного строительства. М.: Высш.школа, 1975, 351 с., с.177) на установках с одним смесителем показывает, что время цикла дозирования составляет примерно 1/8 от цикла возврата. Учитывая высокую производительность битумных насосов (300-600 л/мин) (см. под ред. В.А.Бочина. Строительство автомобильных дорог: Справочник инженера дорожника. 3-е изд., перераб. и доп. М.: Транспорт, 1980, 512 с., с.211) и вместимость существующих рабочих котлов (10-20 тонн), можно сделать вывод, что за одну рабочую смену каждый единичный объем битума совершает 15-20 полных циклов возврата и сливается в рабочий котел. Слив битума в рабочий котел происходит под давлением 4-6 атмосфер, битум разбрызгивается и активно взаимодействует с кислородом воздуха, происходит непрерывное разрушение пленочной поверхности битума рабочего котла.
Наиболее близким техническим решением является способ забора битума из рабочего котла при приготовлении асфальтобетонной смеси на асфальтобетонном заводе (Патент на изобретение RU 2278142 С1). При его реализации за счет снижения производительности битумного насоса в возвратном цикле и введения стабилизирующего сливного устройства, обеспечивающего плавный слив вяжущего в котел (без разбрызгивания и активного взаимодействия с кислородом), уменьшается количество окисляемого битума.
Однако полностью устранить существующие недостатки этот способ не позволяет: стабилизирующее сливное устройство не исключает взаимодействие сливаемого битума с кислородом (то есть его окисление) и лишь уменьшает (в сравнении с традиционной технологией) площадь разрушаемой при сливе поверхностной пленки битума в котле.
Экспериментальные исследования изменения основных характеристик битума в рабочем котле в период приготовления асфальтобетонной смеси, проведенные в дорожных лабораториях Аксайского и Азовского ДРСУ Ростовской области, а также авторами в лаборатории ДорТрансНИИ РГСУ, подтверждают, что свойства битума в рабочем котле с течением рабочего времени значительно изменяются. Наблюдения за изменением состояния битума в течение от одних до нескольких суток проводились многократно путем взятия проб битума из рабочего котла и определением основных его характеристик. Пробы отбирались через каждые три-четыре часа. Битум испытывался в соответствии со стандартными требованиями: определение глубины проникания иглы пенетрометра при +25°С и при 0°С, определение температуры размягчения по методу КиШ, определение растяжимости при +25°С (ГОСТ 22245-90 Битумы нефтяные дорожные вязкие. Технические условия).
В результате, даже за одну рабочую смену, наблюдается уменьшение пенетрации при +25°С на 12÷15%, увеличение температуры размягчения на 5÷7% и снижение пенетрации при 0°С на 4÷5%. Порой к концу рабочего дня битум, находящийся в рабочей емкости, по показателю пенетрации при +25°С уже не соответствовал требуемой марке.
Задачей изобретения является снижение окисления битума в рабочем котле при приготовлении асфальтобетонных смесей.
Сущность изобретения заключается в том, что способ минимизации окисления битума в рабочем котле при приготовлении асфальтобетонной смеси на асфальтобетонном заводе, осуществляющий в каждом рабочем цикле приготовления асфальтобетонной смеси забор битума из рабочего котла через всасывающий патрубок непрерывно работающим битумным насосом, выход которого подключают через основной трехходовой кран или к битумному дозатору в период дозирования, или в период возврата битума в рабочий котел к возвратному битумопроводу, к концу которого подключают с помощью шланга сливное устройство погружного типа, причем выход сливного устройства подсоединяют к всасывающему патрубку битумного насоса, а поверхность битума в рабочем котле покрывают слоем термостойкой жидкости, не взаимодействующей с битумом и имеющей плотность значительно меньше плотности битума.
Поставленная задача минимизации окисления битума в рабочем котле при приготовлении асфальтобетонных смесей достигается тем, что слив битума из возвратного битумопровода осуществляется в сливное устройство погружного типа, исключающее взаимодействие сливаемого битума с кислородом воздуха, при этом не нарушается целостность поверхности битума рабочего котла и не происходит разбрызгивание битума при его сливе; а поверхность битума рабочего котла покрывается слоем термостойкой жидкости, не смешивающейся с битумом и имеющей плотность значительно меньше плотности битума, что предохраняет вяжущее от взаимодействия с кислородом.
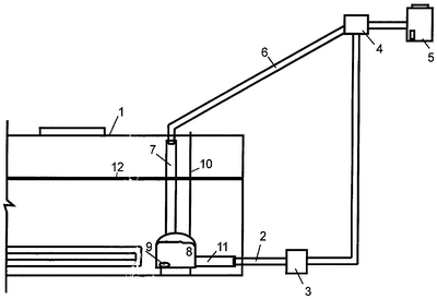
Способ поясняется чертежом.
Заполненный битумом рабочий котел 1 со встроенным в него всасывающим патрубком 2 шестеренчатого битумного насоса 3, соединенного системой битумопроводов через трехходовой кран 4 с битумным дозатором 5 и с возвратным битумопроводом 6, к выходу которого с помощью шланга 7 подключено погружное сливное устройство 8, имеющее отверстие 9 и клапан 10. Посредством шланга 11 выход сливного устройства соединяется с всасывающим патрубком 2. Поверхность битума рабочего котла покрыта защитным слоем термостойкой жидкости 12.
Способ осуществляется следующим образом. Перед началом работы АБЗ на дно рабочего котла 1 устанавливается сливное устройство погружного типа 8, его вход соединяют шлангом 7 с выходом возвратного битумопровода 6, а выход шлангом 11 с всасывающим патрубком 2. При заполнении рабочего котла 1 битумом заполняется и сливное устройство 8 через отверстие 9, при этом находящийся в устройстве воздух выпускается через клапан 10. Нагретый до температуры 150-160°С битум забирается через всасывающий патрубок 2 из сливного устройства 8 битумным насосом 3 и транспортируется через трехходовой кран 4 или в дозатор 5 (цикл дозирования) или обратно в рабочий котел 1 по возвратному битумопроводу 6 (возвратный цикл). При непрерывном заборе битума насосом 3 из сливного устройства 8 в нем происходит незначительное вакуумирование, благодаря чему обеспечивается свободный слив битума из возвратного битумопровода 6, находящегося в верхней части рабочего котла, в сливное устройство 8 и битумный насос 3 работает без перегрузок. В каждом рабочем цикле количество битума, пошедшее на дозирование, компенсируется поступающим в сливное устройство 8 битумом из рабочего котла 1 через отверстие 9. Слив битума из возвратного битумопровода 6 в сливное устройство 8 обеспечивает целостность поверхности битума рабочего котла 1. Кроме того, для исключения процесса окисления битума на поверхности она защищена слоем термостойкой жидкости 12 (трудноиспаряющейся и не разлагающейся при рабочей температуре – 150-160°С), не смешивающейся с битумом и имеющей плотность значительно меньше плотности битума (то есть не более 940 кг/м3 при 160°С). Такая разность плотностей обеспечивает выполнение условия нахождения термостойкой жидкости на поверхности битума. При этом достаточной толщиной защитного слоя является 4-5 мм, что, с одной стороны, обеспечивает герметизацию битума и, с другой, обеспечивает экономию термостойкой жидкости.
Исключение разрушения целостности поверхности битума в рабочем котле и отсутствие разбрызгивания битума, а также наличие на поверхности термостойкой жидкости защищает битум от взаимодействия с кислородом, т.е. от окисления.
Таким образом, предлагаемый способ имеет следующие достоинства:
– обеспечивает сохранение качества битума за счет исключения взаимодействия его с кислородом воздуха как при сливе из возвратного битумопровода, так и на поверхности;
– прост в реализации и эксплуатации;
– не требует значительных экономических затрат и может быть реализован работниками любого АБЗ;
– не требует изменения установленных циклограмм и рецептов.
Формула изобретения
Способ минимизации окисления битума в рабочем котле при приготовлении асфальтобетонной смеси на асфальтобетонном заводе, осуществляющий в каждом рабочем цикле приготовления асфальтобетонной смеси забор битума из рабочего котла через всасывающий патрубок непрерывно работающим битумным насосом, выход которого подключают через основной трехходовой кран или к битумному дозатору в период дозирования, или в период возврата битума в рабочий котел к возвратному битумопроводу, к концу которого подключают с помощью шланга сливное устройство погружного типа, отличающийся тем, что выход сливного устройства подсоединяют к всасывающему патрубку битумного насоса, а поверхность битума в рабочем котле покрывают слоем термостойкой жидкости, не взаимодействующей с битумом и имеющей плотность значительно меньше плотности битума.
РИСУНКИ
MM4A – Досрочное прекращение действия патента СССР или патента Российской Федерации на изобретение из-за неуплаты в установленный срок пошлины за поддержание патента в силе
Дата прекращения действия патента: 04.04.2008
Извещение опубликовано: 20.04.2010 БИ: 11/2010
|
|