|
|
(21), (22) Заявка: 2006104659/12, 25.08.2004
(24) Дата начала отсчета срока действия патента:
25.08.2004
(30) Конвенционный приоритет:
28.08.2003 DE 10339780.9
(43) Дата публикации заявки: 27.08.2006
(46) Опубликовано: 20.01.2008
(56) Список документов, цитированных в отчете о поиске:
DE 10063672 A1, 04.07.2002. US 3165244 A, 12.01.1965. DE 10156858 A1, 28.05.2003. RU 2032006 C1, 27.03.1995.
(85) Дата перевода заявки PCT на национальную фазу:
28.03.2006
(86) Заявка PCT:
EP 2004/009503 (25.08.2004)
(87) Публикация PCT:
WO 2005/024116 (17.03.2005)
Адрес для переписки:
191186, Санкт-Петербург, а/я 230, “АРС-ПАТЕНТ”, пат.пов. В.М.Рыбакову, рег. № 90
|
(72) Автор(ы):
РЕДЛИН Катрин (DE), ДАМРАТ Йоахим (DE), ШПИЛЬМАННЛЯЙТНЕР Маркус (DE), ВЕТЦЛ Герхард (DE)
(73) Патентообладатель(и):
БСХ БОШ УНД СИМЕНС ХАУСГЕРЕТЕ ГМБХ (DE)
|
(54) УСТРОЙСТВО ДЛЯ ГЛАЖЕНЬЯ ОДЕЖДЫ
(57) Реферат:
Данное изобретение относится к устройству для глаженья предметов одежды, в особенности рубашек. Техническим результатом заявленного изобретения является создание устройства для глаженья, в котором простыми средствами будет обеспечено равномерное надувание наружного надувного корпуса. Технический результат достигается в устройстве для глаженья предметов одежды, которое имеет наружный надувной корпус с участком для торса и двумя участками для рукавов, соединенными по бокам с участком для торса. Внутренний надувной корпус устройства для глаженья состоит из воздухонепроницаемого материала. При этом подача воздуха в участки для рукавов наружного надувного корпуса и в участок для торса наружного надувного корпуса производится раздельно через внутренний надувной корпус. 10 з.п. ф-лы, 2 ил.
Область техники
Предлагаемое изобретение относится к приспособлению для глаженья одежды, в частности верхней одежды, например рубашки, блузки или кофты.
Уровень техники
Известен способ сушки и глаженья предметов одежды, состоящий в том, что предмет одежды натягивают на надувной корпус, именуемый также надувным манекеном, который по форме в основном соответствует разглаживаемому предмету одежды, и подают внутрь этого надувного корпуса воздух или пар. Вследствие подачи воздуха или пара надувной корпус раздувается и натягивает изнутри изделие, подвергаемое сушке или глажению. Чтобы обеспечить равномерное раздувание надувного корпуса, а тем самым получить хороший результат сушки и глаженья, необходимо распределять вводимый внутрь надувного корпуса воздух или пар так, чтобы надувной корпус принял желаемую форму.
Для этой цели в US 3165244 предлагается приспособление, в котором используется надувной корпус, разделенный на несколько камер. Отдельные камеры разделяются предусмотренными в надувном корпусе перегородками, каковым могут быть, например, мембраны. Эти камеры надуваются вентилятором по раздельным линиям, так что подачу воздуха в какую-либо из камер можно прикрыть, увеличив этим подачу воздуха в остальные камеры. Такая конструкция с воздуховодами и необходимостью регулирования требует больших затрат.
Далее в DE 10063672 А1 предложено приспособление для глаженья рубашек с составным надувным корпусом. При этом предусматривается наружный надувной корпус и два расположенных в нем внутренних надувных корпуса. Внутренние надувные корпуса выполнены из воздухопроницаемого материала и состоят из участка для торса и участков для рукавов. Давление в наружном корпусе создается за счет воздуха, выходящего из внутренних надувных корпусов, причем на концах участков для рукавов могут быть предусмотрены дополнительные отверстия, чтобы обеспечить более интенсивную подачу воздуха к рукавам наружного надувного корпуса. Воздух, выходящий через участки для рукавов, используется также для подачи воздуха в участок для торса. Если поток воздуха из участка для рукавов в участок для торса прерывается, то вследствие недостаточной подачи воздуха в участок для торса этот участок опадает, что приводит к плохому результату глаженья в этом месте. Такое прерывание подачи воздуха из участка для рукавов в участок для торса может случиться, например, если на наружный надувной корпус надет предмет одежды малого размера.
Раскрытие изобретения
Таким образом, в основу изобретения положена задача создать устройство для глаженья, в котором простыми средствами будет обеспечено равномерное надувание наружного надувного корпуса.
Эта задача согласно изобретению решена в устройстве для глаженья предметов одежды, в особенности рубашек, причем устройство имеет наружный надувной корпус с участком для торса и двумя участками для рукавов, соединенными по бокам с участком для торса, и внутренний надувной корпус, состоящий в основном из воздухонепроницаемого материала. Подача воздуха в устройство согласно изобретению осуществляется так, что подача воздуха в участки для рукавов и в участок для торса наружного надувного корпуса производится раздельно через внутренний надувной корпус.
Под раздельной подачей воздуха в различные участки наружного надувного корпуса подразумевается, что воздух для одного участка не должен проходить через другой участок. Поэтому внутренний надувной корпус выполняет в устройстве вспомогательную функцию поддержания требуемой формы наружного надувного корпуса и одновременно функцию раздельной подачи воздуха в различные участки. Этим достигается простота конструкции всего устройства. При надутом состоянии устройства, когда оно разглаживает натянутый на него, предпочтительно влажный предмет одежды, подача воздуха происходит исключительно раздельно, тогда как в начальной стадии процесса глаженья еще может иметь место некоторый воздухообмен между участком для торса и участками для рукавов.
Предпочтительно разделение между участком для торса и участками для рукавов в наружном надувном корпусе частично образуется оболочкой внутреннего надувного корпуса. Поэтому можно обойтись без специальных перегородок или мембран между этими участками. Дополнительно такая конструкция может поддерживать наружный надувной корпус на линии раздела между участком для рукава и участком для торса, т.е. у отверстия в торсе для рукава.
Внутренний надувной корпус состоит предпочтительно из торса и двух присоединенных к нему с боков рукавных отрезков. При этом разделение между участком для торса и участками для рукавов в наружном надувном корпусе образуется частью рукавных отрезков. Так как разделение происходит в результате прилегания внутреннего надувного корпуса к наружному, обхват рукавного отрезка внутреннего надувного корпуса должна быть больше обхвата участка для рукава наружного надувного корпуса. Этим с одной стороны достигается надежное разделение между участком для торса и участками для рукавов, а с другой стороны разница диаметров может быть использована, чтобы обеспечить плотное прилегание рукавного отрезка к участку для рукава и тем самым добиться хорошего разглаживания рукава рубашки в этом месте.
Таким образом, разделение происходит только при надутом состоянии внутреннего и наружного надувных корпусов, тогда как в спущенном состоянии внутренний и наружный корпуса не соединены между собой. Это удобно тем, что позволяет извлекать надувные корпуса из устройства по отдельности, например, для чистки.
Длина рукавных отрезков составляет предпочтительно, по меньшей мере, четверть или треть, а лучше половину, длины участка для рукава наружного надувного корпуса. Таким образом, этот рукавный отрезок прилегает к верхней части участка для рукава наружного надувного корпуса. На этот участок в свою очередь натянут рукав предмета одежды, в данном случае рубашки. В участок для рукава наружного надувного корпуса воздух должен подаваться под повышенным давлением, чтобы обеспечить достаточное натяжение участка для рукава вблизи основания рукава, во избежание образования морщин. Кроме того, необходимо высушить швы в основании рукава. Если подавать воздух под повышенным давлением на весь участок для рукава наружного надувного корпуса, то в особенности те места, где предусмотрен только один спой материала, например верхняя часть рукава, очень быстро высохнут, а затем через это место начнет уходить тепло, что будет означать потерю энергии. Рукавный отрезок замедляет высыхание верхней части рукава и в то же время обеспечивает создание достаточного давления в этом месте. Так как в верхней части участка для рукава материал внутреннего надувного корпуса и материал наружного надувного корпуса наложены один на другой, это тормозит утечку воздуха и замедляет высыхание верхней части рукава, так чтобы оно происходило согласованно с остальными частями наружного надувного корпуса. Одновременно создается давление, необходимое для того, чтобы расправить рукав у его основания и высушить швы в этом месте через рукавный отрезок.
Во внутреннем надувном корпусе у отверстия рукавного отрезка может быть предусмотрен клин, благодаря которому вблизи отверстия рукавного отрезка обхват рукавного отрезка становится больше, чем у самого отверстия рукавного отрезка. Этот клин, изготовляемый из того же материала, из которого состоит внутренний надувной корпус, позволяет простым способом увеличить обхват рукавного отрезка на малом расстоянии от отверстия рукавного отрезка. Это позволяет избежать образования перекосов в этом месте и совместно с клином в наружном надувном корпусе, предусмотренным в другом варианте исполнения, обеспечивает достаточное облегание участка для рукава предметом одежды.
Вентиляция участка для рукава наружного надувного корпуса может осуществляться через торцы рукавных отрезков, которые для этой цели делаются воздухопроницаемыми. Воздухопроницаемость может быть обеспечена соответствующим выбором материала, например неплотной текстильной ткани, или с помощью одного или нескольких отверстий в плотном материале. К примеру, в плотном материале на торце может быть предусмотрено отверстие диаметром 24 мм. При этом направление воздушного потока будет идеальным.
Подача воздуха на участок для торса наружного надувного корпуса может быть осуществлена через воздухопроницаемые участки в торсе внутреннего надувного корпуса. Здесь также воздухопроницаемость может быть обеспечена выбором подходящего материала, например неплотной текстильной ткани, или с помощью одного или нескольких отверстий в плотном материале.
Внутренний надувной корпус предпочтительно состоит из двух отдельных боковых частей, каждая из которых представляет собой часть торса внутреннего надувного корпуса. В каждой из боковых частей предпочтительно имеется рукавный отрезок, который входит в участок для рукава в наружном надувном корпусе. Благодаря устойчивости, которой обладают боковые части в надутом состоянии, промежуток между боковыми частями сохраняется и в процессе глаженья, т.е. после натягивания предмета одежды. Дополнительно боковые части можно подпереть с внутренней стороны каркасом, который может быть, например, составлен из стержней или сплошных поверхностей. Это позволяет избежать смятия обеих боковых частей даже при натягивании предмета одежды малого размера. В одном варианте исполнения между боковыми частями предусмотрен соединительный элемент, в качестве которого могут быть применены, например, ленты из ткани. Они препятствуют отходу боковых частей друг от друга.
В одном предпочтительном варианте исполнения сторона боковой части внутреннего надувного корпуса, обращенная к другой боковой части внутреннего надувного корпуса, по меньшей мере, частично воздухопроницаема. Воздухопроницаемость и в этом случае может быть обеспечена выбором соответствующего материала, например неплотной текстильной ткани, или с помощью одного или нескольких отверстий в плотном материале. Например, на стороне боковой части, обращенной к другой боковой части, можно предусмотреть четыре отверстия диаметром 24 мм. Это обеспечит достаточный регулируемый подвод воздуха к участку для торса наружного надувного конуса даже и в том случае, если на устройство натянуто изделие маленького размера. В особенности, если боковая часть поддерживается каркасом, расстояние между внутренними сторонами боковых частей всегда остается неизменным, и поступление воздуха в участок для торса наружного надувного корпуса обеспечивается всегда.
Соотношение давлений между наружным и внутренним надувными корпусами устройства устанавливается в пределах от 1:2,5 до 1:4,5, а предпочтительно в пределах от 1:3 до 1:3,5. Такое соотношение давлений поддерживается как на участке для рукавов, так и на участке для торса. Это соотношение давлений обеспечивается за счет того, что внутренний надувной корпус в основном воздухонепроницаем. Точная регулировка разности давлений может быть дополнительно произведена за счет выбора размера воздухопроницаемых участков рукавных отрезков и торса внутреннего надувного корпуса.
Воздухонепроницаемыми участками надувных корпусов предпочтительно считаются такие участки, воздухопроницаемость которых колеблется в пределах от 0 до 3 л/м2с, а предпочтительно от 0 до 1 л/м2с. На участках средней воздухопроницаемости воздухопроницаемость колеблется в пределах от 3 до 20 л/м2с, а предпочтительно от 5 до 10 л/м2с. Воздухопроницаемость воздухопроницаемых участков колеблется в пределах от 100 до 250 л/м2с, а предпочтительно от 150 до 210 л/м2с. Эти значения измеряются предпочтительно при дифференциальном давлении 100 Па.
Краткий перечень чертежей
Изобретение более подробно описано ниже со ссылками на прилагаемые фигуры. На них представлены:
на фиг.1 – схематическое перспективное изображение одного варианта реализации предложенного в изобретении устройства; и
на фиг.2 – детальное изображение боковой части внутреннего надувного корпуса в варианте реализации предложенного в изобретении устройства по фиг.1.
Осуществление изобретения
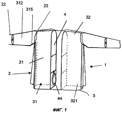
На фиг.1 изображено устройство 1, состоящее из наружного надувного корпуса 2 и внутреннего надувного корпуса 3. Наружный надувной корпус 2 показан лишь частично, чтобы можно было рассмотреть внутренний надувной корпус 3. Наружный надувной корпус 2 имеет участок 21 для торса и два участка 22 для рукавов, которые с боков соединены с участком 21 для торса отверстиями 23 для рукавов.
В наружном надувном корпусе 2 заключен внутренний надувной корпус 3. Внутренний надувной корпус 3 в изображенном здесь варианте исполнения состоит из двух боковых частей 31 и 32. Боковая часть 31 внутреннего надувного корпуса 3 изображена на фиг.2 более подробно. Конструкция и принцип действия предложенного в изобретении устройства рассматриваются ниже со ссылками на эту боковую часть 31, которая на фиг.1 изображена слева. Другая боковая часть 32, изображенная на фиг.1 справа, имеет такую же конструкцию и выполняет такие же функции.
Боковая часть 31 имеет торсовую часть 311, торсовые части первой и второй боковых частей 31 и 32 разделены между собой промежутком и образуют совместно торсовую часть внутреннего надувного корпуса 3.
К боковой части 31 сбоку присоединен рукавный отрезок 312. Он соединен с боковой частью 31 отверстием рукавного отрезка. На торце 313 рукавного отрезка 312 имеется отверстие 314. Обхват рукавного отрезка 312 определяется в основном кроем материала, предпочтительно текстильной ткани. На нижней стороне рукавного отрезка 312 предусмотрен клин 315, предназначенный для увеличения обхвата рукавного отрезка. Клин 315 изготовляется предпочтительно из того же материала, что и весь рукавный отрезок 312. В изображенном варианте на участке 22 для рукава на наружном надувном корпусе 2 на нижней стороне отверстия рукава вставлен аналогичный клин.
Сторона торсовой части 311 боковой части 31 внутреннего надувного корпуса 3, обращенная к другой боковой части 32 образует внутреннюю сторону 4. На этой внутренней стороне 4 в рассматриваемом варианте на середине высоты вставлен участок 41 с высокой воздухопроницаемостью. Другие участки 42 и 43 внутренней стороны 4 боковой части 31 предпочтительно имеют высокую плотность. В нижней части 43 внутренней стороны 4 предусмотрено соединительное отверстие 44, через которое боковая часть 31 может быть соединена с нагнетателем расположенного под надувным корпусом 2 аппарата (не показан).
С помощью устройства 1, изображенного на фиг.1 и 2, можно просто и надежно отгладить предмет одежды, в частности рубашку. Предмет одежды натягивается на наружный надувной корпус 2. При этом участки 22 для рукавов в наружном надувном корпусе 2 вводятся в рукава предмета одежды, и рукава предпочтительно закрепляются. Затем с помощью нагнетателя во внутренний надувной корпус 3 предпочтительно через соединительное отверстие 44 подается воздух или пар. В изображенном варианте исполнения воздух подается таким способом в обе боковые части 31 и 32. Внутренний надувной корпус 3 раздувается, причем раздуваются также рукавные отрезки боковых частей 31 и 32.
Через отверстие 313 в рукавном отрезке 312 и через соответствующее отверстие в рукавном отрезке боковой части 32 воздух из внутреннего надувного корпуса поступает в участок 22 для рукава в наружном надувном корпусе 2, вследствие чего раздувается и этот участок. Поскольку обхват рукавного отрезка 312 больше обхвата участка 22 для рукава, наружная сторона обхвата рукавного отрезка 312 прижимается к внутренней стороне обхвата участка 22 для рукава. Это препятствует поступлению воздуха из отверстия 314 в торце 313 в участок 21 для торса в наружном надувном корпусе 2.
Подача воздуха в участок 21 для торса в наружном надувном корпусе 2 производится согласно изобретению отдельно от подачи воздуха в участки 22 для рукавов. В изображенном варианте подача воздуха осуществляется через участок 41 на внутренней стороне 4 боковых частей 31 и 32 внутреннего надувного корпуса 3. Участок 41 воздухопроницаем, так что воздух, поступающий во внутренний надувной корпус 3, может через этот участок попасть в участок 21 для торса в наружном надувном корпусе 2.
Таким образом, подача воздуха в участки 22 для рукавов происходит при надутом состоянии надувных корпусов 2 и 3 устройства 1 исключительно через рукавные отрезки боковых частей 31 и 32, а именно через расположенные в торцах рукавных отрезков отверстия 314. Подача воздуха в участок 21 для торса в наружном надувном корпусе 2 производится в изображенном варианте исключительно через воздухопроницаемые участки 41 на внутренних сторонах 4 боковых частей 31 и 32 внутреннего надувного корпуса 3.
В изображенном варианте торцевая поверхность 313, крой рукавного отрезка 312, клин 315, а также скроенные элементы, из которых состоит торсовая часть 311, кроме внутренней стороны 4, выполнены из одного материала, воздухопроницаемость которого, измеренная при дифференциальном давлении 100 Па, составляет от 0 до 1 л/м2с, т.е. из плотного материала. Участки 42 и 43 в верхней и в нижней частях внутренней стороны изготовляются предпочтительно тоже из этого плотного материала. Воздухопроницаемость участка 44, напротив, предпочтительно находится в пределах от 150 до 210 л/м2с. Измерение этих значений производится при дифференциальном давлении 100 Па. На торсовой части 311 можно также, например, на стороне, противоположной внутренней стороне 4, вставить скроенный элемент со средней воздухопроницаемостью в пределах от 3 до 20 л/м2с, а предпочтительно с воздухопроницаемостью в пределах от 5 до 10 л/м2с, измеренной при дифференциальном давлении 100 Па. Этот отрезок может простираться от нижнего края до отверстия рукавного отрезка и способствовать высыханию бокового шва предмета одежды в области торса.
Воздухопроницаемость скроенной ткани, которая образует участок 22 для рукава на наружном надувном корпусе, измеренная при дифференциальном давлении 100 Па, составляет от 0 до 1 л/м2с, т.е. отрезок скроен из плотного материала. В нижней части участка для рукава могут быть предусмотрены участки со средней воздухопроницаемостью и открытые участки для сушки манжет и манжетных петель.
В устройстве, которое предлагается изобретением, на отдельных участках надувных корпусов могут быть получены следующие примерные значения давления. Через присоединительное отверстие может подаваться воздух или пар при давлении 400 Па. В участках 22 для рукавов в наружном надувном корпусе 2 может при этом устанавливаться давление примерно около 350 Па, что позволяет получать великолепные результаты глаженья рукавов. В участке 21 для торса в наружном надувном корпусе 2, в особенности между двумя боковыми частями 31, 32 внутреннего надувного корпуса 3, может установиться давление порядка 100-120 Па. Такие давления идеальны для глаженья предметов одежды с помощью устройства, предлагаемого в данном изобретении.
Данное изобретение не ограничивается изображенным вариантом исполнения.
Хотя в изображенном варианте исполнения воздухопроницаемый участок 41 занимает только среднюю часть внутренней стороны 4 боковой части 31 внутреннего надувного корпуса, согласно изобретению можно также сделать воздухопроницаемой всю поверхность внутренней стороны 4 боковой части. Изменяя размер воздухопроницаемого участка, можно регулировать отношение давлений в наружном и внутреннем надувных корпусах.
Размер отверстия в торце рукавного отрезка также не связан определенным значением. Можно также вместо отверстия в плотном материале торца выполнить весь торец рукавного отрезка из пропускающего материала, например из текстиля.
Таким образом, внутренний надувной корпус служит для распределения воздуха в наружном надувном корпусе и является формообразующим элементом для него. Управление формой наружного надувного корпуса возможно потому, что между наружным и внутренним надувным корпусом существует перепад давлений с превышающим давлением во внутреннем надувном корпусе. Это значит, что давление во внутреннем надувном корпусе больше, чем в наружном. Этот перепад давления возникает вследствие того, что воздух поступает в наружный надувной корпус не прямо, а только косвенно, через внутренний надувной корпус. Согласно изобретению эта подача воздуха производится раздельно для участка торса и для участков рукавов. Для этого на рукавных отрезках и на участке торса предусмотрены воздуховоды в виде воздухопроницаемого материала или плотного материала с отверстиями.
Формула изобретения
1. Устройство для глаженья предметов одежды, в особенности рубашек, причем устройство (1) имеет наружный надувной корпус (2) с участком (21) для торса и двумя участками (22) для рукавов, соединенными по бокам с участком для торса, и внутренний надувной корпус (3, 31, 32), состоящий в основном из воздухонепроницаемого материала, причем подача воздуха в участки для рукавов (22) наружного надувного корпуса (2) и в участок для торса (21) наружного надувного корпуса (2) производится раздельно через внутренний надувной корпус (3, 31, 32).
2. Устройство по п.1, отличающееся тем, что оболочка внутреннего надувного корпуса (3) частично образует разделение между участком (21) для торса и участками (22) для рукавов в наружном надувном корпусе (2).
3. Устройство по п.1 или 2, отличающееся тем, что внутренний надувной корпус (3) имеет торсовую часть (311) и два соединенных с ним по бокам рукавных отрезка (312), и разделение между участком (21) для торса и участками (22) для рукавов в наружном надувном корпусе (2) образовано рукавными отрезками (312), причем обхват рукавного отрезка (312) больше обхвата участка (22) для рукавов в наружном надувном корпусе.
4. Устройство по п.3, отличающееся тем, что на внутреннем надувном корпусе (3) у отверстия рукавного отрезка предусмотрен клин (315), благодаря которому обхват рукавного отрезка (312) вблизи отверстия рукавного отрезка больше, чем у самого отверстия рукавного отрезка.
5. Устройство по одному из пп.1, 2, 4, отличающееся тем, что на наружном надувном корпусе (2) у рукавного отверстия (23) предусмотрен клин, благодаря которому обхват участка (22) для рукава вблизи рукавного отверстия (23) больше, чем у самого рукавного отверстия (23).
6. Устройство по п.3, отличающееся тем, что торцевые поверхности (313) рукавных отрезков (312) воздухопроницаемы для прохода воздуха в участок (22) для рукава в наружном надувном корпусе (2) и состоят либо из неплотного материала, либо из плотного материала, в котором проделаны отверстия.
7. Устройство по п.6, отличающееся тем, что торсовая часть (311) внутреннего надувного корпуса (3) имеет воздухопроницаемые участки (41) для пропуска воздуха в участок (21) для торса в наружном надувном корпусе (2).
8. Устройство по п.1, отличающееся тем, что внутренний надувной корпус (3) образован из двух раздельных боковых частей, каждая из которых является частью торса внутреннего надувного корпуса (3), причем раздельные боковые части (31, 32) могут соединяться между собой соединительными элементами, предпочтительно лентами.
9. Устройство по п.8, отличающееся тем, что боковая часть (31, 32) внутреннего надувного корпуса (3) на стороне, обращенной к другой боковой части (32, 31), по меньшей мере, частично воздухопроницаема, в частности состоит либо из неплотного материала, либо из плотного материала, в котором проделаны отверстия.
10. Устройство по одному из пп.1, 2, 4, 6-9, отличающееся тем, что между наружным и внутренним надувными корпусами устанавливается соотношение давлений в пределах от 1:2,5 до 1:4,5, а предпочтительно в пределах от 1:3 до 1:3,5.
11. Устройство по одному из пп.1, 2, 4, 6-9, отличающееся тем, что воздухонепроницаемые участки надувных корпусов имеют воздухопроницаемость в пределах от 0 до 3 л/м2с, а предпочтительно в пределах от 0 до 1 л/м2с, участки со средней воздухопроницаемостью – в пределах от 3 до 20 л/м2с, а предпочтительно в пределах от 5 до 10 л/м2с, а воздухопроницаемые участки – в пределах от 100 до 250 л/м2с, а предпочтительно в пределах от 150 до 210 л/м2с.
РИСУНКИ
|
|