|
|
(21), (22) Заявка: 2006115425/04, 04.05.2006
(24) Дата начала отсчета срока действия патента:
04.05.2006
(46) Опубликовано: 20.01.2008
(56) Список документов, цитированных в отчете о поиске:
US 4673486 А, 16.06.1987. RU 2268287 C1, 20.01.2006. RU 2169170 С1, 20.06.2001. SU 1696461 A1, 07.01.1991. SU 1588747 A1, 30.08.1990. US 3549519 A, 22.12.1970. US 6004453 A, 21.12.1999. RU 2041916 C1, 20.08.1995.
Адрес для переписки:
450065, Республика Башкортастан, г.Уфа, ул. Инициативная, 12, ГУП “ИНХП РБ”, зав. ОИС С.А. Зайцевой
|
(72) Автор(ы):
Таушев Виктор Васильевич (RU), Хайрудинов Ильдар Рашидович (RU), Таушева Елена Викторовна (RU)
(73) Патентообладатель(и):
Государственное унитарное предприятие “Институт нефтехимпереработки Республики Башкортостан” (ГУП “ИНХП РБ”) (RU)
|
(54) СПОСОБ ГИДРОКРЕКИНГА ТЯЖЕЛОГО УГЛЕВОДОРОДНОГО СЫРЬЯ И РЕАКТОР ГИДРОКРЕКИНГА
(57) Реферат:
Изобретения относятся к нефтепереработке, в частности к некаталитическому гидрокрекингу нефтяного сернистого сырья. Изобретение относится к способу гидрокрекинга тяжелого углеводородного сырья, осуществляемого подачей предварительно нагретых исходного сырья и водорода или водородсодержащего газа в реактор, последующим нагревом в реакторе и выводом продуктов крекинга на разделение, реактор включает две камеры конвекции с размещенными в ней конвективными змеевиками и радиации с размещенными в ней радиантными змеевиками, и процесс гидрокрекинга проводят на участке радиантного змеевика реактора с трубами переменного сечения с возможностью обеспечения скорости потока 50-310 м/сек при температуре 440-500°С. Также изобретение касается реактора гидрокрекинга. Предлагаемые изобретения обеспечивают получение товарных (светлых) продуктов и позволяют повысить производительность и кпд процесса. 2 н. и 4 з.п. ф-лы, 2 табл.,3 ил.
Изобретения относятся к нефтепереработке, в частности к крекингу углеводородного сырья в присутствии водорода (некаталитическому крекингу), и предназначены для получения светлых (товарных) нефтепродуктов из сернистых нефтяных остатков.
Известен каталитический способ гидрокрекинга, по которому смесь сернистого нефтяного сырья с водородом или водородсодержащим газом (ВСГ) нагревают, затем пропускают через реактор первой стадии для очистки от серы, после чего газосырьевая смесь вместе с рециркулирующим остатком и добавочным количеством водорода поступает во второй реактор для контакта с катализатором гидрокрекинга. Продукты второго реактора направляют в сепаратор высокого давления, откуда жидкие продукты поступают в ректификационную колонну на разделение (Справочник нефтепереработчика. Под ред. Г.А.Ластовкина, Л.: Химия, Ленинградское отделение, 1886 г., стр.152-154). Реактор для проведения каталитического процесса гидрокрекинга представляет собой колонну, заполненную катализатором.
Недостатком известного способа и устройства являются высокие капитальные и эксплуатационные затраты из-за использования дорогостоящих катализаторов.
Известен некаталитический способ переработки тяжелого углеводородного сырья термическим гидрокрекингом (Пат. РФ №2169170, on. 20.06.2001, МПК 7 С10G 47/22), согласно которому гидрокрекинг ведут путем подачи в реакционную камеру водорода или ВСГ в количестве 20-30% масс. к количеству реагентов и доводят давление газа до 10-30 МПа, температуру – до 1300-1500°К. Затем в камеру с нагретым водородом подают перерабатываемое сырье в количестве 70-80% масс. к количеству реагентов и перемешивают его с водородом, смесь крекируют при общем времени контакта сырья с водородом 2-12 мс, далее продукты реакции подвергают закалке при одновременном снижении температуры и давления в течение 5-10 мс и направляют на выделение целевых продуктов. Процесс ведут в реакторе, представляющем собой цилиндр с поршнем, связанным с приводом от электродвигателя для сообщения поршню возвратно-поступательного движения. Реактор не имеет катализаторной начинки. Недостатком известного способа и устройства является его низкая производительность, обусловленная периодичностью процесса и малым объемом реакционной камеры (45 л), что соответствует производительности около 10 тыс. т в год, и низкий кпд, составляющий менее 40% из-за наличия привода от электродвигателя.
Наиболее близким по существенным признакам к предлагаемому устройству является трубчатая печь типа ГС, представляющая коробчатую конструкцию с верхним отводом дымовых газов и горизонтальными трубами (Каталог «Трубчатые печи», изд. ЦИНТИХИМНЕФТЕМАШ, Москва, 1998 г., стр.8). Печь включает камеру конвекции с конвективными змеевиками, камеру радиации с радиантным змеевиком и горелки, размещенные в поду печи. Однако известная печь предназначена для нагрева нефтяного сырья и не приспособлена для работы в режиме гидрокрекинга из-за выноса катализатора из печи скоростным потоком ВСГ и продуктов крекинга и опасности прогара труб.
При создании изобретения ставилась задача увеличения производительности и кпд некаталитического способа гидрокрекинга тяжелого углеводородного сырья с высоким содержанием серы.
Указанная задача решается способом гидрокрекинга тяжелого углеводородного сырья, включающим подачу предварительно нагретых исходного сырья и водорода или водородсодержащего газа в реактор, последующий нагрев в реакторе и вывод продуктов крекинга на разделение, в котором, согласно изобретению, реактор включает две камеры – конвекции с размещенными в ней конвективными змеевиками и радиации с размещенными в ней радиантными змеевиками, и процесс гидрокрекинга проводят на участке радиантного змеевика с трубами переменного сечения с возможностью обеспечения скорости потока 50-310 м/сек при температуре 440-500°С.
Целесообразно водород или водородсодержащий газ подавать в количестве 750 нм3/м3 сырья.
Указанная задача решается также предлагаемым реактором для гидрокрекинга, представляющим собой трубчатую печь, включающую коробчатый корпус с камерами конвекции и радиации, в одной из которых размещен конвективный змеевик, а в другой радиантный змеевик, причем конвективный змеевик выполнен из труб постоянного сечения, и горелки, установленные в поду печи, в которой, согласно изобретению, радиантный змеевик выполнен из труб постоянного и переменного сечения, причем объем труб переменного сечения составляет 30-50% от общего объема труб радиантного змеевика, при этом радиантный змеевик, выполненный из труб переменного сечения, установлен в камере на раме с возможностью вертикального перемещения.
Целесообразно трубы переменного сечения радиантного змеевика установить на раме посредством кронштейнов.
Рама может быть связана тягами с пружинными амортизаторами, установленными на корпусе печи.
Трубы переменного сечения могут быть выполнены, например, по а.с. №1588747, согласно которому трубы изготовлены из конических переходников, соединенных между собой большими основаниями при следующем соотношении размеров
и
1,2d D 3,0d,
где D – диаметр большего основания конуса, мм;
d – диаметр меньшего основания конуса, мм;
h – длина участка переменного сечения, мм.
Процесс некаталитического гидрокрекинга (т.е. без внесения катализатора со стороны) нефтяного сернистого сырья в трубах змеевика переменного сечения при скорости потока 50-310 м/сек осуществляется за счет разницы скоростей и давлений по длине и поперечному сечению змеевика, которая интенсифицирует процессы тепло- и массообмена между газопаровой и жидкой фазами. При этом по мере продвижения потока по змеевику печи вследствие повышения его температуры, крекинга и испарения, сопровождаемых экспоненциальным увеличением объема, скорость потока увеличивается и приближается к скорости звука, при этом начинают проявляться кавитационные процессы с локальным, динамическим повышением давления, превышающим статическое давление на входе в змеевик печи. Формирование своеобразных реакционных камер вдоль оси трубы с переменным сечением позволяет усилить реакции гидрогенолиза сернистых и непредельных соединений, образовавшихся в процессе крекинга нефтяного остатка в среде водорода. Высокая степень дисперсности сырья открывает возможность для доступа водорода к серо- и металлоорганическим соединениям остатка, которые являются в условиях предлагаемого способа катализаторами процесса обессеривания. Высокое динамическое давление на участке змеевика с переменным сечением ускоряет диффузию водорода к этим соединениям и, как известно, полное их гидрирование термодинамически возможно при давлениях выше 20 МПа и температуре 427°С. Такие параметры достигаются в предлагаемом способе, чем обусловлено снижение содержания серы в сернистом нефтяном сырье, а также уменьшение его вязкости и выхода в случае переработки тяжелого сырья (нефтяных остатков).
Решение поставленной задачи – увеличение производительности и кпд некаталитического способа гидрокрекинга достигается за счет применения прямоточного реактора, представляющего собой реакционно-нагревательную печь со змеевиком из труб постоянного и переменного сечения и замены косвенного электромеханического способа нагрева от сжатия водорода на прямую (контактную) теплопередачу от стенки трубы, нагреваемой продуктами горения топлива и факелом горелки печи.
Способ осуществляют следующим образом. Сернистое нефтяное сырье подогревают в теплообменниках до температуры 280-300°С и направляют в сырьевую емкость для регулирования качества загрузки печи путем смешения с рециркулятом – газойлем или другим разбавителем (со стороны), например тяжелым газойлем каталитического крекинга. Сырьевая емкость необходима также для обеспечения устойчивой работы печного насоса. Полученную сырьевую композицию направляют в змеевик печи на термообработку при температуре 440-500°С в среде водорода. Для этого в змеевик печи подают также подогретый водород или водородсодержащий газ (ВСГ) в соотношении 750 нм3/м3 сырья. Загрузка по мере прохождения змеевика печи подогревается, достигает температуры разложения (420-430°С) и входит в участок с переменным сеченм, где крекируется в среде водорода при температуре 440-500°С. Продукты крекинга из печи направляют в ректификационную колонну на разделение на газ, бензин, газойль-рециркулят и остаток. Продукты крекинга выводят через сырьевые теплообменники с установки в балансовом соотношении. Газойль частично возвращают в сырьевую емкость в качестве разбавителя-рециркулята, а остальное количество (при необходимости) направляют в кубовый остаток колонны. Газ после очистки от сероводорода и концентрирования с помощью мембранных сит возвращается в процесс.
Предложенный способ иллюстрируется примерами, которые приведены в таблице. Данные таблицы были получены экспериментально-расчетным путем. Эксперименты были проведены на пилотной установке гидровисбрекинга при температуре 450-500°С, подаче водорода 750 нм3/м3 сырья. Полученные показатели качества продуктов крекинга, материальный баланс были использованы для расчета трубчатого змеевика печи с участком переменного сечения.
Пример 1. Сырье-гудрон со следующими показателями качества: плотность – 990 кг/м3, содержание серы – 2,3%, вязкость условная при 80°С – 250, содержание ванадия – 0,013%, никеля – 0,004%. Данные по гидрокрекингу на этом сырье приведены в таблице 1.
Как видно из таблицы 1, во всех примерах по предлагаемому способу наблюдается снижение содержания серы в остатке +180°С в 1,04-2,37 раза, вязкости – в 1,1-32 раза.
Пример 2. Сырье-смесь гудрона с тяжелым газойлем в соотношении 1:1 со следующими показателями качества: плотность 926 кг/м3, содержание серы – 1,7%, условная вязкость при 80°С – 2,1, содержание металлов – 0,0085%. Данные по гидрокрекингу на этом сырье приведены в таблице 2.
Как видно из таблицы 2, выход и содержание серы в остатке +180°С понизились в связи с облегчением сырья, при этом коэффициент снижения содержания серы в остатке +180°С при тех же параметрах также уменьшился на 5-25% относит., что объясняется двукратным снижением содержания металлов в исходном сырье. При этом, однако, сохраняется положительный эффект обессеривания исходного сырья. Вязкость исходной сырьевой смеси гудрона и газойля меньше требуемых показателей на товарное котельное топливо М40 и M100, поэтому этот показатель исключен из рассмотрения.
Пример 3. Сырье – тяжелый газойль со следующими показателями качества: плотность 0,9306 кг/м3, содержание серы – 1,28%, металлоорганических соединений не содержит. В этом примере коэффициент снижения содержания серы равен единице при всех параметрах вышеприведенных примеров, то есть процесс обессеривания здесь не происходит, что свидетельствует о том, что металлоорганические соединения в предлагаемом способе играют роль катализатора.
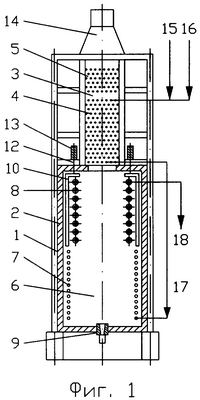
На фиг.1 представлен предлагаемый реактор гидрокрекинга, вид сбоку в разрезе; на фиг.2 – вид спереди; на фиг.3 – сечение А-А фиг.2.
Реактор гидрокрекинга для осуществления предлагаемого способа представляет собой трубчатую печь, включающую коробчатый корпус 1 с теплоизоляцией 2, камеру конвекции 3 с конвективными змеевиками 4, 5 из труб постоянного сечения и камеру радиации 6 с радиантным змеевиком, составленным из труб 7 постоянного сечения и труб 8 переменного сечения. В поду печи установлены горелки 9. Радиантные трубы переменного сечения 8 змеевика установлены на раме 10 с помощью кронштейнов 11. Рама 10 в свою очередь связана тягами 12 с пружинными амортизаторами 13, установленными на корпусе 1. Кроме того, печь снабжена дымовой трубой 14, линией 15 для ввода сырья в змеевик печи, линией 16 ввода водородсодержащего газа, линией 17 ввода сырья из камеры конвекции в камеру радиации и линией 18 вывода продуктов крекинга в среде водорода из печи в колонну (не показана на рисунке).
Печь работает следующим образом. После пуска установки и разогрева печи на пусковом газойле в змеевик печи вместо пускового продукта подают сырьевую композицию (например, смесь гудрона и рециркулята) – поток 15 и водородсодержащий газ 16 с температурой 280-300°С. Двухфазный поток проходит по трубам 4 камеры конвекции 3, где нагревается за счет тепла отходящих газов горения топлива до температуры 370-390°С и поступает по перетоку 17 в трубы 7 камеры радиации 6, где нагревается от излучения факела горящей топливной смеси (топливо-воздух-водяной пар), выходящей из горелки 9 в топочное пространство печи. По мере прохождения труб постоянного сечения камеры радиации (примерно 50% по их длине) температура потока повышается до величины разложения сырья (420-430°С) и поток входит в реакционную зону, выполненную из труб переменного сечения 8. При крекинге сырья по экспоненциальной зависимости увеличивается объем потока, соответственно, повышается скорость потока и усиливаются кавитационные процессы. Движения потока, процессы тепло- и массообмена приобретают лавинообразный характер. В этих условиях при термическом разрушении высокомолекулярных серо- и металлоорганических комплексов, играющих роль катализаторов процесса обессеривания, усиливаются процессы гидрогенолиза сераорганических и непредельных соединений.
Продукты крекинга сырья в среде водорода выводят по линии 18 из печи и направляют в колонну на разделение (на чертеже не показана).
Продукты горения топлива перед выбросом в атмосферу через дымовую трубу 14 дополнительно охлаждают до температуры 220°С за счет съема тепла на подогрев воды, проходящей через конвекционный змеевик 5, расположенный в верхней части камеры конвекции 3 печи.
Предлагаемое изобретение позволяет провести гидрокрекинг сернистого нефтяного сырья в среде водорода без внесения катализатора со стороны. При этом гидрокрекинг тяжелых видов сырья дает возможность, кроме обессеривания, снизить условную вязкость при 80°С до 12-16, что соответствует товарному котельному топливу марки M100, снизить выход остатка до 72,5-80% (на сырье) и повысить выход бензина (НК-180°С) до 11,3-16,5%. Производительность предлагаемого реактора составит 500 тыс. тонн/год, что на порядок выше, чем у прототипа, а кпд составит не менее 90%, что в 2 раза выше, чем у прототипа.
| Таблица 1. |
| Показатели работы реактора гидрокрекинга. |
| № |
Параметры змеевика печи |
Технологический режим ) |
Выход, % масс. на сырье |
Качество остатка, +180°С |
Коэффициент снижения величины показателя качества ПК сырья/ПК остатка +180°С |
| |
 |
 |
Температура, °С |
Скорость потока, м/с |
бензина |
остатка, +180°С **) |
содержание серы, % |
вязкость, ВУ 80°С |
серы |
вязкости |
| 1 |
0,6 |
3 |
440 |
50 |
8,3 |
86,2 |
2,15 |
200 |
1,07 |
1,3 |
| 2 |
0,6 |
3 |
480 |
50 |
15 |
74,8 |
1,55 |
60 |
1,48 |
4 |
| 3 |
0,6 |
3 |
500 |
50 |
15,5 |
74,2 |
1,2 |
27 |
1,9 |
9 |
| 4 |
0,6 |
3 |
440 |
180 |
8 |
86,7 |
1,98 |
138 |
1,16 |
1,8 |
| 5 |
0,6 |
3 |
480 |
180 |
14,5 |
75,8 |
1,29 |
36 |
1,78 |
7 |
| 6 |
0,6 |
3 |
500 |
180 |
16 |
73,2 |
1,08 |
17 |
2,13 |
15 |
| 7 |
0,6 |
3 |
440 |
310 |
11,3 |
81,2 |
1,84 |
86 |
1,25 |
3 |
| 8 |
0,6 |
3 |
480 |
310 |
15,6 |
74 |
1,10 |
20 |
2,09 |
13 |
| 9 |
0,6 |
3 |
500 |
310 |
16,5 |
72,5 |
0,97 |
8 |
2,37 |
32 |
| 10 |
0,6 |
1,2 |
440 |
50 |
3,6 |
94 |
1,97 |
205 |
1,16 |
1,2 |
| 11 |
0,6 |
1,2 |
480 |
50 |
12,6 |
79 |
1,6 |
65 |
1,4 |
3,9 |
| 12 |
0,6 |
1,2 |
500 |
50 |
14,5 |
75,8 |
1,29 |
36 |
1,78 |
7,1 |
| 13 |
0,6 |
1,2 |
440 |
180 |
6,6 |
89 |
2,05 |
163 |
1,12 |
1,5 |
| 14 |
0,6 |
1,2 |
480 |
180 |
14 |
76,7 |
1,37 |
43 |
1,68 |
5,9 |
| 15 |
0,6 |
1,2 |
500 |
180 |
15,6 |
74 |
1,13 |
22 |
2 |
11,6 |
| 16 |
0,6 |
1,2 |
440 |
310 |
9,5 |
84,2 |
1,92 |
115 |
1,2 |
2,2 |
| 17 |
0,6 |
1,2 |
480 |
310 |
14,6 |
75,6 |
1,2 |
39 |
1,9 |
6,5 |
| 18 |
0,6 |
1,2 |
500 |
310 |
16 |
73 |
1,02 |
12 |
2,2 |
21 |
| 19 |
0,035 |
3 |
440 |
50 |
3 |
95 |
2,19 |
215 |
1,05 |
1,2 |
| 20 |
0,035 |
3 |
480 |
50 |
12 |
80,1 |
1,74 |
76 |
1,3 |
3,3 |
| 21 |
0,035 |
3 |
500 |
50 |
13,8 |
77 |
1,52 |
56 |
1,5 |
4,5 |
| 22 |
0,035 |
3 |
440 |
180 |
3,7 |
93,8 |
2,18 |
212 |
1,05 |
1,2 |
| 23 |
0,035 |
3 |
480 |
180 |
12,2 |
79,7 |
1,68 |
72 |
1,37 |
3,5 |
| 24 |
0,035 |
3 |
500 |
180 |
14 |
76,5 |
1,45 |
51 |
1,58 |
5 |
| 25 |
0,035 |
3 |
440 |
310 |
3 |
94,8 |
2,18 |
210 |
1,05 |
1,2 |
| 26 |
0,035 |
3 |
480 |
310 |
13 |
78 |
1,64 |
68 |
1,4 |
3,7 |
| 27 |
0,035 |
3 |
500 |
310 |
14 |
76,7 |
1,38 |
45 |
1,6 |
5,6 |
| 28 |
0,035 |
1,2 |
440 |
50 |
2,4 |
96 |
2,21 |
225 |
2,21 |
1,1 |
| 29 |
0,035 |
1,2 |
480 |
50 |
11,4 |
81 |
1,84 |
85 |
1,84 |
3 |
| 30 |
0,035 |
1,2 |
500 |
50 |
12,3 |
79,5 |
1,67 |
70 |
1,67 |
3,6 |
| 31 |
0,035 |
1,2 |
440 |
180 |
2,7 |
95,5 |
2,2 |
219 |
1,04 |
1,1 |
| 32 |
0,035 |
1,2 |
480 |
180 |
11,3 |
81,2 |
1,81 |
83 |
1,27 |
3 |
| 33 |
0,035 |
1,2 |
500 |
180 |
13,3 |
77,8 |
1,63 |
67 |
1,4 |
3,8 |
| 34 |
0,035 |
1,2 |
440 |
310 |
3,2 |
94,7 |
2,18 |
213 |
1,05 |
1,2 |
| 35 |
0,035 |
1,2 |
480 |
310 |
11,6 |
80,6 |
1,78 |
80 |
1,29 |
3,2 |
| 36 |
0,035 |
1,2 |
500 |
310 |
13,5 |
77,5 |
1,57 |
62 |
1,46 |
4,1 |
| *) Удельный расход водорода 750 нм3/м3 |
| **) остальное: газ + потери |
| Таблица 2. |
| Показатели работы реактора гидрокрекинга. |
| № |
Параметры змеевика печи |
Технологический режим*) |
Выход, % масс. на сырье |
Содержание серы в остатке +180°С, % |
Коэффициент снижения содержания серы в остатке +180°С, Sсырья/Sостатка +180°С |
| |
 |
 |
Температура, °С |
Скорость потока, м/с |
бензина |
остатка +180°С, %**) |
| 1 |
0,6 |
3 |
440 |
50 |
14,3 |
80,2 |
1,67 |
1,02 |
| 2 |
0,6 |
3 |
480 |
50 |
19,7 |
70,1 |
1,31 |
1,3 |
| 3 |
0,6 |
3 |
500 |
50 |
20,4 |
69,3 |
0,94 |
1,8 |
| 4 |
0,6 |
3 |
440 |
180 |
13,5 |
81,2 |
1,60 |
1,06 |
| 5 |
0,6 |
3 |
480 |
180 |
19,3 |
71,0 |
1,06 |
1,6 |
| 6 |
0,6 |
3 |
500 |
180 |
20,8 |
68,4 |
0,89 |
1,9 |
| 7 |
0,6 |
3 |
440 |
310 |
16,5 |
76,0 |
1,55 |
1,1 |
| 8 |
0,6 |
3 |
480 |
310 |
20,4 |
69,2 |
1,0 |
1,7 |
| 9 |
0,6 |
3 |
500 |
310 |
21,5 |
67,5 |
0,81 |
2,1 |
| 10 |
0,6 |
1,2 |
440 |
50 |
9,7 |
87,9 |
1,62 |
1,05 |
| 11 |
0,6 |
1,2 |
480 |
50 |
17,8 |
73,8 |
1,41 |
1,2 |
| 12 |
0,6 |
1,2 |
500 |
50 |
19,3 |
71,0 |
1,06 |
1,6 |
| 13 |
0,6 |
1,2 |
440 |
180 |
13,1 |
82,5 |
1,59 |
1,07 |
| 14 |
0,6 |
1,2 |
480 |
180 |
19,8 |
70,9 |
1,13 |
1,5 |
| 15 |
0,6 |
1,2 |
500 |
180 |
21,1 |
68,5 |
0,94 |
1,8 |
| 16 |
0,6 |
1,2 |
440 |
310 |
15,9 |
77,8 |
1,54 |
1,1 |
| 17 |
0,6 |
1,2 |
480 |
310 |
19,6 |
70,6 |
1,06 |
1,6 |
| 18 |
0,6 |
1,2 |
500 |
310 |
21,7 |
67,3 |
0,89 |
1,9 |
| 19 |
0,035 |
3 |
440 |
50 |
9,5 |
88,5 |
1,7 |
1,0 |
| 20 |
0,035 |
3 |
480 |
50 |
17,4 |
74,7 |
1,55 |
1,1 |
| 21 |
0,035 |
3 |
500 |
50 |
19,3 |
71,5 |
1,30 |
1,3 |
| 22 |
0,035 |
3 |
440 |
180 |
10,6 |
86,9 |
1,70 |
1,0 |
| 23 |
0,035 |
3 |
480 |
180 |
17,9 |
74,0 |
1,4 |
1,2 |
| 24 |
0,035 |
3 |
500 |
180 |
19,3 |
71,2 |
1,3 |
1,3 |
| 25 |
0,035 |
3 |
440 |
310 |
10,3 |
87,5 |
1,7 |
1,0 |
| 26 |
0,035 |
3 |
480 |
310 |
18,3 |
72,7 |
1,3 |
1,3 |
| 27 |
0,035 |
3 |
500 |
310 |
19,8 |
70,9 |
1,2 |
1,4 |
| 28 |
0,035 |
1,2 |
440 |
50 |
8,9 |
89,5 |
0,81 |
2,1 |
| 29 |
0,035 |
1,2 |
480 |
50 |
17,8 |
74,6 |
1,06 |
1,6 |
| 30 |
0,035 |
1,2 |
500 |
50 |
18,0 |
73,8 |
1,13 |
1,5 |
| 31 |
0,035 |
1,2 |
440 |
180 |
10,3 |
87,9 |
1,7 |
1,0 |
| 32 |
0,035 |
1,2 |
480 |
180 |
16,9 |
75,6 |
1,55 |
1,1 |
| 33 |
0,035 |
1,2 |
500 |
180 |
19,8 |
71,3 |
1,41 |
1,2 |
| 34 |
0,035 |
1,2 |
440 |
310 |
10,3 |
87,6 |
1,7 |
1,0 |
| 35 |
0,035 |
1,2 |
480 |
310 |
17,7 |
74,5 |
1,48 |
1,15 |
| 36 |
0,035 |
1,2 |
500 |
310 |
18,4 |
72,6 |
1,31 |
1,3 |
| *) Удельный расход водорода 750 нм3/м3 |
| **) остальное: газ + потери |
Формула изобретения
1. Способ гидрокрекинга тяжелого углеводородного сырья, включающий подачу предварительно нагретых исходного сырья и водорода или водородсодержащего газа в реактор, последующий нагрев в реакторе и вывод продуктов крекинга на разделение, отличающийся тем, что реактор включает две камеры-конвекции, с размещенными в ней конвективными змеевиками, и радиации, с размещенными в ней радиантными змеевиками, и процесс гидрокрекинга проводят на участке радиантного змеевика реактора с трубами переменного сечения с возможностью обеспечения скорости потока 50-310 м/с при температуре 440-500°С.
2. Способ по п.1, отличающийся тем, что водород или водородсодержащий газ подают в количестве 750 нм3/м3 сырья.
3. Реактор гидрокрекинга, представляющий собой трубчатую печь, включающую коробчатый корпус с камерами конвекции и радиации, в одной из которых размещен конвективный змеевик, а в другой – радиантный змеевик, причем конвективный змеевик выполнен из труб постоянного диаметра, и горелки, установленные в поду печи, отличающийся тем, что радиантный змеевик выполнен из труб постоянного и переменного сечения, причем объем труб переменного сечения составляет 30-50% от общего объема труб радиантного змеевика, при этом радиантный змеевик, выполненный из труб переменного сечения, установлен в камере на раме с возможностью вертикального перемещения.
4. Реактор по п.3, отличающийся тем, что трубы переменного сечения установлены на раме посредством кронштейнов.
5. Реактор по пп.3 и 4, отличающийся тем, что рама связана тягами с пружинными амортизаторами, установленными на корпусе печи.
6. Реактор по пп.3 и 4, отличающийся тем, что трубы переменного сечения выполнены из конических переходников, соединенных между собой большими основаниями при следующем соотношении размеров
и 1,2d D 3,0d,
где D – диаметр большего основания конуса, мм;
d – диаметр меньшего основания конуса, мм;
h – длина участка переменного сечения, мм.
РИСУНКИ
|
|