|
|
(21), (22) Заявка: 2003131174/04, 22.10.2003
(24) Дата начала отсчета срока действия патента:
22.10.2003
(30) Конвенционный приоритет:
23.10.2002 (пп.1-18) US 10/278,019
(43) Дата публикации заявки: 10.04.2005
(46) Опубликовано: 20.01.2008
(56) Список документов, цитированных в отчете о поиске:
US 4417974 A, 29.11.1983. US 4578183 A, 25.03.1986. EP 0849347 A1, 24.06.1998. RU 2079541 C1, 20.05.1997.
Адрес для переписки:
129010, Москва, ул. Б.Спасская, 25, стр.3, ООО “Юридическая фирма Городисский и Партнеры”, пат.пов. Г.Б. Егоровой, рег.№ 513
|
(72) Автор(ы):
ГОТЬЕ Тьерри (FR), КОФФРИЕ Эрве (FR), РОСС Жозеф (US)
(73) Патентообладатель(и):
ЭНСТИТЮ ФРАНСЭ ДЮ ПЕТРОЛЬ (FR)
|
(54) СПОСОБ КАТАЛИТИЧЕСКОГО КРЕКИНГА В ПСЕВДООЖИЖЕННОМ СЛОЕ
(57) Реферат:
Использование: в области нефтехимии. Сущность: часть регенерированного катализатора циркулирует с помощью текучего носителя, вводимого в нижний конец трубчатой зоны, остальная часть катализатора и шихта циркулируют в кольцеобразной зоне, находящейся между трубчатой зоной и стенкой стояка. Температура и/или отношение масс катализатора и шихты во внутренней трубе более жесткие, чем условия в кольцеобразной зоне. После впрыскивания шихты смешивают первый поток, выходящий из трубчатой зоны, и второй поток, выходящий из кольцеобразной зоны. Полученную смесь, содержащую катализатор, охлаждают путем впрыскивания инертной текучей и выпариваемой среды на уровне или выше впрыскивания шихты. Технический результат – повышение степени конверсии. 17 з.п. ф-лы, 2 ил., 1 табл.
Изобретение относится к установкам каталитического крекинга, предназначенным для обработки все более разнообразного сырья в целях получения более широкого ассортимента продуктов, к которым относятся «традиционные» продукты, такие как бензин и газойль, и продукты, в которых возникает потребность, – олефины, в частности пропилен. Развитие FCC (аббревиатура Fluid Catalytic Cracking далее в тексте обозначает установки каталитического крекинга в псевдоожиженном слое) в направлении создания установок нефтехимического крекинга насчитывает по меньшей мере 10 лет и выражается в усилении жесткости условий осуществления крекинга: повышении температуры, сокращении времени обработки, повышении отношения С/О, что в химическом отношении соответствует вторичному крекингу полученного бензина. Техническое решение, предлагаемое настоящим изобретением, заключается в том, что установка для каталитического крекинга может работать в своем обычном рабочем режиме, и дополнительно к этому часть установки может работать в более жестких условиях крекинга, что позволит производить некоторое дополнительное количество олефинов, в частности пропилена. Преимущество изобретения заключается в том, что позволяет сохранить традиционную конструкцию установки FCC и с помощью относительно простых технических модификаций производить ассортимент продукции, более соответствующий потребностям рынка. Потребность в пропилене действительно значительно растет в течение последних нескольких лет, причем ежегодный рост превышает практически на один пункт потребность в этилене. В обычном рабочем режиме FCC при обработке традиционной шихты типа дистиллят в вакууме получают от 3 до 4% пропилена. Тем не менее, можно значительно увеличить производство олефинов, в частности пропилена, путем усиления жесткости условий работы и использования специальных добавок к катализатору крекинга. Такие добавки, из которых можно упомянуть цеолит типа ZSM 5, имеют свойство избирательности по форме, позволяющее направить избирательность крекинга промежуточных молекул на пропилен, не повышая при этом образование кокса и нефтяных газов.
Такие жесткие как термические, так и каталитические условия осуществления крекинга обеспечивают крекинг соединений, находящихся в интервале дистилляции бензина, и получение большего количества пропилена.
Такая известная ориентация каталитического крекинга в направлении получения пропилена меняет структуру выхода и приводит к сокращению выхода бензина, например, с 50% до 25% за счет фракций С3/С4 и более легких газов, количество которых может соответственно увеличиться с 15 до практически 40%. Выигрыш в выходе пропилена, действительно, получают в ущерб выходу жидкого топлива. Однако такое понижение выхода бензина нежелательно, поскольку потребность рынка в бензине не уменьшается. Таким образом, существует реальная потребность в эволюции FCC, которая позволила бы сохранить его роль в производстве бензина (и газойля), повышая при этом его возможности в производстве олефинов, в частности пропилена.
Изобретение является простым техническим решением указанной задачи и не требует специальной конструкции установки. Изобретение применяют путем переустройства существующих установок. Оно заключается в ступенчатой подаче регенерированного катализатора в стояк, причем сохраняют традиционную схему циркуляции, такую же, как и в традиционной установке FCC. Первая зона подачи катализатора, расположенная у основания стояка, как и в схеме традиционной установки FCC, обеспечивает основное получение бензина и газойля, а также других фракций, получаемых в традиционной установке FCC, а вторая зона подачи регенерированного катализатора, расположенная выше первой и контактирующая со специальной шихтой, обеспечивает в определенных условиях работы дополнительную активность, которая в зависимости от указанной специальной дополнительной шихты выражена в получении искомого дополнительного количества олефинов. Кроме того, если в установке используют добавки к традиционному катализатору, такому как ZSM5, количество полученных олефинов, в частности пропилена, увеличится по сравнению с количеством, полученным на традиционной установке FCC с использованием такой же добавки.
Во многих патентах упоминается впрыскивание углеводородных фракций, полученных в установке FCC, например повторно используемого лигроина, выше места впрыскивания шихты для осуществления преобразования с получением пропилена в жестких условиях в отношении С/О и температуры. Это относится, например, к патентам ЕР 0849347 А2 Exxon и патенту FR 8804800 IFP. В этих патентах описан тип конструкции, при котором первая стадия крекинга легкой шихты, осуществляемая до стадии крекинга основной шихты, значительно снижает температурный потенциал регенерированного катализатора и, следовательно, затрудняет выпаривание основной шихты.
В патенте US 3440020 Mobil описана система из двух стояков в виде труб, расположенных по одной оси один внутри другого и выходящих независимо друг от друга в реактор. В один из стояков загружают легкую шихту, а в другой – основную более тяжелую шихту. В указанном патенте оба стояка используют независимо друг от друга и катализатор, применяемый для крекинга легкой шихты, не используют для повышения степени преобразования основной шихты.
В патентах US 4578183 Mobil EP 0180291 Mobil описана центральная труба, расположенная внутри стояка по одной с ним оси в его нижней части. Шихту вводят в осевом направлении в основание центральной трубы и приводят в контакт с частью катализатора внутри указанной трубы. Другая часть катализатора полностью замыкает зону впрыскивания и выпаривания шихты путем циркуляции снаружи трубы и соединяется с потоком катализатора, циркулирующего внутри трубы, через отверстия, расположенные в стенке указанной центральной трубы. В этой конструкции ниже зоны выпаривания температуру не контролируют. Кроме того, в отличие от настоящего изобретения основную шихту вводят в осевом направлении, а не через стенку с помощью совокупности инжекторов, таких, как описаны в патенте FR 8714194 заявителя.
В патенте US 4417974 Chevron предлагается конструкция, отличающаяся наличием трубы, расположенной внутри стояка в основном по его оси, причем в указанную трубу загружают часть регенерированного катализатора и углеводородную шихту в мягких условиях крекинга, т.к. температура внутри центральной трубы составляет от 400 до 500°С. Вероятно, в таких условиях внутри трубы крекинг происходит неполностью. Другая часть катализатора циркулирует снаружи центральной трубы и контактирует с основной шихтой, вводимой через стенку стояка. Потоки катализатора одинаковой плотности, поступающие из центральной трубы и кольцеобразной части стояка, соединяются на относительно высоком уровне в стояке, и никакая система охлаждения указанных потоков не заявлена, т.к. температура потока в центральной трубе является умеренной.
Настоящее изобретение отличается от указанного патента условиями осуществления крекинга внутри центральной трубы, которые являются жесткими условиями осуществления крекинга, а также тем, что ниже центральной трубы предусмотрено впрыскивание легко выпариваемой шихты, предназначенной для контроля температуры на выходе из стояка.
Одна из целей настоящего изобретения заключается в том, чтобы устранить недостатки уровня техники.
Другая цель настоящего изобретения заключается в том, чтобы способствовать избирательности в отношении сжиженного нефтяного газа (СНГ), в частности легких олефинов и конкретно пропилена, и/или повысить степень конверсии.
Еще одна цель изобретения заключается в том, чтобы обеспечить жесткие условия крекинга в зоне стояка, состоящей из трубы, создавая при этом мягкие условия крекинга в верхней части стояка.
Более конкретно изобретение относится к способу каталитического крекинга в псевдоожиженном слое углеводородной шихты в восходящей зоне (1) реакции или стояке, состоящему из стадий ввода (14) регенерированного катализатора в нижнюю часть стояка, впрыскивания шихты, осуществляемого выше ввода катализатора, впрыскивания (5) газа, служащего для псевдоожижения катализатора, в основание стояка, причем в нижней части реакционной зоны находится внутренняя зона, состоящая из трубы, расположенная по оси стояка, в которой часть регенерированного катализатора циркулирует с помощью текучего носителя, вводимого в нижнюю оконечную часть зоны, состоящей из трубы, остальная часть катализатора и шихта циркулируют в кольцеобразной зоне, находящейся между зоной, состоящей из трубы, и стенкой стояка, при этом способ отличается тем, что указанная часть катализатора и текучий носитель циркулируют в трубчатой зоне в условиях, температура и/или отношение масс катализатора и шихты, более жестких, чем условия, температура и/или отношение масс катализатора и текучего носителя, в кольцеобразной зоне (после впрыскивания шихты). Смешивают первый поток, выходящий из трубчатой зоны, и второй поток, выходящий из кольцеобразной зоны, и охлаждают полученную смесь, содержащую катализатор, путем впрыскивания инертной текучей и выпариваемой среды на уровне или выше места впрыскивания шихты; и осуществляют крекинг охлажденной смеси в верхней части зоны реакции.
В соответствии с другим признаком изобретения отношение масс катализатора и шихты может составлять от 2 до 10 в кольцеобразной зоне и от 5 до 20 в трубчатой зоне, причем указанное отношение в трубчатой зоне выше, чем в кольцеобразной зоне.
В соответствии с другим признаком изобретения отношение масс катализатора и шихты в кольцеобразной зоне может составлять от 4 до 7, а в трубчатой зоне от 8 до 15.
В соответствии с другим признаком изобретения указанную смесь можно охлаждать так, чтобы температура в верхней части зоны реакции составляла от 500 до 550°С.
В соответствии с другим признаком изобретения плотность катализатора в части кольцеобразной зоны, расположенной под местом впрыскивания шихты, может составлять от 200 до 600 кг/м3, тогда как плотность в трубчатой зоне, которая меньше, чем плотность в указанной части кольцеобразной зоны, составляет от 30 до 200 кг/м3.
Температуру на выходе из зоны реакции можно контролировать путем контроля расхода регенерированного катализатора и расхода инертной и/или выпариваемой текучей среды.
Можно также контролировать температуру на выходе из трубчатой зоны путем контроля расхода текучего носителя.
Можно также контролировать температуру на выходе из кольцеобразной зоны путем контроля расхода регенерированного катализатора и расхода инертной и/или выпариваемой текучей среды.
Трубчатая зона включает в себя верхнюю оконечность, через которую выходит первый поток, находящийся, обычно, на том же уровне или над уровнем впрыскивания шихты и на том же уровне или под уровнем впрыскивания инертной текучей среды.
Изобретение заключается в том, чтобы с минимальными технологическими модификациями осуществить двойной параллельный крекинг в стояке установки FCC путем размещения внутри указанного стояка внутренней трубы, которая служит вторым стояком, работающим параллельно с первым. Далее в тексте первым крекингом будет называться крекинг традиционной шихты типа дистиллята в вакууме или остатка внутри стояка, которая будет называться основной шихтой, а вторым крекингом будет называться крекинг специальной шихты, осуществляемый во внутренней трубе. Технология, применяемая для осуществления указанного второго крекинга специальной шихты, заключается в том, чтобы создать внутри стояка зону, состоящую из внутренней трубы, расположенной по одной оси со стояком, нижняя оконечность которой находится на любом уровне под уровнем впрыскивания основной шихты, а верхняя оконечность которой выходит преимущественно на уровне, находящемся выше уровня впрыскивания инертной легко выпариваемой шихты, предназначенной для контроля температуры в стояке, таким образом, что катализатор, вводимый в основание указанной внутренней трубы, не соприкасается непосредственно с основной шихтой и, следовательно, не способствует ее выпариванию.
С тем, чтобы избежать неясности, стояком будет по-прежнему называться стояк установки FCC, который в связи с тем, что его длину частично занимает внутренняя труба, представляет собой кольцеобразную часть, за которой в направлении потока текучих сред следует цилиндрическая часть. Весь восстановленный катализатор продолжают подавать в основание стояка в густом псевдоожиженном состоянии, как и в существующих в настоящее время установках FCC. Но предпочтительно меньшую часть указанного катализатора направляют с помощью соответствующего реакционноспособного или нереакционноспособного текучего носителя во внутреннюю трубу. Другая часть катализатора циркулирует вокруг этой внутренней трубы в кольцеобразной зоне стояка и вступает в контакт с основной шихтой, обеспечивая ее выпаривание с последующим крекингом.
Часть катализатора, вводимая во внутреннюю трубу в направлении по течению потока катализатора вокруг трубы с помощью газа-носителя, имеет явно меньшую плотность потока, чем часть катализатора, циркулирующая в кольцеобразной зоне. Такая разница в плотности создает в результате эффекта газового сифона восходящее круговое движение во внутренней трубе и круговое движение вокруг трубы в кольцеобразной зоне, которое обеспечивает подачу во внутреннюю трубу. Расход катализатора, циркулирующего во внутренней трубе, регулируют с помощью газа-носителя. В случае необходимости его можно также регулировать с помощью клапана типа “plug valve”, т.е. клапана, работающего наподобие поршня, такого, например, как используют в основании лифта (подъемника), обеспечивающего переход катализатора с первой на вторую стадию регенерации в установках типа R2R заявителя. Такой клапан позволяет частично закрывать и изменять сечение отверстия для входа катализатора с тем, чтобы регулировать расход последнего. Преимущественно газ-носитель может представлять собой или содержать один или несколько углеводородов, таких, например, как газолин, которые подвергают крекингу в жестких условиях в целях получения пропилена. Дополнительное преимущество этого варианта заключается в том, что циркулирующий во внутренней трубе катализатор охлаждают, что является основным для контроля температуры в нижнем конце стояка и без существенного коксования катализатора, т.к. дельта коксования (повышение степени коксования катализатора), полученная в результате крекинга газолина, остается очень незначительной. Так как охлаждение циркулирующего во внутренней трубе катализатора путем выпаривания и взаимодействия с углеводородной шихтой, такой как газолин, является недостаточным, охлаждение указанного катализатора предусмотрено главным образом ниже внутренней трубы любым известным способом, например, путем впрыскивания инертной, легко выпариваемой шихты, как это обычно практикуют в установках FCC. Кроме того, впрыскивание инертной шихты, которая будет выпариваться ниже выхода из внутренней трубы, интересно тем, что создает сильную турбулентность, которая способствует смешиванию катализатора с текучими средами, выходящими из трубы, и катализатором и текучими средами, которые циркулируют внутри трубы.
Для поглощения молекулярного расширения нижняя часть зоны реакции, в которую впрыскивают шихту и которая включает в себя кольцеобразную зону и трубчатую зону, может по меньшей мере частично иметь форму усеченного конуса, причем основание усеченного конуса находится главным образом около верхней оконечности трубчатой зоны.
Для обеспечения устойчивости к эрозии, которая может быть значительной в связи с перемещением катализатора в указанной зоне, а также в связи с применением средств для распыления катализатора, что может вызывать локальное повышение скоростей потока, внутреннюю трубу следует выбирать из материала, обеспечивающего износостойкость внешней поверхности трубы, особенно в зоне, соседней с местом впрыскивания шихты. Следует также обеспечить защиту других частей указанной трубы в целях повышения ее механической прочности. Можно, например, использовать трубу из углеродистой стали, покрытую слоями огнеупорного цемента, прикрепленными к стенкам трубы, например, с помощью креплений, приваренных к стенкам, или с помощью структур в форме пчелиных сот, типа hexmesh (с шестиугольными ячейками), хорошо известными специалисту.
Можно также обработать поверхность стальной трубы в целях получения износостойкого покрытия, такого как стеллит. Следует также упомянуть обработку металлической трубы с помощью термического плазменного напыления, которая позволяет получить покрытия керамического типа, обладающие высокой износостойкостью.
Таким образом, модификация традиционной установки FCC ограничивается тем, что устанавливают внутреннюю трубу, осуществляют впрыскивание текучего носителя катализатора во внутреннюю трубу, возможно, устанавливают систему суммарного впрыскивания в том случае, если указанный текучий носитель является специальной шихтой, подлежащей крекингу, и осуществляют впрыскивание легко выпариваемой текучей среды выше выхода из внутренней трубы, если это не было предусмотрено в рассматриваемой установке FCC.
Краткое описание чертежей
Настоящее изобретение иллюстрирует нижеследующие чертежи, на которых:
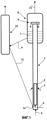
На фиг.1 изображена общая конструкция установки FCC согласно изобретению, на фиг.2 изображена внутренняя труба с подробным изображением системы впрыскивания текучего носителя катализатора и специальной шихты, служащей для охлаждения.
На фиг.1 в качестве примера схематически изображена традиционная установка FCC, в которой в направлении циркуляции катализатора расположен стояк (1), в основание которого подают восстановленный катализатор по трубе (11), и в верхней части которого находится система разделения газ/твердое вещество (6) любого типа, известного специалисту, от простого баллистического сепаратора (separateur balistique), принцип работы которого основан на столкновении смеси газ/твердое вещество с мишенью, и до более сложных систем, таких как сепараторы циклонного типа, непосредственно соединенные с верхней оконечностью стояка, или особые системы, обеспечивающие быстрое инерциальное разделение полученных паров и катализатора, действие которых также основано на приведении во вращение суспензии газ/твердое вещество и описание которых содержится, например, в патентах ЕР-А-0852963 и ЕР-А-1017762. В рамках настоящего изобретения стояком называется аксиально симметричная камера вытянутой по вертикальной оси формы, которая может иметь или не иметь разные сечения. Стояк (1) имеет нижнюю закрытую оконечность (17) и верхнюю открытую оконечность (18), которая может сообщаться с системой разделения газ/твердое вещество (6), находящейся в камере разделения и отгонки (8).
Затем катализатор направляют в зону отгонки (7), где удаляют часть адсорбированных углеводородов с поверхности катализатора прежде, чем направить в зону регенерации (10) по трубопроводу (9). Эта зона регенерации (10) не будет описана в настоящем тексте, т.к. не является существенной для настоящего изобретения. Любая зона регенерации в одну или несколько стадий, например, имеющаяся в установке типа R2R, является приемлемой для настоящего изобретения, которое не требует никакой модификации указанной зоны в существующей установке FCC.
Отходы реакции крекинга выводят из камеры (8) по трубопроводу (12) и направляют в зону фракционирования, не изображенную на фиг.1.
Регенерированный катализатор, вводимый в основание стояка (1) по трубе (11), разделяют на фракции: плотную фракцию с кажущейся плотностью потока от 600 до 200 кг/м3, предпочтительно от 250 до 400 кг/м3, которая циркулирует в кольцеобразной части стояка (1) до зоны впрыскивания шихты, и разбавленную фракцию более низкой плотности от 200 до 30 кг/м3, предпочтительно от 100 до 50 кг/м3, которая циркулирует во внутренней трубе (2), расположенной в нижней части стояка. Расходы сред, циркулирующих внутри и снаружи трубы в результате единой подачи регенерированного катализатора, зависят от разницы плотности потока двух фракций катализатора. Разбавленную фракцию, циркулирующую во внутренней трубе, получают путем впрыскивания через трубопровод (4) текучего носителя катализатора, который может быть жидким или газообразным. Из газообразных сред можно назвать азот, водяной пар, газообразное топливо, сжиженный нефтяной газ (СНГ) или любую смесь указанных разных продуктов. Из жидких сред можно назвать газолин, конечная точка кипения которого равна примерно 160°С, тяжелый бензин, начальная точка кипения которого равна примерно 160°С и конечная точка кипения равна примерно 200°С, light cycle oil (LCO), т.е. легкий газойль крекинга (ЛГК), начальная точка кипения которого равна примерно 220°С и конечная точка кипения равна примерно 350°С, или более широко – любую нефтяную фракцию, конечная точка кипения которой ниже 360°С, и их смеси.
Можно также рассмотреть использование синтетических нефтяных фракций, таких как жидкие продукты, полученные способами олигомеризации фракций С4, С5 или С6, которые содержат большое количество длинных С8-С10 олефинов, крекинг которых преимущественно происходит с образованием пропилена. Конечно, если текучий носитель жидкий, то с учетом температуры катализатора на входе во внутреннюю трубу, которая практически равна температуре катализатора на выходе из зоны регенерации, т.е. равна примерно 800°С, происходит выпаривание текучего носителя, которое способствует охлаждению катализатора и контролю температуры на выходе из стояка. Обычно в качестве текучего носителя используют реакционноспособную текучую среду, например олефиновый бензин с добавкой инертной текучей среды, например водяного пара.
Текучий носитель (4) вводят в основание внутренней трубы (2) с таким расходом, что средняя плотность потока во внутренней трубе обязательно ниже, чем плотность потока в нижней части стояка. Средняя степень разряжения потока во внутренней трубе может быть выше 0,8 и предпочтительно выше 0,9.
Поверхностное течение потока во внутренней трубе в 0,1-10 раз больше поверхностного течения потока в стояке (1) (среднее общее течение непосредственно над местом впрыскивания шихты в кольцеобразную зону) и предпочтительно в 0,5-3 раза больше поверхностного потока в стояке.
В том случае, если текучим носителем является углеводородная шихта, содержащая молекулы с по меньшей мере 4 атомами углерода, которые подвержены каталитическому крекингу, температура на выходе из внутренней трубы главным образом составляет от 520 до 700°С, в частности от 520 до 650°С и предпочтительно от 560° до 600°С. Традиционно эта температура является более высокой, например на 40-120°С выше, чем температура при выходе основной шихты из кольцеобразной зоны. Требуемую величину указанной температуры устанавливают с помощью расхода катализатора, циркулирующего во внутренней трубе. Расход катализатора контролируют или непосредственно с помощью расхода текучего носителя в том случае, если внутренняя труба не имеет никакого специального средства регулирования указанного расхода катализатора, или с помощью специального средства регулирования указанного расхода катализатора, из которых можно назвать клапаны типа “plug valve”, или скользящие клапаны или средство любого другого типа, позволяющее изменять сечение отверстия для подачи катализатора в основание внутренней трубы.
Средство для подачи псевдоожижающего газа (5) расположено в основании стояка (1) и позволяет контролировать плотность катализатора в этой зоне. Это средство подачи существует в установках FCC и не требует модификации для целей настоящего изобретения. Псевдоожижающий газ можно выбрать из следующих газов: азота, водяного пара, нефтяного газа или СНГ, или любого другого инертного в химическом отношении газа.
Регенерированный катализатор вводят в основание стояка (1) с помощью средства подачи (14), которое не требует модификации по сравнению с тем, которое уже имеется в установке FCC. Для обеспечения хорошей циркуляции катализатора указанное средство для ввода катализатора (14) находится обычно выше средства для ввода основной шихты (3), но оно также может быть расположено выше или ниже нижней оконечности внутренней трубы (2) без ущерба для циркуляции катализатора.
Этот факт представляет особый интерес в случае переустройства установки FCC, в которой можно увеличить стояк по направлению вниз. Действительно, в этом случае можно присоединить элемент стояка, в котором находится внутренняя труба (2) к нижней части существующего стояка, не меняя средство для ввода катализатора (14). Нижняя оконечность внутренней трубы (2) будет тогда находиться на уровне, который ниже уровня ввода катализатора (14), не представляя при этом никакого неудобства.
Подачу основной шихты во внутреннюю часть стояка осуществляют с помощью соответствующей системы впрыскивания (3), как было описано, например, в патенте ЕР-А-312428. В качестве основной шихты используют дистиллят в вакууме (ДВ), атмосферный остаток (АО), остаток в вакууме (ОВ) или любую смесь указанных разных фракций. Единственное отличие по отношению к конструкции средства впрыскивания в традиционной установке FCC заключается в том, что поскольку верхняя оконечность внутренней трубы выходит предпочтительно ниже системы впрыскивания шихты (3), такое впрыскивание шихты происходит в кольцеобразной зоне стояка вокруг центральной трубы, что возможно приведет к небольшому понижению скорости впрыскивания на выходе из инжекторов. Скорость газообразной фазы на выходе из инжекторов обычно составляет от 20 до 100 м/с, предпочтительно от 50 до 80 м/с.
Обычно средство для впрыскивания шихты (3) находится над уровнем впрыскивания текучего носителя (4) в трубчатую зону. Благодаря этому получают массовое отношение катализатора к шихте (углеводородной), значительно более высокое в трубчатой зоне, в результате эффекта газового сифона. Разница между уровнями подачи текучего носителя (4), обычно реакционноспособного, и шихты (3) обычно составляет от 0,5 до 12 м, предпочтительно от 1 до 10 м. Эта разница уровней преимущественно составляет от 20 до 90% общей высоты трубчатой зоны.
Массовое отношение катализатора к шихте, обозначенное С/О, в кольцеобразной зоне обычно составляет от 2 до 10 и предпочтительно от 4 до 7. В любом случае это отношение является достаточным для обеспечения полного выпаривания шихты и поддержания температуры смеси катализатор/шихта после выпаривания выше 500°С, например от 510° до 550°С.
Внутренняя труба (2), полностью находящаяся внутри стояка (1), в целом может быть определена как аксиально симметричная камера вытянутой по вертикальной оси формы, расположенная по одной оси со стояком (1) и имеющая нижнюю открытую оконечность (15) и верхнюю открытую оконечность (16). Верхняя оконечность (15) находится на уровне, который очевидно ниже уровня подачи основной шихты (3), а верхняя оконечность (16) находится на уровне, который выше или равен, предпочтительно выше, уровня подачи шихты (3) и ниже или равен, предпочтительно ниже, уровня впрыскивания инертной легко выпариваемой текучей среды (13), предназначенной для контроля температуры стояка. Отношение площади среднего сечения, занимаемой внутренней трубой (2), к площади сечения стояка, изображенных на одном чертеже (1), находится в интервале от 0,1 до 0,5, и преимущественно от 0,12 до 0,45 и предпочтительно в интервале от 0,15 до 0,30 на уровне инжекторов шихты. Сечение внутренней трубы (2) необязательно является постоянным и может изменяться, в частности, в своей нижней части, которая может сужаться с тем, чтобы вызывать потерю шихты, обеспечивая контроль расхода катализатора, входящего во внутреннюю трубу.
Длина внутренней трубы (2) зависит от требуемого времени пребывания в том случае, если крекинг специальной шихты осуществляют во внутренней трубе. В случае крекинга газолина время пребывания составляет от 100 мс до 10 с, предпочтительно от 0,5 до 5 с.
Температуру на выходе из стояка регулируют обычным способом, исходя из расхода регенерированного катализатора, поступающего в стояк с помощью клапана, например скользящего клапана, находящегося на трубе (11), служащего для подачи регенерированного катализатора в стояк.
Температуру на выходе из стояка устанавливают в зависимости от требуемых условий крекинга в интервале от 500 до 550°С.
Необходимо предусмотреть в случае отсутствия таковой систему впрыскивания (13) легкой текучей легко выпариваемый среды, расположенную преимущественно ниже, чем верхняя оконечность внутренней трубы так, чтобы контролировать температуру на выходе из стояка во всех возможных случаях, т.е. в частности в случае, если текучий носитель во внутренней трубе не является испаряемым и не вступает ни в какое взаимодействие внутри трубы. В качестве текучей среды для такого впрыскивания (13) можно использовать какую-либо нефтяную фракцию, конечная точка кипения которой ниже 360°С, например часть ЛГК, полученного в установке.
Условия для хорошей циркуляции катализатора во внутренней трубе и снаружи указанной трубы в кольцеобразной зоне стояка будут преимущественно созданы, если нижнюю оконечность внутренней трубы расположить четко под уровнем впрыскивания основной шихты, а верхнюю оконечность расположить над уровнем впрыскивания основной шихты, но при этом под уровнем впрыскивания инертной текучей легко выпариваемой среды (13). В некоторых случаях может быть предпочтительным расположить нижнюю оконечность внутренней трубы под уровнем подачи регенерированного катализатора в стояк. Эти условия не являются принудительными и способствуют осуществлению настоящего изобретения.
Если требуется облегчить подачу катализатора во внутреннюю трубу, можно предусмотреть на ее нижней оконечности по меньшей мере одно сужение, вызвав потерю шихты, что облегчит контроль расхода катализатора, подаваемого внутрь указанной трубы. Тем не менее в этом случае расход катализатора будет напрямую связан с расходом текучего носителя, т.е. отношение С/О во внутренней трубе нельзя будет изменять произвольно. Если требуется разделить расход катализатора, подаваемого во внутреннюю трубу, и расход текучего носителя, следует предусмотреть на нижней оконечности внутренней трубы клапан, служащий для изменения сечения отверстия для прохода катализатора внутрь трубы.
Без дальнейшей детализации изобретения уже понятно, что специалист может, используя настоящее описание, применять изобретение со всеми его преимуществами. Нижеследующие примеры приведены в качестве иллюстрации и не имеют ограничительного характера.
В нижеследующих примерах, как и в предшествующих, все значения температуры выражены в градусах по Цельсию, а количества и проценты выражены массой, если не указано иное.
Примеры
Интерес, который представляет изобретение, будет продемонстрирован на трех сравнительных примерах согласно изобретению для сравнения с базовым случаем применения традиционной установки FCC.
На установке FCC обрабатывают тяжелую шихту типа гидрообработанного атмосферного остатка. Эта установка имеет зону регенерации, состоящую из двух регенераторов, и работает в базовых условиях, представленных в таблице 1 в колонке «базовый тест». Она также имеет зону впрыскивания инертной текучей среды (рецикл охлаждения), расположенную над зоной впрыскивания шихты в целях охлаждения реактора ниже зоны выпаривания.
Путем расчетов был смоделирован удар, который получает труба, находящаяся в нижней части стояка согласно изобретению, внутри которой происходит крекинг определенного количества бензина.
Рассматриваемая в этом примере труба занимает 15% площади сечения стояка на уровне инжекторов шихты, причем вход находится на 5 м ниже под уровнем инжекторов шихты, а выход находится на 3 м выше, чем указанные инжекторы; катализатор вводят ниже зоны, выполненной из трубы.
Для ясности следует отметить, что сравнительные испытания (тест 1, 2 и 3) проводили в следующих условиях.
Поддерживали условия выпаривания шихты: температура шихты и катализатора, находившаяся в равновесии вокруг внутренней трубы на уровне впрыскивания рецикла охлаждения, оставалась равной температуре на участке выше впрыскивания охлаждающей жидкости в условиях базового теста, а именно 544°С.
В верхней части стояка поддерживали условия реакции: температура на выходе из стояка постоянная и равна 508°С.
Поддерживали расход шихты и основные параметры, от которых зависит тепловой баланс установки.
Поддерживали постоянную пропорцию бензина, введенного в трубу, по отношению к шихте, а именно 15 мас.%.
Использовали ту же охлаждающую жидкость, которая является слабо реакционноспособной, например легкий ЛГК.
Во всех трех случаях (1, 2 и 3) выбирали расход бензина в трубе, равный 15% расхода традиционной шихты. Температура крекинга на выходе из трубы была установлена равной 580 (тест 1), 600 (тест 2) или 586°С (тест 3).
Параметры теплового баланса, позволяющие поддерживать температуры в различных частях стояка, следующие:
общий расход катализатора,
часть расхода катализатора, циркулирующего в трубе,
расход рециркулирующей охлаждающей жидкости.
В таблице показаны условия работы и выходы, рассчитанные на выходе из стояка по отношению к впрыскиваемой шихте.
В тесте 1 в качестве бензина, впрыскиваемого во входное отверстие трубы, используют продукт крекинга шихты. Речь идет о газолине (С5-180). Выход пропилена составляет 5% по сравнению с 3,74% в базовом тесте.
В тесте 2 впрыскивают тот же бензин, что и в тесте 1, но крекинг осуществляют в более жестких условиях (температура на выходе из трубы равна 600°С по сравнению с 580°С в тесте 1). Выход пропилена повышается до 5,4% и степень преобразования составляет 74%.
В тесте 3 фракцией, которую впрыскивают в трубу, является полностью ароматическая шихта, полученная из фракции бензина, состоящей из С7-С8-С9. Такая шихта практически не вступает в реакцию, и этот третий тест позволяет, таким образом, проиллюстрировать эффект ступенчатого использования катализатора, т.к. в верхней части стояка используют более активный катализатор, чем в базовом тесте.
Степень конверсии повышается до 76% по сравнению с 69% в базовом тесте.
| Таблица |
| Условия в стояке |
|
Test run |
Тест 1 |
Тест 2 |
Тест 3 |
| Т смеси вокруг трубы |
°С |
544 |
544 |
544 |
544 |
| Т на выходе из трубы |
°С |
580 |
580 |
600 |
586 |
| Т на выходе из реактора |
°С |
508 |
508 |
508 |
508 |
| Расход свежей шихты |
Т/j |
3869 |
3869 |
3869 |
3869 |
| Расход текучей среды в трубе |
% шихты |
0,00 |
15,00 |
15,00 |
15,00 |
| Расход рецикла охлаждения |
% шихты |
25,98 |
40,77 |
48,57 |
41,32 |
| Общее количество пара в стояке |
% |
12,12 |
12,12 |
12,12 |
12,12 |
| Расход катализатора вокруг трубы |
T/j |
|
21745 |
22635 |
22054 |
| Расход катализатора в трубе |
T/j |
|
5456 |
6732 |
5030 |
| Расход катализатора в стояке |
T/j |
20932 |
27201 |
29367 |
27084 |
| С/О в трубе (текучая среда в трубе) |
(-) |
|
9,40 |
11,60 |
8,67 |
| С/О вокруг трубы (% свежей шихты) |
(-) |
5,41 |
5,62 |
5,85 |
5,70 |
| С/О в верхней части стояка (% свежей шихты) |
(-) |
5,41 |
7,03 |
7,59 |
7,00 |
| Т в регенераторе 1 |
°С |
692,24 |
686,00 |
679,36 |
685,07 |
| Т в регенераторе 2 |
°С |
771,31 |
762,00 |
753,17 |
760,61 |
| Выход на выходе из стояка |
|
Test run |
тест 1 |
тест 2 |
тест 3 |
| Нефтяные газы |
% |
4,57 |
5,01 |
5,19 |
4,23 |
| С3= |
% |
3,74 |
4,99 |
5,40 |
4,04 |
| СНГ |
% |
15,47 |
19,18 |
20,20 |
16,73 |
| Бензин |
% |
41,93 |
38,77 |
38,39 |
45,33 |
| ЛГК |
% |
17,97 |
17,18 |
16,75 |
15,95 |
| Шлам |
% |
12,18 |
10,03 |
9,31 |
8,12 |
| Кокс |
% |
7,88 |
9,82 |
10,18 |
9,65 |
Следует отметить, что степень преобразования бензина в значительной мере зависит от его химической природы и что в тех же условиях из других его фракций, например, олефиновых фракций С8=, можно получить более высокий выход пропилена, например, от 25 до 35%. Используя бензин крекинга, рассматриваемый в этом примере, тем не менее можно очень существенно изменить общую структуру выхода, поскольку общий выход пропилена по отношению к свежей шихте, увеличивается с 3,7 до 5-5,4%.
В то же время следует отметить повышение степени преобразования в стояке в результате повышения расхода катализатора в верхней части, при этом катализатор, выходящий из трубы, подвергся коксованию в незначительной степени и, следовательно, сохранил значительную остаточную активность после повторного смешивания с потоками ниже внутренней трубы.
Формула изобретения
1. Способ каталитического крекинга в псевдоожиженном слое углеводородной шихты в восходящей зоне реакции или стояке, состоящий из стадий ввода регенерированного катализатора в нижнюю часть стояка, впрыскивания шихты, осуществляемого выше ввода катализатора, впрыскивания газа, служащего для псевдоожижения катализатора, в основание стояка, причем в нижней части реакционной зоны находится внутренняя трубчатая зона, расположенная по оси стояка, в которой часть регенерированного катализатора циркулирует с помощью текучего носителя, вводимого в нижний конец трубчатой зоны, остальная часть катализатора и шихта циркулируют в кольцеобразной зоне, находящейся между трубчатой зоной и стенкой стояка, отличающийся тем, что указанная часть катализатора и текучий носитель циркулируют в трубчатой зоне, в условиях, температура и/или отношение масс катализатора и шихты, более жестких, чем условия, температура и/или отношение масс катализатора и шихты, в кольцеобразной зоне, после впрыскивания шихты смешивают первый поток, выходящий из трубчатой зоны, и второй поток, выходящий из кольцеобразной зоны, и охлаждают полученную смесь, содержащую катализатор, путем впрыскивания инертной текучей и выпариваемой среды на уровне или выше впрыскивания шихты, и осуществляют крекинг охлажденной смеси в верхней части зоны реакции.
2. Способ по п.1, отличающийся тем, что отношение масс катализатора и шихты составляет от 2 до 10 в кольцеобразной зоне и от 5 до 20 в трубчатой зоне, причем указанное отношение в трубчатой зоне выше, чем в кольцеобразной зоне.
3. Способ по п.1, отличающийся тем, что отношение масс катализатора и шихты в кольцеобразной зоне составляет от 4 до 7, а в трубчатой зоне от 8 до 15.
4. Способ по любому из пп.1-3, отличающийся тем, что указанную смесь охлаждают так, что температура в верхней части зоны реакции составляет от 500 до 550°С.
5. Способ по любому из пп.1-4, отличающийся тем, что плотность катализатора в части кольцеобразной зоны, расположенной ниже впрыскивания шихты, составляет от 200 до 600 кг/м3, тогда как плотность в трубчатой зоне, которая меньше, чем плотность в указанной части кольцеобразной зоны, составляет от 30 до 200 кг/м3.
6. Способ по любому из пп.1-5, отличающийся тем, что температуру на выходе из зоны реакции контролируют путем контроля расхода регенерированного катализатора и расхода инертной и выпариваемой текучей среды.
7. Способ по любому из пп.1-6, отличающийся тем, что температуру на выходе из трубчатой зоны контролируют путем контроля расхода текучего носителя.
8. Способ по любому из пп.1-7, отличающийся тем, что температуру на выходе из кольцеобразной зоны контролируют путем контроля расхода регенерированного катализатора и расхода инертной и выпариваемой текучей среды.
9. Способ по любому из пп.1-8, отличающийся тем, что первый поток выходит через верхний конец трубчатой зоны, находящийся обычно на том же уровне или над уровнем впрыскивания шихты и на том же уровне или под уровнем впрыскивания инертной текучей среды.
10. Способ по любому из пп.1-9, отличающийся тем, что текучим носителем является вторичная углеводородная шихта, выбранная из группы, в которую входит газолин, конечная точка кипения которого равна примерно 160°С, тяжелый бензин, легкий газойль крекинга, нефтяная фракция, конечная точка кипения которой ниже 360°С, бензин, состоящий в основном из длинных C8-С10олефинов, полученных в результате олигомеризации фракций С4, C5 или С6 и их смеси.
11. Способ по любому из пп.1-10, отличающийся тем, что текучий носитель, обеспечивающий подачу регенерированного катализатора во внутреннюю трубу, выбирают из азота, водяного пара, газообразного топлива, сжиженного нефтяного газа и их смесей.
12. Способ по любому из пп.1-11, отличающийся тем, что поверхностное течение потока катализатора, циркулирующего во внутренней трубчатой зоне, в 0,1-10 раз, предпочтительно в 0,5-3 раза, больше поверхностного течения катализатора, циркулирующего в стояке.
13. Способ по любому из пп.1-12, отличающийся тем, что нижний конец трубчатой зоны находится под уровнем впрыскивания шихты.
14. Способ по любому из пп.1-13, отличающийся тем, что нижний конец трубчатой зоны имеет по меньшей мере одно сужение, вызывающее потерю шихты, что способствует контролю расхода катализатора, входящего в указанную трубчатую зону.
15. Способ по любому из пп.1-14, отличающийся тем, что нижний конец трубчатой зоны снабжен клапаном, служащим для изменения площади сечения отверстия для подачи катализатора внутрь трубчатой зоны.
16. Способ по любому из пп.1-15, отличающийся тем, что отношение площади сечения трубчатой зоны к площади сечения стояка находится в интервале от 0,1 до 0,5, предпочтительно в интервале от 0,15 до 0,30.
17. Способ по любому из пп.1-16, отличающийся тем, что нижняя часть зоны реакции, в которую впрыскивают шихту и которая включает в себя кольцеобразную зону и трубчатую зону, по меньшей мере частично имеет форму усеченного конуса, причем основание усеченного конуса находится около верхнего конца трубчатой зоны.
18. Способ по любому из пп.1-17, отличающийся тем, что верхний конец трубчатой зоны находится над зоной впрыскивания шихты и под зоной впрыскивания инертной текучей среды.
РИСУНКИ
|
|