|
(21), (22) Заявка: 2006115430/02, 04.05.2006
(24) Дата начала отсчета срока действия патента:
04.05.2006
(46) Опубликовано: 20.01.2008
(56) Список документов, цитированных в отчете о поиске:
SU 1238952 A1, 23.06.1986. SU 218681 A1, 01.01.1968. SU 1530424 A1, 23.12.1989. SU 210891 A1, 01.01.1968. JP 9103958 A, 22.04.1997.
Адрес для переписки:
302020, г.Орел, Наугорское ш., 29, ОрелГТУ, проректору по НР и МС Ю.С.Степанову
|
(72) Автор(ы):
Степанов Юрий Сергеевич (RU), Киричек Андрей Викторович (RU), Самойлов Николай Николаевич (RU), Афанасьев Борис Иванович (RU), Фомин Дмитрий Сергеевич (RU), Сотников Владимир Ильич (RU), Гаврилин Александр Михайлович (RU), Селеменев Константин Федорович (RU)
(73) Патентообладатель(и):
Государственное образовательное учреждение высшего профессионального образования “Орловский государственный технический университет” (ОрелГТУ) (RU)
|
(54) ВИБРАЦИОННОЕ УСТРОЙСТВО ДЛЯ ОТДЕЛОЧНО-УПРОЧНЯЮЩЕЙ ОБРАБОТКИ
(57) Реферат:
Изобретение относится к технологии машиностроения, а именно к вибрационным устройствам для отделочно-упрочняющей обработки со статико-импульсным нагружением деформирующего пружинного инструмента. Инструмент содержит держатель, в котором расположен деформирующий элемент, вибратор с индивидуальным приводом и пружины для статического воздействия деформирующего элемента на обрабатываемую поверхность. Деформирующий элемент выполнен в виде винтовой цилиндрической пружины с постоянным шагом, установленной на оси на упругой, демпфирующей основе. Вибратор выполнен в виде вала, на наружной поверхности которого жестко закреплена винтовая цилиндрическая пружина с переменным шагом. Упомянутая ось с деформирующим элементом смонтирована на подшипниках в держателе с возможностью свободного вращения. Вал вибратора установлен в держателе с возможностью вращения от индивидуального привода для осуществления поочередного контакта витков винтовой цилиндрической пружины с переменным шагом с витками винтовой цилиндрической пружины с постоянным шагом. В результате расширяются технологические возможности. 2 ил., 1 табл.
Изобретение относится к технологии машиностроения, в частности к способам и вибрационным устройствам для отделочно-упрочняющей обработки деталей из сталей и сплавов поверхностным пластическим деформированием со статико-импульсным нагружением деформирующего пружинного инструмента.
Известно устройство для упрочняющей обработки, состоящее из вибратора возвратно-продольных колебаний деформирующего элемента и кулачка, приводимого во вращение от электродвигателя через бесступенчатый редуктор и предназначенного для возбуждения поперечных колебательных движений этого деформирующего элемента [1].
Устройство отличается ограниченными возможностями управления в создании гетерогенных упрочненных слоев и регулярного микрорельефа обрабатываемой поверхности, низким КПД, недостаточно большой глубиной упрочненного слоя и недостаточно высокой степенью упрочнения обрабатываемой поверхности.
Известно устройство для ударного вибронакатывания, содержащее корпус, сепаратор с деформирующим элементом, опору в виде гладкого ролика, установленную в корпусе с возможностью вращения, при этом оно снабжено приводом опоры и упругим элементом, один конец которого закреплен на корпусе, а другой на сепараторе [2].
Устройство отличается ограниченными возможностями управления в создании гетерогенных упрочненных слоев и регулярного микрорельефа обрабатываемой поверхности, низким КПД, недостаточно большой глубиной упрочненного слоя и недостаточно высокой степенью упрочнения обрабатываемой поверхности.
Известен генератор механических импульсов (ГМИ) для вибрационного статико-импульсного упрочнения, отличающийся независимым регулированием энергии и частоты ударов [3, 4]. В конструкцию ГМИ входят: волновод с закрепленным на нем деформирующим элементом и боек, которые расположены в корпусе, гидроцилиндр статического воздействия на корпус, гидродвигатель, вращающий золотник кранового распределителя, редукционный клапан и дроссель.
Известный ГМИ представляет собой весьма сложную, дорогостоящую, металлоемкую и энергоемкую конструкцию, которая значительно увеличивает себестоимость изготовления обрабатываемых деталей.
Задачей изобретения является расширение технологических возможностей статико-импульсной обработки поверхностным пластическим деформированием за счет управления глубиной упрочненного слоя, степенью упрочнения и микрорельефом поверхности, при минимальной энергоемкости и трудоемкости изготовления оснастки путем использования упругого многоэлементного деформирующего инструмента в виде винтовой пружины и специального пружинного вибратора.
Поставленная задача решается с помощью предлагаемого вибрационного устройства для отделочно-упрочняющей обработки, содержащее держатель, в котором расположен деформирующий элемент и вибратор с индивидуальным приводом, при этом оно снабжено пружинами, обеспечивающими статическое воздействие деформирующего элемента на обрабатываемую поверхность, деформирующий элемент выполнен в виде винтовой цилиндрической пружины с постоянным шагом, установленной на оси на упругой, демпфирующей основе, вибратор выполнен в виде вала, на наружной поверхности которого жестко закреплена винтовая цилиндрическая пружина с переменным шагом, при этом ось с деформирующим элементом смонтирована на подшипниках в держателе с возможностью свободного вращения, а вал вибратора установлен в держателе с возможностью вращения от индивидуального привода для осуществления поочередного контакта витков винтовой цилиндрической пружины с переменным шагом с витками винтовой цилиндрической пружины с постоянным шагом.
Сущность конструкции устройства поясняется чертежами.
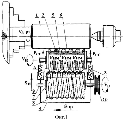
На фиг.1 показана схема чистовой и упрочняющей обработки цилиндрической поверхности вала устройством с пружинным вибратором, частичный продольный разрез; на фиг.2 – элемент А на фиг.1.
Предлагаемое устройство реализует способ чистовой и упрочняющей обработки цилиндрических поверхностей 1 специальным деформирующим элементом 2 методом поверхностного пластического деформирования. Для чего деформирующий элемент прижимают к обрабатываемой поверхности с определенным усилием Рст, т.е. создают натяг путем поперечного перемещения и сообщают продольную подачу Sпр, а заготовке сообщают вращательное движение Vз.
Деформирующий элемент 2 расположен в подпружиненном пружинами 3 держателе 4 и смонтирован в нем на подшипниках с возможностью свободного вращения оси 5. Деформирующий элемент 2 выполнен в виде винтовой цилиндрической пружины с наружным диаметром, не кратным диаметру обкатываемой поверхности.
Пружина деформирующего элемента 2 выполнена цилиндрической с равномерным шагом и установлена на оси 5 на упругой, демпфирующей основе 6, изготовленной, например, из резины, поролона и т.п.
В диаметрально противоположной линии контакта деформирующего элемента 2 с заготовкой 1 и с одной стороны заготовки в держателе 4 установлен вибратор в виде вала 7, на наружной поверхности которого жестко закреплена винтовая с переменным шагом цилиндрическая пружина 8. Вал 7 вибратора установлен в держателе 4 на подшипниках 9 и принудительно приводится во вращение индивидуальным электродвигателем (не показан) с помощью, например, клиноременной передачи, один из шкивов 10 которой закреплен на валу 7.
Предлагаемое устройство с деформирующим элементом крепится на суппорте в резцедержателе токарного станка (не показан), обрабатываемая заготовка, например, ступенчатый вал 1 закрепляется в патроне шпинделя передней бабки и поджимается центром задней бабки.
Перед включением станка производят настройку на нужное усилие обкатывания путем поперечного Sи перемещения держателя 4. Включают главное движение Vз – вращение заготовки вала 1, и одновременно устройству с деформирующим элементом сообщают поступательную продольную подачу Sпр.
Сущность процесса заключается в том, что деформирующий элемент 2 устанавливается с некоторым натягом относительно обрабатываемой заготовки. Вращение деформирующего элемента 2 с осью 5 передается от вращения заготовки вала 1. Статическая сила Рст деформирования создается пружинами 3.
Обкатывание и упрочнение осуществляется витками пружины 2, оказывающими давление на поверхность обрабатываемой заготовки.
При определенном (рабочем) усилии Pст в зоне контакта деформирующих элементов и заготовки интенсивность напряжений превышает предел текучести, в результате чего происходит пластическая деформация микронеровностей, изменяются физико-механические свойства и структура поверхностного слоя (например, увеличивается микротвердость или возникают остаточные напряжения в поверхностном слое).
Объемная деформация заготовки незначительна.
Помимо статического воздействия Рст на обрабатываемую поверхность 1 деформирующие элементы 2 оказывают импульсное Рим ударное воздействие с помощью вибратора. Витки 8 пружины вибратора при работе занимают положение между витками деформирующей пружины 2, при этом натяг составляет величину h, равную h=0,15…0,35 мм (см. фиг.2).
Принудительное вращение вибратора со скоростью Vв заставляет его витки 8 поочередно контактировать с деформирующими витками 2, в результате чего каждый деформирующий виток получает импульс силы Рим в радиальном направлении к заготовке с определенной частотой, зависящей от Vв. Переменный шаг пружины вибратора позволяет поочередно передавать импульс силы Рим деформирующим элементам, что обеспечивает значительное уменьшение радиальной нагрузки на заготовку и возможность использовать в качестве компактного привода вибратора – электродвигатель малой мощности.
Частота осцилляции витка деформирующего элемента зависит от его частоты вращения Vи и шага пружины 2, а также от частоты вращения вибратора Vв и величин переменных шагов пружины 8. Амплитуду осцилляции витка деформирующего элемента регулируют изменением величины натяга h (фиг.2).
В результате проскальзывания витка пружины 8 вибратора по витку деформирующего элемента 2 в короткий промежуток времени, проходящего как удар, возникают ударные и противоположно направленные импульсы одинаковой амплитуды и продолжительности, каждый из которых будет воздействовать на обрабатываемую поверхность с цикличностью, равной двойной продолжительности импульсов. Дойдя до обрабатываемой поверхности, ударный импульс распределяется на проходящий и отражающий. Проходящий импульс формирует динамическую составляющую силы деформации.
При действии на витки деформирующей пружины только статической нагрузки Pст внедрение их в обрабатываемую поверхность происходит на меньшую величину, при импульсной нагрузке Рим внедрение инструмента в обрабатываемую поверхность происходит на большую величину.
Глубина упрочненного слоя, обработанного способом вибрационного упрочнения с использованием предлагаемого вибратора достигает 1,5…2,5 мм, что значительно (в 3…4 раза) больше, чем при традиционном статическом упрочнении. Наибольшая степень упрочнения составляет 15…30%. В результате данной статико-импульсной обработки по сравнению с традиционным обкатыванием эффективная глубина слоя, упрочненного на 20% и более, возрастает в 2…3 раза, а глубина слоя, упрочненного на 10% и более, – в 1,7…2,2. В результате пластической деформации микронеровностей и поверхностного слоя параметр шероховатости поверхности повышается до Ra=0,1…0,4 мкм при исходном значении Ra=0,8…3,2 мкм. Твердость поверхности увеличивается на 30…80% при глубине наклепанного слоя 0,3…3 мм. Остаточные напряжения сжатия достигают на поверхности 400…800 МПа.
Предварительная обработка заготовки: шлифование до значения параметра шероховатости Ra=0,4…1,6 мкм, а также чистовое точение поверхностей с шероховатостью Ra=3,2 мкм. Обкатывание с применением предлагаемого вибратора применяют при изготовлении заготовок из цветных металлов и сплавов, чугуна и стали твердостью до HRC 58…64.
Деформирующие элементы 2 и пружину вибратора 8 изготовляют из сталей: легированных ШХ15, ХВГ, 9Х, 5ХНМ, углеродистых инструментальных У10А, У12А, быстрорежущих Р6М5, Р9. Твердость рабочей поверхности витков из сталей HRC 62…65. Параметр шероховатости рабочего профиля витков пружины Ra=0,32 мкм.
Производительность процесса вибрационного упрочнения определяется радиусом витка деформирующей пружины и диаметром проволоки, из которой изготовлена пружина.
Устройство с большими радиусом витка деформирующей пружины и диаметром проволоки позволяет вести обработку с большой подачей (до 3 мм/об), однако в этом случае для получения высокого качества поверхности необходимо создавать большие рабочие усилия. От значения допустимого рабочего усилия зависят параметры деформирующей пружины.
Предлагаемое вибрационное упрочнение, осуществляемое многоэлементным деформирующим устройством, обеспечивает необходимое усилие контакта деформирующих элементов и обрабатываемой поверхности и почти не уменьшает погрешности предшествующей обработки, являясь копирующим.
Изменение размера поверхности при вибрационном упрочнении связано со смятием микронеровностей и пластической объемной деформацией заготовки. Таким образом, точность обработанной заготовки будет зависеть от ее конструкции и конструкции устройства для вибрационного упрочнения, режимов обработки, а также от точности размеров, формы и качества поверхности заготовки, полученной при обработке на предшествующем переходе. Величина изменение размера зависит от состояния исходной поверхности (см. табл.1).
Таблица 1. Изменение размеров поверхностей заготовки при вибрационном упрочнении в зависимости от шероховатости исходной поверхности
| Способ предварительной обработки |
Параметр шероховатости Ra, мм |
Величина, на которую изменяется размер после обработки, мм |
| Точение |
6,3 3,2 1,6 |
0,025…0,065 0,015…0,045 0,010…0,025 |
| Точение бреющим (широким) резцом |
3,2 1,6 |
0,010…0,025 до 0,015 |
| Шлифование |
3,2 1,6 |
0,015…0,035 0,010…0,020 |
При этом точность размеров существенно не меняется. Неблагоприятные условия обработки заготовки вблизи торцов приводят к увеличенной пластической деформации заготовки на участках длиной 3…15 мм.
Наиболее целесообразно вибрационным упрочнением обрабатывать исходные поверхности 7…11-го квалитетов.
При поверхностно пластическом деформировании предлагаемым вибрационным упрочнением практически достигаются параметры шероховатости Ra=0,2…0,8 мкм при исходных значениях этих параметров 0,8…6,3 мкм.
Степень уменьшения шероховатости поверхности зависит от материала, рабочего усилия или натяга, подачи, исходной шероховатости, конструкции вибратора, частоты и величины амплитуды вибраций и т.д.
Предлагаемое вибрационное упрочнение следует проводить так, чтобы заданные результаты достигались за один проход. Не следует использовать обратный ход в качестве рабочего хода, так как повторные проходы в противоположных направлениях могут привести к излишнему деформированию и отслаиванию поверхностного слоя.
Скорость не оказывает заметного влияния на результаты обработки и выбирается с учетом требований производительности, конструктивных особенностей заготовки и оборудования. Обычно скорость составляет 30…150 м/мин. Значение усилия вибрационного упрочнения выбирают в зависимости от цели обработки. Оптимальное усилие Р (Н), соответствующее максимальному пределу выносливости, определяют по формуле: Р=500+1,66D2, где D – диаметр упрочняющей поверхности заготовки.
Продольную подачу при вибрационном упрочнении принимают 0,2…3 мм/об. Оптимальная продольная подача Sпр э на один деформирующий элемент не должна превышать 0,1…0,5 мм/об. Подачу на один оборот заготовки определяют по формуле: Sпр=kSпр э, где k – число деформирующих элементов (витков).
Смазывающе-охлаждающей жидкостью при вибрационном упрочнении служат машинное масло, смесь машинного масла с керосином (по 50%), сульфофрезол (5%-ная эмульсия). Обработку чугуна рекомендуется вести без охлаждения.
Пример. Для оценки параметров качества поверхностного слоя, упрочненного с применением предлагаемого вибратора, проведены экспериментальные исследования обработки вала на токарном станке с использованием устройства с пружинным вибратором.
Значения технологических факторов (частота ударов, величина амплитуды, величина подачи) выбирались таким образом, чтобы обеспечить кратность ударного воздействия на элементарную площадку обрабатываемой поверхности в диапазоне 6…10. Дальнейшее увеличение кратности деформирующего воздействия ведет к разупрочнению.
Величина силы статического поджатия деформирующих элементов к обрабатываемой поверхности составляла Рст 25…40 кН; Рим=255…400 кН. Заготовки из стали 40Х; исходная твердость «сырых» образцов – HV 270…280. Глубина упрочненного статико-импульсной обработкой слоя в 3…4 раза выше, чем при традиционном обкатывании.
Упрочненный слой при традиционном статическом обкатывании формируется в условиях длительного действия больших статических усилий.
Предлагаемым вибрационным упрочнением аналогичная глубина упрочненного слоя достигается в результате кратковременного воздействия на очаг деформации пролонгированного импульса энергии. При близких степенях упрочнения поверхностного слоя, величина статической составляющей нагрузки при вибрационном упрочнении значительно меньше.
Исследования напряженного состояния упрочненного поверхностного слоя статико-импульсной обработкой показали, что максимальные остаточные напряжения находятся близко к поверхности, как при чеканке, что благоприятно для большинства сопрягаемых деталей механизмов и машин.
Сравнение глубины напряженного и упрочненного слоя, градиента напряжений и градиента наклепа показывает, что глубина напряженного слоя в 1,1…1,3 раза больше, чем глубина наклепанного слоя, что согласуется с теорией поверхностного пластического деформирования.
Достигаемая в процессе обработки предлагаемым вибрационным упрочнением предельная величина шероховатости составляет Rа=0,08 мкм, возможно снижение исходной шероховатости в 6 раз.
Микровибрации в процессе благоприятно сказываются на условиях работы инструмента. Наложение малого по амплитуде колебательного движения приводит к более равномерному распределению нагрузки на инструмент, вызывает дополнительные циклические перемещения контактных поверхностей инструмента и заготовки, облегчает формирование упрочняемой поверхности.
Колебания способствуют лучшему проникновению смазочно-охлаждающей жидкости (СОЖ) в зону обработки.
При наложении колебаний деформирующая поверхность инструмента периодически «отдыхает», что способствует увеличению ее стойкости.
Обработка в условиях колебаний резко увеличивает эффективность охлаждающего, диспергирующего и пластифицирующего действия СОЖ вследствие облегчения ее доступа в зону контакта инструмента и заготовки.
Упрочнение с использованием предлагаемого вибратора расширяет технологические возможности статико-импульсной обработки поверхностным пластическим деформированием, позволяет управлять глубиной упрочненного слоя и микрорельефом поверхности, повышает параметр шероховатости обработанной поверхности, увеличивает ее твердость на значительную глубину, повышает производительность за счет увеличения пятна контакта большого количества деформирующих элементов с обрабатываемой поверхностью, а также снижает себестоимость процесса и расходы на изготовление оснастки.
Источники информации, принятые во внимание
1. А.с. СССР 366062, МПК В24В 39/00. Способ упрочнения поверхности металлических деталей. Г.М. Азаревич. 1616331/25-8. 07.12.1970; 10.01.1973.
2. А.с. СССР 1238952, МПК В24В 39/00. Устройство для ударного вибронакатывания. Ю.Г. Шнейдер, Б.Н. Букин, Г.Р. Круглов. 3818752/25-27. 04.12.1984; 23.06.1986 – прототип.
4. Патент РФ 2090342. Лазуткин А.Г., Киричек А.В., Соловьев Д.Л. Гидроударное устройство для обработки деталей поверхностным пластическим деформированием. 1997. Бюл. №34.
Формула изобретения
Вибрационное устройство для отделочно-упрочняющей обработки, содержащее держатель, в котором расположен деформирующий элемент и вибратор с индивидуальным приводом, отличающееся тем, что оно снабжено пружинами, обеспечивающими статическое воздействие деформирующего элемента на обрабатываемую поверхность, деформирующий элемент выполнен в виде винтовой цилиндрической пружины с постоянным шагом, установленной на оси на упругой, демпфирующей основе, вибратор выполнен в виде вала, на наружной поверхности которого жестко закреплена винтовая цилиндрическая пружина с переменным шагом, при этом упомянутая ось с деформирующим элементом смонтирована на подшипниках в держателе с возможностью свободного вращения, а вал вибратора установлен в держателе с возможностью вращения от индивидуального привода для осуществления поочередного контакта витков винтовой цилиндрической пружины с переменным шагом с витками винтовой цилиндрической пружины с постоянным шагом.
РИСУНКИ
MM4A – Досрочное прекращение действия патента СССР или патента Российской Федерации на изобретение из-за неуплаты в установленный срок пошлины за поддержание патента в силе
Дата прекращения действия патента: 05.05.2008
Извещение опубликовано: 20.02.2010 БИ: 05/2010
|