|
(21), (22) Заявка: 2005119898/15, 27.06.2005
(24) Дата начала отсчета срока действия патента:
27.06.2005
(43) Дата публикации заявки: 10.01.2007
(46) Опубликовано: 20.01.2008
(56) Список документов, цитированных в отчете о поиске:
RU 2132220 C1, 27.06.1999. RU 2225248 C1, 10.03.2004. RU 2153920 C2, 10.08.2000. SU 897265 А, 15.01.1982. DE 3823995 A1, 16.02.1989.
Адрес для переписки:
665828, Иркутская обл., г. Ангарск, ИТЭЦ-10, В.В.Полякову
|
(72) Автор(ы):
Поляков Валентин Валерьянович (RU), Апасов Виктор Леонидович (RU), Грайвер Михаил Александрович (RU), Викторов Олег Анатольевич (RU), Храмцов Александр Александрович (RU), Поляков Андрей Евгеньевич (RU)
(73) Патентообладатель(и):
Иркутская ТЭЦ-10 (RU)
|
(54) УСТРОЙСТВО ДЛЯ ОЧИСТКИ ГАЗОВ
(57) Реферат:
Изобретение относится к области очистки газов от пыли, в частности дымовых газов пылеугольных котельных агрегатов, и может быть использовано в энергетической, металлургической, строительной отраслях промышленности, где используется мокрое пылеулавливание. Сущность изобретения состоит в том, что пылеулавливающий аппарат с мокрым способом очистки снабжен выдвижными лопатками завихрителя с регулируемым зазором между корпусом и лопаткой, каплеуловителем шатрового типа, обеспечивающим при низком аэродинамическом сопротивлении высокую эффективность улавливания капельной влаги. Элементы аппарата могут выполняться как из титана, так и из стеклопластиков, что удешевляет стоимость. Эффективность улавливания пыли (до 99,9%). 5 з.п. ф-лы, 2 ил.
Изобретение относится к аппаратам мокрого пылеулавливания с применением водогазовой эмульсии и может быть использовано в энергетике, металлургии, стройиндустрии и других отраслях промышленности для глубокой очистки газовых выбросов от пыли и частичной очистки от сернистого ангидрида.
Известны устройства для мокрой очистки газов от пыли, состоящие из корпуса, внутри которого расположены пенообразующие или образующие эмульсию элементы в виде решеток или завихрителей различного типа (Справочник по пыле- и золоулавливанию под редакцией Русанова А.А. Энергоиздат, 1983 г., 112 с., журнал “Электрические станции” №5 за 1997 г.).
Наиболее близким по технической сущности и достигнутому результату является устройство для очистки газов (эмульгатор), описанное в патенте №2132220 от 21.10.98 г., состоящее из круглого корпуса, выполненного на базе скруббера, входного и выходного патрубка для ввода и вывода газов. В корпусе скруббера, в аэродинамической нише, установлены завихритель, являющийся инициатором эмульгирования, и система распределения воды. Над ними установлен жалюзийный каплеуловитель шатрового типа с лопатками, расположенными по винтовой линии.
Обладая высокой эффективностью (степень очистки более 99,5%), подобные аппараты не исчерпали возможности ее повышения.
Промышленные образцы аппаратов показали возможность достижения степени очистки в расчетных режимах более 99,9%.
К недостаткам устройства данного типа относится:
– недостаточно широкий диапазон оптимальных расходов газов, при котором обеспечивается максимальная расчетная эффективность;
– резкое повышение сопротивления завихрителя при достижении в его каналах скоростей газов, превышающих расчетные;
– не использованы полностью возможности повышения эффективности улавливания диоксида серы в установках данного типа;
– на изготовление аппарата требуется значительное количество титана, что удорожает стоимость очистки газов;
– использование композитных материалов (стеклопластик и др.) конструктивно не проработано;
– высокоаэродинамическое сопротивление.
Целью изобретения является дальнейшее повышение эффективности, надежности, удешевление процесса очистки газов от пыли и устранение отмеченных недостатков.
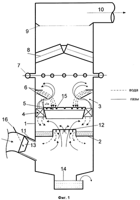
Указанные цели достигаются тем что (фиг.1),
– лопатки завихрителя выполнены выдвижными с регулируемым зазором между корпусом и лопаткой, что позволяет легко менять лопатки в случае износа и изготавливать их не из дорогостоящего титана, а из стеклопластика и других относительно дешевых неметаллических материалов (керамики, графитопласта и т.п.). Выдвижные лопатки позволяют легко менять зазор между концом лопатки и корпусом эмульгатора. Величина зазора является определяющей величиной для многих параметров эмульгатора: производительность, кпд, габариты и др.
– ниша, в которой установлен завихритель, образована газораспределительной диафрагмой (2) и водоотражающим карнизом (6);
– водоотражающий карниз (6) состоит из двух элементов – верхнего кольца, плотно прилегающего к корпусу, и нижнего направляющего конуса, подающего воду в водораспределительную тарелку. Орошение завихрителя при этом возрастает в 2-5 раз;
– каналы завихрителя выполнены переменного сечения за счет установки конусного основания несущего лопатки завихрителя. Это позволяет обеспечивать оптимальные скорости газов при изменении их объема за счет охлаждения или нагрева в процессе движения в каналах завихрителя;
– слив пульпы из газораспределительной диафрагмы осуществляется через прорези в бортах водосливной обечайки, что способствует равномерному орошению и охлаждению входящих в аппарат газов;
– емкость водосливного устройства выполнена таким образом, что вместе с газораспределительной диафрагмой (2) и водосливной обечайкой (12) образуют в активной зоне корзину, которая снабжена гранулами сорбента, катализатора, нейтрализатора, способствующие улавливать нежелательные газы и эффективно работать в активной зоне устройства, включая объем инверсии фаз в завихрителе;
– внутри подводящего газохода установлен конус, ограничивающий проникновение влаги внутрь, снабженный соплами периодической промывки.
На фиг.1 схематически представлен вертикальный разрез предлагаемого пылеуловителя.
Устройство состоит из цилиндрического корпуса (1), в качестве которого может быть использован скруббер существующей системы мокрого пылеулавливания, входного газохода (11), введенного в корпус эмульгатора по касательной и снабженного конусом (13), который ограничивает проникновение влаги внутрь газохода и исключает отложение золы. Газоход от конуса до корпуса эмульгатора футерован кислотоупорной плиткой и имеет сопла периодической промывки (16). Внутри корпуса эмульгатора перед завихрителем (4) установлена газораспределительная диафрагма (2), которая одновременно собирает пульпу и равномерно распределяет ее через прорези в водосливной обечайке (12) по периметру корпуса эмульгатора, что охлаждает поступающие газы струями воды, уменьшает изменение их объема при движении в каналах завихрителя и снижает его сопротивление.
В зоне установки наклонных лопаток завихрителя (4) находится вихревая ниша (3), образованная завихрителем и водоотражающим карнизом (6), который выполнен из листового титана или стеклопластика, что позволяет сохранить корпус скруббера без изменений и тем самым удешевить стоимость аппарата.
В результате взаимодействия кольцевого газожидкостного потока с двухэлементным отражающим карнизом (6) образуется горизонтальный вихревой поток в виде вращающегося тора, что обеспечивает высокий массообмен и степень очистки.
Подача воды на лопатки завихрителя осуществляется посредством водораспределительной тарелки (5), заполненной водой, а по краям снабженной прорезями (15), число которых кратно числу лопаток (фиг.2).
Над двухэлементным отражающим карнизом (6), обеспечивающим возврат пульпы и разгрузку каплеуловителя, расположены заподлицо с футеровкой ряд плоскофакельных форсунок (7) подпитки аппарата водой. Сплошная сетка капель чистой воды отсекает зону каплеуловителя от эмульгатора, что способствует осаждению капель грязной воды, выносимой из активной зоны, и защищает каплеуловитель от заноса золой.
Каплеуловитель (8) выполнен шатровой конструкции с уголковыми лопатками, расположенными по винтовой линии конуса, а торец уголков примыкает вплотную к вертикальным стенкам скруббера, что предотвращает вторичный каплеунос. Аэродинамическое сопротивление каплеуловителя не превышает 3-5 мм вод.ст.
Высокая эффективность каплеуловителя позволяет заполнить активную зону мелкодисперсной влагой и обеспечить стабильно высокий коэффициент улавливания золы при сравнительно невысоком аэродинамическом сопротивлении активной зоны.
За каплеуловителем расположен щиток (9), препятствующий подъему влаги по стенкам корпуса (1) в выходной газоход (10).
Устройство работает следующим образом: дымовые газы из котлоагрегатов поступают в корпус аппарата (фиг.1) из входного газохода (11) под газораспределительную диафрагму (2) эмульгатора, где происходит равномерное распределение образующейся пульпы через прорези в водосливной обечайке. В этой зоне улавливается до 88% пыли.
После газораспределительной диафрагмы частично очищенные газы поступают в вихревую нишу, где в каналах завихрителя происходит процесс инверсии фаз, в результате которого улавливаются наиболее тонкие фракции пыли. Насыщенные влагой газы освобождаются от загрязненной воды в водоотражающем карнизе (6) и дополнительно промываются водой из плоскофакельных форсунок (7). После полного удаления капельной влаги в капле-уловителе (8) очищенные газы поступают в газоход (10). Уловленная зола в виде пульпы удаляется через гидрозатвор (14).
По данным испытаний промышленной установки на котле ПК-24 достигнута эффективность улавливания золы 99,8-99,9% при выходной запыленности газов 40-70 мг/нм3 и входной запыленности газов 20-40 г/нм3, аэродинамическом сопротивлении аппарата 120-170 мм вод.ст. Высокий массообмен вихревой зоны, а также дополнительная рециркуляция пульпы позволяет улавливать от 10 до 25% и более диоксида серы в зависимости от состава золы.
Формула изобретения
1. Устройство для очистки газов от золы, содержащее цилиндрический корпус, патрубки ввода и вывода газов, аэродинамическую нишу с расположенным в ней завихрителем, заполненную водогазовой эмульсией систему водораздачи в виде тарельчатого водораспределителя, заполненного водой, с прорезями по периметру, каплеуловитель и гидрозатвор для слива пульпы, отличающееся тем, что лопатки завихрителя выполнены выдвижными с регулируемым зазором между корпусом и лопаткой.
2. Устройство по п.1, отличающееся тем, что ниша, в которой установлен завихритель, образована газораспределительной диафрагмой и водоотражающим карнизом.
3. Устройство по п.1, отличающееся тем, что водоотражающий карниз выполнен из двух элементов: верхнего кольца, плотно прилегающего к корпусу, и нижнего направляющего конуса, подающего воду в водораздающую тарелку.
4. Устройство по п.1, отличающееся тем, что каналы завихрителя выполнены переменного сечения по длине за счет установки конусного основания, несущего лопатки завихрителя.
5. Устройство по п.1, отличающееся тем, что емкость водосливного устройства, образованная газораспределительной диафрагмой и водосливной обечайкой, снабжена гранулами сорбента, катализатора или нейтрализатора.
6. Устройство по п.1, отличающееся тем, что внутри подводящего газохода установлен конус, ограничивающий проникновение влаги внутрь газохода, снабженный вверху соплами периодической промывки.
РИСУНКИ
MM4A – Досрочное прекращение действия патента СССР или патента Российской Федерации на изобретение из-за неуплаты в установленный срок пошлины за поддержание патента в силе
Дата прекращения действия патента: 28.06.2007
Извещение опубликовано: 20.02.2009 БИ: 05/2009
|