|
|
(21), (22) Заявка: 2006109800/12, 27.03.2006
(24) Дата начала отсчета срока действия патента:
27.03.2006
(46) Опубликовано: 20.01.2008
(56) Список документов, цитированных в отчете о поиске:
КОЗЛЮК А.И. Основы противопожарной защиты угольных шахт. – М.: Недра, 1971, с.61-64. SU 1625499 A1, 07.02.1991. SU 1163867 A, 30.06.1985. RU 2026095 С1, 09.01.1995. UA 50623 А, 15.10.2002. DE 3826300 A1, 29.12.1988.
Адрес для переписки:
650026, г.Кемерово, ул. Весенняя, 28, Кузбасский государственный технический университет, информационно-патентный отдел
|
(72) Автор(ы):
Ермолаев Алексей Михайлович (RU), Ермолаев Андрей Алексеевич (RU)
(73) Патентообладатель(и):
Ермолаев Алексей Михайлович (RU), Ермолаев Андрей Алексеевич (RU)
|
(54) УСТРОЙСТВО ДЛЯ АВТОМАТИЧЕСКОГО РЕГУЛИРОВАНИЯ РАБОТЫ ВЕНТИЛЕЙ НА ПРОТИВОПОЖАРНОМ ТРУБОПРОВОДЕ
(57) Реферат:
Изобретение относится к горной промышленности и может быть использовано для тушения подземных пожаров в угольных шахтах, возникающих после взрыва метана и/или угольной пыли. Устройство для автоматического регулирования работы вентилей на противопожарном трубопроводе содержит флажок – индикатор взрыва, на валу которого выполнен фигурный элемент, на который опирается одним концом рычаг со стороны длинного плеча, а рычаг со стороны короткого плеча опирается на неподвижную ось, гибкую тягу, которая одним концом закреплена на рычаге и перекинута через шкив, а другим концом закреплена на двухсторонней зубчатой рейке с гравитационным грузом, одна сторона зубчатой рейки входит в зацепление с зубчатым колесом, вал которого жестко соединен со шпинделем вентиля, закрывающего противопожарный трубопровод, другая сторона зубчатой рейки входит в зацепление со вторым зубчатым колесом, вал которого жестко соединен со шпинделем вентиля, открывающего трубопровод, соединяющий емкость с антипирогеном с противопожарным трубопроводом. Изобретение позволяет повысить надежность и безопасность при ведении горных работ. 2 ил.
Изобретение относится к горной промышленности и может быть использовано для тушения подземных пожаров в угольных шахтах, возникающих после взрыва метана и (или) угольной пыли.
Недостатком установки является то, что она срабатывает тогда, когда пожар уже набрал силу и высокая температура воздействует на плавкий замок.
Недостаток известных устройств состоит в том, что они срабатывают при возникновении пожара, то есть при повышении температуры, не реагируют на ударную волну при взрыве.
Задача изобретения – ускорение автоматического воздействия на очаг пожара при взрыве метана и (или) угольной пыли в горной выработке, упрощение конструкции устройства, повышение надежности устройства, повышение безопасности ведения горных работ.
Указанная задача достигается тем, что устройство для автоматического регулирования работы вентилей на противопожарном трубопроводе, включающее противопожарный трубопровод, вентили, емкости с пламягасящими антипирогенами, содержит флажок-индикатор взрыва, на валу которого выполнен фигурный элемент, на который опирается одним концом рычаг со стороны длинного плеча, а рычаг со стороны короткого плеча опирается на неподвижную ось, гибкую тягу, которая одним концом закреплена на рычаге и перекинута через шкив, а другим концом закреплена на двухсторонней зубчатой рейке с гравитационным грузом, одна сторона зубчатой рейки входит в зацепление с зубчатым колесом, вал которого жестко соединен со шпинделем вентиля, закрывающего противопожарный трубопровод, другая сторона зубчатой рейки входит в зацепление со вторым зубчатым колесом, вал которого жестко соединен со шпинделем вентиля, открывающего трубопровод, соединяющий емкость с антипирогеном и противопожарный трубопровод.
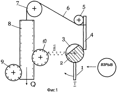
Изобретение поясняется чертежами, где на фиг.1 показана кинематическая схема устройства для автоматического регулирования работы вентилей на противопожарном трубопроводе, на фиг.2 – вид сверху на противопожарный трубопровод.
Устройство содержит флажок-индикатор взрыва 1, на валу 2 которого выполнен фигурный элемент 3, на который опирается одним концом рычаг 4 со стороны длинного плеча. Со стороны короткого плеча рычаг 4 опирается на неподвижную ось 5. Гибкая тяга 6, перекинутая через шкив 7, одним концом закреплена на рычаге 4, а другим концом закреплена на двухсторонней зубчатой рейке 8 с гравитационным грузом Q. Одна сторона зубчатой рейки 8 входит в зацепление с зубчатым колесом 9, другая сторона – с зубчатым колесом 10. Вал зубчатого колеса 9 жестко соединен со шпинделем вентиля 11, который находится на противопожарном трубопроводе 12. А вал зубчатого колеса 10 имеет жесткую связь со шпинделем вентиля 13. Вентиль 13 находится на трубопроводе 14, соединяющем противопожарный трубопровод 12 с емкостью 15, в которой хранится углекислый газ (азот, пена или другие антипирогены).
Устройство для автоматического регулирования работы вентилей на противопожарном трубопроводе работает следующим образом. При взрыве метана и (или) угольной пыли взрывная волна отклоняет флажок-индикатор 1 от вертикального положения I в положение II. В результате поворота оси вала 2 длинное плечо рычага 4, потеряв опору, под действием гравитационного груза Q поворачивается по часовой стрелке и теряет несущую способность. Тяга 6 под действием гравитационного груза Q, собственного веса и веса зубчатой рейки 8 опускается. Зубчатая рейка 8, опускаясь, одной стороной, поворачивает шпиндель вентиля 11 на несколько оборотов (или пробку крана на угол 90°). В результате чего доступ воды из противопожарного трубопровода 12 прекращается. А другая сторона рейки вращает зубчатое колесо 10 против хода часовой стрелки и открывает доступ углекислого газа в противопожарный трубопровод 12, откуда он поступает к очагу возможного пожара или к месту возникновения взрыва метана и (или) угольной пыли, где противопожарный трубопровод открыт.
Гибкая тяга 6 изготовлена из горючего материала (пенька, капрон, лавсан и пр.) и под воздействием высокой температуры при пожаре обрывается. В результате чего устройство автоматически срабатывает при пожаре, также как и при взрыве.
Преимущества заявляемого изобретения по сравнению с известными техническими решениями: мгновенное срабатывание устройства при взрыве метана и (или) угольной пыли; простота конструкции устройства; надежность; повышение безопасности ведения горных работ.
Формула изобретения
Устройство для автоматического регулирования работы вентилей на противопожарном трубопроводе, включающее противопожарный трубопровод, вентили, емкости с пламягасящими антипирогенами, отличающееся тем, что содержит флажок – индикатор взрыва, на валу которого выполнен фигурный элемент, на который опирается одним концом рычаг со стороны длинного плеча, а рычаг со стороны короткого плеча опирается на неподвижную ось, гибкую тягу, которая одним концом закреплена на рычаге и перекинута через шкив, а другим концом закреплена на двухсторонней зубчатой рейке с гравитационным грузом, одна сторона зубчатой рейки входит в зацепление с зубчатым колесом, вал которого жестко соединен со шпинделем вентиля, закрывающего противопожарный трубопровод, другая сторона зубчатой рейки входит в зацепление со вторым зубчатым колесом, вал которого жестко соединен со шпинделем вентиля, открывающего трубопровод, соединяющий емкость с антипирогеном и противопожарным трубопроводом.
РИСУНКИ
MM4A – Досрочное прекращение действия патента СССР или патента Российской Федерации на изобретение из-за неуплаты в установленный срок пошлины за поддержание патента в силе
Дата прекращения действия патента: 28.03.2008
Извещение опубликовано: 27.03.2010 БИ: 09/2010
|
|