|
|
(21), (22) Заявка: 2003124639/06, 18.02.2002
(24) Дата начала отсчета срока действия патента:
18.02.2002
(30) Конвенционный приоритет:
16.02.2001 (пп.1-15) DE 10108815.9
(43) Дата публикации заявки: 27.02.2005
(46) Опубликовано: 20.01.2008
(56) Список документов, цитированных в отчете о поиске:
WO 00/64030 A1, 26.10.2000. RU 2091086 C1, 27.09.1997. SU 49056 A, 31.08.1936. WO 99/19010 A1, 22.04.1999. GB 1533204 A, 22.11.1978.
(85) Дата перевода заявки PCT на национальную фазу:
16.09.2003
(86) Заявка PCT:
EP 02/01739 (18.02.2002)
(87) Публикация PCT:
WO 02/066838 (29.08.2002)
Адрес для переписки:
193036, Санкт-Петербург, а/я 24, “НЕВИНПАТ”, пат.пов. А.В.Поликарпову, рег.№ 0009
|
(72) Автор(ы):
НЮССЕР Петер (DE), МЮЛЛЕР Йоханес (DE), ПЕТЕРС Ганс-Эрхард (DE), МЮЛЛЕР Йорг (DE), КИЛИК Али (DE), ГРАЙХЕН Курт (DE), РИЕС Дитмар (DE), ВУНДЕРЛИХ Клаус (DE)
(73) Патентообладатель(и):
БЕРЛИН ХАРТ АГ (DE)
|
(54) УСТРОЙСТВО ДЛЯ ОСЕВОЙ ТРАНСПОРТИРОВКИ ЖИДКОСТЕЙ ТЕЛА
(57) Реферат:
Изобретения относятся к устройствам для осевой транспортировки жидкостей тела, таких чувствительных к воздействию как кровь. Устройство состоит из трубчатого полого корпуса (К), в котором соосно установлен нагнетающий элемент, приводимый во вращение статором двигателя и имеющий роторные лопасти. Перед нагнетающим элементом и после него установлены неподвижные входное и выходное направляющие устройства. Устройство содержит входную и выходную зоны, расположенные вблизи К. Во входной зоне вблизи К расположено входное колено, имеющее угол входного изгиба и поперечное сечение, уменьшающееся в направлении к входному направляющему устройству. В выходной зоне вблизи К расположено выходное колено, имеющее угол выходного изгиба. По меньшей мере, участки входного и выходного колен выполнены из гибкого материала. Изобретения направлены на то, чтобы выполнить входную и выходную зоны осевого насоса таким образом, что даже при изменении направления потока, предусмотренном в этих зонах, срыва потока не происходило, а сохранялся в основном невозмущенный профиль потока. 3 н. и 12 з.п. ф-лы, 3 ил.
Изобретение относится к устройству для осевой транспортировки жидкостей тела согласно ограничительной части пункта 1 формулы изобретения.
Жидкости тела, такие как кровь, могут претерпевать необратимые изменения в результате воздействия энергии; например, эмульсии и суспензии при транспортировке в соответствующих устройствах, таких как насосы, могут утратить стабильность, что нежелательно.
Кровь является особенно чувствительной жидкой системой. Эта непрозрачная красная жидкость тела позвоночных циркулирует в замкнутой системе сосудов, при этом ритмические сокращения сердца нагнетают кровь в различные области организма. Кровь транспортирует дыхательные газы – кислород и двуокись углерода, а также питательные вещества, продукты обмена веществ и эндогенные вещества. Кровеносная сосудистая система, включая сердце, герметично изолирована от окружающей среды, так что в здоровом организме кровь не претерпевает изменений, когда сердце прокачивает ее по телу. Известно, что кровь при контакте с неэндогенными материалами или в результате воздействия посторонней энергии имеет тенденцию к гемолизу и образованию тромбов. Образование тромбов может быть смертельным для организма, так как может привести к закупорке сосудов в разветвленной сосудистой системе. Гемолизом называется такое состояние, когда эритроциты в организме разрушаются сверх физиологической нормы. Гемолиз может быть вызван механическим воздействием или нарушением обмена веществ. Повышенный гемолиз вызывает повреждение многих органов и может привести к смерти человека, с другой стороны, оказалось, что, в принципе, с помощью определенных конструктивных решений можно поддержать нагнетательную деятельность сердца или даже заменить естественное сердце искусственным. Однако продолжительность работы имплантированной кардиостимулирующей системы или искусственного сердца в настоящее время ограничена, поскольку взаимодействие этих искусственных устройств с кровью и с организмом в целом все-таки вызывает вредные изменения крови и организма.
Из уровня техники известны осевые насосы для крови, состоящие в основном из цилиндрической трубы, в которой расположен нагнетающий элемент, выполненный в виде ротора двигателя, окруженного его статором. Ротор, снабженный лопастями, приводится во вращение статором двигателя и транспортирует жидкость в осевом направлении.
В WO 00/64030 описано устройство для щадящей транспортировки однофазных или многофазных жидкостей. В этом устройстве по ходу потока перед нагнетающим элементом (ротором) расположено входное направляющее устройство, а после нагнетающего элемента расположено выходное направляющее устройство. Хотя кровь при протекании через насос по существу не претерпевает нежелательных изменений, это устройство имеет недостаток, состоящий в том, что во входной зоне перед входным направляющим устройством и в выходной зоне после выходного направляющего устройства насоса могут образовываться возмущенные потоки, которые могут привести к изменению крови.
В US 4994078 описан сердечный насос, у которого входная и выходная зоны имеют соответственно сужающееся и расширяющееся поперечное сечение. Однако протекание потока крови в этих зонах проиллюстрировано недостаточно, и поэтому нельзя судить о том, каким этот поток будет после выходной зоны.
В основе изобретения лежит задача выполнить входную и выходную зоны осевого насоса таким образом, что даже при изменении направления потока, предусмотренном в этих зонах, срыва потока не происходит, а сохраняется в основном невозмущенный профиль потока.
Эта задача решена с помощью признаков отличительной части пункта 1 формулы изобретения.
Таким образом, предложено устройство для осевой транспортировки жидкостей тела, состоящее из трубчатого полого корпуса (1), пропускающего жидкость по существу в осевом направлении, в котором соосно установлен нагнетающий элемент (2), приводимый во вращение статором (3) двигателя, расположенным вне полого корпуса (1) в кожухе (8) насоса, и имеющий роторные лопасти (5), причем по ходу потока перед нагнетающим элементом (2) и после него установлены неподвижные входное и выходное направляющие устройства (6, 7); устройство содержит также входную и выходную зоны (10, 11), расположенные вблизи полого корпуса (1) с возможностью изменения направления потока; во входной зоне (10) вблизи полого трубчатого корпуса (1) расположено входное колено (12), имеющее угол (15) входного изгиба; в выходной зоне (11) вблизи полого корпуса (1) расположено выходное колено (13), имеющее угол (14) выходного изгиба; поперечное сечение входного колена (12) уменьшается в направлении к входному направляющему устройству (6); а поперечное сечение выходного колена (13) уменьшается по ходу потока до выходного цилиндра (19), отличающееся тем, что входное и выходное колена (12, 13) и входной и выходной каналы (17, 18) выполнены из гибкого материала.
Выгодные усовершенствования изобретения описаны в зависимых пунктах формулы.
По ходу потока после выходного цилиндра (19) расположены диффузор (25) потока и выходной канал (17).
Гибкий материал представляет собой по существу силикон и/или армированный силикон (ткань). Гибкость материала позволяет осуществить оптимальную оперативную имплантацию устройства согласно изобретению, а также его функционирование в грудной полости.
Согласно одному из вариантов осуществления изобретения, выходное и входное колена имеют только отдельные участки, выполненные из гибкого материала.
Отношение радиуса входного колена к диаметру входа входного колена составляет 1:2.
Поперечное сечение диффузора потока увеличивается по ходу потока.
Образование входной и выходной зон согласно изобретению в типовом осевом насосе позволяет обеспечить плавное ускорение потока, без возникновения возмущенных режимов течения. При этом оказалось особенно выгодным, чтобы угол изгиба входного колена составлял от 45° до 50°, в сочетании с изменением поперечного сечения потока. Величина угла изгиба выходного колена в этом случае составляет от 85° до 95°. В результате этого согласно изобретению достигаются гидравлические условия, характеризующиеся следующими положительными чертами:
– специальная форма входного колена обеспечивает постоянное ускорение потока, поступающего к входному направляющему устройству,
оптимизированный приток к нагнетающему элементу благодаря соответствующей конфигурации входного направляющего устройства,
– оптимизированная передача энергии в нагнетающем элементе,
– кондиционирование потока и восстановление давления в выходном направляющем устройстве,
– специальная форма выходного колена обеспечивает постоянное ускорение потока в зоне изгиба,
– кондиционирование потока в области соединительного элемента для выходного канала, что предпочтительно обеспечивается посредством постепенного расширения поперечного сечения в форме диффузора с вращательной симметрией.
Устройство согласно изобретению является особенно эффективным в случае выбора эластичных, достаточно хорошо сохраняющих форму материалов для входного и выходного колен, которые благодаря этому могут поглощать постоянные, физически обусловленные движения в области присоединения устройства к желудочку сердца и к аорте.
Изобретение в дальнейшем описано более подробно со ссылками на чертежи, на которых:
фиг.1 схематично изображает разрез типового осевого насоса с входным и выходным коленами,
фиг.2 схематично изображает разрез выходного колена,
фиг.3 схематично изображает разрез входного колена.
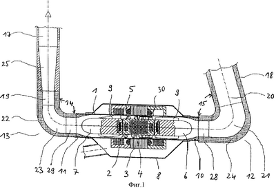
На фиг.1 схематично изображен типовой осевой насос с входным коленом 12 и выходным коленом 13. Входное колено 12 прикреплено при помощи входного патрубка 28 к входной зоне 10 цилиндрического полого корпуса 1. Выходное колено 13 прикреплено при помощи выходного патрубка 29 к выходной зоне 11 цилиндрического полого корпуса 1. В цилиндрическом полом корпусе 1 находятся, если смотреть по ходу потока, неподвижное входное направляющее устройство 6 с направляющими лопастями 9, установленный с помощью подвески нагнетающий элемент 2, состоящий из ротора 4 двигателя, лопасти 5 ротора и опорное кольцо 30. После ротора 4 двигателя, если смотреть по ходу потока, расположено неподвижное выходное направляющее устройство 7 с выходными направляющими лопастями 16. Ротор 4 двигателя приводится во вращение статором 3 двигателя, расположенным в кожухе 8 насоса. В показанном здесь в качестве примера осевом насосе на выходном колене 13 предусмотрен диффузор 25 потока. Транспортируемая кровь поступает через входной канал 18 во входной цилиндр 20 входного колена 12, где поток крови изменяет направление в соответствии с изгибом 24 входного колена и отклоняется на угол 15 входного изгиба, и затем проходит во входной патрубок 28. Поперечное сечение входного колена 12 непрерывно сужается по ходу потока вплоть до входной зоны 10. Затем кровь проходит через входное направляющее устройство 6, мимо ротора 4 двигателя и через выходное направляющее устройство 7 в выходную зону 11 цилиндрического полого корпуса 1. Далее кровь поступает в выходной патрубок 29 выходного колена 13, и в выходном колене 13 поток крови изменяет направление, отклоняясь на угол 14 выходного изгиба. Здесь тоже предусмотрено сужение поперечного сечения выходного колена 13. В данном примере выходной цилиндр 19 выходного колена 13 присоединен к диффузору 25 потока, поперечное сечение которого непрерывно увеличивается по ходу потока в направлении к выходному каналу 17. Благодаря наличию входного колена 12, которое поворачивает поток крови на угол 15 изгиба, и выходного колена 13, которое поворачивает поток крови на угол 14 изгиба, достигается невозмущенное протекание потока.
На фиг.2 схематично показано в разрезе выходное колено 13, которое обеспечивает прохождение транспортируемой крови с выхода 27 насоса через выходную зону 11 и изгиб 23 в выходной цилиндр 19 и далее в диффузор 25 потока и выходной канал 17. Благодаря такой организации потока можно избежать отрыва потока крови от внутренней стенки 22 выходного колена 13.
Входное колено 12, разрез которого схематично показан на фиг.3, поворачивает поток крови, приходящий из входного канала 18 через входной цилиндр 20, на угол 15 изгиба и направляет во входной патрубок 28. Поперечное сечение входного колена 12 непрерывно сужается вплоть до входного патрубка 28. Затем кровь через входную зону 10 подается на вход 26 насоса. Благодаря тому что здесь согласно изобретению имеет место непрерывное сужение поперечного сечения потока, отрыва потока от стенки 21 входного колена 12 не происходит.
Формула изобретения
1. Устройство для осевой транспортировки жидкости тела, состоящее из трубчатого полого корпуса, пропускающего жидкость по существу в осевом направлении, в котором соосно установлен нагнетающий элемент, приводимый во вращение статором двигателя, расположенным вне полого корпуса в кожухе насоса, и имеющий роторные лопасти, причем по ходу потока перед нагнетающим элементом и после него установлены неподвижные входное и выходное направляющие устройства, устройство содержит также входную и выходную зоны, расположенные вблизи полого корпуса с возможностью изменения направления, во входной зоне вблизи полого трубчатого корпуса расположено входное колено, имеющее угол входного изгиба и поперечное сечение, уменьшающееся в направлении к входному направляющему устройству, а в выходной зоне вблизи полого корпуса расположено выходное колено, имеющее угол выходного изгиба, отличающееся тем, что, по меньшей мере, участки входного и выходного колен выполнены из гибкого материала.
2. Устройство по п.1, отличающееся тем, что по ходу потока после выходного цилиндра выходного колена расположен диффузор потока.
3. Устройство по п.1, отличающееся тем, что гибкий материал представляет собой силикон или армированный силикон.
4. Устройство по п.1, отличающееся тем, что входное колено и выходное колено имеют отдельные участки, выполненные из гибкого материала.
5. Устройство по п.1, отличающееся тем, что отношение радиуса входного колена к диаметру входа входного колена составляет 1:2.
6. Устройство по п.2, отличающееся тем, что поперечное сечение диффузора потока увеличивается по ходу потока.
7. Устройство по п.6, отличающееся тем, что диффузор потока выполнен с вращательной симметрией.
8. Устройство по п.1, отличающееся тем, что поперечное сечение выходного колена уменьшается по ходу потока до выходного цилиндра.
9. Устройство для осевой транспортировки жидкостей тела, содержащее трубчатый полый корпус для пропускания жидкости по существу в осевом направлении, нагнетающий элемент, установленный в полом корпусе соосно ему и имеющий роторные лопасти, статор двигателя, расположенный вне полого корпуса в кожухе насоса, для вращения нагнетающего элемента, неподвижное входное направляющее устройство, расположенное по ходу потока перед нагнетающим элементом, и неподвижное выходное направляющее устройство, расположенное по ходу потока после нагнетающего элемента, входное колено, имеющее входной угол изгиба и расположенное во входной зоне вблизи полого корпуса, и выходное колено, имеющее выходной угол изгиба и расположенное в выходной зоне вблизи полого корпуса, входной канал и выходной канал, отличающееся тем, что входной и выходной каналы и, по меньшей мере, участки входного и выходного колен выполнены из гибкого материала.
10. Устройство по п.9, отличающееся тем, что все участки входного и выходного колен выполнены из гибкого материала.
11. Устройство по п.9, отличающееся тем, что поперечное сечение выходного колена уменьшается по ходу потока до выходного цилиндра.
12. Устройство по п.11, отличающееся тем, что по ходу потока после выходного цилиндра выходного колена расположен диффузор потока, поперечное сечение которого увеличивается по ходу потока и который имеет вращательную симметрию.
13. Устройство по п.9 или 10, отличающееся тем, что гибкий материал представляет собой силикон и/или армированный силикон.
14. Устройство по п.9, отличающееся тем, что отношение радиуса входного колена к диаметру входа входного колена равно 1:2.
15. Устройство для осевой транспортировки жидкостей тела, содержащее трубчатый полый корпус для пропускания жидкости по существу в осевом направлении, нагнетающий элемент, установленный в полом корпусе соосно ему и имеющий роторные лопасти, статор двигателя, расположенный вне полого корпуса в кожухе насоса, для вращения нагнетающего элемента, неподвижное входное направляющее устройство, расположенное по ходу потока перед нагнетающим элементом, и неподвижное выходное направляющее устройство, расположенное по ходу потока после нагнетающего элемента, входное колено, расположенное во входной зоне вблизи полого корпуса, и выходное колено, расположенное в выходной зоне вблизи полого корпуса и имеющее поперечное сечение, уменьшающееся по ходу потока до выходного цилиндра, и входной канал и выходной канал, причем отношение радиуса входного колена к диаметру входа входного колена равно 1:2, отличающееся тем, что входной и выходной каналы и входное и выходное колена выполнены из гибких материалов, представляющих собой силикон и/или армированный силикон.
РИСУНКИ
PD4A – Изменение наименования обладателя патента СССР или патента Российской Федерации на изобретение
(73) Новое наименование патентообладателя:
Берлин Харт ГмбХ (DE)
Адрес для переписки:
193036, Санкт-Петербург, а/я 24, ЗАО «НЕВИНПАТ»
Извещение опубликовано: 10.05.2008 БИ: 13/2008
|
|