|
|
(21), (22) Заявка: 2005132524/14, 08.03.2004
(24) Дата начала отсчета срока действия патента:
08.03.2004
(30) Конвенционный приоритет:
21.03.2003 CH 480/03
(43) Дата публикации заявки: 10.08.2006
(46) Опубликовано: 20.01.2008
(56) Список документов, цитированных в отчете о поиске:
WO 00/67661 А2, 16.11.2000. EP 0850607 A1, 01.07.1998. WO 01/30275 A1, 03.05.2001. US 6461382 A, 08.10.2002. US 6482228 A, 19.11.2002. US 5865723 A, 02.02.1999. SU 1323099 A1, 15.07.1987. ПЕТРОВСКИЙ Б.В. и др. Протезирование клапанов сердца. – М.: Медицина, 1966.
(85) Дата перевода заявки PCT на национальную фазу:
21.10.2005
(86) Заявка PCT:
IB 2004/000707 (08.03.2004)
(87) Публикация PCT:
WO 2004/082537 (30.09.2004)
Адрес для переписки:
127055, Москва, а/я 11, пат.пов. Н.К.Попеленскому, рег. № 31
|
(72) Автор(ы):
АНДРЬЕ Раймон (CH), КАЛАНГОС Афксендьос (CH)
(73) Патентообладатель(и):
Леман Кардиоваскулар СА (CH)
|
(54) ВНУТРИСТЕНОЧНОЕ АРМИРУЮЩЕЕ УСТРОЙСТВО ДЛЯ БИОЛОГИЧЕСКОГО ПРОТЕЗА И БИОЛОГИЧЕСКИЙ ПРОТЕЗ
(57) Реферат:
Изобретение относится к медицинской технике, а более конкретно к внутристеночному армирующему устройству, конструкция которого позволяет интегрировать его в биологический протез, а также к биологическому протезу, оснащенному таким устройством. Внутристеночное армирующее устройство для введения в биологический протез выполнено с возможностью установки внутри органической ткани биологического протеза и упрочнения его конструкции с обеспечением сохранения его формы после имплантации. Армирующее устройство содержит внутристеночный стержень, выполненный с возможностью введения в органическую ткань биологического протеза, и лапу, прикрепленную к первому концу стержня. Технический результат – придание жесткости протезу, сохранение его необходимой формы, при одновременном использовании максимума площади поверхности и имеющегося объема для выполнения их главной функции. 2 н. и 11 з.п. ф-лы, 4 ил.
Область техники, к которой относится изобретение.
Настоящее изобретение относится к внутристеночному армирующему устройству, конструкция которого позволяет интегрировать его в биологический протез, а также к биологическому протезу, оснащенному таким устройством.
Уровень техники
Постоянный прогресс в кардиохирургии обусловлен техническим прогрессом оборудования и используемых технологий. В частности, протез сердечного клапана представляет собой объект исследований, и в настоящее время существуют такие протезы нескольких типов.
В первую очередь, это механические протезы, которые, в основном, состоят из металлической части, содержащей клетку (корпус) и створки, которые образуют собственно клапан, а также кольцо, выполненное из синтетического материала, например тефлона, которое позволяет интегрировать устройство в периферию отверстия, где требуется замена. Несмотря на большую долговечность, протезы этого типа имеют много недостатков, в частности необходимость проведения антикоагулянтного лечения в течение всего срока службы протеза.
Существуют также биологические протезы, которые позволяют, помимо прочего, избавиться от необходимости такого антикоагулянтного лечения. Зачастую они представляют собой клапаны животных, взятые, в основном, у свиней и обработанные соответствующим образом, чтобы подготовить их для имплантации в организм человека. В настоящее время такие биологические протезы можно разделить на две категории, с одной стороны, это стентированные протезы, а с другой стороны, – нестентированные.
Протезы первой группы состоят из биологического клапана, например клапана аорты свиньи, или биологического клапана, переделанного из бычьей околосердечной сумки, и жесткого кольца. Кольцо выполнено из подходящего материала, например титана с покрытием, например, тефлоновым и окружает клапан, к которому оно прикреплено. При этом, с одной стороны, кольцо служит опорой биологическому клапану, фиксируя его в нужном месте и позволяя сохранять форму после имплантации, а с другой стороны, местом прикрепления, где накладываются швы, крепящие стентированный биологический протез к отверстию, где устанавливается клапан. Кольцо, таким образом, является искусственным промежуточным элементом между естественными стенками отверстия и имплантированным биологическим клапаном. Благодаря этой конструкции имеется возможность выполнить имплантацию биологического протеза, который подготовлен заранее, в упрощенной форме, то есть, используя только один ряд шва по его периферии на уровне кольца заменяемого “родного” клапана, при этом биологический протез прикрепляется и удерживается этой опорой – стентом. Однако обеспечивая относительную простоту и совершенство технологии имплантации, присутствие кольца создает существенные проблемы, в частности, обусловленные тем, что биологический протез, содержащий это жесткое кольцо в качестве стента, устанавливается в естественное отверстие, при этом имеющееся для установки клапана-замены пространство уменьшено, по сравнению с пространством, занимаемым ранее клапаном человека, на площадь круговой поверхности стента. В результате градиент давления в заменяющем клапане искусственно увеличен из-за наличия стента.
Поэтому в настоящее время используются также нестентированные биологические протезы, которые содержат только синтетический материал, например тефлон, который пришивается по периферии протеза в процессе подготовки протеза или биологической ткани, например околосердечной сумки, заранее подвергаемых обработке. Занимаемый объем при использовании этих двух материалов получается значительно меньше, чем со стентом описанного выше типа. Градиент давления в заменяющем клапане при этом больше соответствует градиенту в естественном клапане. Благодаря более высокой эластичности биологического протеза этого типа по сравнению со стентированными биологическими протезами, а также по сравнению с механическими протезами, эти протезы обладают преимуществом в отношении гемодинамики в отверстии, оборудованном заменяющим клапаном. К сожалению, значение этих преимуществ снижено из-за высокой сложности операции, следствием чего является большая продолжительность процедуры имплантации такого нестентированного протеза. Действительно, отсутствие стента, который фиксирует положение биологического клапана и придает необходимую стабильность его форме, заставляет хирурга в процессе имплантации накладывать дополнительный шов по периферии клапана под коронарной артерией. Кроме того, биологический протез должен быть имплантирован, например, в случае замены клапана аорты, с определенной ориентацией, которую для хирурга сложно определить, так как клапан расположен внутри естественного отверстия. Если при использовании стентированного биологического протеза жесткая структура стента может быть использована как средство обеспечения необходимой ориентации, то в случае нестентированного биологического протеза имплантация оказывается значительно более сложной из-за отсутствия такого средства ориентации.
Раскрытие изобретения
Целью настоящего изобретения является устранение вышеупомянутых недостатков известных устройств и создание армирующего устройства для биологических протезов, обеспечивающего изготовление биологических протезов, одновременно обладающих преимуществами обычных стентированных и нестентированных биологических протезов, в частности изготовление биологических протезов, которым придается жесткость и у которых сохраняется необходимая форма без использования традиционного стента, и которые используют максимум площади поверхности и имеющийся объем для выполнения их главной функции, при этом обеспечивая использование относительно простой и нетрудоемкой технологии имплантации существующих стентированных биологических протезов для установки армированных биологических протезов этого нового типа.
Таким образом, предметом данного изобретения является внутристеночное армирующее (укрепляющее) устройство для введения (итегрирования) в биологический протез, выполненное с возможностью установки внутри органической ткани биологического протеза и упрочнения (армирования) его конструкции с обеспечением сохранения его формы после имплантации, а также биологические протезы, которые оснащены по крайней мере одним таким устройством.
Устройство содержит, в частности, внутристеночный стержень, который приспособлен для введения в органическую ткань биологического протеза, и лапу, прикрепленную к первому концу стержня.
Благодаря этим средствам создано устройство, которое приспособлено для придания достаточной стабильности и жесткости биологическому протезу для поддержания им требуемой формы, без использования громоздкого обычного стента, в то время как градиент давления в заменяющем клапане, благодаря увеличенной площади поверхности, приближается к имевшемуся ранее в живом органе, благодаря чему повышается срок службы биологического протеза, достигая срока службы нестентированного биологического протеза, при этом позволяя использовать хорошую технологию имплантации стентированных биологических процессов для получаемых таким путем биологических протезов нового типа.
Дополнительные преимущества достигаются в предпочтительных вариантах осуществления изобретения, в которых оно дополнительно содержит насадку для прикрепления ко второму концу стержня. Внутристеночный стержень может быть выполнен прямым или иметь спиральную форму, или содержать на своей поверхности спиральную часть. На втором конце внутристеночного стержня может быть выполнена заостренная часть с возможностью протыкания органической ткани биологического протеза и проникновения в нее без повреждений. Лапа и насадка могут быть выполнены в форме прямой или изогнутой перекладины с кривизной, соответствующей кривизне наружной поверхности биологического протеза.
Биологический протез может включать клапан аорты животного организма, содержащий внутристеночные армирующие устройства с внутристеночным стержнем, установленным внутри трубчатой наружной стенки клапана вдоль линий пересечения этой стенки со спайками клапана. При этом внутристеночные армирующие устройства содержат лапу и/или насадку, покрытую тефлоном.
Краткое описание чертежей
Схематически и в качестве иллюстрации приложенные чертежи иллюстрируют несколько вариантов выполнения изобретения.
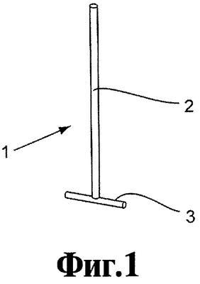
На фиг.1-3 схематически иллюстрируются принцип построения и три различных варианта выполнения внутристеночного армирующего устройства для биологических протезов.
На фиг.4 приведено схематическое изображение биологического протеза, оснащенного внутристеночным армирующим устройством, который устанавливается, например, между корнем аорты и восходящей аортой.
Осуществление изобретения
Далее приводится подробное описание изобретения со ссылками на приложенные чертежи. Описание относится к конкретному устройству, в частности к биологическому протезу, армированному устройствами в соответствии с изобретением и особенно подходящему для замены клапана аорты сердца, который используется в качестве примера и для облегчения пояснений, и не предполагает ограничения применения изобретения только этим конкретным устройством.
Этот же клапан может быть также имплантирован на место митрального клапана или трехстворчатого клапана, при условии, что соблюдено направление тока крови.
На фиг.1 показан первый вариант выполнения внутристеночного армирующего устройства 1, конструкция которого обеспечивает его интеграцию в биологический протез, в соответствии с настоящим изобретением. Это устройство содержит центральную часть, которая представляет собой внутристеночный стержень 2, пригодный для введения в органическую ткань биологического протеза, и первую концевую часть, представляющую собой лапу 3, прикрепленную перпендикулярно центральной части к первому концу стержня 2. Устройство, по крайней мере его центральная часть, таким образом, пригодно для размещения внутри органической ткани биологического протеза и позволяет, благодаря этому, укрепить его конструкцию, с тем, чтобы сохранить его форму после имплантации.
Как показано на фиг.1, центральная часть устройства 1 может быть образована простым прямым стержнем 2. Она также может иметь форму внутристеночного стержня 2, на поверхности которого имеется спиральная часть 2а в форме резьбы, как это изображено на фиг.2. Этой центральной части также может быть посредством стержня 2 придана спиральная форма, в результате чего получается миниатюрный “штопор”, как это схематически показано на фиг.3. Эти два последних варианта являются предпочтительными, поскольку они позволяют стабилизировать устройство 1 в положении, в котором оно было введено в ткань биологического протеза.
На втором конце, расположенном напротив первого конца с вышеупомянутой лапой 3, стержень может иметь заостренную часть 2b, которая пригодна для протыкания органической ткани биологического протеза и проникновения в нее без повреждений. Этот случай, в качестве примера, проиллюстрирован на фиг.2, но варианты выполнения, представленные на фиг.1 и 3, также могут обладать этими особенностями, способствующими введению внутристеночного армирующего устройства 1 в органическую ткань биологического протеза.
Как показано на фиг.3, устройство также может содержать вторую концевую часть в форме насадки 4, которая приспособлена для насаживания на второй конец центральной части устройства. В частности, в случае, когда второй конец содержит заостренную часть 2b, эта насадка выполняет функцию колпачка, закрывающего заостренную часть 2b и гарантирующего стабильность устройства 1 в положении, в котором оно было введено в органическую ткань биологического протеза. Насадка 4 может иметь форму прямой или согнутой перекладины (стержня), при этом кривизна ее соответствует кривизне наружной поверхности биологического протеза в плоскости пересечения, где должна быть размещена насадка.
Сказанное относится и к лапе 3, которая прикреплена к первому концу центральной части устройства, и которая может представлять собой просто прямую или согнутую перекладину (стержень), причем его кривизна соответствует кривизне наружной поверхности биологического протеза в плоскости пересечения, где должна быть размещена лапа 3, что обычно соответствует вышеупомянутому биологическому протезу для клапана аорты или митрального клапана или трехстворчатого клапана, приблизительно в плоскости, где расположен этот клапан.
Внутристеночное армирующее устройство 1 выполнено из материала, который подходит для обеспечения достаточной стабильности формы при сохранении определенной эластичности, например эластичного и/или полужесткого и/или жесткого полимера, или гибкого металла, например титана.
После описания отдельного устройства 1, далее, со ссылкой на фиг.4 приводится подробное описание примера выполнения биологического протеза, армированного устройством этого типа. На этом чертеже схематически изображен биологический протез для замены клапана 10 аорты, оснащенный внутристеночным армирующим устройством 1 в соответствии с настоящим изобретением, который помещен в аорту 20, между корнем аорты 21 и восходящей аортой 22.
Как показано на фиг.4, биологический протез для замены вышеупомянутого клапана 10 аорты оснащен по крайней мере одним внутристеночным армирующим устройством 1 в соответствии с описанным выше вариантом выполнения, а в данном случае предпочтительно использование трех устройств 1. Что касается биологической части протеза 10, то она содержит, в большинстве случаев, свиной клапан аорты, который оснащается, в процессе предварительной обработки перед имплантацией, внутристеночным армирующим устройством 1.
Расположение внутристеночного армирующего устройства 1 и место его установки в армированном биологическом протезе можно легко представить на изображении конфигурации оснащаемого им натурального свиного клапана аорты, соответствующего человеческому клапану, который подлежит замене. Этот клапан аорты и биологический протез, схематически показанные на фиг.4, в основном содержат три слоя 11а, 11b и 11с, образующие плоскость клапана, трубчатую наружную стенку 12, которая ранее была частью трубчатой стенки аорты животного организма, и которая окружает плоскость, образованную слоями, причем последние составляют единое целое с этой трубчатой наружной стенкой 12 по их наружной стороне, также как и для каждого из слоев 11а, 11b и 11с практически треугольные вертикальные стенки, называемые спайками 13 и проходящие к центру клапана или сердечной полости при замене митрального или трехстворчатого клапана, составляют единое целое, с одной стороны, с двумя концами слоев 11а, 11b и 11с, ориентированных внутрь клапана или сердечной полости при замене митрального или трехстворчатого клапана, и, с другой стороны, с трубчатой стенкой 12. Таким образом, ток крови может происходить в направлении от корня аорты 21 к восходящей аорте 22 или от ушка предсердия к полости желудочка, как показано стрелками на фиг.4, причем ток крови в обратном направлении невозможен. Свиной клапан аорты, который используется в биологической части армированного биологического протеза 10, извлекается из аорты животного и, в случае замены клапана аорты, описываемого здесь в качестве примера, трубчатая наружная стенка 12 обычно отрезается по синусоиде так, чтобы, с одной стороны, интегрироваться в синотубулярные соединения 14, которые соответствуют верхним точкам, относительно плоскости клапана, соприкосновения между трубчатой наружной стенкой 12 и спайками 13, и, с другой стороны, обеспечивать достаточно места для правой коронарной артерии 23а или левой коронарной артерии 23b, которые выходят на правом синусном узле 24а Вальсавы или левом синусном узле 24b Вальсавы. Часть этой стенки 12 напротив некоронарного синусного узла 24с Вальсавы также может иметь синусоидальную форму.
С учетом этой естественной конфигурации клапана аорты внутристеночный стержень 2 внутристеночных армирующих устройств 1 располагается внутри трубчатой наружной стенки 12 клапана вокруг линий пересечения этой стенки со спайками 13 клапана. Эта конфигурация показана на фиг.4, где лапа 3 устройства 1 помещена в нижней части протеза в плоскости клапана, точке, также используемой в качестве точки введения устройства в ткань биологического протеза, а насадка 4, при необходимости, располагается приблизительно на уровне синотубулярного соединения 14. Длина центральной части устройства 1 зависит от размера клапана аорты, митрального или трехстворчатого клапанов, которые должны имплантироваться, и обычно составляет от 3 до 30 мм. Длина может быть выбрана такой, чтобы соответствовать длине линии пересечения спаек 13 с трубчатой наружной стенкой 12 клапана, может быть несколько длиннее, чтобы на несколько миллиметров превышать длину синотубулярного соединения 14, а также может быть несколько короче. Лапа 3 и насадка 4 выступают в стороны перпендикулярно стержню 2 на, приблизительно, 1-4 мм, так, чтобы проходить вдоль внешней окружности биологического протеза 10. Толщина деталей устройства составляет несколько десятых долей миллиметра. Таким образом, внутристеночное армирующее устройство 1 позволяет придать требуемую стабильность свиному клапану аорты и, в частности спайкам 13 и трубчатой наружной стенке 12, для сохранения их формы после имплантации.
Лапа 3 и/или насадка 4 (при ее наличии) внутристеночных армирующих устройств 1 имеют тефлоновое покрытие. Тефлоновое покрытие также может иметь и вся наружная поверхность трубчатой наружной стенки 12 армированного биологического протеза 10. Первое позволяет, среди прочего, обеспечить изоляцию частей внутристеночного армирующего устройства 1 от потока крови; вторая мера позволяет использовать большую площадь поверхности для закрепления шва, налагаемого в процессе имплантации армированного биологического протеза 10 в тело человека.
Внутристеночное армирующее устройство в соответствии с настоящим изобретением может быть использовано для любого биологического протеза, для укрепления которого требуются средства, занимающие минимальное место, с тем, чтобы использовать объем протеза для выполнения его основной функции, например функции клапана в описанном выше примере, и поэтому использование устройства не ограничено только этим примером биологического протеза для замены сигмовидного клапана аорты, митрального клапана или трехстворчатого клапана.
Таким образом, биологический протез 10, упрочненный внутристеночным армирующим устройством 1, позволяет благодаря своей конструкции, выполнять имплантацию подготовленного и собранного заранее биологического протеза 10 относительно быстро и просто в том смысле, что для этого требуется только один шов по его окружности на уровне кольца клапана, причем клапан и, в особенности, спайки 13 укреплены и удерживаются устройствами 1, по аналогии со стентированными биологическими протезами. Поскольку биологический протез должен имплантироваться, особенно в случае замены клапана аорты, с определенной ориентацией, которую хирургу трудно видеть, так как протез располагается внутри отверстия в живой ткани, внутристеночные армирующие устройства 1 могут также быть использованы как реперное средство обеспечения необходимой ориентации, облегчая процедуру имплантации. Кроме того, имеющееся для размещения заменяющего клапана пространство соответствует заменяемому клапану человека, поскольку отсутствует громоздкая жесткая конструкция в виде обычного стента. В результате, градиент давления на заменяющем клапане также соответствует значению в живом клапане, в отличие от случая со стентом, где этот градиент давления искусственно завышен. Помимо этого, благодаря эластичности такого армированного биологического протеза по сравнению со стентированными биологическими протезами, а также искусственными протезами, достигается преимущество в отношении гемодинамики в отверстии, оснащенном таким заменяющим клапаном.
Таким образом, настоящее изобретение позволяет создать внутристеночное армирующее устройство для биологического протеза, обеспечивающее изготовление биологических протезов, которые одновременно сочетают преимущества обычных стентированных и нестентированных биологических протезов, в частности, для изготовления биологических протезов, которые сделаны более жесткими и хорошо сохраняют свою форму без использования традиционного стента, и используют максимум имеющейся площади поверхности и объема для выполнения своей основной функции, при этом позволяя перенести относительно простую и нетрудоемкую технологию имплантации существующих стентированных биологических протезов на эти новые армированные биологические протезы.
Формула изобретения
1. Внутристеночное армирующее устройство (1) для введения в биологический протез (10), отличающееся тем, что оно выполнено с возможностью установки внутри органической ткани биологического протеза (10) и упрочнения его конструкции с обеспечением сохранения его формы после имплантации, и содержит внутристеночный стержень (2), выполненный с возможностью введения в органическую ткань биологического протеза (10), и лапу (3), прикрепленную к первому концу стержня (2).
2. Устройство (1) по п.1, отличающееся тем, что оно дополнительно содержит насадку (4) для прикрепления ко второму концу стержня (2).
3. Устройство (1) по п.1, отличающееся тем, что внутристеночный стержень (2) выполнен прямым.
4. Устройство (1) по п.1, отличающееся тем, что внутристеночный стержень (2) имеет спиральную форму.
5. Устройство (1) по п.1, отличающееся тем, что внутристеночный стержень (2) содержит на своей поверхности спиральную часть (2а).
6. Устройство (1) по п.1, отличающееся тем, что на втором конце внутристеночного стержня (2) выполнена заостренная часть (2b) с возможностью протыкания органической ткани биологического протеза (10) и проникновения в нее без повреждений.
7. Устройство (1) по п.1, отличающееся тем, что лапа (3) выполнена в форме прямой перекладины.
8. Устройство (1) по п.1, отличающееся тем, что лапа (3) выполнена в виде изогнутой перекладины с кривизной, соответствующей кривизне наружной поверхности биологического протеза (10).
9. Устройство (1) по одному из пп.2-8, отличающееся тем, что насадка (4) выполнена в виде изогнутой перекладины с кривизной, соответствующей кривизне наружной поверхности биологического протеза (10).
10. Биологический протез (10), оснащенный, по крайней мере, одним внутристеночным армирующим устройством (1) по одному из пп.1-9.
11. Биологический протез (10) по п.10, отличающийся тем, что он включает клапан аорты животного организма, содержащий внутристеночные армирующие устройства (1).
12. Биологический протез (10) по п.11, отличающийся тем, что внутристеночные армирующие устройства (1) содержат внутристеночный стержень (2), установленный внутри трубчатой наружной стенки (12) клапана вдоль линий пересечения этой стенки (12) со спайками (13) клапана.
13. Биологический протез (10) по п.12, отличающийся тем, что внутристеночные армирующие устройства (1) содержат лапу (3) и/или насадку (4), покрытую тефлоном.
РИСУНКИ
|
|