|
| На основании пункта 3 статьи 13 Патентного закона Российской Федерации от 23 сентября 1992 г. № 3517-I патентообладатель обязуется передать исключительное право на изобретение (уступить патент) на условиях, соответствующих установившейся практике, лицу, первому изъявившему такое желание и уведомившему об этом патентообладателя и федеральный орган исполнительной власти по интеллектуальной собственности, – гражданину РФ или российскому юридическому лицу. |
|
(21), (22) Заявка: 2006111423/13, 07.04.2006
(24) Дата начала отсчета срока действия патента:
07.04.2006
(46) Опубликовано: 20.01.2008
(56) Список документов, цитированных в отчете о поиске:
КОРНИЕНКО П.Ф. и др. Справочник по аппаратуре, приборам, инструментарию и лабораторному оборудованию ветеринарного назначения, 2-е издание, переработанное и дополненное. – Урожай, 1987, с.55. SU 103304 A1, 01.01.1956. RU 32382 U1, 20.09.2003.
Адрес для переписки:
656066, г.Барнаул, ул. 50 лет СССР, 13, кв.49, К.А.Густокашину
|
(72) Автор(ы):
Густокашин Константин Анатольевич (RU)
(73) Патентообладатель(и):
Густокашин Константин Анатольевич (RU)
|
(54) ПРИБОР ДЛЯ ВЗЯТИЯ КРОВИ ИЗ ЯРЕМНОЙ ВЕНЫ КРУПНЫХ ЖИВОТНЫХ
(57) Реферат:
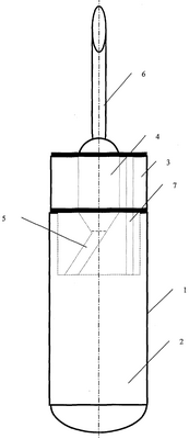
Прибор для взятия крови из яремной вены крупных животных используется при проведении диагностических исследований. Прибор содержит трубчатый корпус 1, один из концов которого заглушен, а во второй конец корпуса вставлен коннектор 3 с иглодержателем 4, установленным параллельно оси симметрии корпуса. В коннекторе 3 выполнен канал 5, соединяющий иглодержатель с полостью 2 корпуса 1. Канал 5 выполнен под углом 20-25° к оси симметрии корпуса 1. Полость корпуса 1 соединена дренажным каналом 7 с атмосферой. Такое выполнение прибора позволяет повысить его удобство при использовании и эксплуатационные качества. 1 ил.
Изобретение относится к области ветеринарии и может применяться для взятия крови из яремной вены у крупных животных при проведении диагностических исследований.
Известен прибор для взятия крови, включающий трубчатый корпус и емкость для сбора крови (Изобретатель и рационализатор, № 4, 1990, с.16). Недостатком данного прибора является то, что им невозможно осуществлять забор крови из яремной вены у крупных сельскохозяйственных животных.
Наиболее близким по своей технической сущности является прибор для взятия крови, включающий трубчатый корпус, один конец его выполнен заглушенным, а во второй вставлен коннектор, внутри которого выполнен канал, соединяющий иглодержатель с полостью корпуса (Корниенко П.Ф., Трефилов А.А., Шохор З.И., Белоглазов П.Г. Справочник по аппаратам, приборам, инструментарию и лабораторному оборудованию ветеринарного назначения. «Урожай», 1987 г., с.55).
Недостатком данного прибора является то, что им можно пользоваться только при одном положении руки, что не всегда бывает удобно из-за индивидуальных особенностей животного, окружающей обстановки и навыков специалиста, берущего кровь.
Неправильное взятие крови у сельскохозяйственных животных для диагностических нужд влияет на качество и точность проводимого исследования, эффективность которого нередко снижается из-за гемолиза эритроцитов, вызванного несоблюдением правил взятия крови (отсутствие направленного тока крови на стенку пробирки и несоблюдение температурного режима в первые минуты после взятия крови). Из-за неудобства пользования вышеуказанным прибором практически повсеместно ветеринарными специалистами нарушаются правила техники введения иглы в яремную вену. Вместо прокалывания кожи и введения иглы в стенку яремной вены под углом 45…50° по направлению к голове (В.П.Урбан и др.) ветеринарные специалисты упирают канюлю иглы в первую фалангу указательного пальца или зажимают ее между указательным и большим пальцем (что весьма травмоопасно), резким ударом вводят иглу под углом исключительно 80-90°. Результатом этого нередко бывает пробивание вены насквозь или непопадание в нее. Если слои стенки сосуда при введении иглы под углом 45° сдвигаются, а после выполнения маниапуляции и изъятия иглы практически сразу прекращают ток крови, то при введении иглы под прямым углом кровь еще значительный период времени сочится из раны или накапливается в подкожной клетчатке, нередко вызывая флебиты у животных.
Задачей настоящего изобретения является повышение удобства в работе и эффективности эксплуатационных качеств прибора.
Настоящая задача решается тем, что в приборе для взятия крови из яремной вены крупных животных, включающем трубчатый корпус, один из концов которого заглушен, а во второй вставлен коннектор с иглодержателем, в котором выполнен канал, соединяющий иглодержатель с полостью корпуса, иглодержатель установлен параллельно оси симметрии корпуса, а канал, соединяющий иглодержатель с полостью корпуса, выполнен под углом к оси симметрии корпуса в 20-25°, при этом трубчатый корпус соединен дренажным каналом с атмосферой.
На чертеже показана схема прибора для взятия крови.
Прибор включает в себя трубчатый корпус 1, имеющий заглушенный один из концов и образующий полость 2, а во второй конец корпуса вставлен коннектор 3, на наружном конце которого установлен параллельно оси симметрии корпуса иглодержатель 4, а в самом коннекторе выполнен канал 5, соединяющий иглодержатель 4 с полостью 2 корпуса 1. Канал 5 выполнен под углом к оси симметрии корпуса в 20-25°. В иглодержатель 4 вставлена игла для забора крови 6, а внутренняя полость 2 трубчатого корпуса 1 соединена дренажным каналом 7 с атмосферой.
Прибор состоит из двух основных частей: коннектора 3 и трубчатого корпуса 1 с заглушенным концом. Верхняя часть коннектора предназначена для жесткой фиксации иглы (например, иглы Сайковича), а нижняя для соединения с трубчатым корпусом. Направление канала, по которому кровь поступает в полость 2 трубчатого корпуса 1, отклонено от оси прибора на 22°, что позволяет крови в любом случае стекать по стенке полости трубчатого корпуса без дополнительных манипуляций со стороны ветеринарного специалиста. Плотное соединение коннектора с корпусом и иглой позволяет визуально ориентироваться с углом ввода последней в вену животного. Кровь животного, поступая в полость 2 корпуса 1, вытесняет через дренажный канал 7 воздух в атмосферу, а сама, стекая по внутренней стеки корпуса, заполняет полость 2.
При изучении расположения канала под различным углом на выборке из 100 экспериментальных взятий опытным путем крови из яремной вены крупных животных для каждого угла установлено:
при угле канала к продольной оси трубчатого корпуса в 40-45° кровь, ударяясь о стенку ближней к игле части трубчатого корпуса, вызывала гемолиз в 13% случаев;
при угле канала к оси трубчатого корпуса 10-15° струя крови направлена была практически в дно трубчатого корпуса, при наполнении пробирки на 1/10 кровь била уже в набравшуюся и гемолиз при этом составлял 30% случаев;
оптимальным был угол, находящийся в пределах 20-25°, при котором струя крови была направлена примерно в середину стенки трубчатого корпуса, гемолиза эритроцитов при этом не наблюдалось и все 100 проб были годными для дальнейшей диагностики.
Установка иглодержателя параллельно оси симметрии корпуса позволяет удобно удерживать прибор в руке специалиста. При этом физиологичность введения иглы в яремную вену соответствует требованиям внутривенных манипуляций, т.е. введение иглы под углом в 45° позволяет при ее извлечении из яремной вены не допустить выход крови в подкожную клетчатку из-за смещения слоев кровеносного сосуда.
Формула изобретения
Прибор для взятия крови из яремной вены крупных животных, включающий трубчатый корпус, один из концов которого заглушен, а во второй вставлен коннектор с иглодержателем, в котором выполнен канал, соединяющий иглодержатель с полостью корпуса, отличающийся тем, что иглодержатель установлен параллельно оси симметрии корпуса, а канал, соединяющий иглодержатель с полостью корпуса, выполнен под углом к оси симметрии корпуса в 20-25°, при этом трубчатый корпус соединен дренажным каналом с атмосферой.
РИСУНКИ
|
|