|
|
(21), (22) Заявка: 2004125554/14, 20.08.2004
(24) Дата начала отсчета срока действия патента:
20.08.2004
(43) Дата публикации заявки: 10.02.2006
(46) Опубликовано: 20.01.2008
(56) Список документов, цитированных в отчете о поиске:
МАКУШИН В.Д. и др. Дифференциальная диагностика и лечение кист подколенной области. Гений ортопедии. 1998, №2, с.29-33. RU 2212204 C1, 20.09.2003. SU 1627140 A1, 15.02.1991. SU 1168234 A, 23.07.1985. RU 2121313 C1, 10.11.1998. RU 2002130113 A, 20.05.2004. US 2004078043, 22.04.2004. US 5797908 A, 25.08.1998. WO 98/20802 A1, 22.05.1998. DANEYEMEZ M.
Адрес для переписки:
640014, г.Курган, ул. М. Ульяновой, 6, РНЦ “Восстановительная травматология и ортопедия” им. акад. Г.А. Илизарова, научный отдел интеллектуальной собственности, пат. пов. Т.Н.Коваленко, рег.№ 296
|
(72) Автор(ы):
Макушин Вадим Дмитриевич (RU), Чегуров Олег Константинович (RU), Камшилов Борис Викторович (RU)
(73) Патентообладатель(и):
Федеральное государственное учреждение науки “Российский научный центр “Восстановительная травматология и ортопедия” им. акад. Г.А.Илизарова Федерального агентства по здравоохранению и социальному развитию” (ФГУН “РНЦ “ВТО” им. акад. Г.А.Илизарова Росздрава”) (RU)
|
(54) СПОСОБ И УСТРОЙСТВО ДЛЯ ЛЕЧЕНИЯ ГОНАРТРОЗА, СОПРОВОЖДАЮЩЕГОСЯ КИСТОЙ БЕЙКЕРА
(57) Реферат:
Группа изобретений относится к травматологии и ортопедии и может быть применима для лечения гонартроза, сопровождающегося синовиальной кистой. Вводят одномоментно интраоперационно в полость коленного сустава краситель. Осуществляют его нагнетание в полость кисты. Удаляют окрашенную кисту. Производят сухожильно-мышечную пластику путем подшивания сухожилия медиальной головки икроножной мышцы к косой подколенной связке и к сухожильной части полуперепончатой мышцы. Устанавливают опоры устройства на бедре и соединяют их между собой. Устанавливают опоры устройства на голени. Производят остеотомию костей голени. Соединяют проксимальную опору устройства на голени и дистальную опору устройства на бедре. Осуществляют иммобилизацию коленного сустава. При осуществлении демонтажа устройства вначале демонтируют его с бедра. Устройство для лечения гонартроза содержит две кольцевые опоры, соединенные резьбовыми стержнями, опору в виде 3/4 кольца, связанную с одной из кольцевых опор шарнирными узлами, спицы и спицы с упорными площадками, закрепленные на опорах. Устройство также снабжено двумя дополнительными опорами в виде 3/4 кольца, на каждой из которых закреплены концы спиц. Одна из дополнительных опор соединена с опорой в виде 3/4 кольца с возможностью перемещения посредством дополнительных шарнирных узлов. Изобретения позволяют улучшить условия регенерации суставного хряща, уменьшить риск рецидива кисты. 2 н. и 1 з.п. ф-лы, 6 ил.
(56) (продолжение):
CLASS=”b560m”Nerve entrapment by a firmly wrapped Baker cyst. Minim Invasive Neurosurg. 1998 Sep; 41(3): 172-4 (Abstract).
Изобретение относится к области медицины, в частности к ортопедии, а именно к способам лечения гонартроза, сопровождающегося нарушением биомеханической оси конечности и синовиальной кистой подколенной области, и может быть использовано в клинических отделениях, специализирующихся на лечении ортопедических заболеваний с помощью устройств внешней фиксации.
Известен способ высокой вальгизирующей клиновидной остеотомии большеберцовой кости, во фронтальной плоскости, с иссечением клина соответственно величине угла коррекции деформации. После удаления костного клина и коррекции деформации производится остеосинтез отломков большеберцовой кости металлическими скобами (А.с. 976967 СССР. Опубл. 30.11.82 г., Бюл. №44, с.17).
Однако известный способ лечения гонартроза с помощью клиновидно-резекционной вальгизирующей остеотомии большеберцовой кости весьма травматичен, приводит к укорочению конечности. Кроме того, при выполнении данного способа в 31,3% встречаются осложнения: внутрисуставные переломы проксимального отломка большеберцовой кости, неполноценный остеосинтез. Способ не предусматривает лечения кисты с одновременной коррекцией оси конечности.
Известен способ одномоментной коррекции и фиксации фрагментов большеберцовой кости аппаратом Волкова-Оганесяна при ее остеотомии по поводу варусной деформации у больных с гонартрозом (О.А.Ушакова, Н.М.Голикова. Корригирующие операции в лечении деформирующего артроза коленного сустава. Межвузовский сборник научных трудов, Алма-Ата, 1982, с.67-72).
Однако при выполнении шарнирной или полуцилиндрической остеотомии не всегда достигается точное сопоставление берцовых костей с биомеханической осью конечности в силу геометрии выполняемого сечения кости и своевременная коррекция положения артикулирующих поверхностей. Кроме этого, способ не предусматривает приемов улучшения условий регенерации суставного хряща, оздоровления полости сустава и способа регуляции процессов репаративного остеогенеза при коррекции нестабильности. Нередко при выполнении данного способа наблюдаются замедленная консолидация, сосудистые нарушения и уменьшение объема движений в суставе. Кроме того, способ также не предусматривает лечения кисты.
Известна компоновка аппарата Илизарова при лечении переломов области коленного сустава, состоящая из четырех кольцевых опор (две на голени, две на бедре), позволяющая создать условия для разгрузки коленного сустава (К.К.Нигматуллин. Чрескостный остеосинтез при лечении переломов области коленного сустава. Гений ортопедии. – 1996. – №1. – С.71-73).
Данная компоновка не предназначена для лечения гонартроза и синовиальной кисты подколенной области.
Однако данный способ не предусматривает коррекции биомеханической оси конечности, не создает условий для профилактики дальнейшего прогрессирования дегенеративно-дистрофических процессов в коленном суставе, что способствует рецидивированию кисты.
Известен способ и устройство (состоящее из трех опор на голени) для лечения гонартроза, позволяющие малотравматичным путем производить коррекцию оси конечности. Способ включает в себя чрезголовчатую остеотомию малоберцовой кости, остеотомию большеберцовой кости выше бугристости, коррекцию и фиксацию фрагментов костей голени с помощью чрескостного аппарата, который содержит три опоры, соединенные резьбовыми стержнями (Патент РФ 2212204. МПК7 А61В 17/56, 17/66. Способ и устройство для лечения гонартроза / Макушин В.Д. (РФ), Чегуров O.K. (РФ), Казанцев В.И. (РФ), РНЦ “ВТО” им. акад. Г.А.Илизарова (РФ). – №99117685/14; Заявл. 05.08.1999; Опубл. 20.09.2003, Бюл. 26).
Однако известные способ и устройство не предусматривают дозированной разгрузки сустава с одновременным лечением синовиальной кисты подколенной области.
Задачей настоящего изобретения является разработка способа лечения гонартроза, сопровождающегося нарушением биомеханической оси конечности и синовиальной кистой подколенной области, и устройства для его осуществления, позволяющих в один этап выполнить удаление синовиальной кисты с коррекцией биомеханической оси конечности, расправление синовиальных заворотов коленного сустава с улучшением трофики его тканей.
Поставленная задача решается тем, что в способе лечения гонартроза, включающем коррекцию биомеханической оси, фиксацию фрагментов костей голени с помощью устройства для лечения гонартроза, одномоментно интраоперационно, перед остеотомией костей голени, вводят в полость коленного сустава краситель, осуществляют его нагнетание в полость кисты, окрашенную кисту удаляют, производят сухожильно-мышечную пластику, выполняют фиксацию фрагментов костей голени, при этом коленный сустав иммобилизируют в нейтральном положении, выполняют рентгенографию коленного сустава с полной его нагрузкой, после демонтажа устройства с бедра назначают курс ЛФК, продолжая фиксацию фрагментов костей голени до их консолидации, после чего устройство с костей голени демонтируют, для осуществления этого способа используют устройство для лечения гонартроза, содержащее соединенные между собой резьбовыми стержнями две кольцевые опоры с закрепленными на них спицами и 3/4 опору с закрепленными на ней спицами, соединенную с одной из кольцевых опор шарнирными узлами, которое снабжено двумя дополнительными 3/4 опорами, на каждой из которых закреплены концы спиц, при этом одна из дополнительных 3/4 опор соединена с 3/4 опорой с возможностью перемещения посредством дополнительных шарнирных соединений.
Целесообразно для фиксации коленного сустава при выполнении функциональных рентгенограмм коленного сустава с его полной нагрузкой в устройстве каждое из дополнительных шарнирных соединений выполнить из резьбового стержня с ушком на одном конце, которое связано посредством болтового соединения с кронштейном, закрепленным на втором кронштейне, закрепленном на одной из дополнительных полукольцевых опор.
Целесообразно для определения контуров кисты и окрашивания синовиальной оболочки в качестве красителя использовать раствор фурацилина.
Для более четкого определения площади поверхности синовиальной оболочки в качестве красителя использовать раствор метиленового синего.
Настоящее изобретение поясняют подробным описанием со ссылкой на конкретный пример выполнения способа, со ссылками на прилагаемые схему устройства и фотокопии рентгенограмм, на которых:
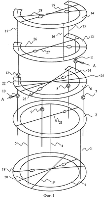
Фиг.1 изображена схема устройства;
Фиг.2 изображает дополнительное шарнирное соединение, то же, что и фиг.1, согласно изобретения;
Фиг.3 – рентгенограммы правой нижней конечности пациентки до лечения;
Фиг.4 – рентгеноконтрастные артрограммы правого коленного сустава пациентки до лечения;
Фиг.5 – рентгенограммы правой нижней конечности в процессе лечения;
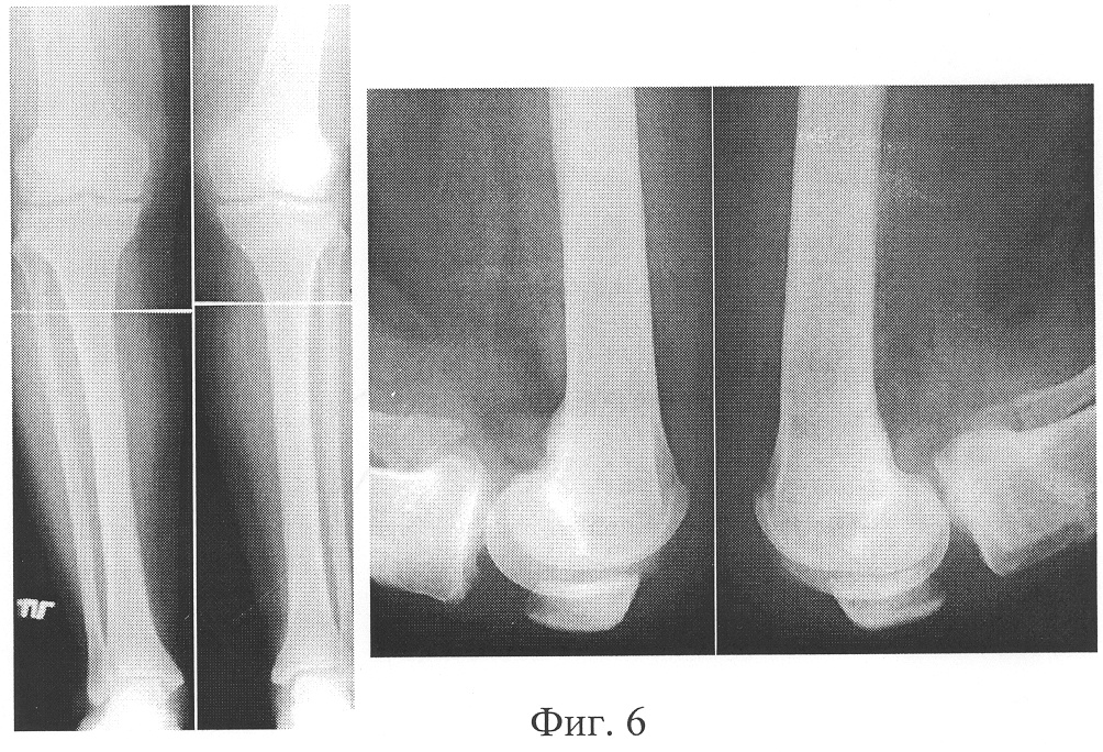
Фиг.6 – рентгенограммы конечностей в отдаленные сроки.
Устройство для лечения деформирующего артроза коленного сустава, выполненное согласно полезной модели, содержит две кольцевые опоры 1 и 2 (Фиг.1), соединенные резьбовыми стержнями 3, 4 и 5. С кольцевой опорой 2 соединена с возможностью перемещения опора 6, выполненная в виде 3/4 кольца. Последняя соединена посредством шарнирных узлов 7, 8, 9, 10 с кольцевой опорой 2. Кроме того, 3/4 опора 6 связана с возможностью перемещения дополнительными шарнирными узлами 11 и 12 с одной из дополнительных 3/4 опор 13. Последняя соединена со второй дополнительной 3/4 опорой 14 резьбовыми стержнями 15, 16. 17. На каждой из кольцевых опор 1 и 2, 3/4 опоры 6 и дополнительных 3/4 опорах 13 и 14 закреплены концы спиц соответственно 18, 19 и 20, 21, 19 и 20, 21, 22, 23, 24 и 25, 26 и 27, 28 и 29.
Целесообразно для фиксации коленного сустава при выполнении функциональных рентгенограмм коленного сустава с его полной нагрузкой в устройстве для лечения гонартроза каждый из шарнирных узлов 7, 8, 9, 10 (Фиг.2) и дополнительных шарнирных узлов 11, 12 выполнить из резьбового стержня 30 с ушком на одном конце, которое связано посредством болтового соединения 31 с кронштейном 32, закрепленным на втором кронштейне 33, закрепленном на одной из дополнительных 3/4 опор 13.
Способ и устройство для лечения гонартроза используют следующим образом.
Оперативное лечение проводят под эпидуральной анестезией.
После обработки нижней конечности раствором антисептика производят пункцию верхнего заворота коленного сустава по верхне-наружному краю надколенника, вводят в его полость раствор красителя в объеме 20-40 мл. Выполняют 3-5 кратное максимальное сгибание и разгибание голени с редрессацией коленного сустава и расправлением облитерированных заворотов, с нагнетанием раствора красителя в полость кисты. После чего в проекции кисты выполняют продольный, линейный, послойный разрез кожи, подкожно-жировой клетчатки, собственной фасции голени. Затем тупо и остро выделяют кисту до ее соустья, при этом медиальную головку икроножной мышцы оттягивают крючком. В случае прокола стенок и спадения кисты ее прошивают, берут на держалку и продолжают выделение. Затем кисту иссекают, удаляют. Соустье ушивают узловыми швами. После чего посредством 2-3 кратного сгибания и разгибания голени проверяют герметичность ушивания отверстия в капсуле коленного сустава и в случае отсутствия герметичности полости сустава в местах вытекания раствора красителя накладывают дополнительные швы до полной герметизации. Операционную рану промывают 50 мл 0,25% раствора новокаина с 1,0 канамицина. Затем выполняют сухожильно-мышечную пластику посредством подшивания сухожилия медиальной головки икроножной мышцы к косой подколенной связке и к сухожильной части полуперепончатой мышцы и послойно ушивают рану.
Для определения контуров кисты и окрашивания синовиальной оболочки в качестве красителя используют раствор фурацилина.
Для более четкого определения площади поверхности синовиальной оболочки в качестве красителя используют раствор метиленового синего.
В средней трети бедра (Фиг.1) в кософронтальной плоскости проводят две взаимоперекрещивающиеся спицы 28 и 29 с упорными площадками навстречу друг другу. Концы спиц закрепляют на плоскости опоры 14, выполненной в виде 3/4 кольца.
В нижней трети бедра в кософронтальной плоскости проводят две взаимоперекрещивающиеся спицы 26 и 27 с упорными площадками навстречу друг другу. Концы спиц закрепляют на плоскости опоры 13, выполненной в виде 3/4 кольца.
Дополнительные опоры 13 и 14 соединяют между собой посредством трех резьбовых стержней 15, 16, 17 и устанавливают таким образом, что разомкнутые их части располагаются по задней поверхности бедра.
В верхней трети голени в кософронтальной плоскости проводят четыре взаимоперекрещивающиеся спицы 22, 23, 24, 25 проксимальнее бугристости большеберцовой кости, две из которых 23 и 24 с упорными площадками навстречу друг другу. Концы спиц закрепляют на плоскости опоры 6, выполненной в виде 3/4 кольца, которую устанавливают таким образом, что разомкнутая ее часть располагается по задней поверхности голени.
В средней трети голени во фронтальной плоскости проводят одну спицу 21 таким образом, что упорную площадку располагают с медиальной стороны большеберцовой кости. Спицу фиксируют на плоскости опоры 2, выполненной в виде кольца.
В нижней трети голени в кософронтальной плоскости проводят три взаимоперекрещивающиеся спицы 18, 19, 20, две из которых 18 и 20 с упорными площадками навстречу друг другу. Причем спицу 18 с напайкой с латеральной стороны проводят через обе кости. Спицы фиксируют на плоскости опоры 1.
Опоры 1 и 2, установленные в средней и нижней третях на голени, соединяют посредством трех резьбовых стержней 3, 4, 5. Опору 6, установленную на проксимальном отделе голени, связывают посредством четырех шарнирных узлов 7, 8, 9, 10, каждый из которых состоит из гаек 34, 35 и резьбового стержня 30 с ушком на одном конце (Фиг.2), которое связано посредством болтового соединения 31 с кронштейном 32, закрепленным на втором кронштейне 33, с опорой 2 с возможностью перемещения с помощью гаек 34 и 35.
В процессе операции, после выполнения надбугорковой остеотомии большеберцовой кости и чрезголовчатой остеотомии малоберцовой кости в верхней трети, перемещают проксимальный конец дистального фрагмента большеберцовой кости внутри посредством тракции за спицу 21, проведенную в средней трети голени во фронтальной плоскости с упорной площадкой по медиальной поверхности большеберцовой кости, которая зафиксирована на плоскости опоры 2. Частично одномоментно на операционном столе устраняют угловую деформацию голени посредством дистракции по попарно установленным с медиальной и латеральной сторон голени стержням 30 (Фиг.2) шарнирных узлов 7, 8, 9, 10 (соединительных элементов) с помощью гаек 34, 35. Причем по стержням 30 шарнирных узлов 7, 8, установленных с медиальной стороны голени, осуществляют дистракцию посредством откручивания гаек 35 и закручивания гаек 34, а по стержням 30 шарнирных узлов 9, 10, установленных с латеральной стороны голени, – компрессию посредством откручивания гаек 34 и закручивания гаек 35.
Проксимальную опору на голени 6 и дистальную на бедре 13 соединяют с помощью шарнирных узлов 11 и 12, выполненных идентично шарнирным узлам 7, 8, 9, 10. При этом коленный сустав иммобилизируют в нейтральном положении при помощи собранного устройства, создавая условия для его разгрузки.
Операцию завершают наложением швов на раны и асептических повязок на раны и вокруг спиц. Выполняют контрольную рентгенографию оперированного коленного сустава.
Назначают антибиотики широкого спектра действия на 5-7 дней, курс фармакологической коррекции гонартроза (ингибиторы протеаз, хондропротекторы и иммунорегуляторы). Полную нагрузку на конечность разрешают на второй день после операции.
После чего на 4-5 день после операции осуществляют с медиальной стороны голени дозированно по стержням 30 шарнирных узлов 7 и 8 дистракцию темпом 1 мм в сутки посредством откручивания гаек 35 и закручивания гаек 34, а с латеральной стороны – по стержням 30 шарнирных узлов 9 и 10 компрессию отломков берцовых костей темпом 1 мм в сутки посредством откручивания гаек 34 и закручивания гаек 35 до устранения остаточной деформации и сопоставления с механической осью конечности, что контролируется выполнением функциональных рентгенограмм (стоя на оперированной конечности) в двух проекциях. Перед выполнением функциональных рентгенограмм шарнирные узлы 11 и 12 распускаются посредством раскручивания гаек 34, 35 и съема болтового соединения 31. После чего коленный сустав фиксируют в исходном положении, начинают фиксацию фрагментов костей голени в достигнутом положении до их сращения.
Швы в подколенной области снимают на 12-14 день после операции. Фиксацию коленного сустава продолжают в течение 3 недель, затем снимают резьбовые стержни 15, 16, 17, опоры 13 и 14 демонтируют, удаляют спицы 26 и 27, 28 и 29. На раны от спиц накладывают асептические повязки. На 2-3 день после снятия дополнительных опор с бедра назначают ЛФК коленного сустава. Затем продолжают фиксацию фрагментов костей голени до их сращения.
После формирования компрессионного и дистракционного регенератов производят клиническую пробу на прочность сращения. При положительном результате аппарат демонтируют. На раны от спиц накладывают асептические повязки.
Пример осуществления способа.
Больная З., 49 лет. Диагноз: двусторонний гонартроз II стадии, варусная деформация коленных суставов 170°, кисты Бейкера с двух сторон.
Жалобы на боли в коленных суставах при ходьбе по внутренним отделам коленных суставов в проекции суставной щели, боли и “выбухания” в подколенных областях. Лечилась консервативно по месту жительства без эффекта.
На рентгенограммах коленных суставов: варусное отклонение голеней 10° во фронтальной плоскости. Суставная щель в медиальном отделе сужена, а в латеральном расширена (Фиг.3). На рентгеноконтрастных артрограммах коленных суставов в подколенных областях визуализируются кисты Бейкера (Фиг.4).
На первом этапе: под эпидуральной анестезией выполнена операция по вышеописанной методике правой нижней конечности. Для определения контуров в полость коленного сустава введено 40 мл фурацилина. Выполнено пять максимальных сгибаний и разгибаний в коленном суставе. В проекции кисты выполнен продольный линейный послойный разрез кожи, подкожно-жировой клетчатки, собственной фасции голени. После чего тупо и остро выделена киста до соустья. Затем киста удалена, а соустье ушито узловыми швами. Посредством 2-3 кратного сгибания и разгибания голени и отсутствия подтекания раствора фурацилина из полости коленного сустава проведен контроль герметичности ушивания соустья. Операционную рану промыли 50 мл 0,25% раствора новокаина с 1,0 канамицина. Затем выполнили сухожильно-мышечную пластику посредством подшивания сухожилия медиальной головки икроножной мышцы к косой подколенной связке и к сухожильной части полуперепончатой мышцы и послойно ушили рану.
Для более четкого определения площади поверхности синовиальной оболочки в качестве красителя возможно использовать раствор метиленового синего.
Далее наложено вышеописанное устройство из пяти опор. Произведена чрезголовчатая остеотомия малоберцовой кости, и, отступя проксимальнее на 1 см от бугристости, выполнена поперечная остеотомия большеберцовой кости. Произведено одномоментное устранение деформации. Спицей выполнена фронтальная туннелизация надколенника. Коленный сустав фиксирован в нейтральном положении (Фиг.5).
На второй день больная приступила к ходьбе при помощи 2 костылей. Через 2 недели сняты швы с раны, а через 18 дней сняты опоры с бедра. Больная приступила к ЛФК коленного сустава. Затем продолжалась фиксация фрагментов на голени в течение 45 дней. После рентгенологического контроля и оценки компрессионного и дистракционного регенератов на прочность сращения устройство было демонтировано.
На втором этапе выполнена аналогичная операция на левой нижней конечности.
На контрольном осмотре справа через 2 года, слева через 1 год ось конечностей правильная, ходит без дополнительных средств опоры, болей в суставе практически нет. Функция суставов – полная (Фиг.6). По данным ультразвукового метода исследования в подколенной области кист нет.
Предлагаемые способ и устройство для лечения гонартроза позволяют в один этап производить удаление синовиальной кисты подколенной области и щадящим образом устранить деформацию голени и перекос суставной щели коленного сустава, расправить облитерированные завороты и улучшить микроциркуляцию и трофику суставного хряща с восстановлением биомеханической оси и выравниванием щели сустава, что равномерно распределяет нагрузку на его медиальный и латеральный отделы и тем самым улучшает кинематику коленного сустава.
Разгрузка коленного сустава и вышеперечисленные положительные эффекты создают условия для регенерации суставного хряща и предупреждают прогрессирование дегенеративно-дистрофических процессов.
Кроме того, улучшается косметический вид конечности, походка у пациентов, а также купируется болевой синдром в области коленного сустава.
Предлагаемые способ и устройство для лечения гонартроза используются в ортопедических отделениях клиники ГУ РНЦ “ВТО” им. академика Г.А.Илизарова, а элементы устройства выпускаются опытным предприятием ГУ РНЦ “ВТО”.
Формула изобретения
1. Способ лечения гонартроза, сопровождающегося синовиальной кистой, включающий коррекцию биомеханической оси, фиксацию фрагментов костей голени с помощью устройства для лечения гонартроза, отличающийся тем, что одномоментно интраоперационно вводят в полость коленного сустава краситель, осуществляют его нагнетание в полость кисты, окрашенную кисту удаляют, производят сухожильно-мышечную пластику путем подшивания сухожилия медиальной головки икроножной мышцы к косой подколенной связке и к сухожильной части полуперепончатой мышцы, устанавливают опоры устройства на бедре и соединяют их между собой, устанавливают опоры устройства на голени и соединяют их между собой, производят остеотомию костей голени, соединяют проксимальную опору устройства на голени и дистальную опору устройства на бедре, осуществляют иммобилизацию коленного сустава, при осуществлении демонтажа устройства вначале демонтируют его с бедра, после чего назначают курс ЛФК и продолжают фиксацию костей голени до их консолидации, после чего устройство с костей голени также демонтируют.
2. Устройство для лечения гонартроза, содержащее две кольцевые опоры, соединенные резьбовыми стержнями, опору в виде 3/4 кольца, связанную с одной из кольцевых опор шарнирными узлами, спицы и спицы с упорными площадками, закрепленные на опорах, отличающееся тем, что оно снабжено двумя дополнительными опорами в виде 3/4 кольца на каждой из которых закреплены концы спиц, при этом одна из дополнительных опор соединена с опорой в виде 3/4 кольца с возможностью перемещения посредством дополнительных шарнирных узлов.
3. Устройство по п.2, отличающееся тем, что каждый из дополнительных шарнирных узлов выполнен из резьбового стержня с ушком на одном конце, которое связано посредством болтового соединения с кронштейном, закрепленном на втором кронштейне и одной из дополнительных опор в виде 3/4 кольца.
РИСУНКИ
MM4A – Досрочное прекращение действия патента СССР или патента Российской Федерации на изобретение из-за неуплаты в установленный срок пошлины за поддержание патента в силе
Дата прекращения действия патента: 21.08.2007
Извещение опубликовано: 10.04.2009 БИ: 10/2009
|
|