|
|
(21), (22) Заявка: 2006108075/14, 15.03.2006
(24) Дата начала отсчета срока действия патента:
15.03.2006
(46) Опубликовано: 20.01.2008
(56) Список документов, цитированных в отчете о поиске:
RU 2153844 С2, 10.08.2000. RU 2065297 C1, 20.08.1996. RU 2118124 C1, 27.08.1998. RU 2103913 C1, 10.02.1998. CN 1103773 А, 21.06.1995. JP 6277191 A, 04.10.1994.
Адрес для переписки:
403003, Волгоградская обл., р.п.Городище, ул.40 лет Сталинградской битвы, д.7, кв.15, М.Е.Бочарову
|
(72) Автор(ы):
Бочаров Михаил Евгеньевич (RU)
(73) Патентообладатель(и):
Бочаров Михаил Евгеньевич (RU)
|
(54) УСТРОЙСТВО ДЛЯ ДИАГНОСТИКИ И ЛЕЧЕНИЯ ОРГАНИЗМА ПАЦИЕНТА
(57) Реферат:
Изобретение относится к медицинской технике. Устройство содержит управляющий блок и лечебно-диагностическую поверхность, которая выполнена гибкой, многослойной и охватывает тело пациента. Внутри лечебно-диагностической поверхности расположены слоями соединительные проводники, а также проводники выбора и проводники питания. Каждый слой соединительных проводников, проводников выбора и проводников питания состоит из параллельных проводников с шагом расположения, равным расстоянию между центрами расположенных рядом контактного датчика и емкостного датчика. Параллельные проводники одного слоя перпендикулярны параллельным проводникам другого слоя, расположенного выше или ниже. На стороне лечебно-диагностической поверхности, обращенной к пациенту, расположены температурные, контактные и емкостные датчики. Емкостные датчики расположены внутри гибкой плоскости за слоем радиопрозрачного материала. Температурные датчики расположены на внутренней стороне контактных датчиков. С внутренней стороны каждого контактного и емкостного датчика расположено коммутирующее устройство. Каждое коммутирующее устройство соединено проводником с одним из проводников каждого слоя параллельных проводников лечебно-диагностической поверхности. Лечебно-диагностическая поверхность имеет сквозные каналы для газообмена между пациентом и окружающей средой. Управляющий блок включает в себя коммутатор соединительных проводников и проводников выбора, коммутатор емкостных датчиков, коммутатор контактных датчиков, блок измерения температуры, n-блоки и m-блоки. Каждый из n-блоков содержит измерительный блок и генерирующий блок для емкостных датчиков, а каждый из m-блоков содержит измерительный блок и генерирующий блок для контактных датчиков. Управляющий блок содержит также центральный процессор, банк данных, монитор, устройство управления и ввода данных, устройство выдачи информации и индивидуальный блок памяти пациента. Изобретение позволяет расширить функциональные возможности устройства. 2 з.п. ф-лы, 3 ил.
Изобретение относится к медицинской технике, а именно к многофункциональным устройствам, сочетающим в себе одновременно диагностические и лечебные функции.
Известно устройство для диагностики и лечения организма пациента, содержащее КВЧ-генератор с широкополосной антенной, приемник электромагнитного сигнала, блок питания, ЭВМ, пульт управления, контроллер, программируемый источник питания, соединенный со входом КВЧ-генератора, СВЧ-радиометр, дешифратор команд управления, аналогово-цифровой преобразователь, ЭВМ соединена коаксиальной линией для передачи данных в последовательном коде и оснащена операционной системой для анализа фрагментов спектра измеряемого сигнала и сравнения его с образцами из библиотеки эталонов (см. описание изобретения к патенту РФ №2226116, МПК A61N 5/02, А61В 5/04, публикация 27.03.2004).
Недостатком известного устройства является ограниченность сферы применения и значительное время для проведения процедур.
Известно устройство для исследования состояния биообъекта, содержащее сенсорный блок, состоящий из датчиков, генератора сигналов и устройства управления съемом информации, ЭВМ второго уровня и сеть ЭВМ верхнего уровня с экспертной системой, автоматизированные рабочие места (АРМ) медицинских специалистов и автоматизированное рабочее место (АРМ) технического обслуживания и диагностики, сенсорный блок выполнен в виде цилиндрической камеры, размеры которой не менее чем размеры биообъекта, в которую введены послойно расположенные и последовательно соединенные между собой элементы аналоговой памяти, усилители и аналого-цифровые преобразователи с интеллектуальной системой предварительной обработки сигналов, элементы цифровой памяти, суперЭВМ первичного уровня, коммутаторы, соответствующие входы/выходы которых соединены с первым и вторым входом/выходом устройства управления съемом информации, третий вход/выход которого соединен с третьим входом/выходом ЭВМ второго уровня, четвертый вход-выход которой подключен к одному из коммутаторов с образованием ими параллельных информационных каналов, которые подключены к соответствующим датчикам и организованы в двумерную матрицу, свернутую непрерывно в цилиндрическую форму, дополнительно содержится сферическая приставка к камере сенсорного блока, выполненная из аналогичных схемных элементов и организованная подобно основной цилиндрической камере, замыкающая ее с головной части (см. описание изобретения к патенту РФ №2153844, МПК А61В 5/05, G06F 19/00, G06F 159:00, публикация 10.08.2000).
Недостатком известного устройства является сложность конструкции и ограниченная сфера использования.
Задачей заявляемого изобретения является расширение функциональных возможностей устройства и сферы его использования.
Сущность изобретения заключается в следующем.
Устройство для диагностики и лечения организма пациента содержит управляющий блок и лечебно-диагностическую поверхность, которая выполнена гибкой, многослойной и охватывает тело пациента, внутри лечебно-диагностической поверхности расположены слоями соединительные проводники, а также проводники выбора и проводники питания, каждый слой соединительных проводников, проводников выбора и проводников питания состоит из параллельных проводников с шагом расположения, равным расстоянию между центрами расположенных рядом контактного датчика и емкостного датчика, параллельные проводники одного слоя перпендикулярны параллельным проводникам другого слоя, расположенного выше или ниже, на стороне лечебно-диагностической поверхности, обращенной к пациенту, расположены температурные, контактные и емкостные датчики, причем емкостные датчики расположены внутри поверхности за слоем радиопрозрачного материала, а температурные датчики расположены на внутренней стороне контактных датчиков, с внутренней стороны каждого контактного и емкостного датчика расположено коммутирующее устройство, каждое коммутирующее устройство соединено проводником с одним из проводников каждого слоя параллельных проводников лечебно-диагностической поверхности, лечебно-диагностическая поверхность имеет сквозные каналы для газообмена между пациентом и окружающей средой, управляющий блок включает в себя коммутатор соединительных проводников и проводников выбора, коммутатор емкостных датчиков, коммутатор контактных датчиков, блок измерения температуры, n-блоки и m-блоки, причем каждый из n-блоков содержит измерительный блок и генерирующий блок для емкостных датчиков, а каждый из m-блоков содержит измерительный блок и генерирующий блок для контактных датчиков, управляющий блок содержит также центральный процессор, банк данных, монитор, устройство управления и ввода данных, устройство выдачи информации и индивидуальный блок памяти пациента.
Кроме того, управляющий блок содержит дополнительно устройство мобильной связи.
Кроме того, устройство дополнительно содержит трубчатые полости, расположенные вдоль тела пациента внутри лечебно-диагностической поверхности, и систему регулирования температуры с насосом для прокачивания воды.
Это позволяет:
– расширить функциональные возможности устройства;
– расширить сферу использования устройства;
– при диагностике проводить весь комплекс диагностики пациента, в стационарных и мобильных условиях, используя любые методы и способы, а также создавать банк данных для каждого пациента с копированием его на индивидуальный блок памяти;
– при лечении проводить весь комплекс физиотерапевтического лечения в стационарных и мобильных условиях, с использованием для лечения полученных данных об индивидуальных физических параметрах пациента, а также наблюдать реакцию организма на проводимое лечение.
Сущность изобретения поясняется чертежами, где:
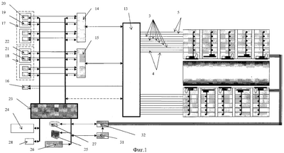
на фиг.1 показано устройство для диагностики и лечения организма пациента, функциональная схема стационарного варианта;
на фиг.2 – то же, лечебно-диагностическая поверхность, разрез;
на фиг.3 – то же, функциональная схема мобильного варианта.
Устройство для диагностики и лечения организма пациента содержит лечебно-диагностическую поверхность 1, которая охватывает тело 2 пациента, и управляющий блок (не показан). Внутри лечебно-диагностической поверхности 1 расположены слоями соединительные проводники 3, а также проводники 4 выбора и проводники 5 питания, каждый слой соединительных проводников 3, проводников 4 выбора и проводников 5 питания состоит из параллельных проводников с шагом расположения, равным расстоянию между центрами расположенных рядом контактного датчика 6 и емкостного датчика 7. Параллельные проводники одного слоя перпендикулярны параллельным проводникам другого слоя, расположенного выше или ниже. На стороне лечебно-диагностической поверхности 1, обращенной к телу 2 пациента, расположены температурные, контактные и емкостные датчики 8, 6 и 7, причем емкостные датчики 7 расположены внутри поверхности за слоем 9 радиопрозрачного материала, а температурные датчики 8 расположены на внутренней стороне контактных датчиков 6. С внутренней стороны каждого контактного и емкостного датчика 6 и 7 расположено коммутирующее устройство 10. Каждое коммутирующее устройство 10 соединено проводником 11 с одним из проводников каждого слоя параллельных проводников 3, 4 и 5 лечебно-диагностической поверхности 1. Лечебно-диагностическая поверхность 1 имеет сквозные каналы 12 для газообмена между телом 2 пациента и окружающей средой. Управляющий блок включает в себя коммутатор 13 соединительных проводников 3 и проводников 4 выбора, коммутатор 14 емкостных датчиков 7, коммутатор 15 контактных датчиков 6, блок 16 измерения температуры, n-блоки 17 и m-блоки 18. Причем каждый из n-блоков 17 содержит измерительный блок 19 и генерирующий блок 20 для емкостных датчиков 7, а каждый из m-блоков 18 содержит измерительный блок 21 и генерирующий блок 22 для контактных датчиков 6. Управляющий блок содержит также центральный процессор 23, банк 24 данных, монитор 25, устройство 26 управления и ввода данных, устройство 27 выдачи информации и индивидуальный блок 28 памяти пациента.
Кроме того, управляющий блок содержит дополнительно устройство 29 мобильной связи.
Кроме того, устройство дополнительно содержит трубчатые полости 30, расположенные вдоль тела 2 пациента, внутри гибких плоскостей лечебно-диагностической поверхности 1, и систему 31 регулирования температуры с насосом 32 для прокачивания воды.
Устройство работает следующим образом.
Лечебно-диагностическая поверхность 1 состоит из большого количества емкостных и контактных датчиков 7 и 6, между любыми двумя из которых, соответственно емкостных или контактных, может быть проведен при разных частотах замер параметров электромагнитного поля или сопротивления цепи постоянному или переменному току или замерен потенциал. Выбор пары емкостных датчиков 7 осуществляет центральный процессор 23. Коммутацию измерительных блоков 19 или генерирующих блоков 20 осуществляет по команде центрального процессора 23 коммутатор 14 емкостных датчиков 7. Аналогично осуществляется коммутация для контактных датчиков 6. Соединение соответствующего блока 19, 20, 21 или 22 непосредственно с парой датчиков 6 или 7 или блока 16 с датчиком 8 осуществляется коммутатором 13 соединительных проводников 3 и проводников 4 выбора. Для этого коммутатор 13 формирует модулированный сигнал, который, используя два перпендикулярных слоя параллельных проводников выбора, достигает заданного коммутирующего устройства 10. Коммутирующее устройство 10 подключает датчик, на котором оно установлено, к одному из соединительных проводников 3. Соединительные проводники 3 также расположены параллельно в слое, а слои между собой перпендикулярны. Количество слоев соединительных проводников 3 определяется производительностью центрального процессора 23 и коммутатора 13, а также уровнем задач, решаемых предлагаемым устройством, например для мобильного варианта количество слоев может быть меньше. В предлагаемом варианте слоев соединительных проводников 3 шесть – по два проводника на каждый из видов датчиков. Но это не обязательно, так, например, при замерах одного и того же параметра одним и тем же датчиком может быть использован нижний слой, а потом один из верхних. Здесь может идти речь только о погрешности измерения, которую вносят проводники разной длины и которую необходимо учитывать, а также перепроверять другим замером, с другим проводником. Также можно увеличить количество датчиков лечебно-диагностической поверхности или добавить к существующим датчикам новые, например, лазерные или ультразвуковые излучатели. При подключении соединительного проводника 3 к датчику 6, 7 или 8 или проводника 4 выбора к коммутирующему устройству 10 остальные близлежащие проводники 3 или 4 заземляются коммутатором 13, для уменьшения помех и взаимного влияния. Для этих целей и для экранирования от внешних электромагнитных полей, в том числе и электромагнитного поля Земли, служат два слоя параллельно-перпендикулярных проводников 5 питания коммутаторов 10 и возможных дополнительно установленных излучателей. Количество одновременных процессов измерения или подачи напряжения на пары датчиков 6 или 7 определяется количеством комплектов блоков 19 и 20 или 21 и 22, входящих в n-блоки 17 емкостных датчиков или в m-блоки 18 контактных датчиков. При технологических возможностях коммутатор 10 может частично выполнять функции управляющего блока, а именно проводить по командам центрального процессора 23 соответствующие измерения датчиками 6, 7 или 8 или подавать на датчики 6 или 7 тот или иной сигнал. Информацию о проведенных измерениях коммутирующее устройство 10 передает в центральный процессор 23, что существенно упростит работу устройства и повысит его эффективность.
Для предотвращения перегрева и потоотделения предусмотрена система вентиляции и газообмена между телом 2 пациента и окружающей средой через сквозные каналы 12. В стационарном варианте предусмотрена дополнительная система, которая содержит трубчатые полости 30, расположенные вдоль тела 2 пациента внутри гибких плоскостей лечебно-диагностической поверхности 1, и систему 31 регулирования температуры с насосом 32 для прокачивания воды.
Преимущество устройства при диагностике – это большая скорость опроса датчиков и производство измерений по возможности большим количеством датчиков одновременно и обработка результатов измерений с учетом данных, полученных от всех датчиков лечебно-диагностической поверхности.
Устройство при лечении создает электромагнитные поля и постоянные или пульсирующие токи в соответствии с выбранной методикой лечения, результатами диагностирования и с учетом информации хранящейся в банке 24 данных и индивидуальном блоке 28 памяти пациента.
Лечебно-диагностическая поверхность охватывает все тело 2 пациента или в мобильном варианте часть тела 2. Для ориентировки тела 2 пациента или его отдельных частей и лечебно-диагностической поверхности 1 предусмотрено начальное и периодическое позиционирование положения пациента. Оно заключается в замерах емкостными и контактными датчиками в контрольных точках, характерных для человека как биологического объекта, в общем, и для конкретного пациента – в частности. Такими точками могут быть точки «классических меридианов» тела человека, биологически активные точки и т.д., а также точки на наружной поверхности пальцев, ногти, локтевые и коленные суставы, пупок, молочные железы и т.д. Позиции этих точек на теле, их параметры, пропорции и положение тела, его изменения в процессе жизнедеятельности (изменение роста, веса, последствия оперативных вмешательств, перенесенных заболеваний, ожогов, обморожений, послеродовых изменений и т.д.), а также параметры тела и всех органов пациента, его карта в здоровом или в больном состоянии, сохраняется в банке данных и в индивидуальном блоке памяти пациента, что позволяют проводить диагностику или лечение, используя максимально возможное или частичное покрытие тела пациента лечебно-диагностирующей поверхностью. Возможно также и применение веществ-маркеров, например жидкостей, содержащих ферромагнетики. Периодическое позиционирование положения пациента относительно лечебно-диагностической поверхности позволит изменять положение пациента во время сеанса диагностики или лечения, а также в случае длительного лечения менять свое положение сознательно или бессознательно, например спать, а лечебно-диагностическая поверхность может быть выполнена в виде одеяла и матраца. В мобильном варианте пациент может сам снимать и одевать или прикреплять лечебно-диагностическую поверхность.
Режим диагностики осуществляется с помощью обработки центральным процессором результатов многочисленных замеров контактными, емкостными и температурными датчиками. Особенность является то, что замеры могут быть осуществлены большим количеством пар датчиков, входящих в лечебно-диагностическую поверхность, выбор пар датчиков, между которыми производится замер, а также частоту напряжения, при которой производится замер, осуществляет центральный процессор. Выбор центрального процессора основан на любых известных способах исследования биологического объекта с помощью измерений параметров электрического тока и электромагнитных полей, проходящих или излучаемых исследуемым объектом. Одновременно с пассивным исследованием пациента возможна диагностика с применением дополнительных воздействий, например при дополнительном воздействии на объект электрического тока или электромагнитного поля, или при физической нагрузке пациента, или при действии медикаментозного средства, или другого фактора. Результатом диагностирования может быть как трехмерное изображение любого органа и его действия в динамике, так и получение данных о биохимических процессах внутри этого органа, что равносильно постоянному забору материала для проведения биохимических анализов. Этот результат достигается с помощью большого количества замеров исследуемого органа, осуществляемых датчиками лечебно-диагностической поверхности на разных частотах. Эти частоты делятся на заранее фиксированные и соответствующие резонансным частотам того или иного интересуемого материала или вещества, например определенный компонент в составе крови или мочи, мокрота, желчь и т.д., а также переменные частоты, анализируя измеренный спектр которых, можно делать выводы о происходящих процессах в органе. Анализ получаемой информации об органе, диагностика которого проводится, складывается из информации, изначально известной об этом органе, и о возможных процессах, которые могут быть. Эта информация может хранится в банке 24 данных и в индивидуальном блоке 28 памяти пациента.
Режим лечения осуществляют исходя из любого известного способа воздействия электрическими токами и электромагнитными полями на биологические объекты.
Заявленное изобретение позволяет:
– при диагностике проводить весь комплекс диагностики пациента, в стационарных и мобильных условиях, используя любые методы и способы, а также создавать банк данных для каждого пациента с копированием его на индивидуальный блок памяти;
– при лечении проводить весь комплекс физиотерапевтического лечения, в стационарных и мобильных условиях, с использованием для лечения полученных данных об индивидуальных физических параметрах пациента, а также наблюдать реакцию организма на проводимое лечение;
– расширить функциональные возможности устройства и сферу его использования.
Формула изобретения
1. Устройство для диагностики и лечения организма пациента, содержащее управляющий блок и лечебно-диагностическую поверхность, которая выполнена гибкой, многослойной и охватывает тело пациента, внутри лечебно-диагностической поверхности расположены слоями соединительные проводники, а также проводники выбора и проводники питания, каждый слой соединительных проводников, проводников выбора и проводников питания состоит из параллельных проводников с шагом расположения, равным расстоянию между центрами расположенных рядом контактного датчика и емкостного датчика, параллельные проводники одного слоя перпендикулярны параллельным проводникам другого слоя, расположенного выше или ниже, на стороне лечебно-диагностической поверхности, обращенной к пациенту, расположены температурные, контактные и емкостные датчики, причем емкостные датчики расположены внутри поверхности за слоем радиопрозрачного материала, а температурные датчики расположены на внутренней стороне контактных датчиков, с внутренней стороны каждого контактного и емкостного датчика расположено коммутирующее устройство, каждое коммутирующее устройство соединено проводником с одним из проводников каждого слоя параллельных проводников лечебно-диагностической поверхности, лечебно-диагностическая поверхность имеет сквозные каналы для газообмена между пациентом и окружающей средой, управляющий блок включает в себя коммутатор соединительных проводников и проводников выбора, коммутатор емкостных датчиков, коммутатор контактных датчиков, блок измерения температуры, n-блоки и m-блоки, причем каждый из n-блоков содержит измерительный блок и генерирующий блок для емкостных датчиков, а каждый из m-блоков содержит измерительный блок и генерирующий блок для контактных датчиков, управляющий блок содержит также центральный процессор, банк данных, монитор, устройство управления и ввода данных, устройство выдачи информации и индивидуальный блок памяти пациента.
2. Устройство по п.1, отличающееся тем, что управляющий блок содержит дополнительно устройство мобильной связи.
3. Устройство по п.1, отличающееся тем, что оно дополнительно содержит трубчатые полости, расположенные вдоль тела пациента внутри гибких плоскостей лечебно-диагностической поверхности, и систему регулирования температуры с насосом для прокачивания воды.
РИСУНКИ
|
|