|
|
(21), (22) Заявка: 2006107181/12, 07.03.2006
(24) Дата начала отсчета срока действия патента:
07.03.2006
(30) Конвенционный приоритет:
08.03.2005 CH 00396/05
(46) Опубликовано: 20.01.2008
(56) Список документов, цитированных в отчете о поиске:
US 5193438 А, 16.03.1993. ЕР 0766943 A1, 09.04.1997. CA 2568246 A1, 22.02.2001. RU 2214147 C2, 20.10.2003.
Адрес для переписки:
129010, Москва, ул. Б.Спасская, 25, стр.3, ООО “Юридическая фирма Городисский и Партнеры”, пат.пов. С.А.Дорофееву
|
(72) Автор(ы):
ВЕТТЕРЛИ Хайнц (CH)
(73) Патентообладатель(и):
САЭКО АйПиАр ЛИМИТЕД (IE)
|
(54) КОФЕВАРКА
(57) Реферат:
Изобретение относится к устройству для приготовления напитков. Кофеварка содержит, по меньшей мере, один контейнер для приема кофейных зерен, а также снабженный заварочной камерой заварочный модуль для экстрагирования помолотого кофе с помощью заварочной воды. Контейнер для зерен разделен на два отделения, причем каждое отделение согласовано с собственной мельницей. Выпуск соответствующей мельницы оканчивается в общем, служащем для заполнения заварочной камеры подающем канале. Кофеварка снабжена задатчиком, который служит для предварительного выбора количественной доли кофейных зерен, которые отбираются из соответствующего отделения и перемалываются с помощью соответствующей мельницы. Технический результат заключается в обеспечении возможности приготавливать кофейный напиток, в котором используются несколько сортов зерен в их определенном соотношении. 7 з.п. ф-лы, 1 ил.
Изобретение относится к кофеварке согласно ограничительной части п.1 формулы изобретения.
Кофеварки типа, о котором идет речь, используются преимущественно в домашнем хозяйстве и служат для полностью автоматического приготовления свежих кофейных напитков. Для приготовления кофейного напитка из контейнера для зерен подается соответственно определенное количество кофейных зерен в мельницу и там перемалывается. Помолотые зерна или соответственно кофейный порошок подаются в заварочную камеру, где подвергают сжатию, а затем через него под давлением пропускают заварочную воду и экстрагируют. Для того чтобы пользователю дать возможность изготовить кофейный напиток из иного, чем помещенный в контейнер для зерен сорта кофе, известны кофеварки, которые снабжены наполнительным каналом, через который помолотый кофе может направляться непосредственно в заварочную камеру, т.е. в обход мельницы.
Из US 5193438 известна кофеварка, которая снабжена двумя контейнерами для зерен и двумя мельницами. Оси вращения обеих мельниц проходят горизонтально. Выпускные отверстия обеих мельниц связаны с вертикальным патрубком, который имеет общее разгрузочное отверстие. Вертикальный патрубок в целях простой очистки должен быть легко удаляем. Под разгрузочным отверстием патрубка расположена установленная с возможностью поворота опора, которая снабжена двумя расположенными диаметрально противоположно друг другу приемными камерами для помолотого кофе. Опора установлена с возможностью поворота таким образом, что соответствующая приемная камера может поворачиваться из положения наполнения в положение заваривания, в котором (последнем) принятый соответствующей приемной камерой кофейный порошок может завариваться для приготовления кофейного напитка. Установка двух независимых контейнеров для зерен и двух мельниц должна дать возможность приготовлять два различных кофейных напитка.
Из ЕР-А-0472272 известна полностью автоматизированная кофеварка для приготовления кофе эспрессо, которая наряду с обычными компонентами имеет устройство для образования молочной пены, а также два контейнера для зерен с двумя соответствующими мельницами. В то время как один контейнер для зерен предусмотрен для обычных кофейных зерен, другой контейнер для зерен выполнен для кофейных зерен, не содержащих кофеина. Под обеими мельницами расположено заварочное устройство, которое с помощью подающего канала непосредственно связано с контейнером для зерен. Другой контейнер для зерен с помощью загрузочного канала с электромеханическим приводом может соединяться с заварочным устройством. Благодаря этой конструкции становится возможным по выбору отбирать и перемалывать кофейные зерна из того или иного контейнера для зерен, чтобы загрузить заварочное устройство либо обычным кофейным порошком, либо порошком, не содержащим кофеина, и приготовить свежий соответствующий кофейный напиток.
Наконец из ЕР-А-766943 известна кофеварка, снабженная электронным управляющим устройством, которая также имеет два контейнера для зерен и две соответствующие мельницы. Электронное управляющее устройство предусмотрено для управления мельницами. Управляющее устройство должно при этом среди прочего учитывать износ соответствующей мельницы, чтобы можно было обеспечить постоянное качество приготовляемого кофейного напитка. В противоположность обеим названным выше кофеваркам в этой кофеварке предусмотрено два отдельных заварочных устройства в виде двух ручных фильтродержателей, которые можно закреплять под соответствующей мельницей.
Исходя из приведенного уровня техники задача изобретения состоит в том, чтобы усовершенствовать кофеварку согласно ограничительной части п.1 формулы изобретения таким образом, чтобы пользователь имел возможность приготавливать кофейный напиток, в котором используются не только один сорт зерен для приготовления кофейного напитка.
Для этого согласно изобретению предоставляется кофеварка согласно п.1 формулы изобретения.
Благодаря тому, что кофеварка снабжена средствами предварительного выбора, с помощью которых количественная доля кофейных зерен, которые отбираются из соответствующего отделения или контейнера для зерен и перемалываются с помощью соответствующей мельницы и используются для варки кофейного напитка, может изменяться, пользователь может для приготовления кофейного напитка использовать оба сорта зерен. По выбору можно, конечно, также использовать только тот или другой сорт зерен или кофе для приготовления кофейного напитка.
Предпочтительные варианты осуществления устройства описываются более подробно в зависимых пунктах 2-8 формулы изобретения.
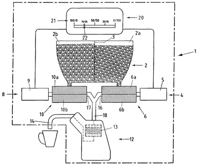
Предпочтительный пример осуществления изобретения поясняется далее более подробно посредством чертежа, на котором кофеварка представлена схематически. Кофеварка 1 имеет контейнер 2 для зерен, который с помощью разделительной перемычки 3 разделен на два отделения 2а, 2b. Под соответствующим отделением 2а, 2b соответственно расположена мельница 4, 8. Обе мельницы 4, 8 снабжены соответственно двумя мельничными дисками 6а, 6b; 10а, 10b, из которых соответственно нижний мельничный диск 6b, 10b приводится в действие от электродвигателя 5, 9, в то время как верхний мельничный диск 6а, 10а установлен без возможности вращения. Кофеварка 1 включает в себя далее снабженный заварочной камерой 13 заварочный модуль 12, который служит для экстрагирования помолотых кофейных зерен посредством заварочной воды. Заварочный модуль 12 снабжен выпуском 14 для приготовленного кофейного напитка.
Разделенный таким образом контейнер 2 для зерен пригоден, в частности, для приема двух различных сортов зерен. Например, первое отделение можно заполнить кофейными зернами Арабика, а другое кофейными зернами Колумбия. Другой вариант может состоять, например, в том, что в одно отделение вводятся кофейные зерна, не содержащие кофеина, так что при необходимости в любое время можно приготовить кофе, содержащий пониженное количество кофеина или не содержащий кофеина.
Каждая мельница 4, 8 снабжена выпуском 16, 17 для помолотого кофе. Эти оба выпуска 16, 17 оканчиваются в общем, служащем для заполнения заварочной камеры подающем канале 18, который проходит вниз по существу в вертикальном направлении, так что помолотый кофе под воздействием силы тяжести может попадать через этот подающий канал 18 в заварочную камеру 13. Заварочный модуль 12 установлен с возможностью поворота между положением наполнения и показанным здесь положением заваривания, в котором помолотый кофе в уплотненном (сжатом) виде принимается заварочной камерой 13. Необходимые для поворота заварочного модуля 12 перемещающие элементы не представлены.
Кроме того, кофеварка снабжена элементом 20 предварительного выбора в форме снабженного шкалой 21 задатчика 22, который служит для предварительного выбора количественной доли кофейных зерен, которая отбирается из соответствующего отделения 2а, 2b и перемалывается соответствующей мельницей 4, 8 и используется для варки кофейного напитка. В данном случае задатчик 22 находится в положении 75/25, что означает, что для варки кофейного напитка 75% количества кофе отбирается из левого отделения 2b, в то время как остальные 25% из правого отделения 2а. Задатчик 22 связан с электронным управляющим устройством (не показано), с помощью которого соответствующая мельница 4, 8 приводится в действие в зависимости от количественной доли кофейных зерен, которое должно отбираться из соответствующего отделения 2а, 2b для приготовления кофейного напитка. Соответствующее регулирование количества предпочтительно осуществляется путем измерения числа оборотов соответствующей мельницы 4, 8. Для этого обе мельницы 4, 8 оснащены датчиком числа оборотов (не показан). В данном случае это означает, что левая мельница в целом должна выполнить в три раза больше оборотов, чем правая мельница, для того чтобы для варки кофе 75% количества кофе происходило из левого отделения 2b, в то время как остальные 25% подавались из правого отделения 2а.
Если для приготовления кофе используют смесь кофейных порошков, которая включает в себя оба сорта, то мельницы 4, 8 предпочтительно, по меньшей мере, частично включаются одновременно с тем, чтобы оба сорта кофе смешивались уже в подающем канале 18 и в заварочную камеру 13 подавалась гомогенная смесь кофейных порошков. Одновременное приведение в действие обеих мельниц 4, 8 имеет дальнейшее преимущество, состоящее в том, что процесс помола благодаря этому сокращается во времени. Конечно, также является возможным обе мельницы 4, 8 включать одну за другой.
Путем сдвига задатчика 22 влево или вправо можно изменять соответствующую количественную долю кофейных зерен, которые отбираются из соответствующего отделения 2а, 2b для приготовления кофейного напитка. Понятно, что вместо показанного задатчика 22, с помощью которого можно осуществить в целом пять количественных вариаций, от 100% зерен из одного отделения до 100% зерен из другого отделения, также возможны любые другие ступени вариаций количества, вплоть до плавного варьирования. Вместо задатчика 22 можно, например, также предусмотреть вращающуюся ручку, поворотно-нажимную кнопку или большое число отдельных, при необходимости, программируемых кнопок. Также возможно управление с помощью датчика контакта или приближения, например, в форме сенсорного экрана.
Большое преимущество сформированной таким образом кофеварки 1 состоит в том, что благодаря непосредственному согласованию мельницы 4, 8 с соответствующим отделением 2а, 2b или соответствующим контейнером для зерен в соответствующей мельнице подвергается помолу лишь один сорт кофе, так что, по меньшей мере, вплоть до наполнения соответствующего отделения 2а, 2b с помощью соответствующей мельницы 4, 8 всегда перемалывается один и тот же сорт зерен и в мельнице 4, 8 не остается никаких остатков другого сорта зерен. С другой стороны, для варки кофейного напитка могут использоваться также различные сорта зерен, причем также может изменяться их количественная доля. Наконец, следует заметить, что, конечно, можно также предусмотреть три или больше различных отделений или контейнеров для зерен, причем также и в этом случае каждое отделение или контейнеры для зерен согласовывается с собственной мельницей.
Формула изобретения
1. Кофеварка (1), по меньшей мере, с одним контейнером (2) для кофейных зерен, с мельницей для перемалывания кофейных зерен, а также со снабженным заварочной камерой (13) заварочным модулем (12) для экстрагирования помолотых кофейных зерен с помощью заварочной воды, причем контейнер (2) для зерен разделен, по меньшей мере, на два отделения (2а, 2b) или соответственно имеются, по меньшей мере, два контейнера для зерен, причем каждое отделение (2а, 2b) или каждый контейнер для зерен согласован с мельницей (4, 8), отличающаяся тем, что имеет, по меньшей мере, одно средство (20) предварительного выбора, с помощью которого может изменяться количественная доля кофейных зерен, которые отбираются из соответствующего отделения (2а, 2b) или контейнера для зерен, перемалываются с помощью соответствующей мельницы (4, 8) и используются для варки кофейного напитка.
2. Кофеварка (1) по п.1, отличающаяся тем, что средство (20) предварительного выбора включает в себя поворотный или смещаемый задатчик, датчик контакта или приближения или несколько нажимных кнопок.
3. Кофеварка (1) по п.1 или 2, отличающаяся тем, что средство (20) предварительного выбора связано с электронным управляющим устройством для управления соответствующей мельницей (4, 8).
4. Кофеварка (1) по п.1, отличающаяся тем, что средство (20) предварительного выбора выполнено таким образом, что количественная доля кофейных зерен, которые отбираются из соответствующего отделения (2а, 2b) и контейнера для зерен, перемалываются с помощью соответствующей мельницы (4, 8) и используются для варки кофейного напитка, может изменяться плавно или ступенчато между 0 и 100% или соответственно между 100 и 0%.
5. Кофеварка (1) по п.3, отличающаяся тем, что электронное управляющее устройство выполнено таким образом, что обе мельницы (4, 8) могут включаться одновременно.
6. Кофеварка (1) по п.1, отличающаяся тем, что каждая мельница (4, 8) снабжена выпуском (16, 17) для помолотого кофе, причем выпуски (16, 17) оканчиваются в общем служащем наполнению заварочной камеры (13) подающем канале (18).
7. Кофеварка (1) по п.5, отличающаяся тем, что заварочный модуль (12) установлен с возможностью сдвига или поворота между положением наполнения и положением заваривания, причем он в положении наполнения связан с подающим каналом.
8. Кофеварка (1) по п.1, отличающаяся тем, что соответствующая мельница (4, 8) снабжена, по меньшей мере, одним вращающимся во время процесса помола перемалывающим диском (6b, 10b) и имеется, соответственно, датчик для регистрации числа оборотов соответствующего мельничного диска (6b, 10b), причем, далее, предусмотрено электронное управляющее устройство, с помощью которого может изменяться число оборотов соответствующего мельничного диска (6b, 10b) в зависимости от предварительно выбираемого средствами (20) предварительного выбора количественной доли кофейных зерен количества кофейных зерен, которые используются из соответствующего отделения (2а, 2b) или контейнера для зерен для варки кофейного напитка.
РИСУНКИ
|
|