|
|
(21), (22) Заявка: 2006115122/12, 02.05.2006
(24) Дата начала отсчета срока действия патента:
02.05.2006
(46) Опубликовано: 20.01.2008
(56) Список документов, цитированных в отчете о поиске:
SU 471094 А, 28.08.1975. SU 249843 А, 16.04.1971. RU 2110004 С1, 27.04.1998. RU 2079030 С1, 10.05.1997. DE 3530143 А1, 26.02.1987.
Адрес для переписки:
400012, г.Волгоград, ГСП, 12, ул. Трехгорная, 21, ГНУ ПНИИЭМТ, В.Г. Абезину
|
(72) Автор(ы):
Абезин Валентин Германович (RU), Карпунин Василий Валентинович (RU), Сердюков Дмитрий Анатольевич (RU), Карпунин Василий Васильевич (RU), Невструев Александр Анатольевич (RU), Салдаев Александр Макарович (RU)
(73) Патентообладатель(и):
Государственное научное учреждение Поволжский научно-исследовательский институт эколого-мелиоративных технологий Российской академии сельскохозяйственных наук (RU)
|
(54) ВОДОВЫПУСК ПОЛИВНОГО ТРУБОПРОВОДА
(57) Реферат:
Изобретение относится к технике полива сельскохозяйственных культур капельным способом с помощью гибких поливных трубопроводов. Водовыпуск имеет отверстие в стенке трубопровода в форме полых усеченных разновеликих конусов, сопряженных большими основаниями. Водовыпуску придана форма шара, размещенного с возможностью перемещения между впускным и выпускным отверстиями в малых основаниях полых конусов. Шар гибкой связью соединен с фиксирующим элементом, гибкая связь обладает упругими свойствами, а на конической поверхности малого усеченного конуса выполнены канавки. Изобретение позволяет упростить конструкцию устройства, обеспечить регулируемую подачу воды. 2 з.п. ф-лы, 1 ил.
Изобретение относится к технике полива сельскохозяйственных культур капельным способом с помощью гибких поливных трубопроводов.
Известен водовыпуск поливного трубопровода, включающий корпус со сливным отверстием и крепежный элемент, соединяющий корпус с трубопроводом, при этом корпус образован двумя боковинами, соединенными сводом, состоящим из передней горизонтальной части плавно сопряженной с ней задней криволинейной горизонтальной части, направленной выпуклостью наружу, при этом выпускное отверстие корпуса размещено в нем напротив задней криволинейной части свода, а крепежные элементы выполнены в виде пластины, размещенной с внутренней стороны трубопровода и соединенной последним с ее корпусом посредством винтов, выполненных в потай, при этом пластина снабжена выступом с косым срезом, расположенным за впускным отверстием (SU, авторское свидетельство №1501981, кл. А01G 25/02, опубл. 23.08.1989, Бюл. №31).
Недостатками описанного водовыпуска являются ограниченные функциональные возможности, трудность монтажа и низкое качество полива.
Известен водовыпуск с гибким трубопроводом, включающий упругий корпус, установленный в стенке и прикрепленный к кромкам водовыпускного отверстия, одна из которых отогнута внутрь трубопровода с внешней стороны его; упругий корпус выполнен таврообразным (SU, авторское свидетельство №378592, кл. Е02В 13/02, А01G 25/02, опубл. 18.04.1973, Бюл. №19).
Недостатками данного водовыпуска являются ограниченные функциональные возможности и низкая надежность эксплуатации.
Наиболее близким техническим решением к заявленному объекту является водовыпуск, выполненный в виде установленного в отверстии трубопровода пистона, снабженного пористым элементом, перекрывающим отверстие трубопровода и прижатым к пистону, например, при помощи жестко связанной с ним пластины (SU, авторское свидетельство №471094, кл. А01G 25/02, В05В 1/20, опубл. 25.05.1975, Бюл. №19).
Недостатками данного водовыпуска, принятого в качестве прототипа, являются ограниченные функциональные возможности, низкая эксплутационная надежность и отсутствие возможности регулирования подачи воды.
Сущность изобретения заключается в следующем.
Задача, на решение которой направленно заявляемое изобретение, – повышение эксплутационной надежности и регулируемой подачи воды.
Технический результат – механизированная укладка и раскладка поливного трубопровода при эксплуатации и упрощение конструкции.
Указанный технический результат достигается тем, что в известном водовыпуске поливного трубопровода системы капельного орошения, включающем магистральную часть, имеющую замкнутую по цилиндрической поверхности стенку и водовыпуски, согласно изобретению водовыпуск выполнен в виде подвижного эластичного клапана, состоящего из запорной головки, выполненной шарообразной, а запорная головка размещена в гнезде стенки, выполненном в виде двух усеченных конусов, конфузорно направленных к поверхностям трубопровода, при этом коническая часть гнезда со стороны внутренней поверхности трубопровода имеет входные канавки, высота конических частей гнезда, обращенных к внутренней и наружной поверхностям трубопровода, имеет различную величину, шар гибкой связью соединен с фиксирующим элементом, а гибкая связь снабжена упругими свойствами.
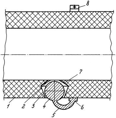
Изобретение поясняется чертежом, на котором изображен продольно-вертикальный разрез водовыпуска.
Сведения, подтверждающие возможность реализации заявленного изобретения, заключаются в следующем.
Водовыпуск поливного трубопровода включает магистральную часть в виде замкнутой по цилиндрической поверхности стенки 1, в которой через заданный интервал выполнены отверстия, которые имеют форму полых усеченных разновеликих конусов 2, 3, сопряженных большими основаниями. В отверстии установлен водовыпуск 4, выполненный в форме шара, который имеет возможность перемещения между впускным и выпускным отверстиями в малых основаниях полых конусов. Шар 4 гибкой связью 5 соединен с фиксирующим элементом 6. Гибкая связь снабжена упругими свойствами. На конической поверхности 2 малого усеченного конуса выполнены канавки 7. Фиксирующий элемент 6 имеет защелки 8.
Водовыпуск работает следующим образом.
В начале поливного трубопровода давление Н во внутренней полости будет повышенное, которое воздействует на шар-водовыпуск 4 и, преодолевая сопротивление упругости гибкой связи 5, прижимает шар 4 к стенке конуса 3. При этом площадь живого сечения потока будет уменьшаться и согласно уравнения будет уменьшаться и расход Q. При движении воды по трубопроводу из-за потерь по длине и местных потерь действующий напор Н будет уменьшаться, упругость гибкой связи 5 будет поднимать шар 4 и увеличивать живое сечение и расход Q.
Таким образом, в зависимости от давления Н внутри трубопровода будет поддерживаться постоянный расход по всей длине поливного трубопровода.
Чтобы обеспечить расход через водовыпуск при очень низком давлении Н, когда гибкая связь 5 поднимает шар 4 до касания конуса 2, на его стенке предусмотрены канавки 7. Для монтажа водовыпуска шар 4 сжимается и устанавливается в гнездо, где он фиксируется между конусами 2, 3, а фиксирующий элемент 6 охватывает снаружи стенку трубопровода и стопорится защелкой 8.
Формула изобретения
1. Водовыпуск поливного трубопровода, включающий отверстие в стенке трубопровода и водовыпуск, отличающийся тем, что отверстие в стенке трубопровода имеет форму полых усеченных разновеликих конусов, сопряженных большими основаниями, а водовыпуску придана форма шара, размещенного с возможностью перемещения между впускным и выпускным отверстиями в малых основаниях полых конусов, при этом шар гибкой связью соединен с фиксирующим элементом.
2. Водовыпуск по п.1, отличающийся тем, что гибкая связь обладает упругими свойствами.
3. Водовыпуск по п.1, отличающийся тем, что на конической поверхности малого усеченного конуса выполнены канавки.
РИСУНКИ
MM4A – Досрочное прекращение действия патента СССР или патента Российской Федерации на изобретение из-за неуплаты в установленный срок пошлины за поддержание патента в силе
Дата прекращения действия патента: 03.05.2008
Извещение опубликовано: 10.01.2010 БИ: 01/2010
|
|