|
(21), (22) Заявка: 2005106290/12, 25.06.2003
(24) Дата начала отсчета срока действия патента:
25.06.2003
(30) Конвенционный приоритет:
08.08.2002 US 10/214,957 08.08.2002 US 10/214,970
(43) Дата публикации заявки: 20.01.2006
(46) Опубликовано: 20.01.2008
(56) Список документов, цитированных в отчете о поиске:
FR 2591416 A1, 19.06.1987. US 5161473 А, 10.11.1992. US 4514114 А, 30.04.1985. SU 447980 A, 30.10.1974. SU 1821073 А1, 15.06.1993.
(85) Дата перевода заявки PCT на национальную фазу:
09.03.2005
(86) Заявка PCT:
EP 03/06675 (25.06.2003)
(87) Публикация PCT:
WO 2004/017712 (04.03.2004)
Адрес для переписки:
103735, Москва, ул.Ильинка, 5/2, ООО “Союзпатент”, А.А.Силаевой
|
(72) Автор(ы):
МЕЙЕР Брэдли Джон (US), МЭРИМЭН Нэтан Алберт (US)
(73) Патентообладатель(и):
ДИР ЭНД КОМПАНИ (US)
|
(54) СЕЯЛКА
(57) Реферат:
Сеялка содержит главный бункер с сопловым устройством, из которого продукт транспортируется сжатым воздухом к узлам выдачи с дозаторами. Воздушный насос пневматически соединен несколькими воздухопроводами, по числу узлов выдачи, с боковой стенкой соплового устройства вверх по течению. Каждый дозатор через продуктопровод соединен с боковой стенкой соплового устройства вниз по течению. Воздухопроводы соединены с воздушными входными каналами, выполненными в сопловом устройстве главного бункера. Напротив воздушных входных каналов расположены соответствующие продуктовые выходные каналы для приема воздушного потока и содержащегося в воздушном потоке продукта. Продуктовые выходные каналы соединены с продуктопроводами. В свою очередь, продуктопроводы соединены со вспомогательными бункерами на узлах выдачи. Между и над соответствующими воздушными входными каналами и продуктовыми выходными каналами соплового устройства расположены диафрагмы для скопления под ними продукта. Число диафрагм соответствует числу узлов выдачи продукта. Использование изобретения позволит снизить потери давления воздуха. 19 з.п. ф-лы, 11 ил.
Область техники
Изобретение относится к сеялке для сельскохозяйственного продукта. Сеялка содержит главный бункер с сопловым устройством, в которое направляют находящийся в главном бункере продукт, причем сопловое устройство содержит боковую стенку вверх по течению и боковую стенку вниз по течению. Кроме того, сеялка содержит несколько узлов выдачи с дозатором для продукта и устройством для выдачи продукта на поле, причем каждый дозатор для продукта через продуктопровод соединен с боковой стенкой соплового устройства вниз по течению. Далее сеялка содержит воздушный насос, пневматически соединенный несколькими воздухопроводами с боковой стенкой соплового устройства вверх по течению, причем воздушный насос вырабатывает сжатый воздух, направляемый в воздухопроводы. Число воздухопроводов соответствует числу узлов выдачи. Каждый воздухопровод имеет связанный с сопловым устройством воздушный входной канал, расположенный напротив продуктового выходного канала продуктопровода. Находящийся в сопловом устройстве продукт подхватывается воздушным потоком, когда воздушный поток течет из воздушного входного канала соответствующего воздухопровода через сопловое устройство в соответствующий продуктовый выходной канал продуктопровода, причем продуктопровод направляет продукт к соответствующему дозатору для продукта.
Уровень техники
Выполненные, при необходимости, с пневмоуправлением системы выдачи продукта используются в сельскохозяйственных сеялках для автоматической транспортировки семенного материала из главного бункера к нескольким отдельным высевающим аппаратам. Каждый из отдельных высевающих аппаратов содержит вспомогательный бункер для семенного материала, дозатор для дозирования семенного материала из вспомогательного бункера и сошник для образования посадочной борозды, в которую высевают дозированный семенной материал.
Для вырабатывания сжатого воздуха используют воздуходувку. Сжатый воздух создает воздушный поток, транспортирующий семенной материал в высевающие аппараты. Эти системы при необходимости автоматически заполняют семенным материалом вспомогательные бункеры.
Сеялки, работающие на сжатом воздухе, дозируют семенной материал вверх по течению посредством транспортирующего воздушного потока. Поскольку при этом дозатор далеко удален от устройства выдачи, уложенный на поле семенной материал, дозируется не так точно, как если бы дозатор был расположен в непосредственной близости от узла выдачи.
Имеющиеся на рынке сеялки требуют, как правило, мощной воздуходувки для создания воздушного потока. Мощная воздуходувка требуется из-за возникающих внутри пневмосистемы потерь давления, вызванных резким изменением направления воздушного потока в главном бункере. Подобная машина раскрыта, например, в US 5161473 А. Здесь за счет вступающего во взаимодействие с главным бункером сжатого воздуха достигается завихрение семенного материала, транспортируемого за счет вихревого движения в семяподводящий трубопровод. Это требует высокой степени вырабатывания сжатого воздуха. Кроме того, из-за создания вихрей в семенном материале могут быть вызваны засорения в семяподводящем трубопроводе и/или воздухоподводящем трубопроводе.
Сеялка иного рода раскрыта в FR 2591416 А. Здесь посредством сжатого воздуха семенной материал извлекают из главного бункера, направляя семенной материал с помощью воронкообразных сопловых устройств непосредственно в нагруженный воздушным потоком семяподводящий трубопровод. Недостаток состоит в том, что семенной материал падает непосредственно в семяподводящий трубопровод и может засорить его. Кроме того, здесь также требуется высокая степень вырабатывания сжатого воздуха.
Задача изобретения
Лежащая в основе изобретения задача состоит в создании сеялки описанного выше рода, с помощью которой можно было бы преодолеть названные проблемы.
Описание изобретения
Эта задача решается, согласно изобретению, посредством отличительной части п.1 формулы. Другие предпочтительные выполнения и усовершенствования изобретения приведены в зависимых пунктах.
Согласно изобретению сеялка описанного выше рода включает в себя сопловое устройство, снабженное определенным числом диафрагм, соответствующих числу узлов выдачи, причем диафрагмы проходят между и над воздушными входными каналами воздухопроводов и соответствующими продуктовыми выходными каналами продуктопроводов. За счет того, что воздушные входные каналы воздухопроводов расположены напротив продуктовых выходных каналов продуктопроводов, протекающий через главный бункер воздушный поток не подвержен резким изменениям направления. Тем самым, можно минимизировать потери давления.
Соседние комбинации из воздушного входного и продуктового выходного каналов расположены в поперечном направлении на расстоянии друг от друга, так что семенной или несеменной материал может проходить с обеих сторон мимо диафрагм и скапливаться под ними. Протекающий через воздушный входной канал в продуктовый выходной канал воздушный поток подхватывает продукт из скопления.
Воздушный насос вырабатывает необходимый для транспортировки продукта сжатый воздух, подаваемый к воздухопроводам. Воздухопроводы соединены с воздушными входными каналами, выполненными на дне главного бункера. Напротив воздушных входных каналов выполнены соответствующие продуктовые выходные каналы, которые вбирают воздушный поток с захваченным им продуктом.
Продуктовые выходные каналы соединены с продуктопроводами. Продуктопроводы, в свою очередь, соединены с установленными на узлах выдачи вспомогательными бункерами.
В другом предпочтительном выполнении изобретения сопловое устройство снабжено диафрагмами, причем число диафрагм соответствует числу узлов выдачи. Диафрагмы проходят между и над воздушными входными каналами воздухопроводов и соответствующими продуктовыми выходными каналами продуктопроводов.
Преимущественно воздушные входные каналы и продуктовые выходные каналы расположены таким образом, что воздушный поток течет из воздухопроводов под диафрагмами.
Кроме того, расположенные над воздушными входными каналами и продуктовыми выходными каналами диафрагмы выполнены преимущественно заостренными вверх, так что продукт падает на дно соплового устройства и скапливается под сопловым устройством. Между соседними диафрагмами образованы свободные пространства таким образом, что находящийся в главном бункере продукт за счет силы тяжести попадает в сопловое устройство и может стекать из главного бункера в скопление продукта.
В одном предпочтительном выполнении изобретения продуктовые выходные каналы продуктопроводов расположены относительно дна соплового устройства направленными вверх. Кроме того, воздушные входные каналы воздухопроводов расположены относительно дна соплового устройства направленными вниз. Дно соплового устройства выполнено вогнутым, а боковые стенки вверх и вниз по течению расходятся наружу.
В одном особенно предпочтительном выполнении изобретения предусмотрен распределитель воздушного потока, который вверх по течению от воздухопроводов пневматически соединен с воздушным насосом, причем каждый из воздухопроводов пневматически соединен с распределителем воздушного потока. Преимущественно распределитель воздушного потока образован полой частью несущей главный бункер рамы, что позволяет уменьшить разнообразие деталей сеялки. Транспортируемый воздушным насосом сжатый воздух попадает через распределитель воздушного потока в равных долях к отдельным воздухопроводам и, тем самым, в равных долях через воздушные входные каналы в сопловые устройства. За счет этого достигается равномерное распределение продукта через продуктовые выходные каналы в отдельных продуктопроводах.
В другом предпочтительном выполнении изобретения сопловое устройство снабжено заслонкой для очистки, расположенной под воздушными входными каналами воздухопроводов и продуктовыми выходными каналами продуктопроводов. При открывании заслонки для очистки может простым образом происходить опорожнение или очистка соплового устройства от остатков продукта.
Каждый узел выдачи содержит преимущественно высевающий аппарат с содержащим дозатор семенного материала дозирующим устройством для продукта и содержащим сошник устройством выдачи. Сеялка, согласно изобретению, может использоваться, тем самым, для подачи, при необходимости, семенного материала из главного бункера к находящемуся на высевающем аппарате вспомогательному бункеру. Высевающий аппарат может при этом содержать вспомогательный бункер, который питает дозатор семенным материалом. Дозатор, в свою очередь, выдает семенной материал в дозированном виде через сошник в посадочную борозду. Согласно изобретению, дозаторы семенного материала могут быть выполнены в виде вакуумных дозаторов.
В одном особенно предпочтительном выполнении изобретения воздушные входные каналы воздухопроводов снабжены вставками, содержащими дефлектор, который отклоняет часть воздушного потока вниз в направлении дна соплового устройства, завихряя находящийся на дне соплового устройства продукт. В частности, когда продукт содержит крупные частицы, например кукурузу или соевые бобы, подобная вставка может быть помещена в воздушный входной канал, так что отклоненная вниз часть воздушного потока попадает на скопление продукта, завихряя его с возможностью облегчения захвата продукта входящим в продуктовый выходной канал воздушным потоком.
В другом предпочтительном выполнении изобретения диафрагмы снабжены элементом, содержащим ограничительное основание для ограничения количества продукта, подверженного воздействию воздушного потока, протекающего между воздушными входными каналами воздухопроводов и продуктовыми выходными каналами продуктопроводов. В частности, когда продукт содержит мелкие частицы, может произойти захват слишком большого количества продукта воздушным потоком, выходящим из воздушного входного канала в продуктовый выходной канал. Преимущественно сопловое устройство может быть снабжено тогда насадкой, надеваемой на диафрагмы и ограничивающей воздействующий на скопление продукта воздушный поток. За счет этого ограничивается подверженное воздействию воздушного потока количество продукта, и тем самым достигается ограниченный захват продукта даже при очень маленьких и легких его частицах.
В другом выполнении изобретения сопловое устройство снабжено мешалкой, которая содержит проходящую поперек соплового устройства поперечную штангу и снабжена несколькими радиальными пальцами. Поперечная штанга вращается попеременно взад-вперед на угол преимущественно 180° и приводится узлом из передачи и двигателя. При этом радиальные пальцы проходят через свободные пространства между отдельными диафрагмами и разрыхляют или перемешивают продукт.
Описание чертежа
С помощью чертежа, изображающего пример выполнения изобретения, оно, а также другие его преимущества и предпочтительные усовершенствования и выполнения описаны и поясняются более подробно.
На чертеже изображены:
– фиг.1: вид сбоку сельскохозяйственной сеялки, согласно изобретению;
– фиг.2: вид сбоку в сечении соплового устройства сеялки;
– фиг.3: вид сбоку в сечении соплового устройства сеялки с воздухонаправляющей вставкой;
– фиг.4: вид сбоку в сечении соплового устройства сеялки с элементом ограничения захвата продукта;
– фиг.5: в перспективе вид воздухоотклоняющей вставки с верхней стороны;
– фиг.6: в перспективе вид воздухоотклоняющей вставки с нижней стороны;
– фиг.7: в перспективе вид элемента ограничения захвата продукта с нижней стороны;
– фиг.8: вид спереди в сечении соплового устройства сеялки;
– фиг.9: в перспективе вид спереди и частичный вид в сечении соплового устройства сеялки;
– фиг.10: в перспективе вид спереди снабженного мешалкой соплового устройства;
– фиг.11: вид в сечении снабженного мешалкой соплового устройства.
Подробное описание выполнения изобретения
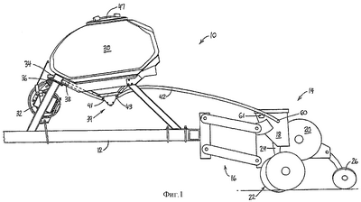
Сельскохозяйственная сеялка 10 содержит раму 12, на которой установлено несколько отдельных высевающих аппаратов 14. Высевающие аппараты 14 соединены с рамой 12 параллелограммным рычажным механизмом 16, так что отдельные высевающие аппараты 14 могут перемещаться относительно рамы 12 вверх и вниз в ограниченной степени. Каждый из отдельных высевающих аппаратов 14 содержит вспомогательный бункер 18 для семенного материала, дозатор 20 для дозирования заполненного во вспомогательный бункер 18 семенного материала и сошник 22 для образования посевной борозды на поле для приема дозированного дозатором 20 семенного материала. Семенной материал направляется по семяпроводящей трубе 24 из дозатора 20 в посевную борозду. Закрывающее устройство 20 служит для закрывания содержащей семенной материал посевной борозды. В одной предпочтительной форме выполнения дозатор 20 представляет собой вакуумный дозатор, хотя могут использоваться также иные виды дозаторов, использующих механические узлы или избыточное давление. При этом следует упомянуть, что изобретение может применяться также для выдачи несеменного материала на поле. Как для семенного, так и для несеменного материала высевающий аппарат 14 можно рассматривать в качестве узла выдачи со вспомогательным бункером для материала, дозатором для дозирования заполненного во вспомогательный бункер материала и устройством выдачи дозированного материала на поле. Например, во вспомогательный бункер могут быть направлены химическое сухое удобрение или пестициды, дозированы дозатором и внесены на поле устройством выдачи.
Главная рама 12 несет главный бункер 30 и пневмонасос 32. Пневмонасос 32 приводится гидродвигателем, причем для привода пневмонасоса 32 могут использоваться также другие двигатели, например электродвигатели. Воздушный насос 32 подает сжатый воздух через главный воздушный шланг 36 в распределитель 34. Распределитель 34 образован полой, замкнутой, трубчатой балкой рамы 12. Распределитель 34 снабжен несколькими выпускными отверстиями в соответствии с числом установленных на раме 12 высевающих аппаратов 14. Отдельные воздухопроводы 38 проходят от выпускных отверстий распределителя и направляют сжатый воздух из распределителя 34 во входную сторону для потока соплового устройства 39. Сопловое устройство 39 установлено на дне главного бункера 30. За счет силы тяжести находящийся в главном бункере 30 продукт попадает в сопловое устройство 39. Сопловое устройство 39 снабжено воздушными входными каналами 41, число которых соответствует числу воздухопроводов 38. Воздушные входные каналы 41 расположены на расстоянии друг от друга поперек и вдоль входной стороны для потока. Выходная сторона для потока соплового устройства 39 снабжена продуктовыми выходными каналами 43, число которых соответствует числу воздухопроводов 38. Продуктовые выходные каналы 43 расположены также на расстоянии друг от друга поперек и вдоль входной стороны для потока соплового устройства 39. Продуктовые выходные каналы 43 противоположны воздушным входным каналам 41. Каждый воздушный входной канал 41 ориентирован соосно с соответствующим продуктовым выходным каналом 43. Продуктовые питающие шланги 42 проходят от продуктовых выходных каналов 43 к отдельным вспомогательным бункерам 18 и направляют захваченный воздушным потоком продукт к вспомогательным бункерам 18.
Сопловое устройство 39 выполнено с вогнутым дном 44, которое содержит расходящиеся наружу боковые стенки 45, 46. Продукт в виде семенного или несеменного материала заполняют в главный бункер 30 через крышку 47. Отдельные зоны соплового устройства 39 могут быть открыты и образуют отверстие 48 для очистки. Отверстие 48 соединено шарнирной осью 50 с возможностью поворота с сопловым устройством 39. Отверстие 48 блокируют посредством блокировки 52, которая соединена с внутренними боковыми стенками 45, 46 главного бункера 30. Для открывания отверстия 48 блокировку 52 поворачивают на 90°, в результате чего колена 54 блокировки 52 не находятся больше в контакте с внутренними боковыми стенками 45, 46. Створку 48 для очистки откидывают затем на шарнирной оси 50, в результате чего она повисает под шарнирной осью 50. Между створкой 48 и наружной поверхностью расходящихся наружу боковых стенок 45, 46 расположена эластичная резиновая прокладка 56 для герметизации главного бункера 30 при закрытой створке 48.
Каждый воздушный входной канал 41 и соответствующий продуктовый выходной канал 43 состоят из двух пластмассовых частей. Две пластмассовые части соединены между собой посредством встроенных штырей, выполненных на одной части, и приемных отверстий, выполненных на другой части. Воздушный входной канал 41 расположен относительно вогнутого дна 44 с наклоном вниз, а продуктовый выходной канал 43 расположен относительно вогнутого дна 44 соответственно с наклоном вверх. Между каналами 41, 43 проходит встроенная диафрагма 58. Диафрагма 58 заострена и расположена над воздушным потоком, проходящим через каналы 41, 43. Наклоненный вниз воздушный входной канал 41 препятствует попаданию продукта обратно в воздухопровод 38, а направленный вверх продуктовый выходной канал 43 – попаданию продукта в питающий шланг 42 и его засорению.
Соседние комбинации каналов 41, 43 расположены на расстоянии друг от друга в поперечном направлении, так что семенной или несеменной материал может течь вдоль обеих сторон диафрагм 58 и скапливаться под диафрагмами 58. Попадающий через воздушный входной канал 41 в продуктовый выходной канал 43 воздушный поток захватывает продукт из скопления и транспортирует его по питающему шлангу 42 во вспомогательный бункер 18. Транспортировка продукта из главного бункера 30 во вспомогательные бункеры 18 происходит автоматически по мере потребности в нем во вспомогательных бункерах 18. Как только отдельный вспомогательный бункер 18 наполнится продуктом, продуктовый впускной канал 60 вспомогательного бункера 18 покроется продуктом, в результате чего воздушный поток блокируется и ослабляется, так что воздушный поток не захватывает больше продукт в главном бункере 30 и транспортирует его во вспомогательный бункер 18.
В противоположность этому продуктовый впускной канал 60 вспомогательного бункера 18 открыт, когда продукт был внесен дозатором 20, так что воздушный поток снова захватывает продукт для его транспортировки во вспомогательный бункер 18. Таким образом, вспомогательные бункеры 18 всегда и автоматически питаются продуктом. Боковые стенки вспомогательных бункеров 18 снабжены вентиляционными отверстиями 61 для снижения давления воздуха во вспомогательном бункере 18. Вентиляционные отверстия 61 могут быть расположены также на крышке вспомогательных бункеров 18, если вентиляционные отверстия 61 находятся над соответствующими продуктовыми впускными каналами 60.
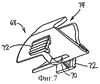
В некоторых случаях, когда продукт содержит крупные частицы, например большие семенные зерна (кукуруза и соевые бобы), воздушному потоку трудно захватить их. Для захвата крупных семенных зерен воздушный входной канал 41 может быть снабжен вставкой 62, содержащей дефлектор 64, который отклоняет часть воздушного потока вниз, завихряя семенные зерна в скоплении, так что семенные зерна захватываются проникающим в продуктовый выходной канал 43 воздушным потоком. Вставка 62 снабжена пригоночным ребром 66, которое входит в выполненный в воздушном входном канале 41 паз, обеспечивая корректное позиционирование вставки 62 и дефлектора 64.
В других случаях семенной или несеменной материал может быть слишком легким и сразу же захвачен легким воздушным потоком. Для решения этой проблемы диафрагмы 58 могут быть снабжены зажимом 68 (элемент ограничения захвата продукта). Зажим 68 может быть надет на диафрагму 58. Зажим 68 содержит ограничительное основание 70, посредством которого ограничивают подверженное воздействию воздушного потока количество продукта. Зажим 68 изготовлен из пластмассы и снабжен ручками 72. При сжатии ручек 72 открывается верхняя щель 74, так что зажим 68 может быть надет на диафрагму 58.
В одной альтернативной форме выполнения предусмотренная для крупных семенных зерен вставка 62 может быть заменена мешалкой 80. Мешалка 80 содержит поперечную штангу 82, проходящую поперек соплового устройства 39. Поперечная штанга 82 снабжена несколькими радиально проходящими пальцами 84. Как показано на фиг.10, пальцы ориентированы по отношению друг к другу в поперечном направлении.
Поперечная штанга 82 поворачивается посредством приводимой двигателем 88 передачи 86 взад-вперед. В нижней мертвой точке пальцы 84 проходят между отдельными соплами, образованными ориентированными по отношению друг к другу воздушными входными каналами 41 и продуктовыми выходными каналами 43. Таким образом, пальцы 84 перекрывают зону между соплами. Узел из передачи 86 и двигателя 88 поворачивает поперечную штангу 82 на 51,5° в обоих направлениях от нижней мертвой точки, как показано на фиг.11. Тем самым, пальцы проходят угол 103°.
Формула изобретения
1. Сеялка, содержащая главный бункер (30) с сопловым устройством (39), в которое направляют находящийся в главном бункере (30) продукт, причем сопловое устройство (39) содержит боковую стенку (45) вверх по течению и боковую стенку (46) вниз по течению; несколько узлов (14) выдачи с дозатором (20) для продукта и устройством выдачи продукта на поле, причем каждый дозатор (20) для продукта через продуктопровод (42) соединен с боковой стенкой (46) соплового устройства (39) вниз по течению; воздушный насос (32), пневматически соединенный несколькими воздухопроводами (38) с боковой стенкой (45) соплового устройства (39) вверх по течению, причем воздушный насос (32) вырабатывает сжатый воздух, направляемый в воздухопроводы (38), кроме того, число воздухопроводов (38) соответствует числу узлов (14) выдачи и каждый воздухопровод (38) содержит соединенный с сопловым устройством (39) воздушный входной канал (41) напротив продуктового выходного канала (43) продуктопровода (42) для обеспечения захватывания находящегося в сопловом устройстве (39) продукта воздушным потоком, когда последний выходит из воздушного входного канала (41) соответствующего воздухопровода (38) через сопловое устройство (39) в соответствующий продуктовый выходной канал (43) продуктопровода (42), при этом продуктопровод (42) направляет продукт к соответствующему дозатору (20), отличающаяся тем, что сопловое устройство (39) снабжено определенным числом диафрагм (58), соответствующим числу узлов (14) выдачи, причем диафрагмы (58) проходят между и над воздушными входными каналами (41) воздухопроводов (38) и соответствующими продуктовыми выходными каналами (43) продуктопроводов (42).
2. Сеялка по п.1, отличающаяся тем, что воздушный поток движется из воздухопровода (38) под диафрагмами (58).
3. Сеялка по п.1, отличающаяся тем, что каждая диафрагма (58) выполнена заостренной вверх, а между диафрагмами (58) образованы свободные пространства для подачи продукта на дно (44) соплового устройства (39).
4. Сеялка по п.1, отличающаяся тем, что продуктовые выходные каналы (43) продуктопроводов (42) расположены относительно дна (44) соплового устройства (39) направленными вверх.
5. Сеялка по п.1, отличающаяся тем, что воздушные входные каналы (41) воздухопроводов (38) расположены относительно дна (44) соплового устройства (39) направленными вниз.
6. Сеялка по п.1, отличающаяся тем, что дно (44) соплового устройства (39) выполнено вогнутым, а боковые стенки (45, 46) вверх и вниз по течению расходятся наружу.
7. Сеялка по п.1, отличающаяся тем, что каждый узел (14) выдачи снабжен вспомогательным бункером (18), установленным между продуктовым входным каналом (60) и дозатором (20) для продукта.
8. Сеялка по п.1, отличающаяся тем, что предусмотрен распределитель (34) воздушного потока, который вверх по течению от воздухопровода (38) пневматически соединен с воздушным насосом (32), причем каждый из воздухопроводов (38) пневматически соединен с распределителем (34) воздушного потока.
9. Сеялка по п.8, отличающаяся тем, что распределитель (34) воздушного потока образован полой частью несущей главный бункер (30) рамы (12).
10. Сеялка по п.1, отличающаяся тем, что сопловое устройство (39) снабжено заслонкой (48) для очистки, которая расположена под воздушными входными каналами (41) воздухопроводов (38) и продуктовыми выходными каналами (43) продуктопроводов (42).
11. Сеялка по п.1, отличающаяся тем, что воздушные входные каналы (41) воздухопроводов (38) снабжены вставками (62), содержащими дефлектор (64), который отклоняет часть воздушного потока вниз в направлении дна (44) соплового устройства (39), завихряя находящийся на дне (44) соплового устройства (39) продукт.
12. Сеялка по п.1, отличающаяся тем, что диафрагмы (58) снабжены элементом (68), который содержит ограничительное основание (70) для ограничения количества продукта, подверженного воздействию воздушного потока, протекающего между воздушными входными каналами (41) воздухопроводов (38) и продуктовыми выходными воздушными входными каналами (41) воздухопроводов (38) и продуктовыми выходными каналами (43) продуктопроводов (42).
13. Сеялка по п.12, отличающаяся тем, что элемент (68) выполнен в виде насадки (зажима).
14. Сеялка по п.1, отличающаяся тем, что в сопловом устройстве (39) установлена мешалка (80) для перемешивания находящегося в сопловом устройстве (39) продукта.
15. Сеялка по п.14, отличающаяся тем, что мешалка (80) снабжена несколькими пальцами (84), которые проходят в образованных между соседними диафрагмами (58) свободных пространствах.
16. Сеялка по п.14 или 15, отличающаяся тем, что мешалка (80) содержит расположенную над диафрагмами (58) поперечную штангу (82), снабженную несколькими пальцами (84), проходящими радиально наружу от проходящей поперек штанги (82).
17. Сеялка по п.16, отличающаяся тем, что пальцы (84) ориентированы по отношению друг к другу в поперечном направлении на проходящей поперек штанге (82).
18. Сеялка по п.16, отличающаяся тем, что поперечная штанга (82) установлена с возможностью поворота взад-вперед для обеспечения возможности перемешивания пальцами (84) находящегося в сопловом устройстве (39) продукта.
19. Сеялка по п.18, отличающаяся тем, что поперечная штанга (82) установлена с возможностью поворота взад-вперед по дуге окружности с углом 103°.
20. Сеялка по п.19, отличающаяся тем, что середина имеющей угол 103° дуги окружности является нижней мертвой точкой относительно соплового устройства (39).
РИСУНКИ
|