|
|
(21), (22) Заявка: 2005103404/09, 16.05.2003
(24) Дата начала отсчета срока действия патента:
16.05.2003
(30) Конвенционный приоритет:
10.07.2002 DE 10231145.5
(43) Дата публикации заявки: 10.10.2005
(46) Опубликовано: 10.01.2008
(56) Список документов, цитированных в отчете о поиске:
US 6239359 А, 29.05.2001. RU 97116264 А, 10.08.1999. SU 809673 А, 28.02.1981. SU 1739524 A1, 07.06.1992. RU 7792 U1, 16.09.1998. US 5717577 A, 10.02.1998.
(85) Дата перевода заявки PCT на национальную фазу:
10.02.2005
(86) Заявка PCT:
EP 03/05182 (16.05.2003)
(87) Публикация PCT:
WO 2004/008823 (22.01.2004)
Адрес для переписки:
129010, Москва, ул. Б. Спасская, 25, стр.3, ООО “Юридическая фирма Городисский и Партнеры”, пат.пов. Ю.Д.Кузнецову, рег.№ 595
|
(72) Автор(ы):
ФЮРЗИХ Вальтер (DE)
(73) Патентообладатель(и):
СИМЕНС АКЦИЕНГЕЗЕЛЛЬШАФТ (DE)
|
(54) ЭКРАНИРУЮЩЕЕ УСТРОЙСТВО ДЛЯ ЭЛЕКТРОННЫХ УЗЛОВ НА ПЕЧАТНОЙ ПЛАТЕ
(57) Реферат:
Изобретение относится к экранирующему устройству с экранирующим кожухом. Технический результат – усовершенствование экранирующего устройства для повышения эффективности экранирования и обеспечения по возможности меньших затрат на изготовление, в частности на изготовление экранирующих устройств разных размеров, которые экранируют лишь отдельные зоны печатной платы. Достигается тем, что экранирующее устройство содержит экранирующий кожух, который покрывает размещенную на печатной плате электронную схему, имеющий кромку, отделенную от монтажной стороны печатной платы зазором, контактное устройство, которое размещено в зазоре и образует электрическое соединение между экранирующим кожухом и проводящим контуром на печатной плате, причем на кромке экранирующего кожуха отформованы лепестки, посредством которых экранирующий кожух устанавливается на печатной плате, и контактное устройство поддерживается под упругим предварительным напряжением, причем контактное устройство выполнено как проложенный в зазоре упругий уплотнительный элемент, который поглощает электромагнитные волны. 12 з.п. ф-лы, 4 ил.
Область техники
Изобретение относится к экранирующему устройству с экранирующим кожухом, который покрывает размещенную на печатной плате электронную схему и имеет кромку, которая отделена от монтажной стороны печатной платы зазором и контактным устройством, которое размещено в зазоре, и формирует электрическое соединение между экранирующим кожухом и проводящим контуром на печатной плате, причем на кромке экранирующего кожуха отформованы лепестки, посредством которых экранирующий кожух устанавливается на печатной плате, и контактное устройство удерживается под упругим предварительным напряжением.
Уровень техники
В области электротехники часто требуется ослаблять электрические или магнитные поля внутри или вне определенной зоны. В качестве средства ослабления помех применяются экранирующие кожухи, которые ослабляют испускание или поглощение электромагнитного излучения, создающего помехи. На печатных платах помеховое излучение может быть также обусловлено узлами, которые сами находятся на печатной плате. В случае миниатюрных узлов, например, таких, которые изготавливаются по технологии приборов для поверхностного монтажа на печатную плату (SMD-технологии), приемники помех и источники помех часто находятся в непосредственной близости. Для экранирования полей с изменяющейся во времени напряженностью используются многосекционные экраны в миниатюрном исполнении. Они состоят чаще всего из экранной рамки, которая промежуточными стенками разделена на отдельные отсеки и припаяна к печатной плате. Для того чтобы обеспечивать возможность доступа к электронным компонентам, закрытым экраном, с целью их тестирования, экранирующая рамка закрывается съемной крышкой. Так как механическая устойчивость рамки обеспечивается только за счет ее припаивания к печатной плате, требуется, чтобы при монтаже этих миниатюризованных экранов осуществлялось совместное манипулирование рамкой и крышкой. Операции монтажа и демонтажа крышки требуют дополнительных затрат труда и времени.
Цельный металлический экран, который может монтироваться на печатную плату, известен из документа DE 808620 U1. Крепление осуществляется посредством фиксирующих крючков, которые входят в зацепление с печатной платой с ее обратной стороны. Заземляющее соединение экрана с печатной платой образуется посредством множества пружинных лепестков. Эти лепестки при смонтированном экранирующем колпаке находятся под упругим предварительным напряжением и образуют электрический контакт за счет линейного или точечного касания. При суровых условиях эксплуатации может произойти отказ участков электрического контакта вследствие механических воздействий или из-за коррозии. В этом случае эффективность экранирования, обеспечиваемого средством защиты от помех, существенно ухудшается. Другим недостатком является то, что при монтаже экрана для преодоления силы упругости отдельных лепестков необходимо усилие прижатия, которое должно прикладываться к экранирующему колпаку и восприниматься печатной платой. Экранирующее действие зависит, однако, от обеспечивающей контакт упругой силы и расстояния между отдельными точками контакта. Однако если должно упруго деформироваться множество пружинных лепестков, то требуется давление прижатия соответствующей величины, и в случае миниатюризованных электронных узлов это может привести к тому, что печатная плата будет деформирована недопустимым образом. В структуре проводников могут возникнуть микротрещины.
Также в известном из документа DE 29713412 U1 экране контактное соединение формируется посредством контактных пружин, окружающих кромку экрана.
Изготовление этих известных цельных экранов требует сложной технологической оснастки. Изменения в такой оснастке, которые требуются для изготовления экранов с новой геометрической или пространственной формой, возможны лишь с относительно высокими затратами.
Сущность изобретения
В основе изобретения лежит задача усовершенствовать экранирующее устройство вышеописанного типа таким образом, чтобы повысить эффективность экранирования и обеспечить по возможности меньшие затраты на изготовление, в частности на изготовление экранирующих устройств разных размеров, которые экранируют лишь отдельные зоны печатной платы.
Эта задача в соответствии с изобретением решается экранирующим устройством вышеописанного типа с отличительными признаками согласно пункту 1 формулы изобретения. Предпочтительные варианты осуществления представлены в зависимых пунктах формулы изобретения.
В соответствующем изобретению экранирующем устройстве предусмотрено, что контактное устройство образовано уплотнительным элементом, размещенным в окружающем зазоре, причем уплотнительный элемент изготовлен из материала, поглощающего электромагнитные волны. Кроме того, характерным для изобретения является то, что контактирующее соединение образовано не множеством контактных точек с линейным или точечным касанием, а плоско прилегающим уплотнительным элементом из упругого материала. Последний, вследствие своей способности к сжатию, лучше согласуется с выпуклостями и неровностями печатной платы. Также при механических соударениях или вибрациях сохраняется низкое омическое переходное сопротивление заземляющего соединения. Кроме того, уплотнительный элемент располагается в окружающем шве между экранирующим кожухом и печатной платой с плотным прилеганием и таким путем дополнительно обеспечивает защиту от загрязнений, проникающих во внутреннее пространство экрана.
За счет конструктивной развязки контактирующего соединения от экранирующей рамки упрощается ее изготовление. Технологическая оснастка для изготовления экранирующего кожуха становится проще. Затраты на модернизацию для изменения технологической оснастки снижаются. Экранирующий кожух может изготавливаться экономичным образом в крупносерийном производстве из листового материала как деталь, изготавливаемая гибкой в штампе. Уплотнительный элемент может представлять собой заготовку или полуфабрикат. В целом, настройка производства на изготовление конкретного экранирующего устройства различных по величине зон на печатной плате реализуется с меньшими затратами.
Неожиданным образом оказалось, что EMV-уплотнение шириной всего лишь несколько миллиметров обеспечивает очень высокую эффективность экранирования по отношению к высокочастотным полям.
Материалы, которые по отношению к электромагнитному излучению обладают поглощающим действием, известны и коммерчески доступны в различных составах и вариантах выполнения.
Для обеспечения простого крепления экранирующего кожуха на печатной плате предусмотрено, что печатная плата снабжена проходными отверстиями, а выступающий из проходного отверстия со стороны выхода конец лепестка пластически отформован таким образом, что он входит в зацепление с печатной платой с обратной стороны. Тем самым возникает соединение с геометрическим замыканием, формируемое простым способом. Пластическая обработка для изменения формы выступающих концевых участков может осуществляться гибкой, штамповкой или обжатием. Чтобы в целях тестирования обеспечить возможность простого съема кожуха, каждый концевой участок лепестка может быть выполнен как ограничительный язычок.
Относительно затрат на изготовление предпочтительно, если экранирующий кожух выполнен из одного материала и в виде цельной конструкции из металлического материала, например из белой жести. Белая жесть может быть защищена оцинковкой.
В другом варианте осуществления изобретения предусмотрено, что кромка выполнена как прямоугольная отбортовка, которая в смонтированном состоянии экранирующего кожуха проходит по существу параллельно монтажной стороне, а каждый лепесток сформирован с внешней стороны периметра и выполнен выступающим в продолжении стенки экранирующего кожуха. Тем самым экранирующий кожух может изготавливаться в процессе штамповки и гибки.
За счет такой детали, изготовленной штамповкой и гибкой, может быть реализовано очень эффективное экранирование за счет того, что уплотнительный элемент выполняется в виде плоского уплотнительного элемента и прикрепляется с помощью электропроводного клея, наносимого на кромку экранирующего кожуха или монтажной стороны печатной платы. Кроме того, обеспечивается преимущество, состоящее в том, что при монтаже с экранирующим кожухом вместе с уплотнительным элементом можно обращаться как с единым узлом.
Для повышения надежности контакта проводящий контур печатной платы имеет куполообразные точки контакта, которые вдавливаются в плоский уплотнительный элемент. Их поверхность плотно замыкается упругим уплотнительным элементом и в значительной степени защищается от коррозии.
Если необходимо экранировать только отдельные зоны на печатной плате, то может оказаться предпочтительным, если экранирующий кожух по отношению к экранируемой геометрии соответственно шагу координатной сетки печатной платы выполнена квадратной формы. Этот единый модульный принцип позволяет снизить затраты на изготовление и материально-техническое снабжение.
Для случая, когда внутреннее пространство экранирующего устройства должно проветриваться или из него должен откачиваться воздух, предусматривается, что экранирующий кожух на его части крышки и/или части стенки должен снабжаться окнами, которые образуют проходные отверстия для охлаждающего воздуха. Величина окон согласуется с экранируемым частотным спектром.
Если на печатной плате отдельные зоны требуют различных экранирующих действий, то предусматривается, что на печатной плате размещается несколько экранирующих кожухов, причем эффективность экранирования этих экранирующих кожухов различается.
Для дальнейшего снижения затрат могут применяться обычные коммерчески доступные EMV-материалы, которые являются полимерными материалами, в частности, предпочтительными является полиамидный нетканый материал с металлическим покрытием или провязанный металлической оплеткой.
Краткое описание чертежей
Изобретение описывается ниже более подробно на примере осуществления со ссылками на чертежи, на которых показано следующее:
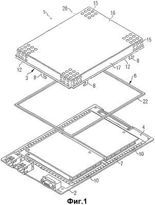
Фиг.1 – пространственное представление с разнесением элементов соответствующего изобретению экранирующего устройства в варианте осуществления, в котором вся печатная плата накрыта экранирующим кожухом.
Фиг.2 – увеличенное детальное представление экранирующего кожуха с нижней стороны.
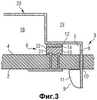
Фиг.3 – детальное представление зоны кромки смонтированного на печатной плате экранирующего устройства в поперечном сечении.
Фиг.4 – фрагмент проводящего контура на печатной плате с контактными точками, размещенными со смещением на свободном пространстве.
Выполнение изобретения
На фиг.1 представлен пример формы выполнения соответствующего изобретению экранирующего устройства 1 в пространственном изображении с разнесением элементов. Экранирующее устройство 1 состоит из экранирующего кожуха 20 и контактного устройства 6. Экранирующий кожух 20 накрывает в показанном примере всю область печатной платы 2. Последующие пояснения не ограничиваются, однако, этой формой выполнения, а включают, в частности, также экранирующие устройства, которые экранируют лишь частичные области печатной платы.
Как показано на фиг.1, на кромке 3 экранирующего кожуха 20 отформованы со стороны внешнего периметра лепестки 8, посредством которых экранирующий кожух 20 устанавливается на печатной плате 2. На монтажной стороне 4 печатной платы 2 можно видеть проводящий контур 7, очертание которого соответствует кромочной области экранирующего кожуха 20. Проводящий контур 7 состоит из контактных точек, которые ниже рассмотрены более подробно, и изготовлен методом травления по координатной сетке печатной платы. Контактное устройство 6 выполнено как окружное уплотнение 22. При монтаже экранирующего устройства экранирующий кожух 20 опускается на печатную плату 2. При опускании лепестки 8, ориентированные в направлении печатной платы 2, входят в проходные отверстия 10 печатной платы 2. При дальнейшем опускании прежде всего происходит сжатие упругого уплотнительного элемента 22. Сжатие требует, вследствие хороших свойств сжатия уплотнительного материала, лишь незначительной силы прижатия. Дальнейшее опускание обуславливает то, что каждый торцевой участок 9 лепестка 8 проходит через проходное отверстие и выступает с задней стороны. С целью закрепления экранирующего кожуха выступающий со стороны выхода из проходного отверстия ограничительный язычок посредством взаимной гибки пластически деформируется. Между кожухом 20 и носителем 2 возникает соединение с геометрическим замыканием. Как уже описано, пластическая деформация может осуществляться сгибанием, тиснением или обжатием. В зазор между кромкой колпака и монтажной стороной запрессован уплотнительный элемент 22. Проникающая в уплотнительный зазор 5 электромагнитная энергия излучения при прохождении сильно ослабляется, ввиду ослабляющих свойств уплотнительного материала. Монтаж требует, вследствие легкой сжимаемости уплотнительного материала, лишь относительно незначительного усилия прижатия. На фиг.1 экранирующий кожух показан на его продольной стороне с двумя крепежными лепестками, а на его широкой стороне – с одним отформованным крепежным лепестком. Разумеется, число крепежных лепестков изменяется в соответствии с величиной экранирующего колпака. Проходные отверстия 15 для проветривания или откачивания воздуха из внутреннего пространства показаны на чертеже в сильно увеличенном виде. В действительности диаметр этих отверстий весьма мал и согласован с частотой экранируемого переменного поля. Экранирующий кожух 20 представляет собой единую конструктивную деталь, выполненную гибкой в штампе из оцинкованной белой жести.
На фиг.2 и 3 показана кромочная зона экранирующего кожуха в увеличенном детальном представлении. Кромка 3 экранирующего кожуха 20 продолжается прямоугольной отбортовкой 12. С внешней стороны контура на отбортовке 12 сформован лепесток 8. Торцевой участок 9 лепестка 8 выполнен как ограничительный язычок 11. Как можно видеть из представления в сечении на фиг.3, лепесток 8 вводится в проходное отверстие 10 печатной платы 2. Торцевой участок 9 пластически деформируется за счет взаимного сгиба относительно оси, ориентированной в проходном направлении. За счет этого ограничительный язычок зацепляется с обратной стороной печатной платы 2. При закрытой форме выполнения экранирующего кожуха окружной уплотнительный элемент 22 одновременно защищает внутреннее пространство 18 от пыли и загрязнений, проникающих из внешнего пространства 19. В показанном на фиг.3 представлении в сечении уплотнительный элемент 22 изображен как плоский уплотнительный элемент 13. Он размещается в уплотнительном пазу 5 между печатной платой 2 и кромкой 12 под упругим предварительным напряжением. Плоский уплотнительный элемент 13 покрыт с верхней стороны клеящим материалом, за счет чего уплотнительный элемент и экранирующий кожух образуют при монтаже единый блок и обеспечивают простоту в обращении. Нижняя сторона плоского уплотнительного элемента 13 расположена вдоль проводящего контура 7 на монтажной стороне 4. Проводящий контур 7 образован куполообразными контактными точками 21, которые электрически связаны за счет соответствующей топологии. За счет прижатия в уплотнительном пазу 5 обеспечивается упругая деформация материала уплотнительного элемента. Контактные точки 21 прижимаются к нижней стороне плоского уплотнительного элемента. За счет такого окружения куполообразной поверхности место контакта очень хорошо защищено от внешних воздействий. За счет этого обеспечивается противодействие коррозии в области контакта. Следствием этого является то, что в течение очень большого срока службы омическое переходное сопротивление соединения с массой (заземлением) может поддерживаться на одинаковом низком уровне. Контур 7 может также образовываться непрерывной проводящей дорожкой или другим образцом соединения. Разумеется, также можно плоский уплотнительный элемент 13 покрыть и на нижней стороне проводящим клеящим материалом.
Конфигурация куполообразных контактных точек 21 вдоль проводящего контура 7 показана на фиг.4 на виде сверху в увеличенном масштабе. Контактные точки 21 размещены на свободном промежутке со смещением. Расстояние между контактными точками при наблюдении в продольном направлении соединения с заземлением составляет в данном примере четыре мм. Купола в контактных точках оцинкованы и имеют диаметр 1,3 мм. Плоское уплотнение из EMV-материала состоит из полиамидного скрученного связующего нетканого материала, который имеет высокую способность к сжатию до 85% и является очень гибким.
Уплотнительный элемент из EMV-материала может быть выполнен иным образом и из других материалов. Уплотнительный элемент может, например, представлять собой пенопласт с открытыми порами, к которому добавлены магнитные проводящие частицы. Кроме того, также пригодны для применения нетканые материалы и композиционные материалы, которые содержат волокна из материала с таким свойством проводимости.
Металлическая оплетка может представлять собой фольгированную медью оплетку из стальной проволоки. Уплотнительный элемент может быть окружен стальной оплеткой. Также возможно, что металлическая оплетка посредством полимерного упрочнения впрессована в уплотнительный элемент.
Формула изобретения
1. Экранирующее устройство, содержащее экранирующий кожух (20), который покрывает размещенную на печатной плате (2) электронную схему, имеющий кромку (3), отделенную от монтажной стороны (4) печатной платы зазором (5), контактное устройство (6), которое размещено в зазоре и образует электрическое соединение между экранирующим кожухом и проводящим контуром (7) на печатной плате, причем на кромке экранирующего колпака отформованы лепестки (8), посредством которых экранирующий кожух устанавливается на печатной плате и контактное устройство поддерживается под упругим предварительным напряжением, причем контактное устройство выполнено как проложенный в зазоре упругий уплотнительный элемент (22), который поглощает электромагнитные волны, отличающееся тем, что проводящий контур (7) образован куполообразными контактными точками (21).
2. Экранирующее устройство по п.1, отличающееся тем, что куполообразные контактные точки (21) размещены на монтажной стороне (4) печатной платы (2) по координатной сетке.
3. Экранирующее устройство по п.1 или 2, отличающееся тем, что печатная плата (2) снабжена проходными отверстиями (10), чтобы после установки экранирующего кожуха (20) лепестки (8) выступали со стороны выхода из проходного отверстия и пластически деформированные торцевые участки (9) лепестков зацеплялись с печатной платой (2) с обратной стороны.
4. Экранирующее устройство по п.3, отличающееся тем, что каждый торцевой участок лепестка (8) выполнен как ограничительный язычок (11).
5. Экранирующее устройство по п.3, отличающееся тем, что экранирующий кожух (20), состоящий из одного материала и цельный, переходящий один в другой, выполнен из металлического материала.
6. Экранирующее устройство по п.5, отличающееся тем, что кромка (3) выполнена как прямоугольная отбортовка (12), которая в смонтированном состоянии экранирующего кожуха (20) проходит, по существу, параллельно монтажной стороне (4), и каждый лепесток (8) отформован с внешней стороны на периферии и выполнен выступающим в продолжении стенки (17) экранирующего кожуха (20).
7. Экранирующее устройство по п.6, отличающееся тем, что уплотнительный элемент (22) выполнен как плоский уплотнительный элемент (13) и закреплен посредством электрически проводящего клеящего материала (14) на кромке (3) экранирующего колпака (20) или монтажной стороны (4).
8. Экранирующее устройство по п.3, отличающееся тем, что экранирующий кожух (20) выполнен в виде детали, изготовленной гибкой в штампе.
9. Экранирующее устройство по п.3, отличающееся тем, что экранирующий кожух (20) выполнен квадратной формы.
10. Экранирующее устройство по п.9, отличающееся тем, что в части крышки (16) и/или в части стенки (17) экранирующего кожуха (20) предусмотрены окна (15).
11. Экранирующее устройство по п.10, отличающееся тем, что на печатной плате (2) размещено несколько экранирующих кожухов (20), причем эффективность экранирования этих экранирующих кожухов различна.
12. Экранирующее устройство по п.1 или 2, отличающееся тем, что уплотнительный элемент (22) образован из полимерного материала, особенно предпочтительно из полиамидного нетканого материала, который имеет металлическое покрытие или обвязан металлической оплеткой.
13. Экранирующее устройство по п.1 или 2, отличающееся тем, что уплотнительный элемент (22) образован из электрически проводящего эластомера, который обвязан оцинкованной, фольгированной медью оплеткой из стальной проволоки.
РИСУНКИ
|
|