|
(21), (22) Заявка: 2006105124/09, 20.02.2006
(24) Дата начала отсчета срока действия патента:
20.02.2006
(30) Конвенционный приоритет:
21.02.2005 KR 2005-14016
(46) Опубликовано: 10.01.2008
(56) Список документов, цитированных в отчете о поиске:
RU 8092 U1, 16.10.1998. RU 2169830 C1, 27.06.2001. US 3978313, 31.08.1976. US 3688077, 29.08.1972. US 4418269, 29.11.1983. DE 3421807, 12.12.1985.
Адрес для переписки:
129010, Москва, ул. Б. Спасская, 25, стр.3, ООО “Юридическая фирма Городисский и Партнеры”, пат.пов. С.А.Дорофееву
|
(72) Автор(ы):
ЧОЙ Дзай Хо (KR), КИМ Хиунг Дзун (KR), ПАРК Сунг Ил (KR), ЧО Сеонг Хо (KR)
(73) Патентообладатель(и):
ЭлДжи ЭЛЕКТРОНИКС ИНК. (KR)
|
(54) НАГРЕВАТЕЛЬ ВОДЫ, ИСПОЛЬЗУЮЩИЙ ЭЛЕКТРОДЫ (ВАРИАНТЫ)
(57) Реферат:
Предложен нагреватель воды, использующий электроды. Нагреватель воды включает в себя нагревательный бак, в котором находится раствор электролита, и множество пар нагревающих электродов, состоящих из чередующихся положительных и отрицательных электродов, расположенных в нагревательном баке по внутренней периферии бака на одинаковых расстояниях. Поскольку множество пар электродов расположено в нагревательном баке на одинаковых расстояниях, нагревание всегда можно выполнять в положении, в котором имеется количество раствора электролита, не меньшее минимального уровня воды, независимо от положения нагревательного бака, в результате чего обеспечивается возможность нагревания воды или генерирования пара. Поэтому данный нагреватель воды можно удобным образом применять для изделия, которое наклоняется или опрокидывается и которое не имеет определенной ориентации. 2 н. и 6 з.п. ф-лы, 13 ил.
Изобретение относится к нагревателю воды, который можно использовать для пароочистителя или печи, в частности – к нагревателю воды, в котором три электрода или более расположены в емкости таким образом, что воду можно нагревать независимо от положения бака.
В обычном пароочистителе, как видно на Фиг.1, бак 1 для воды, представляющий собой пространство для хранения воды, и котел 10 для нагревания воды, подаваемой из бака 1 для воды для генерирования пара, заключены в основном корпусе пароочистителя.
При этом насос 3 установлен между баком 1 для воды и котлом 10 и подает воду. Клапан для открытия и закрытия канала можно установить вместо насоса 3 или в дополнение к нему.
В пароочистителе паровая насадка 7 для распыления генерируемого котлом 10 пара на подлежащий очистке объект установлена в головке (не показана), которая контактирует с очищаемым объектом.
Такой нагреватель, как генерирующий пар котел 10, используется для пароочистителя описанной выше конструкции или в печи для приготовления пищи. Фиг.2 представляет вид в перспективе нагревателя воды, который генерирует пар при помощи угольных электродов.
Как показано на Фиг.2, нагреватель воды 10′, использующий угольные электроды, подразделяется на нагревательный бак 11 и угольные электроды 15.
Нагревательный бак 11 содержит отверстие 12 подачи воды, через которое подается раствор электролита, и отверстие 13 выпуска пара, через которое выпускается пар. Два или более угольных электродов 15 установлены на дне нагревательного бака 11, в результате чего ток протекает к угольным электродам 15 и нагревает раствор электролита в нагревательном баке 11. В этом случае в качестве раствора электролита можно использовать легко получаемую соленую воду и в качестве угольных электродов 15 можно использовать углеродный материал, имеющий низкую реакционную способность.
В нагревателе воды 10′, использующем угольные электроды упоминаемой выше конструкции, когда ток протекает через угольные электроды 15, и при этом пары угольных электродов 15 состоят из положительного электрода и отрицательного электрода и погружены в раствор электролита в нагревательном баке 11 согласно Фиг.3, ток, протекающий через угольные электроды 15, нагревает раствор электролита, в результате чего генерируется пар.
Но если одна из пар угольных электродов 15 не погружена в раствор электролита, то ток не протекает через угольные электроды 15, и поэтому обычное нагревание не происходит.
То есть, поскольку пара электродов расположена на дне нагревательного бака, то когда нагревательный бак наклонен под углом, не меньшим, чем определенный угол, или опрокинут, как показано на чертежах Фиг.4 и 5, и какая-либо пара угольных электродов 15 не погружена в раствор электролита, то ток не протекает через угольные электроды 15, и по этой причине работа нагревателя останавливается. Поэтому когда обычный нагреватель, использующий угольные электроды, применяется для устройства, подвергающегося сильным колебаниям, или для устройства, не находящегося в определенном направлении, то работа нагревателя не может выполняться в нормальном режиме, так что имеют место ограничения в применении изделия.
Соответственно техническая задача настоящего изобретения заключается в решении проблем и в устранении недостатков известных устройств.
Задача настоящего изобретения заключается в создании нагревателя воды, использующего электроды и выполненного с возможностью всегда осуществлять нормальную работу в положении, когда раствор электролита наполняет нагревательный бак на заданную величину, даже если нагревательный бак наклонен или опрокинут, чтобы можно было нагревать воду и генерировать пар независимо от положения изделия, для которого применяется данный нагреватель воды.
Для решения этой задачи создан нагреватель воды, использующий электроды и содержащий бак с раствором электролита и множество пар нагревающих электродов, состоящих из положительных электродов и отрицательных электродов, расположенных в нагревательном баке на одинаковых расстояниях.
Предпочтительно нагревающие электроды расположены таким образом, что положительные электроды и отрицательные электроды чередуются друг с другом по внутреннему периметру нагревательного бака через одинаковые расстояния.
Предпочтительно нагревательный бак представляет собой емкость, и верхнюю и нижнюю поверхности, которые образуют обе стороны емкости, причем подающее отверстие образовано на одной из верхней поверхности и нижней поверхности сторон, и выпускное отверстие образовано на другой стороне.
Предпочтительно емкость имеет цилиндрическую форму.
Предпочтительно отверстия подачи и выпуска противостоят друг другу.
Предпочтительно нагревающие электроды расположены в продольном направлении между верхней поверхностью и нижней поверхностью по периметру нагревательного бака на одинаковых расстояниях.
Для решения упоминаемой выше задачи создан нагреватель воды, использующий электроды и содержащий нагревательный бак, в котором находится раствор электролита, и множество пар нагревающих электродов, состоящих из положительных и отрицательных электродов, расположенных в нагревательном баке на одинаковых расстояниях. Нагревающие электроды расположены таким образом, что по меньшей мере часть по меньшей мере пары электродов всегда погружена в раствор электролита в положении, в котором количество раствора электролита, не меньшее минимального уровня воды, сохраняется независимо от направления или положения нагревательного бака.
Предпочтительно нагревательные электроды расположены таким образом, что положительные электроды и отрицательные электроды чередуются по внутреннему периметру нагревательного бака на одинаковых расстояниях.
Предпочтительно нагревательный бак содержит емкость и верхнюю и нижнюю поверхности, которые образуют две стороны емкости, причем подающее отверстие сформировано на одной стороне верхней поверхности и нижней поверхности сторон и выпускное отверстие образовано на другой стороне.
Предпочтительно нагревающие электроды расположены в продольном направлении между верхней поверхностью и нижней поверхностью по периметру нагревательного бака на одинаковых расстояниях.
Изобретение излагается подробно со ссылкой на упоминаемые ниже чертежи, на которых одинаковые ссылочные позиции обозначают одинаковые элементы.
Фиг.1 – блок-схема основной части пароочистителя, содержащего нагреватель воды согласно известному уровню техники.
Фиг.2 – вид в перспективе нагревателя воды согласно известному уровню техники.
Фиг.3 – вертикальная проекция нагревателя воды согласно известному уровню техники.
Фиг.4-6 – положения, в которых электрод погружен в раствор электролита в соответствии с изменением положения нагревателя воды известного уровня техники.
Фиг.7 – вид в перспективе нагревателя воды согласно настоящему изобретению.
Фиг.8 – вертикальная проекция нагревателя воды согласно настоящему изобретению.
Фиг.9 – горизонтальная проекция нагревателя воды согласно настоящему изобретению.
Фиг.10 и 11 – положения, в которых электроды погружены в раствор электролита, когда нагреватель воды согласно изобретению находится в горизонтальном направлении.
Фиг.12 и 13 – положения, в которых электроды погружены в раствор электролита, когда нагреватель воды согласно изобретению наклонен под определенным углом.
Предпочтительные варианты осуществления изобретения излагаются более подробно со ссылкой на прилагаемые чертежи.
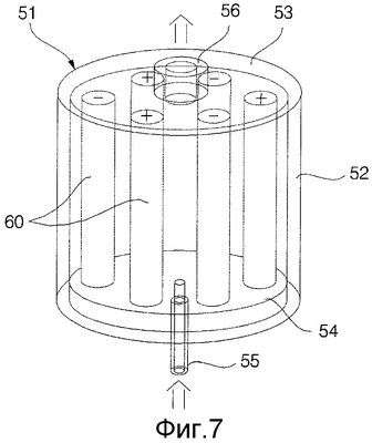
Фиг.7 представляет вид в перспективе нагревателя воды согласно изобретению. Фиг.8 показывает вертикальную проекцию нагревателя воды согласно изобретению. Фиг.9 показывает горизонтальную проекцию нагревателя воды согласно изобретению.
На Фиг.7 нагреватель воды, использующий электроды согласно изобретению, содержит нагревательный бак 51 с раствором электролита и нагревающие электроды 60, состоящие из множества пар положительных и отрицательных электродов, расположенных на одинаковых расстояниях в нагревательном баке 51.
Нагревающие электроды 60 расположены таким образом, что по меньшей мере часть по меньшей мере пары электродов всегда погружена в раствор электролита в положении, в котором количество раствора электролита, не меньшее минимального уровня, сохраняется независимо от направления или положения нагревательного бака 51, и в котором всегда нагревается вода, находящаяся в нагревательном баке 51.
В нагревателе воды нагревательный бак 51 содержит емкость 52 и верхнюю поверхность 53 и нижнюю поверхность 54, которые образуют две стороны емкости 52. Подающее отверстие 55, в которое входит вода, и выпускное отверстие 56, в которое выпускается пар, образованы на верхней поверхности 53 и на нижней поверхности 54.
Емкость 52 имеет цилиндрическую форму.
Подающее отверстие 55 и выпускное отверстие 56 противостоят друг другу.
Нагревательный бак 51 может быть выполнен в виде многоугольной колонны, например квадратной или пятиугольной, и также в форме цилиндра. Положения подающего отверстия 55 и выпускного отверстия 56 могут также быть другими.
Нагревающие электроды 60 расположены таким образом, что положительные электроды и отрицательные электроды чередуются по внутреннему периметру нагревательного бака 51 на одинаковых расстояниях, в результате чего ток протекает по меньшей мере через пару электродов в положении, в котором раствор электролита сохраняется в количестве, не меньшем чем минимальный уровень.
Если нагревающий бак 51 выполнен цилиндрическим, то нагревающие электроды 60 расположены продольно между верхней поверхностью 53 и нижней поверхностью 54 по периферии нагревательного бака 51 на одинаковых расстояниях.
Согласно данному варианту осуществления предусматриваются три пары электродов, т.е. шесть электродов. Но настоящее изобретение не ограничивается этим числом электродов, и можно предусмотреть меньшее или большее число пар электродов.
Причем, чем больше будет пар нагревающих электродов 60, тем ниже будет минимальный уровень воды в нагревательном баке 51.
Нагревающие электроды 60 предпочтительно являются угольными электродами. Нагревающие электроды 60 могут иметь форму цилиндров, как показано на чертежах, либо могут быть выполнены в виде многоугольных стержней, которые на чертежах не показаны. Ниже приводится описание работы нагревателя воды, использующего электроды и имеющего описанную выше конструкцию, согласно настоящему изобретению.
Фиг.10 и 11 показывают состояния, в которых электроды погружены в раствор электролита, когда нагреватель воды согласно изобретению находится в горизонтальном положении. Фиг.12 и 13 показывают состояния, в которых электроды погружены в раствор электролита, когда нагреватель воды согласно изобретению наклонен под определенным углом.
Когда нагревательный бак 51 находится в горизонтальном положении и раствор электролита заполняет нагревательный бак 51 приблизительно наполовину, то три 60′ электрода из числа нагревающих электродов 60, включающие в себя два положительных электрода и один отрицательный электрод, погружены в раствор электролита. При подаче электричества на нагревающие электроды 60 в этом положении ток протекает через нагревающие электроды 60′, погруженные в раствор электролита и нагревающие раствор электролита.
Фиг.10 и 11 показывают положения, в которых все три 60′ электрода из числа электродов 60 погружены в раствор электролита. Фиг.12 и 13 показывают положения, в которых только части трех электродов 60′ из числа нагревающих электродов 60 погружены в раствор электролита.
То есть, когда нагревательный бак 51 наклонен под определенным углом относительно перпендикуляра, то тогда только нижние части трех электродов 60′ погружены в раствор электролита. Причем, когда даже части положительных электродов и отрицательных электродов погружены в раствор электролита, ток протекает через раствор электролита и нагревает раствор электролита.
При этом, когда уровень раствора электролита в нагревательном баке 51 понизится и в раствор электролита будет погружен только один электрод, то ток не будет течь. Поэтому минимальный уровень воды предпочтительно определяется в соответствии с направлением нагревательного бака 51. Для понижения минимального уровня воды нужно будет расположить большее число нагревающих электродов 60 в нагревательном баке 51.
Эффекты нагревателя воды, использующего электроды согласно настоящему изобретению и имеющему описываемую выше конструкцию, следующие.
В нагревателе воды, использующем электроды согласно настоящему изобретению и имеющем описываемую выше конструкцию, поскольку не только пара электродов, но и множество пар электродов расположены в нагревательном баке на одинаковых расстояниях в отличие от известного нагревателя воды, поэтому нагревание всегда можно выполнять в положении, в котором имеется количество раствора электролита, не меньшее минимального уровня воды, причем независимо от направления нагревательного бака, и поэтому обеспечивается возможность нагревания воды и генерирования пара. Поэтому нагреватель воды согласно настоящему изобретению можно удобным образом применять для изделия, наклоненного или опрокинутого и не находящегося в определенном направлении.
Формула изобретения
1. Нагреватель воды, использующий электроды и содержащий нагревательный бак, в котором находится раствор электролита, и множество пар нагревающих электродов, состоящих из положительных электродов и отрицательных электродов, расположенных в нагревательном баке, при этом нагревающие электроды расположены таким образом, что положительные электроды и отрицательные электроды чередуются по внутренней периферии нагревательного бака на одинаковых расстояниях.
2. Нагреватель воды по п.1, в котором нагревательный бак содержит емкость и верхнюю и нижнюю поверхности, которые образуют две стороны емкости, при этом подающее отверстие сформировано на одной стороне из верхней поверхности и нижней поверхности и выпускное отверстие сформировано на другой стороне.
3. Нагреватель воды по п.2, в котором емкость имеет цилиндрическую форму.
4. Нагреватель воды по п.2, в котором подающее отверстие и выпускное отверстие расположены друг напротив друга.
5. Нагреватель воды по п.2, в котором нагревающие электроды расположены продольно между верхней поверхностью и нижней поверхностью по периферии нагревательного бака на одинаковых расстояниях.
6. Нагреватель воды, использующий электроды и содержащий нагревательный бак, в котором находится раствор электролита, и множество пар нагревающих электродов, состоящих из положительных электродов и отрицательных электродов, расположенных в нагревательном баке, причем нагревающие электроды расположены таким образом, что по меньшей мере часть по меньшей мере пары электродов всегда погружена в раствор электролита в положении, в котором находится количество раствора электролита, не меньшее минимального уровня воды, независимо от направления или положения нагревательного бака, при этом нагревающие электроды расположены таким образом, что положительные электроды и отрицательные электроды чередуются по внутренней периферии нагревательного бака на одинаковых расстояниях.
7. Нагреватель воды по п.6, в котором нагревательный бак содержит емкость и верхнюю и нижнюю поверхности, которые образуют две стороны емкости, при этом подающее отверстие сформировано на одной стороне из верхней поверхности и нижней поверхности и выпускное отверстие сформировано на другой стороне.
8. Нагреватель воды по п.6, в котором нагревающие электроды расположены продольно между верхней поверхностью и нижней поверхностью по периферии нагревательного бака на одинаковых расстояниях.
РИСУНКИ
|