|
|
(21), (22) Заявка: 2005125597/09, 09.02.2004
(24) Дата начала отсчета срока действия патента:
09.02.2004
(30) Конвенционный приоритет:
12.02.2003 (пп.1-17, 24-40) KR 10-2003-0008934 31.03.2003 (пп.8-23, 41-47) KR 10-2003-0020275
(43) Дата публикации заявки: 27.01.2006
(46) Опубликовано: 10.01.2008
(56) Список документов, цитированных в отчете о поиске:
RU 2157598 С1, 10.10.2000. 3GPP TR 23.846 1.1.1, 22.07.2002. US 6157815, 05.12.2000. US 2002057663, 16.05.2002.
(85) Дата перевода заявки PCT на национальную фазу:
11.08.2005
(86) Заявка PCT:
KR 2004/000250 (09.02.2004)
(87) Публикация PCT:
WO 2004/073256 (26.08.2004)
Адрес для переписки:
129010, Москва, ул. Б. Спасская, 25, стр.3, ООО “Юридическая фирма Городисский и Партнеры”, пат.пов. Ю.Д.Кузнецову, рег.№ 595
|
(72) Автор(ы):
КИМ Еун-Дзунг (KR), ЛИ Коок-Хеуй (KR), ЧОЙ Сунг-Хо (KR)
(73) Патентообладатель(и):
САМСУНГ ЭЛЕКТРОНИКС КО., ЛТД. (KR)
|
(54) СПОСОБ ПРЕДОСТАВЛЕНИЯ МУЛЬТИМЕДИЙНОЙ ШИРОКОВЕЩАТЕЛЬНОЙ/МНОГОАДРЕСНОЙ УСЛУГИ В ПОЛЬЗОВАТЕЛЬСКОМ ТЕРМИНАЛЕ СИСТЕМЫ МОБИЛЬНОЙ СВЯЗИ
(57) Реферат:
Способ управления информацией о пользовательских терминалах (UE) в системе мобильной связи, поддерживающей мультимедийную широковещательную/многоадресную услугу (MBMS). Контроллер радиосети (RNC) обеспечивает для пользовательских терминалов UE услугу с коммутацией пакетов (PS) и услугу с коммутацией каналов (CS). Пользовательский терминал UE, который находится в неактивном режиме управления мобильностью пакетной передачи (РММ-неактивном режиме) после присоединения, по меньшей мере, к одной услуге MBMS, передает информацию, относящуюся к услуге MBMS, к контроллеру RNC; и RNC сохраняет информацию, относящуюся к услуге MBMS, в первом контексте услуги для услуги MBMS, поддерживаемом в контроллере RNC, вместе с информацией о пользовательском терминале UE. 3 н. и 44 з.п. ф-лы, 25 ил.
Область техники
Настоящее изобретение относится к мультимедийной широковещательной/многоадресной услуге (MBMS), более конкретно к способу предоставления услуги MBMS в пользовательском терминале системы мобильной связи.
Предшествующий уровень техники
В последнее время, ввиду развития коммуникационной технологии, услуга, обеспечиваемая в системе мобильной связи широкополосного множественного доступа с кодовым разделением каналов (WCDMA), развивается как мультимедийное вещание/связь, имеющие возможность поддержки существующей речевой услуги, а также пакетной услуги и мультимедийной услуги, которая осуществляет передачу больших объемов данных, таких как пакетные данные и канальные данные. Для поддержки мультимедийного вещания/связи предложена услуга MBMS, в которой конкретная услуга обеспечивается от одного или нескольких источников данных для множества пользовательских терминалов (US).
Термин “услуга MBMS” относится к услуге, заключающейся в передаче одних и тех же мультимедийных данных к множеству получателей по радиосети. В услуге MBMS получатели могут совместно использовать один радиоканал, в целях экономии ресурсов радиопередачи. Услуга MBMS поддерживает передачу мультимедийных данных, таких как изображения и речь в реальном времени, неподвижное изображение и текст, и может одновременно передавать речевые данные и данные изображения в соответствии с типом мультимедийной передачи. Как таковая, услуга MBMS требует масштабных ресурсов передачи. Кроме того, поскольку одни и те же данные должны передаваться к множеству ячеек, где находятся пользователи, соединения устанавливаются по принципу “от точки к точке” (PtP) или по принципу “от точки к множеству точек” (PtM), в зависимости от числа пользователей, находящихся в каждой ячейке.
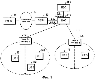
На фиг.1 представлена диаграмма, схематично иллюстрирующая узлы, использующие услугу MBMS в сети мобильной связи. На фиг.1 пользовательские терминалы UE 161, 162, 163, 171 и 172 представляют пользовательское оконечное оборудование или абонентов, получающих услугу MBMS, причем ячейка №1 160 и ячейка №2 170 управляются своими собственными базовыми станциями или узлами В, которые беспроводным способом передают данные, относящиеся к услуге MBMS, к абонентам. Контроллер 140 радиосети (RNC) управляет ячейками 160 и 170, селективно передает мультимедийные данные в конкретную ячейку и управляет радиоканалом, установленным для обеспечения услуги MBMS. Соединения между контроллером RNC 140 и пользовательскими терминалами 161 и 172 называются “интерфейсами управления радиоресурсами” (RRC).
Контроллер RNC 140 соединен с сетью с коммутацией пакетов или сетью пакетных услуг (PS), такой как Интернет, посредством узла 130 поддержки общих услуг пакетной радиосвязи (GPRS) (узла SGSN). Связь между контроллером RNC 140 и сетью PS реализуется посредством сигнализации с коммутацией пакетов (PS). В частности, соединение между контроллером RNC 140 и узлом SGSN 130 называется “Iu-PS-интерфейсом”.
Узел SGSN 130 управляет услугой MBMS для каждого абонента. Например, типовые функции узла SGSN 130 включают управление информацией, связанной с подпиской на услуги, каждого абонента и селективную передачу мультимедийных данных конкретному контроллеру RNC 140.
Транзитная сеть (NW) 120 обеспечивает коммуникационный канал между центром услуг широковещательной и многоадресной передачи (BM-SC) 110 и узлом SGSN 130 и может быть соединена с внешней сетью через не показанный на чертеже шлюзовой узел поддержки GPRS (узел GGSN). Центр BM-SC 110 является источником MBMS-данных и осуществляет планирование MBMS-данных.
Контроллер RNC 140 соединен с сетью с коммутацией каналов (CS) посредством центра коммутации мобильных станций (MSC) 150. Сеть CS представляет собой основанную на соединениях, ориентированную на передачу речи, традиционную коммуникационную сеть. Связь между контроллером RNC 140 и центром MSC 150 осуществляется посредством сигнализации с коммутацией каналов (CS). Более конкретно, соединение между контроллером RNC 140 и центром MSC 150 называется “Iu-CS-интерфейсом”. Поток MBMS-данных передается к пользовательским терминалам UE 161, 162, 163, 171 и 172 через транзитную сеть 120, узел SGSN 130, контроллер RNC 140 и узлы B 160 и 170.
Хотя на фиг.1 не показано, для одной услуги MBMS может использоваться множество узлов SGSN и множество контроллеров RNC для каждого узла SGSN. Каждый из узлов SGSN селективно передает данные к своему контроллеру RNC, и каждый из контроллеров RNC селективно передает данные к своим ячейкам. Список узлов, к которым должен передаваться поток данных, сохранен в узле SGSN и контроллере RNC (т.е. список контроллеров RNC сохранен в каждом узле SGSN, и список ячеек сохранен в каждом контроллере RNC), чтобы затем селективно передавать данные MBMS только к узлам, сохраненным в списке.
Для того чтобы пользовательские терминалы UE получали доступ к сети и получали услугу из нее, сначала должен быть создан контекст между пользовательскими терминалами UE и сетевыми узлами, представляющий собой набор информации, необходимой для обеспечения соответствующей услуги. UE-контекст и MM (управление мобильностью)-контекст являются примерами контекста.
Контроллер RNC создает UE-контекст для пользовательских терминалов UE после установки RRC-соединения. UE-контекст включает в себя базовую информацию, такую как идентификация пользовательского терминала (UE ID), информация местоположения пользовательского терминала UE, информация состояния RRC для пользовательского терминала UE и информация о радиоресурсах, выделенных пользовательскому терминалу UE. Кроме того, UE-контекст управляется контроллером RNC, когда активируется RRC-соединение.
MM-контекст используется для управления местоположением пользовательского терминала UE в базовой сети (CN). Чтобы пользовательский терминал UE принимал PS-услугу, MM-контекст пользовательского терминала UE должен быть сначала создан в узле SGSN и узле GGSN посредством процедуры GPRS-присоединения. В частности, MM-контекст узла SGSN включает в себя идентификацию UE ID, такую как IMSI (Международный идентификатор мобильного абонента), P-TMSI (Временный идентификатор мобильного абонента), IMEI (Международный идентификатор мобильного устройства), MS-ISDN (ISDN (Цифровая сеть с комплексными услугами) -номер мобильного абонента), информацию местоположения, такую как RA (область маршрутизации) и SAC (код области обслуживания), информацию, связанную с аутентификацией/шифрованием, информацию регистрации и параметры DRX (прерывистого приема).
Сетевые узлы, такие как контроллер RNC, центр коммутации MSC и узел SGSN, управляют состоянием пользовательского терминала для эффективной передачи сигнализации и передачи данных. В частности, контроллер RNC управляет RRC-состоянием пользовательского терминала UE, а RRC-состояние определяется в соответствии с установленным RRC-соединением пользовательского терминала UE. Состояние, в котором RRC-соединение установлено, называется “RRC-соединенным состоянием”, а состояние, в котором RRC-соединение не установлено, называется “RRC-неактивным состоянием”.
Узел SGSN управляет состоянием “управления мобильностью пакетной услуги” (PMM-состоянием) пользовательского терминала UE. Пользовательский терминал UE, для которого не создан MM-контекст в узле SGSN, идентифицируется как UE в PMM-отсоединенном состоянии. Пользовательский терминал UE, для которого MM-контекст создан в узле SGSN посредством процедуры GPRS-присоединения, может определяться как UE в PMM-соединенном состоянии и как UE в PMM-неактивном состоянии. Состояние, в котором пользовательский терминал UE имеет соединение Iu-PS-сигнализации и находится в RRC-соединенном состоянии, называется PMM-соединенным состоянием. Состояние, в котором пользовательский терминал UE не имеет соединения Iu-PS-сигнализации или находится в RRC-неактивном состоянии, называется PMM-неактивным состоянием. Центр коммутации MSC управляет состоянием “управления мобильностью канальной услуги” (CMM-состоянием) пользовательского терминала UE. Состояние, в котором пользовательский терминал UE имеет соединение Iu-CS-сигнализации и находится в RRC-соединенном состоянии, называется CMM-соединенным состоянием, а состояние, в котором пользовательский терминал UE не имеет соединения Iu-CS-сигнализации или находится в RRC-неактивном состоянии, называется CMM-неактивным состоянием.
Для пользовательских терминалов UE, запрашивающих услугу MBMS, контекст услуги MBMS и контекст MBMS UE используются в сетевых узлах для услуги MBMS. Поскольку услуга MBMS одновременно осуществляет передачу одной и той же информации множеству UE, то контекст услуги MBMS уникальным образом создается для каждой услуги MBMS или каждой сессии в услуге MBMS, вместо индивидуального создания для каждого пользовательского терминала UE. Контекст MBMS UE сохраняет информацию об услуге MBMS, к которой присоединился каждый пользовательский терминал UE.
Для выполнения услуги MBMS контекст услуги MBMS должен быть сначала создан в пользовательских терминалах UE и в центрах услуг BM-SC, которые являются внешними (интерфейсными) пунктами услуги MBMS. Таким образом, контекст услуги MBMS создается в контроллере RNC, узлах SGSN и GGSN, которые являются сетевыми узлами для передачи данных MBMS.
В PS-сети, представленной контроллером RNC и узлом SGSN, пользовательский терминал UE может не принять поисковый вызов MBMS из PS-сети. Эта ситуация может возникнуть, когда RRC-соединение хотя и установлено для услуги с коммутацией каналов (CS) между пользовательским терминалом UE и RNC, однако PS-сеть не распознает этот факт.
На фиг.2 представлена диаграмма, иллюстрирующая процедуру, имеющую место, когда пользовательский терминал UE находится в РММ-неактивном режиме при поддержании RRC-соединения, установленного с контроллером RNC (RRC-соединенное состояние), в обычной системе MBMS. На фиг.2 ссылочная позиция 202 представляет пользовательский терминал UE, принимающий услугу MBMS, ссылочная позиция 204 обозначает обслуживающий контроллер RNC (SRNC) для услуги MBMS, который связан с пользовательским терминалом UE 202, и ссылочная позиция 206 представляет узел SGSN базовой сети CN для услуги MBMS.
Пользовательский терминал UE 202 находится в РММ-неактивном режиме, когда он подсоединен к услуге MBMS, но не имеет PS-сигнализации. Согласно фиг.2 на этапе 210 пользовательский терминал UE 202 устанавливает RRC-соединение для приема CS-услуги и переходит в состояние прямого канала доступа (FACH) ячейки или состояние выделенного канала DCH ячейки режима RRC-соединения. На этапе 220 узел SGSN 206 обнаруживает запуск услуги MBMS посредством сообщения запуска сессии MBMS, принимаемого через центр BM-SC. Сообщение запуска сессии MBMS содержит идентификатор услуги MBMS, информацию области многоадресной передачи и информацию качества обслуживания (QoS).
На этапе 230 узел SGSN 206 осуществляет поиск контекста услуги MBMS, соответствующего услуге MBMS, идентифицированной идентификатором услуги MBMS ID, включенным в сообщение запуска сессии MBMS, и посылает сообщение запуска сессии MBMS к контроллерам RNC, принадлежащим к списку контроллеров, включенному в контекст услуги MBMS, и всем контроллерам RNC, принадлежащим к области маршрутизации (RA), к которой относятся пользовательские терминалы UE в PMM-неактивном состоянии, чтобы информировать контроллеры RNC, что началась передача данных MBMS.
На этапе 240 контроллер RNC 204 анализирует MBMS ID в сообщении запуска сессии MBMS, полученном от узла SGSN 206, чтобы послать поисковый вызов к пользовательским терминалам UE, которые запрашивают услугу MBMS. Здесь, поскольку сообщение запуска сессии MBMS на этапе 230 не включает в себя UE ID, то контроллер SRNC 204 обнаруживает идентификаторы ID пользовательских терминалов UE, присоединившихся к услуге MBMS, с использованием MBMS ID, включенного в сообщение запуска сеанса MBMS.
В процедуре поискового вызова MBMS, контроллер SRNC 204 вычисляет одни и те же значения PO (возникновения поискового вызова) и PI (экземпляра поискового вызова) с использованием идентификатора MBMS ID (например, TMGI) и параметра DRX. Контроллер SRNC 204 включает или выключает канал индикации пилот-сигнала (PICH) на период времени, указанный посредством PI и PO, чтобы указать, принимается ли связанный канал поискового вызова (PCH) для пользовательских терминалов UE, и посылает поисковый вызов пользовательским терминалам UE посредством связанного канала PCH, который инициируется спустя предварительно заданное время после канала PICH. В данном случае, для поискового вызова пользовательских терминалов UE в состоянии канала DCH ячейки, используется сообщение поискового вызова типа 2, передаваемое по выделенному каналу управления (DCCH).
Однако если контроллер SRNC 204 удаляет информацию о связи между определенным пользовательским терминалом UE 202 и услугой MBMS, как показано на этапе 240, когда пользовательский терминал UE 202 переключается в PMM-неактивный режим, то контроллер SRNC 204 не может передать сообщение поискового вызова типа 2 к пользовательскому терминалу UE 202, как показано на этапе 250.
То есть, контроллер SRNC 204 использует общий канал (CCH) для поискового вызова пользовательских терминалов UE в PMM-неактивном режиме. Однако поскольку пользовательский терминал UE 202 в действительности имеет выделенный канал для CS-услуги в CS-сети, он не может принимать поисковый вызов MBMS по общему каналу. Поэтому пользовательский терминал UE 202 не может принимать данные MBMS, хотя он запросил услугу MBMS.
Сущность изобретения
Поэтому задачей настоящего изобретения является создание способа выполнения поискового вызова в услуге MBMS пользовательских терминалов UE во всех состояниях, чтобы обеспечить услугу MBMS в системе мобильной связи.
Другой задачей настоящего изобретения является создание способа выполнения поискового вызова в услуге MBMS пользовательских терминалов UE в состоянии услуги CS, чтобы обеспечить услугу MBMS в системе мобильной связи.
Еще одной задачей настоящего изобретения является создание способа поддержания контекста услуги MBMS для пользовательских терминалов UE в PMM-неактивном/RRC-соединенном режиме в контроллере RNC.
Еще одной задачей настоящего изобретения является создание способа поддержания контекста услуги MBMS для пользовательских терминалов UE в PMM-неактивном/RRC-соединенном режиме в узле SGSN.
В соответствии с одним из аспектов настоящего изобретения, предложен способ управления информацией о пользовательских терминалах UE в системе мобильной связи, содержащей узел В, множество пользовательских терминалов UE, имеющих возможность связи с узлом В в ячейке, занятой узлом В, и контроллер радиосети (RNC) для управления передачами узла В и пользовательских терминалов UE для обеспечения услуги с коммутацией пакетов (PS) и услуги с коммутацией каналов (CS) для пользовательских терминалов UE, причем система обеспечивает мультимедийную широковещательную/многоадресную услугу (MBMS) для пользовательских терминалов UE. Способ содержит этапы передачи информации, относящейся к услуге MBMS, пользовательского терминала UE, который находится в неактивном режиме управления мобильностью пакетной передачи (PMM-неактивном режиме), после присоединения, по меньшей мере, к одной услуге MBMS, от пользовательского терминала UE к контроллеру RNC; и сохранение информации, относящейся к услуге MBMS, в первом контексте услуги для услуги MBMS, поддерживаемом в контроллере RNC, вместе с информацией о пользовательском терминале UE.
В соответствии с другим аспектом настоящего изобретения, предложен способ управления информацией о пользовательских терминалах UE в системе мобильной связи, содержащей узел В, множество пользовательских терминалов UE, имеющих возможность связи с узлом В в ячейке, занятой узлом В, и контроллер радиосети (RNC) для управления передачами узла В и пользовательских терминалов UE для обеспечения услуги с коммутацией пакетов (PS) или услуги с коммутацией каналов (CS) для пользовательских терминалов UE и обслуживающий узел для управления контроллером RNC, причем система обеспечивает мультимедийную широковещательную/многоадресную услугу (MBMS) для пользовательских терминалов UE. Способ содержит этапы передачи информации, относящейся к услуге MBMS, пользовательского терминала UE, который находится в неактивном режиме управления мобильностью пакетной передачи (PMM-неактивном режиме), после присоединения, по меньшей мере, к одной услуге MBMS, от пользовательского терминала UE к обслуживающему узлу; связывание информации, относящейся к услуге MBMS, с информацией о пользовательском терминале UE и сохранение информации, относящейся к услуге MBMS, связанной с информацией о пользовательском терминале UE, в первом контексте услуги для услуги MBMS в обслуживающем узле.
Краткое описание чертежей
Вышеуказанные и другие задачи, признаки и преимущества настоящего изобретения поясняются в последующем детальном описании со ссылками на чертежи, на которых показано следующее:
Фиг.1 – схематичное представление сетевой конфигурации для мультимедийной широковещательной/многоадресной услуги (MBMS);
Фиг.2 – диаграмма, иллюстрирующая пользовательский терминал UE в РММ-неактивном режиме, имеющий RRC-соединение в обычной системе MBMS;
Фиг.3 – диаграмма, иллюстрирующая процедуру выполнения услуги MBMS;
Фиг.4 – диаграмма, иллюстрирующая контекст услуги MBMS для услуги MBMS;
Фиг.5 – детальная диаграмма, иллюстрирующая процедуру присоединения для услуги MBMS;
Фиг.6 – диаграмма, иллюстрирующая процедуру разъединения соединения сигнализации с сетью PS пользовательским терминалом UE, который присоединился к услуге MBMS;
Фиг.7 – 9 – диаграммы, иллюстрирующие процедуры для передачи информации, относящейся к услуге MBMS, от пользовательского терминала UE к контроллеру RNC, согласно первому варианту осуществления изобретения;
Фиг.10 – 12 – блок-схемы алгоритмов, иллюстрирующие работу пользовательского терминала UE, соответственно первому варианту осуществления изобретения;
Фиг.13 – 15 – блок-схемы алгоритмов, иллюстрирующие работу контроллера RNC, соответственно первому варианту осуществления изобретения;
Фиг.16 и 17 – блок-схемы алгоритмов, иллюстрирующие процедуру обновления контекста услуги MBMS узлом SGSN, соответственно первому варианту осуществления изобретения;
Фиг.18 – 21 – диаграммы, иллюстрирующие процедуры для передачи информации, относящейся к услуге MBMS, к контроллеру RNC и узлу SGSN, когда пользовательский терминал UE, присоединяющийся к услуге MBMS, выполняет установку RRC-соединения согласно второму варианту осуществления изобретения;
Фиг.22 – диаграмма, иллюстрирующая процедуру разъединения RRC-соединения контроллером RNC и узлом SGSN согласно другому предпочтительному варианту осуществления изобретения;
Фиг.23 – диаграмма, иллюстрирующая процедуру запроса контроллера RNC и узла SGSN на выход из услуги MBMS согласно другому предпочтительному варианту осуществления изобретения;
Фиг.24 – блок-схема алгоритма, иллюстрирующая операцию узла SGSN по сохранению информации, относящейся к услуге MBMS, соответственно второму варианту осуществления изобретения; и
Фиг.25 – блок-схема алгоритма, иллюстрирующая операцию пользовательского терминала UE по передаче информации, относящейся к услуге MBMS, в соответствии со вторым вариантом осуществления изобретения.
Детальное описание предпочтительного варианта осуществления изобретения
Предпочтительные варианты осуществления настоящего изобретения описаны ниже более подробно со ссылками на чертежи, на которых одинаковые или сходные элементы обозначены теми же самыми ссылочными позициями, даже если они показаны на разных чертежах. В последующем описании известные функции и конфигурации подробно не описываются, чтобы не загромождать описание сущности изобретения несущественными деталями.
На фиг.3 представлена диаграмма, иллюстрирующая процедуру выполнения услуги MBMS между пользовательским терминалом UE и сетью. На фиг.3 центр ВМ-SC 306 осуществляет связь с пользовательским терминалом UE 302 через контроллер RNC 304. Контроллер RNC 304 осуществляет связь с центром BM-SC 306 через узел SGSN (не показан). Хотя на фиг.3 для простоты показаны один контроллер RNC 304 и один пользовательский терминал UE 302, та же самая процедура может также применяться к множеству пользовательских терминалов UE, запрашивающих услугу MBMS, и множеству RNC.
Согласно фиг.3 на этапе 310 абонирования пользователь или пользовательский терминал UE 302, запрашивающий услугу MBMS, осуществляет подписку (или регистрируется) у провайдера услуг или в центре BM-SC 306. На этапе 310 абонирования пользователь обменивается основной информацией, относящейся к учетной записи или приему услуги, с провайдером услуг.
На этапе 320 оповещения пользовательские терминалы UE обнаруживают основную информацию об услуге MBMS, такую как идентификаторы (MBMS ID) для услуг MBMS, доступных в центре BM-SC 306, и время запуска услуги и ее длительность. Например, MBMS ID содержит адрес групповой передачи и имя пункта доступа (APN). На этапе 320 оповещения узлы, включенные между центром BM-SC 306 и пользовательским терминалом UE 302, т.е. контроллер RNC 304, узел SGSN и транзитная сеть, обнаруживают пользовательский терминал UE 302 и узлы, связанные с пользовательским терминалом UE 302. Например, узел SGSN анализирует список пользовательских терминалов UE, желающих получить услугу MBMS, и список контроллеров RNC, где расположены пользовательские терминалы UE, и передает данные услуги MBMS только к контроллерам RNC, где находятся пользовательские терминалы UE, путем обращения к спискам.
После получения основной информации, относящейся к услуге MBMS, пользовательский терминал UE 302 выполняет этап 330 присоединения для получения требуемых ему данных услуги MBMS. На этапе 330 присоединения пользовательский терминал UE 302 посылает, по меньшей мере, один из MBMS ID, полученных на этапе 320 оповещения, в центр BM-SC 306.
Этап 340 уведомления предназначен для поискового вызова пользовательского терминала UE 302, чтобы проинформировать, что услуга MBMS, к которой присоединился пользовательский терминал UE 302, будет скоро инициирована. На этапе 340 уведомления множеству пользовательских терминалов 302, присоединившихся к услуге MBMS, посылается поисковый вызов на групповой основе.
Этап 350 распределения радиоресурсов представляет собой этап для текущего распределения ресурсов между пользовательским терминалом UE 302 и контроллером RNC 304 для обеспечения услуги MBMS и затем уведомления об этом соответствующих узлов. На этапе 350 контроллер RNC 304 может выбрать метод соединения от точки к множеству точек (PtM) или от точки к точке (PtP) на основе информации о числе пользовательских терминалов UE, принадлежащих каждой из его ячеек, и функции распределения радиоресурсов.
На этапе 360 передачи данных действительные данные услуги MBMS передаются к пользовательскому терминалу UE 302 через контроллер RNC 304. На этапе 360, например, если ключ шифрования для услуги MBMS должен быть изменен, то контроллер RNC 304 доставляет новый ключ шифрования ко всем пользовательским терминалам UE, получающим услугу MBMS.
Если услуга MBMS завершена (или приостановлена), то на этапе 370 освобождения радиоресурсов, выделенные радиоресурсы освобождаются, и пользовательский терминал UE 302 уведомляется, что радиоресурсы услуги MBMS освобождены. Хотя на чертеже не показано, при приеме услуги MBMS (на этапе 350) пользовательский терминал UE 302 может запросить приостановление услуги MBMS и затем приостановить прием услуги MBMS.
Для выполнения услуги MBMS, как описано выше, контекст услуги MBMS (или MBMS-контекст) должен быть сохранен в сетевых узлах, относящихся к соответствующей услуге MBMS, в частности, в узле SGSN и в контроллере RNC. Контекст услуги MBMS создается сетевыми узлами на этапе 330 присоединения. Время, когда контекст услуги MBMS генерируется, и метод управления контекстом услуги MBMS определяются в зависимости от функций сетевых узлов.
На фиг.4 показана диаграмма, иллюстрирующая контексты услуги MBMS, создаваемые контроллером RNC и узлом SGSN. На фиг.4 обслуживающий контроллер RNC (SRNC) для управления RRC-соединениями пользовательских терминалов UE отделен от управляющего контроллера RNC (CRNC) для управления ячейками, где в действительности находятся пользовательские терминалы UE.
Согласно фиг.4 первый контекст услуги MBMS, сохраненный в узле SGSN 406, включает в себя идентификатор услуги MBMS ID (или временный идентификатор группы MBMS – TMGI) список пользовательских терминалов UE (или список UE ID), список контроллеров RNC (или список RNC ID), список SAC (управления доступом к среде), информацию QoS (качества обслуживания) и информацию контекста MBMS PDP (протокола пакетной передачи данных) для множества пользовательских терминалов UE.
MBMS ID может представлять собой идентификатор (адрес групповой передачи/APN или идентификатор группы MBMS (imgI)), временно присвоенный соответствующей услуге MBMS соответствующим узлом SGSN (или узлом GGSN). Узел SGSN (или узел GGSN) присваивает значение TMGI, когда он впервые создает контекст услуги MBMS для услуги MBMS.
Список UE ID содержит идентификаторы ID пользовательских терминалов UE, принадлежащих соответствующему узлу SGSN, среди пользовательских терминалов UE, присоединившихся к соответствующей услуге MBMS. UE ID в контексте услуги MBMS используется как указатель, указывающий на MM-контекст в узле SGSN 406. Ввиду отношения отображения между контекстом услуги MBMS и MM-контекстом, поддерживаемого UE ID, MM-контекст (например, информация о MM-состоянии), необходимый для услуги MBMS, не сохраняется повторно в контексте услуги MBMS.
Список RNC ID представляет собой набор контроллеров RNC, к которым принадлежат пользовательские терминалы UE, включенные в список UE ID. С использованием списка RNC ID, узел SGSN может передавать данные услуги MBMS только к контроллерам RNC, к которым принадлежат пользовательские терминалы UE, которые действительно запрашивают услугу MBMS, а не передавать данные услуги MBMS ко всем своим контроллерам RNC.
Список SAC и список областей многоадресной передачи представляют области обслуживания, где доступна услуга MBMS. Информация QoS включает в себя атрибуты, такие как класс трафика, скорость передачи данных, информация формата SDU (блока данных услуги) и частота ошибок SDU данных услуги MBMS, подлежащих передаче.
Контексты услуги MBMS контроллеров RNC 404a и 404b имеют различный формат в соответствии с тем, является ли соответствующий контроллер обслуживающим контроллером RNC (SRNC) 404a для управления RRC-соединением пользовательского терминала UE или управляющим контроллером RNC (CRNC), где физически расположен пользовательский терминал UE.
Контекст услуги MBMS контроллера SRNC 404a содержит идентификатор услуги MBMS ID (или временный идентификатор группы – TMGI) и список UE ID (или список UE), а контекст услуги MBMS контроллера CRNC 404b содержит идентификатор услуги MBMS ID (или TMGI), список UE ID (или список UE) и информацию, относящуюся к каналу-носителю услуги MBMS, т.е. информацию о канале-носителе радиодоступа (RAB) MBMS.
Как указано выше, информация, относящаяся к каналу-носителю MBM, включает в себя информацию RAB между контроллером CRNC 404b и узлом SGSN 406 и информацию о радиоканале-носителе (RB) между контроллером CRNC 404b и пользовательскими терминалами UE. Информация RAB существует для каждой услуги MBMS каждого контроллера RNC для конкретного параметра качества обслуживания QoS, а информация RB существует для каждой услуги MBMS каждой ячейки для конкретного параметра качества обслуживания QoS.
Этап 330 присоединения, показанный на фиг.3, описан ниже подробно со ссылками на фиг.5. На фиг.5 ссылочная позиция 402 обозначает пользовательский терминал UE, получающий услугу MBMS, ссылочная позиция 404 обозначает контроллер RNC для услуги MBMS, связанный с пользовательским терминалом UE 402, ссылочная позиция 406 обозначает узел SGSN базовой сети (CN) для услуги MBMS. Как описано со ссылкой на фиг.3, пользовательский терминал UE 402 получает идентификаторы услуг MBMS, доступных в ячейке, посредством этапа 320 оповещения об услуге MBMS. Если RRC-соединение не установлено между пользовательским терминалом UE 402 и контроллером RNC 404, то пользовательский терминал UE 402 устанавливает RRC-соединение с контроллером RNC 404 на этапе 410, чтобы присоединиться к желательной услуге MBMS.
На этапе 412 пользовательский терминал UE 402 передает идентификатор ID желательной услуги MBMS из услуг MBMS в соответствующей ячейке, полученный посредством этапа 320 оповещения об услугах MBMS, в узел SGSN 406 через контроллер RNC 404 вместе с сообщением запроса активации MBMS-контекста на основе интерфейса NAS (уровень отсутствия доступа) между пользовательским терминалом UE 402 и узлом SGSN 406. Для передачи сообщения запроса активации MBMS-контекста используется первоначальная прямая передача между пользовательским терминалом UE 402 и контроллером RNC 404, и первоначальное сообщение пользовательского терминала UE используется между контроллером RNC 404 и узлом SGSN 406. Однако эта первоначальная прямая передача и первоначальное сообщение пользовательского терминала UE не входят в объем настоящего изобретения, так что детальное их описание не приводится.
После приема сообщения запроса активации MBMS-контекста узел SGSN 406 аутентифицирует пользовательский терминал UE 402 на этапе 414 посредством процедуры функции защиты для запроса центра аутентификации о том, является ли пользовательский терминал UE 402 действительным пользователем. Если аутентификация пользовательского терминала UE 402 успешна, то узел SGSN 406 добавляет на этапе 416 информацию о пользовательском терминале UE 402 к MBMS-контексту, соответствующему услуге MBMS. Если пользовательский терминал UE 402 является первым пользовательским терминалом UE, который запрашивает услугу MBMS, то узел SGSN 406 предпочтительно выполняет операцию генерации MBMS-контекста для услуги MBMS.
На этапе 418 узел SGSN 406 передает сообщение принятия активации MBMS-контекста к пользовательскому терминалу UE, чтобы проинформировать, что запрос на присоединение к услуге MBMS успешно принят. Сообщение принятия активации MBMS-контекста может включать в себя идентификатор услуги MBMS и параметр DRX. Идентификатор MBMS, передаваемый вместе с сообщением принятия активации MBMS-контекста, представляет собой временный идентификатор услуги MBMS, т.е. TMGI, присвоенный активированной услуге MBMS.
Поскольку сообщение запроса активации MBMS-контекста и сообщение принятия активации MBMS-контекста проходят прозрачным образом через контроллер RNC 404, когда они передаются между пользовательским терминалом UE 402 и узлом SGSN 406, то контроллер RNC 404 не может знать, запросил ли пользовательский терминал UE 402 услугу MBMS. Поэтому на этапе 420 узел SGSN 406 предписывает контроллеру RNC 404 обновить MBMS-контекст посредством сообщения запроса создания MBMS-контекста. Сообщение запроса создания MBMS-контекста также называется сообщением запроса привязки пользовательского терминала UE к услуге MBMS.
Сообщение запроса создания MBMS-контекста включает в себя UE ID и MBMS ID. MBMS ID в сообщении запроса создания MBMS-контекста представляет собой идентификатор, временно присвоенный услуге, такой как адрес групповой передачи услуги MBMS или временный идентификатор TMGI, присвоенный услуге MBMS. Понятно, что MBMS ID соответствует любому из двух идентификаторов.
На этапе 422 контроллер RNC 404 добавляет информацию о пользовательском терминале UE 402 к соответствующему MBMS-контексту, и на этапе 424 контроллер RNC 404 посылает сообщение ответа создания MBMS-контекста в узел SGSN 406. Если пользовательский терминал UE 402 является первым пользовательским терминалом UE, который запрашивает услугу MBMS, то контроллер RNC 404 предпочтительно выполняет операцию генерации MBMS-контекста для услуги MBMS.
На фиг.6 представлена диаграмма, иллюстрирующая отмену PS-сигнализации, поскольку передача данных MBMS не инициирована, хотя предварительно определенное время прошло после того, как пользовательский терминал UE присоединился к услуге MBMS, посредством процедуры, представленной на фиг.5. Согласно фиг.6 на этапе 430 узел SGSN 406 принимает решение разъединить соединение PS-сигнализации после обнаружения отсутствия обмена сообщениями с пользовательским терминалом UE 402 в течение предварительно определенного времени. На этапе 432, посредством сообщения запроса удаления MBMS-контекста, узел SGSN 406 запрашивает контроллер RNC 404 об удалении пользовательского терминала UE 402 из списка UE ID в MBMS-контексте. Сообщение запроса удаления MBMS-контекста также называется сообщением запроса отмены привязки к услуге MBMS пользовательского терминала UE. На этапе 434 контроллер RNC 404 удаляет информацию о пользовательском терминале UE 402 из MBMS-контекста, и на этапе 436 контроллер RNC 404 отвечает узлу SGSN 406 посредством сообщения ответа удаления MBMS-контекста.
На этапе 438 узел SGSN 406 разъединяет соединение Iu-PS-сигнализации посредством Iu-процедуры разъединения. Поэтому контроллер RNC 404 и узел SGSN 406 определяют, что пользовательский терминал UE 402 находится в PMM-неактивном режиме, в котором отсутствует PS-сигнализация. Если пользовательский терминал UE 402 не использует RRC-соединение даже для CS-услуги, то RRC-соединение между пользовательским терминалом UE 402 и контроллером RNC 404 также разъединяется на этапе 440. На этапе 442 пользовательский терминал UE 402 переходит в PMM-неактивный режим путем простого разъединения Iu-PS-сигнализации, независимо от того, разъединено ли RRC-соединение или нет.
Если пользовательский терминал UE 402 является последним пользовательским терминалом, который присоединился к услуге MBMS, то контроллер RNC 404 удаляет MBMS-контекст после передачи сообщения ответа удаления MBMS-контекста и передает на этапе 446 сообщение отмены регистрации услуги MBMS в узел SGSN 406. На этапе 448 узел SGSN 406 удаляет контроллер RNC 404 из списка контроллеров RNC в MBMS-контексте. MBMS-контекст в узле SGSN 406 и в контроллере RNC 404 может создаваться, удаляться и освобождаться посредством процедур, описанных со ссылками на фиг.5 и 6.
Однако если информация только о пользовательском терминале UE в PMM-соединенном состоянии, который подсоединился к услуге MBMS, сохранена в MBMS-контексте в контроллере RNC, как описано со ссылками на фиг.5 и 6, если пользовательский терминал UE запрашивает RRC-соединение для CS-услуги на этапе 210 по фиг.2 после перехода в PMM-несоединенный режим на этапе 442, то информация о пользовательском терминале UE 402 не сохраняется в MBMS-контексте контроллера RNC 404. В результате контроллер RNC 404 информирует пользовательский терминал UE 402 об инициировании услуги MBMS посредством общего канала, а пользовательский терминал UE 402 в RRC-соединенном состоянии не контролирует общий канал. Поэтому пользовательский терминал UE 402 не может принять уведомление, указывающее на инициирование услуги MBMS, и, следовательно, не может принять услугу MBMS.
Для решения этой проблемы, в первом варианте осуществления настоящего изобретения, для находящегося в PMM-неактивном/RRC-соединенном состоянии пользовательского терминала UE, информация о пользовательском терминале UE связывается с информацией об услуге MBMS и управляется в MBMS-контексте, так что контроллер RNC может определить, что пользовательский терминал UE является терминалом, который успешно присоединился к услуге MBMS. Также можно управлять отдельным контекстом путем связывания информации о пользовательском терминале UE с информацией об услуге MBMS. Кроме того, узел SGSN может предотвращать не синхронизированное состояние MBMS-контекста в узле SGSN и контроллере RNC путем управления пользовательскими терминалами UE в CMM-соединенном режиме в MBMS-контексте.
Во втором варианте осуществления настоящего изобретения, если находящийся в PMM-неактивном/RRC-соединенном режиме пользовательский терминал UE переходит в PMM-соединенный режим после установки RRC-соединения, то узел SGSN и контроллер RNC могут управлять пользовательским терминалом UE в PMM-соединенном режиме с использованием MBMS-контекста. Информация, передаваемая от пользовательского терминала UE, для связывания пользовательского терминала UE с информацией услуги MBMS далее упоминается как информация, относящаяся к услуге MBMS.
Ниже первый вариант осуществления и второй вариант осуществления рассмотрены отдельно более подробно.
1. Управление контекстом услуги в контроллере RNC
В первом варианте осуществления настоящего изобретения, чтобы обеспечить возможность для контроллера RNC управлять информацией о пользовательском терминале UE, который присоединился к услуге MBMS, но находится в PMM-неактивном режиме, информация, относящаяся к услуге MBMS, указывающая, что пользовательский терминал UE является терминалом, который успешно присоединился к услуге MBMS, передается контроллеру RNC вместе с предварительно определенным сообщением. Затем контроллер RNC обновляет соответствующий MBMS-контекст, запрашиваемый терминалом, среди MBMS-контекстов, управляемых контроллером RNC.
Путем передачи информации, относящейся к услуге MBMS, обеспечивается возможность для RNC связать список пользовательских терминалов UE, которые имеют установленное RRC-соединение для CS-услуги, с информацией об услуге MBMS, чтобы совместно управлять списком пользовательских терминалов UE и информацией об услуге MBMS. Контроллер RNC может связывать только ID пользовательских терминалов UE с информацией об услуге MBMS перед их сохранением или связывать информацию состояния, указывающую, что пользовательские терминалы UE имеют установленное RRC-соединение для CS-услуги, с информацией об услуге MBMS перед их сохранением. В данном случае, как ID UE, так и информация состояния пользовательских терминалов UE упоминается как UE-информация. Информация, относящаяся к услуге MBMS, соответствует идентификатору MBMS ID, указывающему услугу MBMS, к которой присоединился терминал, или указателю активации услуги MBMS.
При передаче MBMS ID, требуется аутентификация терминала как действительного терминала для услуги MBMS, соответствующей MBMS ID. Когда терминал передает указатель активации услуги MBMS, терминал должен принимать от узла SGSN информацию, по меньшей мере, об одной услуге MBMS, запрошенной терминалом. Информация, относящаяся к услуге MBMS, передается с использованием сообщения установки RRC-соединения или специального RRC-сообщения.
Фиг.7 – 9 иллюстрируют процедуры для добавления информации о пользовательском терминале UE к MBMS-контексту контроллера RNC, связанного с пользовательским терминалом UE, который присоединился к услуге MBMS, но находится в PMM-неактивном режиме. На фиг.7 – 9 ссылочная позиция 502 представляет пользовательский терминал UE, получающий услугу MBMS, ссылочная позиция 504 представляет контроллер RNC, обслуживающий пользовательский терминал UE 502, и ссылочная позиция 506 представляет узел SGSN базовой сети CN для услуги MBMS. Кроме того, MBMS-контекст узла SGSN 506 упоминается как первый MBMS-контекст, а MBMS-контекст контроллера RNC 504 упоминается как второй MBMS-контекст.
На фиг.7 показана диаграмма, иллюстрирующая способ введения MBMS ID в сообщение запроса установления RRC-соединения при передаче сообщения для процедуры установления RRC-соединения между пользовательским терминалом UE и контроллером RNC для управления MBMS-контекстом контроллера RNC. Согласно фиг.7 этапы 510, 512, 514 выполняются для установления RRC-соединения между пользовательским терминалом UE 502 и контроллером RNC 504. Более конкретно, если пользовательский терминал UE 502 передает на этапе 510 сообщение запроса установления RRC-соединения для PS-услуги или CS-услуги к RNC 504, то RNC 504 отвечает на него на этапе 512 с использованием сообщения установления RRC-соединения. На этапе 514 пользовательский терминал UE 502 передает сообщение завершения установления RRC-соединения, завершая установку RRC-соединения между пользовательским терминалом UE 502 и контроллером RNC 504.
В процессе установки RRC-соединения для PS-услуги или CS-услуги на этапах 510 – 514 пользовательский терминал UE 502 вводит, по меньшей мере, один MBMS ID, указывающий желательную услугу MBMS, в сообщение запроса установки RRC-соединения или в сообщение завершения установки RRC-соединения перед передачей. Затем контроллер RNC 504 изменяет второй MBMS-контекст услуги MBMS в соответствии с MBMS ID на этапе 524. То есть контроллер RNC 504 добавляет ко второму MBMS-контексту UE-информацию, указывающую, что пользовательский терминал UE 502 имеет RRC-соединение.
Несмотря на вышеописанную процедуру, контроллер RNC 504 может сохранять информацию о пользовательских терминалах UE, которые установили RRC-соединение для PS-услуги или CS-услуги, среди пользовательских терминалов UE, которые запросили услугу MBMS, в соответствующем MBMS-контексте. В данном случае MBMS-контекст соответствует отдельной информации для находящихся в PMM-неактивном/RRC-соединенном режиме пользовательских терминалов UE или соответствует MBMS-контексту для каждой услуги MBMS.
Обновление MBMS-контекста контроллером RNC 504 может выполняться непосредственно после процедуры установки RRC-соединения согласно этапам 510-514 или после определения действительности пользовательского терминала UE 502, как показано на фиг.7.
На этапе 516 контроллер RNC 504 использует сообщение запроса подтверждения действительности пользовательского терминала UE услуги MBMS для определения, является ли пользовательский терминал UE 502 действительным для запрошенной услуги MBMS. Сообщение запроса подтверждения действительности пользовательского терминала UE услуги MBMS содержит UE ID пользовательского терминала UE 502, MBMS ID, полученный в процедуре установки RRC-соединения на этапах 510 – 514, и RNC ID контроллера RNC 504. Кроме того, сообщение запроса подтверждения действительности пользовательского терминала UE услуги MBMS передается от контроллера RNC 504 к узлу SGSN 506.
При передаче сообщения запроса подтверждения действительности пользовательского терминала UE услуги MBMS, если пользовательский терминал UE 502 находится в РММ-неактивном состоянии, отсутствует выделенный канал-носитель сигнализации для пользовательского терминала UE 502 между контроллером RNC 504 и узлом SGSN 506. Поэтому сообщение запроса подтверждения действительности пользовательского терминала UE услуги MBMS может передаваться с использованием общего канала-носителя для соответствующей услуги MBMS или передаваться с использованием неориентированного на соединение метода передачи сигнализации.
Если сообщение запроса подтверждения действительности пользовательского терминала UE услуги MBMS передается с использованием общего канала-носителя сигнализации для соответствующей услуги MBMS, то узел SGSN 506 может различить услугу MBMS и контроллер RNC 504 путем проверки канала-носителя сигнализации, по которому передается сообщение запроса подтверждения действительности пользовательского терминала UE услуги MBMS. Поэтому MBMS ID и RNC ID селективно исключаются из сообщения. Однако если сообщение запроса подтверждения действительности пользовательского терминала UE услуги MBMS передается с использованием неориентированного на соединение метода передачи сигнализации, то MBMS ID и RNC ID должны быть включены в сообщение.
После приема сообщения запроса подтверждения действительности пользовательского терминала UE услуги MBMS узел SGSN 506 добавляет информацию о контроллере RNC 504, к которому принадлежит пользовательский терминал UE 502, имеющий RRC-соединение и запрашивающий услугу MBMS, к первому MBMS-контексту на этапе 518, если первый MBMS-контекст, соответствующий MBMS ID, включенному в сообщение этапа 516, существует, и UE ID, включенный в сообщение этапа 516, существует в первом MBMS-контексте. Узел SGSN 506 также может хранить информацию состояния в первом MBMS-контексте, чтобы указать, что соответствующий пользовательский терминал UE находится в CMM-соединенном состоянии. В этом случае, если первый MBMS-контекст уже имеет информацию о контроллере RNC 504, от узла SGSN 506 не требуется добавлять информацию о контроллере RNC 504.
Если пользовательский терминал UE 502 действителен для услуги MBMS, то передается сообщение ответа подтверждения действительности пользовательского терминала UE услуги MBMS от узла SGSN 506 к контроллеру RNC 504 на этапе 520. Сообщение ответа подтверждения действительности пользовательского терминала UE услуги MBMS содержит информацию об области, в которой доступна услуга MBMS.
Например, информация об области, где доступна услуга MBMS, представляет код области обслуживания (SAC) или информацию области групповой передачи. Если на основе информации обслуживания определено, что пользовательский терминал UE 502 расположен в области, не принадлежащей к области, где доступна услуга MBMS, то контроллер RNC 504 может предложить пользовательскому терминалу UE 502 переместиться в другую ячейку.
Когда на этапах 516 – 520 после процедуры аутентификации и пользовательского терминала UE 502 выполняется обновление MBMS-контекста контроллером RNC 524, то контроллер RNC 504 добавляет информацию о пользовательском терминале UE 502 к своему второму MBMS-контексту после приема сообщения ответа подтверждения действительности пользовательского терминала UE услуги MBMS на этапе 521. Если второй MBMS-контекст, соответствующий MBMS ID, не существует в контроллере RNC 504, то контроллер RNC 504 сначала создает второй MBMS-контекст.
Если узел SGSN 506 не может определить, является ли пользовательский терминал UE 502 действительным для приема услуги MBMS, хотя контроллер RNC 504 на этапе 516 запросил узел SGSN 506 определить, является ли пользовательский терминал UE 502 действительным для приема услуги MBMS, узел SGSN 506 передает к контроллеру RNC 504 сообщение неудачи подтверждения действительности пользовательского терминала UE услуги MBMS на этапе 522, чтобы проинформировать, что пользовательский терминал UE не присоединился к услуге MBMS через узел SGSN 506. Сообщение неудачи подтверждения действительности пользовательского терминала UE услуги MBMS может быть определено как сообщение ответа подтверждения действительности пользовательского терминала UE услуги MBMS, в которое вставлено конкретное значение параметра “значение причины”.
На фиг.8 представлена диаграмма, иллюстрирующая способ передачи MBMS ID от пользовательского терминала UE 502 к контроллеру RNC 504 после процедуры установки RRC-соединения. В процедуре, показанной на фиг.8, в отличие от процедуры по фиг.7, пользовательский терминал UE 502 передает сообщение запроса услуги MBMS к контроллеру RNC 502 для информирования о том, что он запросил услугу MBMS.
Согласно фиг.8 пользовательский терминал UE 502 устанавливает RRC-соединение с контроллером RNC 504 посредством процедуры 530 установки RRC-соединения. Процедура 530 установки RRC-соединения предусматривает обмен сообщениями запроса установки RRC-соединения, установки RRC-соединения, завершения установки RRC-соединения между пользовательским терминалом UE 502 и контроллером RNC 504. В процедуре 530 установки RRC-соединения информация, относящаяся к услуге MBMS, не передается.
На этапе 532 пользовательский терминал UE 502 доставляет MBMS ID к контроллеру RNC 504 посредством сообщения запроса услуги MBMS. Сообщение запроса услуги MBMS включает в себя, по меньшей мере, один MBMS ID, указывающий услугу MBMS, которую желательно получать пользовательскому терминалу UE 502.
Операция, выполняемая после того, как контроллер RNC 504 принимает MBMS ID посредством сообщения запроса услуги MBMS, сходна с соответствующей операцией, показанной на фиг.7. То есть, на этапе 534 контроллер RNC 504 передает сообщение запроса подтверждения действительности пользовательского терминала UE услуги MBMS к узлу SGSN 506, чтобы определить, является ли пользовательский терминал UE 502 действительным для услуги MBMS. Сообщение запроса подтверждения действительности пользовательского терминала UE услуги MBMS включает в себя MBMS ID, UE ID и RNC ID.
Если определено, что пользовательский терминал UE 502 присоединился к услуге MBMS, то узел SGSN 506 добавляет информацию о контроллере RNC 504 к своему MBMS-контексту на этапе 536 и передает сообщение ответа подтверждения действительности пользовательского терминала UE услуги MBMS контроллеру RNC 504 в ответ на сообщение запроса подтверждения действительности пользовательского терминала UE услуги MBMS на этапе 538. На этапе 536 узел SGSN 506 может также сохранить информацию состояния в первом MBMS-контексте, созданном узлом SGSN 506, чтобы указать, что пользовательский терминал UE 502 находится в CMM-соединенном состоянии.
Контроллер RNC 504 добавляет информацию о пользовательском терминале UE 502 к своему MBMS-контексту в ответ на сообщение ответа подтверждения действительности пользовательского терминала UE услуги MBMS на этапе 542. В альтернативном варианте осуществления контроллер RNC 504 добавляет информацию о пользовательском терминале UE 502 к своему MBMS-контексту непосредственно после приема сообщения запроса услуги MBMS.
На этапе 544 контроллер RNC 504 передает сообщение ответа на запрос услуги MBMS к пользовательскому терминалу UE 502 для информирования о том, что MBMS-контекст создан контроллером RNC 504. Если ячейка, к которой в текущий момент принадлежит пользовательский терминал UE 502, не поддерживает услугу MBMS, то контроллер RNC 504 включает ID ячейки, указывающий ячейку, в которой доступна услуга MBMS, в сообщение ответа на запрос услуги MBMS, чтобы предложить пользовательскому терминалу UE 502 перейти в другую ячейку для получения услуги MBMS.
Если узлу SGSN 506 не удалось аутентифицировать пользовательский терминал UE 502 на этапе 534, хотя контроллер RNC 504 запросил узел SGSN 506 о том, является ли пользовательский терминал UE 502 действительным для услуги MBMS, то узел SGSN 506 передает сообщение 540 неудачи подтверждения действительности пользовательского терминала UE услуги MBMS контроллеру RNC 504, чтобы информировать о том, что пользовательский терминал UE 502 не присоединился к услуге MBMS через узел SGSN 506. Контроллер RNC 504 затем не добавляет информацию о пользовательском терминале UE 502 во второй MBMS-контекст и информирует пользовательский терминал UE 502 о недоступности услуги MBMS посредством сообщения неудачи услуги MBMS на этапе 546.
На фиг.9 представлена диаграмма, иллюстрирующая способ добавления указателя активации услуги MBMS к сообщению запроса установки RRC-соединения перед передачей. Процедура, показанная на фиг.9, идентична процедуре, показанной на фиг.7, в том, что используется сообщение запроса установки RRC-соединения, но в отличие от процедуры по фиг.7, вместо MBMS ID передается указатель активации услуги MBMS.
Указатель активации услуги MBMS может быть добавлен к RRC-сообщению (сообщению запроса установки RRC-соединения или сообщению завершения установки RRC-соединения) в качестве нового информационного элемента (IE) или может быть добавлен к RRC-сообщению как “значение причины” (например, “причина = активация услуги MBMS”).
В этом случае, если пользовательский терминал UE 502 запрашивает множество услуг MBMS, то пользовательский терминал UE 502 может обновить информацию по всем услугам MBMS путем передачи указателя активации услуги MBMS только однократно, а не передавать отдельные сообщения для всех услуг MBMS.
В соответствии с фиг.9, на этапах 550, 552 и 554 пользовательский терминал UE 502 устанавливает RRC-соединение для PS-услуги или CS-услуги с контроллером RNC 504. В данном случае пользовательский терминал UE 502 вводит указатель активации услуги MBMS, указывающий на доступность желательной услуги MBMS, в сообщение запроса установки RRC-соединения или в сообщение завершения установки RRC-соединения, передаваемое к контроллеру RNC 504, чтобы проинформировать, что пользовательский терминал UE 502 присоединился к услуге MBMS. Указатель активации услуги MBMS может быть введен в RRC-сообщение, т.е. сообщение запроса установки RRC-соединения или сообщение завершения установки RRC-соединения, в качестве информационного элемента (IE) или “значения причины”.
Более конкретно, каждое из RRC-сообщений включает в себя UE ID для идентификации пользовательского терминала UE 502 и “значение причины”, указывающее причину, по которой необходимо RRC-соединение. “Значение причины” составляет один элемент IE в RRC-сообщении, и соответствующая причина может быть определена на основе заранее установленного значения. Поэтому можно присвоить значение, указывающее активацию услуги MBMS, “значению причины” (например, “причина = активация услуги MBMS”) перед передачей.
Предпочтительно, если пользовательский терминал UE 502 присоединился к одной или более услугам MBMS, то указатель активации услуги MBMS может быть использован вместе с вышеупомянутым MBMS ID для информирования контроллера RNC 504 и узла SGSN 506, что пользовательский терминал UE 502 присоединился к услуге MBMS.
Если RRC-соединение успешно установлено между пользовательским терминалом UE 502 и контроллером RNC 504 на этапах 550 – 554, то на этапе 556 контроллер RNC 504 передает сообщение запроса списка услуг MBMS в узел SGSN 506, чтобы определить, присоединился ли пользовательский терминал UE 502 к определенной услуге MBMS. Сообщение запроса списка услуг MBMS содержит UE ID и RNC ID.
Если пользовательский терминал UE 502 находится в PMM-неактивном состоянии, то выделенный канал-носитель сигнализации для пользовательского терминала UE 502 не существует между контроллером RNC 504 и узлом SGSN 505. Поэтому сообщение запроса списка услуг MBMS передается с использованием неориентированного на соединение способа передачи сигнализации.
На этапе 558, если контроллер RNC 504 отсутствует в MBMS-контексте в узле SGSN 506, то узел SGSN 506 добавляет к MBMS-контексту информацию о контроллере RNC 504. На этапе 558 информация состояния может быть сохранена в MBMS-контексте в узле SGSN 56, чтобы указать, что пользовательский терминал UE 502 находится в CMM-соединенном состоянии.
На этапе 560 узел SGSN 506 передает информацию об услуге MBMS, к которой в текущий момент присоединен пользовательский терминал UE 502, соответствующий UE ID, включенному в сообщение запроса списка услуг MBMS, т.е. передает список MBMS ID к контроллеру RNC 504 вместе с сообщением ответа на запрос списка услуг MBMS. Список MBMS ID извлекается из UE-контекста, сохраненного в узле SGSN 506. UE-контекст может представлять собой либо существующий UE-контекст, либо UE-контекст, заново определенный для услуги MBMS.
Список MBMS ID может также содержать информацию об области, где в текущий момент доступна услуга MBMS, по отношению к каждой из услуг MBMS, к которым присоединился пользовательский терминал UE 502. Например, информация об области, где в текущий момент доступна услуга MBMS, представляет код области обслуживания (SAC) или информацию области групповой передачи. Если на основе информации обслуживания определено, что пользовательский терминал UE 502 находится в ячейке, не относящейся к области, где доступна услуга MBMS, то контроллер RNC 504 может предложить пользовательскому терминалу UE 502 переместиться в другую ячейку.
На этапе 564 контроллер RNC 504 добавляет информацию о пользовательском терминале UE 502 к MBMS-контексту, соответствующему списку MBMS ID, включенному в сообщение ответа на запрос списка услуг MBMS. Если второй MBMS-контекст, соответствующий MBMS ID, включенному в сообщение ответа на запрос списка услуг MBMS, отсутствует в контроллере RNC 504, то контроллер RNC 504 сначала создает новый второй MBMS-контекст. Кроме того, если пользовательский терминал UE 502 одновременно присоединился к N услугам MBMS, т.е. если число MBMS ID, включенных в список MBMS ID равно N, то контроллер RNC 504 добавляет информацию обо всех пользовательских терминалах UE 502 к каждому из N вторых MBMS-контекстов.
Хотя на фиг.9 не показано, в модифицированном варианте осуществления настоящего изобретения пользовательский терминал UE может передавать сообщение запроса услуги MBMS, содержащее указатель активации услуги MBMS, к контроллеру RNC после завершения установки RRC-соединения. В ответ на сообщение запроса услуги MBMS контроллер RNC запрашивает от узла SGSN идентификатор(ы) MBMS ID для услуг MBMS, к которым присоединился пользовательский терминал UE, принимает от узла SGSN список MBMS ID, включающий в себя идентификаторы MBMS ID для услуг MBMS, к которым присоединился пользовательский терминал UE, и добавляет информацию о пользовательском терминале UE к своему(им) MBMS-контексту(ам).
В вышеописанной процедуре контроллер RNC 504 обнаруживает, что пользовательский терминал UE 502, имеющий RRC-соединение, присоединился к услуге MBMS, и осуществляет поисковый вызов пользовательского терминала UE 502 с использованием сообщения поискового вызова типа 2 по выделенному каналу, когда начинается сессия услуги MBMS, к которой присоединился пользовательский терминал UE 502.
На фиг.10 – 12 представлены блок-схемы, иллюстрирующие операции пользовательского терминала UE 502 в соответствии с процедурами, показанными на фиг.7 – 9 соответственно. Согласно фиг.10 – 12 на этапах 602, 610, 620 пользовательский терминал UE 502 присоединяется к услуге MBMS с использованием процедуры, описанной со ссылкой на фиг.5. На этапах 604, 612 и 622 пользовательский терминал UE 502 контролирует, существует ли RRC-соединение. Если определено, что RRC-соединение отсутствует, то пользовательский терминал UE 502 контролирует на этапах 606, 614 и 624, имеется ли запрос изменения конфигурации RRC-соединения. Если определено, что имеется запрос на изменение конфигурации RRC-соединения, то пользовательский терминал UE 502 посылает MBMS ID, указывающий услугу MBMS, к которой присоединился пользовательский терминал UE 502, контроллеру RNC 504, с которым должно быть установлено RRC-соединение, вместе с RRC-сообщением, и затем переходит к этапам 608, 816 и 626 соответственно.
На этапе 608, показанном на фиг.10, пользовательский терминал UE 502 вводит MBMS ID в сообщение RRC-соединения, т.е. сообщение запроса установки RRC-соединения или сообщение завершения установки RRC-соединения, перед передачей. На этапе 616, показанном на фиг.1, пользовательский терминал UE 502 вводит MBMS ID в специальное сообщение, такое как сообщение запроса услуги MBMS, перед передачей.
На этапе 626 по фиг.12 пользовательский терминал UE 502 вводит указатель активации услуги MBMS в сообщение RRC-соединения, т.е. сообщение установки RRC-соединения или сообщение завершения установки RRC-соединения, перед передачей. Согласно модифицированному варианту осуществления настоящего изобретения на этапе 626 пользовательский терминал UE 502 вводит указатель активации услуги MBMS в специальное сообщение, такое как сообщение запроса услуги MBMS, перед передачей.
На фиг.13 – 15 представлены блок-схемы, иллюстрирующие операции контроллера RNC 504, который управляет вторым MBMS-контекстом, в соответствии с процедурами, показанным и на фиг.7-9. Согласно фиг.13 на этапе 702 контроллер RNC 504 получает сообщение запроса установки RRC-соединения (или сообщение завершения установки RRC-соединения) от пользовательского терминала UE 502. На этапе 704 контроллер RNC 504 определяет, включен ли MBMS ID в сообщение запроса установки RRC-соединения.
Если MBMS ID не включен в сообщение запроса установки RRC-соединения, то контроллер RNC 504 выполняет процедуру установки RRC-соединения для общей услуги (не показано). Однако если MBMS ID включен в сообщение запроса установки RRC-соединения, то на этапе 706 контроллер RNC 504 передает сообщение запроса подтверждения действительности пользовательского терминала UE услуги MBMS к узлу SGSN 506, чтобы определить, является ли пользовательский терминал UE 502 действительным для услуги MBMS. На этапе 708 контроллер RNC 504 определяет, принят ли подтверждающий ответ на сообщение запроса подтверждения действительности пользовательского терминала UE услуги MBMS. Если подтверждающий ответ на сообщение запроса подтверждения действительности пользовательского терминала UE услуги MBMS получен, то контроллер RNC 504 переходит к этапу 712, чтобы обновить MBMS-контекст для пользовательского терминала UE 502. Однако если подтверждающий ответ на сообщение запроса подтверждения действительности пользовательского терминала UE услуги MBMS не получен, то контроллер RNC 504 передает сообщение неудачи услуги MBMS на этапе 710 к пользовательскому терминалу UE 502.
На этапе 712 контроллер RNC 504 осуществляет поиск MBMS-контекста, соответствующего MBMS ID. Если на этапе 714 определено, что не имеется MBMS-контекста, соответствующего MBMS ID, то контроллер RNC 504 генерирует новый MBMS-контекст, соответствующий MBMS ID, на этапе 720. После этого, на этапе 722, контроллер RNC 504 добавляет ID пользовательского терминала UE 502 к вновь созданному MBMS-контексту, и на этапе 724 контроллер RNC 504 связывает UE ID, добавленный к MBMS-контексту, с соответствующим UE-контекстом.
Однако если на этапе 714 определено, что имеется MBMS-контекст, соответствующий MBMS ID, то контроллер RNC 504 на этапе 716 осуществляет поиск ID пользовательского терминала UE 502, сохраненный в анализируемом MBMS-контексте. Если на этапе 718 определено, что UE ID существует в MBMS-контексте, то контроллеру RNC 504 не требуется вновь добавлять UE ID. Однако если UE ID отсутствует в MBMS-контексте, то контроллер RNC 504 добавляет UE ID на этапе 722 и связывает добавленный UE ID с соответствующим UE-контекстом на этапе 724.
Согласно фиг.14, если установка RRC-соединения между пользовательским терминалом UE 502 и контроллером RNC 504 завершена на этапе 730, то контроллер RNC 504 получает сообщение запроса услуги MBMS, содержащее MBMS ID, от пользовательского терминала UE 502 на этапе 732. На этапе 734 контроллер RNC 504 передает сообщение запроса подтверждения действительности пользовательского терминала UE услуги MBMS, чтобы запросить узел SGSN 506, является ли пользовательский терминал UE 502 действительным для услуги MBMS, в ответ на сообщение запроса услуги MBMS.
Если на этапе 736 определено, что подтверждающий ответ на сообщение запроса подтверждения действительности пользовательского терминала UE услуги MBMS принят, то контроллер RNC 504 переходит к этапу 740, чтобы обновить MBMS-контекст для пользовательского терминала UE 502. Однако если на этапе 736 определено, что подтверждающий ответ на сообщение запроса подтверждения действительности пользовательского терминала UE услуги MBMS не получен, то контроллер RNC 504 переходит к этапу 738, где он передает сообщение неудачи услуги MBMS к пользовательскому терминалу UE 502.
На этапе 740 контроллер RNC 504 осуществляет поиск MBMS-контекста, соответствующего MBMS ID. Если на этапе 742 определено, что не имеется MBMS-контекста, соответствующего MBMS ID, то контроллер RNC 504 переходит к этапу 748, где он генерирует новый MBMS-контекст, соответствующий MBMS ID. После этого, на этапе 750, контроллер RNC 504 добавляет ID пользовательского терминала UE 502 к вновь созданному MBMS-контексту, и на этапе 752 контроллер RNC 504 связывает UE ID, добавленный к MBMS-контексту, с соответствующим UE-контекстом.
Однако если на этапе 742 определено, что имеется MBMS-контекст, соответствующий MBMS ID, то контроллер RNC 504 на этапе 744 определяет, сохранен ли ID пользовательского терминала UE 502 в анализируемом MBMS-контексте. Если на этапе 746 определено, что UE ID существует в MBMS-контексте, то контроллеру RNC 504 не требуется вновь добавлять UE ID. Однако если UE ID отсутствует в MBMS-контексте, то контроллер RNC 504 добавляет UE ID на этапе 750 и связывает добавленный UE ID с соответствующим UE-контекстом на этапе 752.
Согласно фиг.15 на этапе 760 контроллер RNC 504 получает сообщение запроса установки RRC-соединения от пользовательского терминала UE 502, который разъединил PS-сигнализацию после присоединения к услуге MBMS. На этапе 762 контроллер RNC 504 контролирует, получено ли сообщение запроса услуги MBMS, являющееся сообщением RRC-соединения или специальным RRC-сообщением, содержащее указатель активации услуги MBMS, от пользовательского терминала UE 502.
Если указатель активации услуги MBMS принят на этапе 764, то контроллер RNC 504 передает сообщение запроса списка услуг MBMS к узлу SGSN 506, чтобы запросить список услуг MBMS, включающий услуги MBMS, к которым присоединился пользовательский терминал UE 502.
На этапе 766 контроллер RNC 504 контролирует, успешно ли принято сообщение ответа на запрос списка услуг MBMS от узла SGSN 506. Если контроллер RNC 504 не смог успешно получить сообщение ответа на запрос списка услуг MBMS от узла SGSN 506, то на этапе 768 контроллер RNC 504 передает сообщение неудачи услуги MBMS к пользовательскому терминалу UE 502 и завершает операцию.
Однако если на этапе 766 определено, что сообщение ответа на запрос списка услуг MBMS, содержащее, по меньшей мере, один MBMS ID для услуги MBMS, к которой присоединился пользовательский терминал UE 502, принято от узла SGSN 506, то контроллер RNC 504 на этапе 770 осуществляет поиск MBMS-контекста, соответствующего MBMS ID, извлеченному из сообщения ответа на запрос списка услуг MBMS.
Если на этапе 772 определено, что имеется соответствующий MBMS-контекст, то контроллер RNC 504 переходит к этапу 774. Однако если соответствующий MBMS-контекст не существует, то контроллер RNC 504 создает MBMS-контекст, соответствующий MBMS ID, на этапе 778. Затем контроллер RNC 504 добавляет информацию ID пользовательского терминала UE 502 к MBMS-контексту на этапе 780 и связывает UE ID, добавленный к MBMS-контексту, с соответствующим UE-контекстом на этапе 782.
На этапе 744 контроллер RNC 504 определяет, включен ли ID пользовательского терминала UE 502 в MBMS-контекст. Если на этапе 766 определено, что ID пользовательского терминала UE 502 не включен в MBMS-контекст, то контроллер RNC 504 добавляет информацию о пользовательском терминале UE 502 к MBMS-контексту на этапе 780. После этого, на этапе 782, контроллер RNC 504 связывает ID пользовательского терминала UE 502 с соответствующим UE-контекстом. Однако если на этапе 766 определено, что ID пользовательского терминала UE 502 включен в MBMS-контекст, то контроллер RNC 504 завершает операцию.
На фиг.16 представлена блок-схема, иллюстрирующая работу узла SGSN 506, который управляет MBMS-контекстом, во взаимосвязи с процедурами, показанными на фиг.7 и 8. Согласно фиг.16 на этапе 802 узел SGSN 506 принимает от контроллера RNC 504 сообщение запроса подтверждения действительности пользовательского терминала UE услуги MBMS, содержащее MBMS ID, указывающий услугу MBMS, которую желает получить пользовательский терминал UE 502. Кроме того, сообщение запроса подтверждения действительности пользовательского терминала UE услуги MBMS содержит UE ID пользовательского терминала UE 502 и RNC ID контроллера RNC 504. Узел SGSN 506 дополнительно может выполнить аутентификацию услуги MBMS для пользовательского терминала UE 502 в ответ на сообщение запроса подтверждения действительности пользовательского терминала UE услуги MBMS. То есть на этапе 804 узел SGSN 506 определяет, присоединился ли пользовательский терминал UE 502 к услуге MBMS, тем самым выполняя операцию аутентификации.
Если аутентификация услуги для пользовательского терминала UE 502 успешна, то узел SGSN 506 переходит к этапу 806, где он определяет, имеется ли MBMS-контекст, соответствующий MBMS ID. Однако если аутентификация услуги для пользовательского терминала UE 502 безуспешна, то узел SGSN 506 передает сообщение неудачи подтверждения действительности пользовательского терминала UE услуги MBMS к контроллеру RNC 504, чтобы информировать, что пользовательский терминал UE 502 не присоединился к услуге MBMS через узел SGSN 506 на этапе 822.
Если определено на этапе 808, что MBMS-контекст существует, то на этапе 810 узел SGSN 506 определяет, включен ли ID пользовательского терминала UE 502 в MBMS-контекст. Однако если на этапе 808 определено, что MBMS-контекст не существует, то узел SGSN 506 переходит к этапу 822, где он посылает сообщение неудачи подтверждения действительности пользовательского терминала UE услуги MBMS к контроллеру RNC 504, чтобы информировать, что пользовательский терминал UE 502 не присоединился к услуге MBMS через узел SGSN 506, и затем завершает операцию.
Если на этапе 812 определено, что ID пользовательского терминала UE 502 не включен в MBMS-контекст, то узел SGSN 506 на этапе 822 передает сообщение неудачи подтверждения действительности пользовательского терминала UE услуги MBMS к контроллеру RNC 504, чтобы информировать, что пользовательский терминал UE 502 не присоединился к услуге MBMS через узел SGSN 506. Однако если на этапе 812 определено, что ID пользовательского терминала UE 502 включен в MBMS-контекст, то на этапе 814 узел SGSN 506 посылает сообщение ответа подтверждения действительности пользовательского терминала UE услуги MBMS к контроллеру RNC 504, чтобы информировать, что пользовательский терминал UE 502 присоединился к услуге MBMS через узел SGSN 506.
На этапе 816 узел SGSN 506 осуществляет поиск RNC ID контроллера RNC 504 в MBMS-контексте. Если на этапе 818 определено, что RNC ID контроллера RNC 504 не включен в MBMS-контекст, то узел SGSN 506 добавляет информацию о контроллере RNC 504 в MBMS-контекст на этапе 820. Однако если на этапе 818 определено, что RNC ID контроллера RNC 504 уже включен в MBMS-контекст, то узел SGSN 506 завершает операцию.
На фиг.17 показана блок-схема, иллюстрирующая работу узла SGSN 506, который управляет MBMS-контекстом, во взаимосвязи с процедурами, показанными на фиг.9. Согласно фиг.17 на этапе 830 узел SGSN 506 принимает от контроллера RNC 504 сообщение запроса списка услуг MBMS для запроса списка услуг MBMS, к которым присоединился пользовательский терминал UE 502.
На этапе 832 узел SGSN 506 дополнительно может выполнить аутентификацию услуги MBMS для пользовательского терминала UE 502. Если аутентификация услуги для пользовательского терминала US 502 безуспешна, то узел SGSN 506 на этапе 852 передает сообщение неудачи списка услуг MBMS к контроллеру RNC 504, чтобы информировать, что пользовательский терминал UE 502 не присоединился к услуге MBMS через узел SGSN 506, и заканчивает операцию. Однако если аутентификация услуги успешна, то узел SGSN 506 на этапе 834 осуществляет поиск контекста пользовательского терминала UE 502 для MBMS ID услуг, к которым присоединился пользовательский терминал UE 502.
Если на этапе 836 определено, что поиск MBMS ID безуспешен, то узел SGSN 506 передает на этапе 852 сообщение неудачи списка услуг MBMS к контроллеру RNC 504, чтобы информировать, что пользовательский терминал UE 502 не присоединился к услуге MBMS через узел SGSN 506, и затем завершает операцию. Однако если на этапе 836 определено, что поиск MBMS ID успешен, то узел SGSN 506 на этапе 838 осуществляет поиск MBMS-контекста, соответствующего MBMS ID. Если на этапе 840 определено, что поиск MBMS-контекста безуспешен, то на этапе 852 узел SGSN 506 передает сообщение неудачи списка услуг MBMS к контроллеру RNC 504, чтобы информировать, что пользовательский терминал UE 502 не присоединился к услуге MBMS через узел SGSN 506, и заканчивает операцию.
Однако если на этапе 840 определено, что MBMS-контекст существует, то узел SGSN 506 на этапе 842 осуществляет поиск ID пользовательского терминала UE 502 в MBMS-контексте. Если на этапе 844 определено, что ID пользовательского терминала UE 502 не включен в MBMS-контекст, то на этапе 852 узел SGSN 506 передает сообщение неудачи списка услуг MBMS к контроллеру RNC 504, чтобы информировать, что пользовательский терминал UE 502 не присоединился к услуге MBMS через узел SGSN 506, и затем заканчивает операцию.
В альтернативном варианте, хотя ID пользовательского терминала UE 502 не включен в MBMS-контекст, если пользовательский терминал UE 502 присоединился к услуге MBMS, то узел SGSN 506 добавляет информацию о пользовательском терминале UE 502 в MBMS-контекст без передачи сообщения неудачи списка услуг MBMS.
Однако если на этапе 844 определено, что ID пользовательского терминала UE 502 включен в MBMS-контекст, то на этапе 846 узел SGSN 506 передает сообщение ответа на запрос списка услуг MBMS к контроллеру RNC 504, чтобы информировать, что пользовательский терминал UE 502 присоединился к услуге MBMS через узел SGSN 506. Сообщение ответа на запрос списка услуг MBMS, как описано на этапе 560 со ссылкой на фиг.9, включает в себя информацию об услугах MBMS, к которым присоединился в текущий момент пользовательский терминал UE 502, соответствующий идентификатору UE ID, включенному в сообщение запроса списка услуг MBMS, принятое на этапе 830, то есть включает в себя список MBMS ID.
На этапе 848 узел SGSN 506 осуществляет поиск RNC ID контроллера RNC 504 в MBMS-контексте. Если на этапе 850 определено, что RNC ID контроллера RNC 504 не включен в MBMS-контекст, то на этапе 854 узел SGSN 506 добавляет информацию о контроллере RNC 504 в MBMS-контекст. Однако если на этапе 850 определено, что RNC ID контроллера RNC 504 уже включен в MBMS-контекст, то узел SGSN 506 завершает операцию.
2. Управление контекстом услуги в узле SGSN
Во втором варианте осуществления настоящего изобретения, для того чтобы обеспечить возможность узлу SGSN управлять информацией о пользовательском терминале UE, который присоединился к услуге MBMS, но находится в PMM-неактивном/RRC-соединенном режиме, информация, относящаяся к услуге MBMS, указывающая, что UE является терминалом, который успешно присоединился к услуге MBMS, передается к узлу SGSN через контроллер RNC вместе с предварительно определенным сообщением. Узел SGSN обновляет информацию о пользовательском терминале UE в соответствующем MBMS-контексте, запрашиваемом терминалом UE, среди MBMS-контекстов, управляемых узлом SGSN. Соответственно узел SGSN может управлять списком пользовательских терминалов UE, которые установили RRC-соединение для CS-услуги, вместе с ее MBMS-контекстом.
Информация, относящаяся к услуге MBMS, соответствует идентификатору MBMS ID, указывающему услугу MBMS, к которой присоединился терминал, или указателю активации услуги MBMS.
Фиг.18 – 21 иллюстрируют процедуры для добавления информации о пользовательском терминале UE к MBMS-контексту узла SGSN, связанного с пользовательским терминалом UE, который присоединился к услуге MBMS, но находится в PMM-неактивном режиме. На фиг.18 – 21 ссылочная позиция 902 представляет пользовательский терминал UE, получающий услугу MBMS, ссылочная позиция 904 представляет контроллер RNC для услуги MBMS, связанный с пользовательским терминалом UE 902, и ссылочная позиция 906 представляет узел SGSN базовой сети CN для услуги MBMS. Кроме того, MBMS-контекст узла SGSN 906 упоминается как первый MBMS-контекст, а MBMS-контекст контроллера RNC 904 упоминается как второй MBMS-контекст. Пользовательский терминал UE 902 представляет собой пользовательский терминал UE, который присоединился к желательной услуге MBMS, но находится в PMM-неактивном режиме, когда отсутствует PS-услуга, осуществляемая в текущий момент через узел SGSN 906. В PMM-неактивном режиме, поскольку отсутствует обслуживающий контроллер SRNC для пользовательского терминала UE 902, получающего услугу MBMS, узел SGSN 906 не передает информацию, относящуюся к услуге MBMS, контроллеру RNC 904, соответствующему текущему местоположению пользовательского терминала UE 902.
Более конкретно, на фиг.18 и 19 представлены диаграммы, иллюстрирующие процедуры для сохранения информации, относящейся к услуге MBMS, когда пользовательский терминал UE 902 запрашивает контроллер RNC 904 установить RRC-соединение для CS-услуги. Согласно фиг.18 на этапе 910 пользовательский терминал UE 902 устанавливает RRC-соединение с контроллером RNC 904 для получения CS-услуги. В этот момент пользовательский терминал UE 902 вводит желательный MBMS ID в сообщение запроса установки RRC-соединения или в сообщение завершения установки RRC-соединения, передаваемого к контроллеру RNC 904, чтобы запросить у контроллера RNC 904 добавить информацию о пользовательском терминале UE 902 в MBMS-контекст, соответствующий MBMS ID. Если RRC-соединение успешно установлено между пользовательским терминалом UE 902 и контроллером RNC 904, то контроллер RNC 904 на этапе 912 передает сообщение запроса подтверждения действительности пользовательского терминала UE услуги MBMS к узлу SGSN 906, чтобы запросить узел SGSN 906 определить, присоединился ли пользовательский терминал UE 902 к услуге MBMS. Сообщение запроса подтверждения действительности пользовательского терминала UE услуги MBMS включает в себя UE ID пользовательского терминала UE 902, MBMS ID и RNC ID контроллера RNC 904.
Узел SGSN 906 определяет, существует ли второй MBMS-контекст, соответствующий MBMS ID, включенному в сообщение запроса подтверждения действительности пользовательского терминала UE услуги MBMS, и существует ли UE ID во втором MBMS-контексте. Если MBMS ID, включенный в сообщение запроса подтверждения действительности пользовательского терминала UE услуги MBMS, существует, и UE ID существует во втором MBMS-контексте, то узел SGSN 906 передает на этапе 916 сообщение ответа подтверждения действительности пользовательского терминала UE услуги MBMS к контроллеру RNC 904, чтобы информировать, что пользовательский терминал UE 902 является действительным для услуги MBMS. Сообщение ответа подтверждения действительности пользовательского терминала UE услуги MBMS может включать в себя список пользовательских терминалов UE, действительных для услуги MBMS, и информацию об областях, где доступна услуга MBMS.
В альтернативном варианте узел SGSN 906 определяет, что пользовательский терминал UE 902 является действительным для услуги MBMS, когда MM-контекст, соответствующий UE ID, включенный в сообщение запроса подтверждения действительности пользовательского терминала UE услуги MBMS, существует в узле SGSN 906, и MBMS-контекст, соответствующий MBMS ID, существует в MM-контексте.
На этапе 914 узел SGSN 906, принимающий сообщение запроса подтверждения действительности пользовательского терминала UE услуги MBMS, сохраняет UE-информацию, указывающую, что пользовательский терминал UE 902 находится в RRC-соединенном, т.е. CMM-соединенном режиме для CS-услуги, во втором MBMS-контексте. На этапе 918 контроллер RNC 904 добавляет информацию о пользовательском терминале UE 902 к своему первому MBMS-контексту в ответ на сообщение ответа подтверждения действительности пользовательского терминала UE услуги MBMS.
Согласно фиг.19 на этапе 920 пользовательский терминал UE 902 устанавливает RRC-соединение с контроллером RNC 904 для приема CS-услуги. В данном случае пользовательский терминал UE 902 вводит указатель активации услуги MBMS, указывающий, что имеется, по меньшей мере, одна услуга MBMS, к которой присоединился пользовательский терминал UE 902, в сообщение запроса установки RRC-соединения или в сообщение завершения установки RRC-соединения, передаваемое контроллеру RNC 904. Указатель активации услуги MBMS устанавливается, когда пользовательский терминал UE 902 присоединился к одной или более услугам MBMS.
Если RRC-соединение успешно установлено между пользовательским терминалом UE 902 и контроллером RNC 904, на этапе 922 контроллер RNC 904 передает сообщение запроса списка услуг MBMS к узлу SGSN 906, чтобы запросить узел SGSN 906 определить, присоединился ли пользовательский терминал UE 902 к определенной услуге MBMS. Сообщение запроса списка услуг MBMS включает в себя UE ID пользовательского терминала UE 902 и RNC ID контроллера RNC 904.
Если MM-контекст, соответствующий UE ID, включенному в сообщение запроса списка услуг MBMS, существует в узле SGSN 906, и MBMS-контекст существует в MM-контексте, то на этапе 926 узел SGSN 906 передает сообщение ответа на запрос списка услуг MBMS, содержащее MBMS ID, включенные в MM-контекст, контроллеру RNC 904. То есть сообщение ответа на запрос списка услуг MBMS содержит список MBMS ID для всех услуг MBMS, к которым присоединился пользовательский терминал UE 902. Кроме того, сообщение ответа на запрос списка услуг MBMS может содержать информацию об областях, где доступна, по меньшей мере, одна услуга MBMS, к которой присоединился пользовательский терминал UE 902.
На этапе 924, в ответ на сообщение запроса списка услуг MBMS, узел SGSN 906 сохраняет UE-информацию, указывающую, что пользовательский терминал UE 902 находится в RRC-соединенном, т.е. CMM-соединенном режиме для CS-услуги, в MBMS-контексте. На этапе 928 контроллер RNC 904 добавляет UE-информацию о пользовательском терминале UE 902 к своему MBMS-контексту в ответ на сообщение ответа на запрос списка услуг MBMS.
Выше отдельно описан вариант осуществления, где пользовательский терминал UE использует MBMS ID, и другой вариант, где пользовательский терминал UE использует указатель активации услуги MBMS. Однако в видоизмененном варианте осуществления пользовательский терминал может использовать как MBMS ID, так и указатель активации услуги MBMS. То есть, когда пользовательский терминал присоединяется только к одной услуге MBMS, он передает MBMS ID узлу SGSN через контроллер RNC, а когда пользовательский терминал присоединяется к двум или более услугам MBMS, он передает указатель активации услуги MBMS узлу SGSN через контроллер RNC. В результате узел SGSN принимает один из двух типов информации посредством сообщения запроса подтверждения действительности пользовательского терминала UE услуги MBMS или сообщения запроса списка услуг MBMS от контроллера RNC, добавляет информацию о пользовательском терминале UE к своему собственному MBMS-контексту посредством вышеописанной процедуры и передает ответ на нее контроллеру RNC.
На фиг.20 показана диаграмма, иллюстрирующая процедуру, в которой пользовательский терминал UE 902, получающий услугу MBMS в PMM-неактивном состоянии, переходит в PMM-соединенный режим путем запроса PS-сети установить соединение, при запросе контроллера RNC 904 установить RRC-соединение для CS-услуги, и сохраняет информацию, относящуюся к услуге MBMS, в контроллере RNC 904 и в узле SGSN 906. Согласно фиг.20 на этапе 930 пользовательский терминал UE 902 устанавливает RRC-соединение с контроллером RNC 904, чтобы получить CS-услугу. На этапе 932 пользовательский терминал UE 902 также принимает решение запросить РММ-соединение сигнализации при запросе RRC-соединения, когда он присоединяется к услуге MBMS. То есть RRC-уровень пользовательского терминала UE 902 запрашивает более высокий уровень о переходе в PMM-соединенный режим. Здесь “более высокий уровень” относится к средству управления мобильностью пакетной передачи (PMM). Если средство PMM принимает решение установить соединение PS-сигнализации в ответ на запрос от RRC-уровня на этапе 934, пользовательский терминал UE 902 передает сообщение запроса услуги узлу SGSN 906 через NAS-интерфейс, чтобы запросить соединение PS-сигнализации, и затем переходит в PMM-соединенный режим на этапе 936. Последующая операция между узлом SGSN 906 и контроллером RNC 904 следует процедуре связывания MBMS UE для пользовательского терминала в PMM-соединенном режиме.
Сообщение запроса услуги включает в себя MBMS ID или указатель активации услуги MBMS. Указатель активации услуги MBMS добавляется к сообщению запроса услуги как информационный элемент (IE) или добавляется к NAS-сообщениям как “значение причины” (например, “причина = активация услуги MBMS”).
На этапе 938 узел SGSN 906 изменяет информацию состояния пользовательского терминала UE 902 в MM-контексте пользовательского терминала UE 902 на PMM-соединенное состояние в ответ на сообщение запроса услуги. На этапе 940 узел SGSN 906 передает список MBMS ID пользовательского терминала UE 902 контроллеру RNC 904 посредством сообщения запроса связывания MBMS UE. На этапе 942 контроллер RNC 904 добавляет информацию о пользовательском терминале UE 902 к соответствующему MBMS-контексту в контроллере RNC 904 путем обращения к списку MBMS ID. На этапе 944 контроллер RNC 904 посылает сообщение ответа связывания MBMS UE к узлу SGSN 906 для информирования о том, что информация о пользовательском терминале UE 902 успешно добавлена к его собственному MBMS-контексту.
На фиг.21 представлена диаграмма, иллюстрирующая процедуру, в которой, при запросе контроллера RNC 904 установить RRC-соединение для CS-услуги, пользовательский терминал UE 902, принимающий услугу MBMS в PMM-неактивном состоянии, сохраняет информацию, относящуюся к услуге MBMS, от UE 902 к RNC 904 посредством Uu-сообщения и сохраняет информацию, относящуюся к услуге MBMS, от UE 902 к SGSN 906 посредством NAS-сообщения. В этой процедуре информация, относящаяся к услуге MBMS, передаваемая к узлу SGSN 906, включает в себя MBMS ID или указатель активации услуги MBMS. В последующем описании предполагается, что MBMS ID используется в качестве информации, относящейся к услуге MBMS.
Согласно фиг.21 на этапе 950 пользовательский терминал UE 902 устанавливает RRC-соединение с контроллером RNC 904 для получения CS-услуги. При этом, по меньшей мере, один MBMS ID, указывающий услугу MBMS, к которой присоединился пользовательский терминал UE 902, включается в сообщение запроса установки RRC-соединения или в сообщение завершения установки RRC-соединения, передаваемого от пользовательского терминала UE 902 к контроллеру RNC 904, чтобы установить RRC-соединение для CS-услуги. Если RRC-соединение успешно установлено между пользовательским терминалом UE 902 и контроллером RNC 904, то контроллер RNC 904 на этапе 952 передает сообщение запроса подтверждения действительности пользовательского терминала UE услуги MBMS к узлу SGSN 906, чтобы запросить узел SGSN 906 определить, присоединился ли пользовательский терминал UE 902 к услуге MBMS. Сообщение запроса подтверждения действительности пользовательского терминала UE услуги MBMS включает в себя UE ID пользовательского терминала UE 902, MBMS ID и RNC ID контроллера RNC 904.
Если MBMS-контекст, соответствующий MBMS ID, существует в узле SGSN 906, и UE ID существует в MBMS-контексте, то на этапе 954 узел SGSN 906 передает сообщение ответа подтверждения действительности пользовательского терминала UE услуги MBMS к контроллеру RNC 904, чтобы проинформировать, что пользовательский терминал UE 902 является действительным для услуги MBMS. Сообщение ответа подтверждения действительности пользовательского терминала UE услуги MBMS может включать в себя информацию об областях, где доступна услуга MBMS.
Кроме того, если ММ-контекст, соответствующий UE ID, существует в узле SGSN 906, и MBMS-контекст, соответствующий MBMS ID, существует в MM-контексте, то узел SGSN 906, принимающий сообщение запроса подтверждения действительности пользовательского терминала UE услуги MBMS, определяет, что пользовательский терминал UE 902 является действительным для услуги MBMS. На этапе 956 контроллер RNC 904 сохраняет UE-информацию, указывающую, что пользовательский терминал UE 902 находится в CMM-соединенном режиме, в MBMS-контексте.
RRC-средство пользовательского терминала UE 902 сообщает о завершении RRC-соединения на более высокий уровень пользовательского терминала UE 902 после установки RRC-соединения на этапе 950. Здесь “более высокий уровень” относится к средству РММ. Если средство РММ принимает решение установить соединение PS-сигнализации в ответ на запрос с RRC-уровня, то на этапе 958 пользовательский терминал UE 902 передает сообщение, информирующее узел SGSN 906, что информация связывания между UE 902 и услугой MBMS существует в контроллере RNC 904, несмотря на то, что пользовательский терминал UE 902 находится в СММ-соединенном или РММ-неактивном состоянии, с использованием NAS-интерфейса. Вышеописанное сообщение передается от пользовательского терминала UE 902 к узлу SGSN 906 и включает в себя параметр, указывающий, что информация связывания между UE 902 и услугой MBMS существует в контроллере RNC 904, несмотря на то, что пользовательский терминал UE 902 находится в СММ-соединенном или РММ-неактивном состоянии.
Кроме того, вышеописанное сообщение соответствует специальному сообщению запроса услуги для услуги MBMS или типовому сообщению запроса услуги, к которому добавлено “значение причины”, имеющее значение, указывающее, что добавлен запрос услуги MBMS. Когда сообщение является специализированным сообщением запроса услуги, то сообщение запроса услуги включает в себя флаг, такой как СММ-Connected (“СММ-соединен”). CMM-Connected=0 представляет CMM-неактивное состояние, а CMM-Connected=1 представляет CMM-соединенное состояние. Когда сообщение является типовым сообщением запроса услуги, к которому добавлен параметр, то сообщение запроса услуги включает в себя MBMS ID, или “значение причины” имеет новое значение, указывающее СММ-соединенное состояние.
Сообщение запроса услуги может стать специализированным сообщением для запроса услуги MBMS или существующим сообщением запроса услуги, к которому добавлено “значение причины”, имеющее новое значение. Если сообщение запроса услуги определено как специализированное сообщение, то сообщение запроса услуги включает в себя флаг, такой как СММ-Connected (“СММ-соединен”). Аналогичным образом, CMM-Connected=0 представляет CMM-неактивное состояние, а CMM-Connected=1 представляет CMM-соединенное состояние.
На этапе 960 узел SGSN 906 сохраняет UE-информацию, указывающую, что пользовательский терминал UE 902 находится в CMM-соединенном состоянии, в MBMS-контексте, соответствующем услуге MBMS, в ответ на сообщение запроса услуги. То есть узел SGSN 906 сохраняет UE-информацию в MBMS-контексте, соответствующем услуге MBMS, к которой присоединился пользовательский терминал UE 902. В данном случае, если сообщение запроса услуги включает в себя MBMS ID, то узел SGSN 906 осуществляет поиск в MBMS-контексте с использованием MBMS ID. Однако если сообщение запроса услуги не содержит MBMS ID, то узел SGSN 906 осуществляет поиск в MM-контексте с использованием UE ID и затем получает MBMS-контекст, включенный в MM-контекст.
После приема сообщения запроса услуги на этапе 958 и обновления своего собственного MBMS-контекста узел SGSN 906 определяет, принята ли информация, относящаяся к услуге MBMS (такая как сообщение запроса подтверждения действительности UE для MBMS), для пользовательского терминала UE 902 от контроллера RNC 904. Если информация, относящаяся к услуге MBMS, не принята, то узел SGSN 906 передает к контроллеру RNC 904 сообщение запроса связывания MBMS UE, содержащее, по меньшей мере, один MBMS ID для услуги MBMS, к которой присоединился пользовательский терминал UE 902, так что контроллер RNC 904 может сохранить информацию о пользовательском терминале UE 902 в своем MBMS-контексте.
Хотя не показано, в альтернативном варианте осуществления настоящего изобретения, при передаче сообщения запроса услуги узлу SGSN 906 пользовательский терминал UE 902 использует MBMS ID, когда он присоединяется только к одной услуге MBMS, и использует указатель активации услуги MBMS, когда он присоединяется к двум или более услугам MBMS. Последующая процедура работы модифицированного варианта та же самая, что и описанная выше.
Причина добавления информации о СММ-соединенном состоянии к MBMS-контексту узла SGSN таким способом состоит в удалении информации связывания для пользовательского терминала UE в контроллере RNC, если пользовательский терминал UE в PMM-неактивном/RRC-соединенном состоянии осуществляет запрос удаления услуги. Таким образом, посредством процедуры, показанной на фиг.18 – 21, если узел SGSN обнаруживает, что пользовательский терминал UE имеет RRC-соединение, и контроллер RNC сохраняет информацию, относящуюся к услуге MBMS, для пользовательского терминала UE, то узел SGSN использует информацию удаления связывания между UE и услугой MBMS путем отмены связывания с контроллером RNC, когда пользовательский терминал UE осуществляет запрос выхода из услуги MBMS.
На фиг.22 и 23 показаны диаграммы, иллюстрирующие процедуры удаления информации, относящейся к услуге MBMS, пользовательского терминала UE из MBMS-контекста узла SGSN и контроллера RNC. На фиг.22 и 23 ссылочная позиция 1002 представляет пользовательский терминал UE, получающий услугу MBMS, ссылочная позиция 1004 представляет контроллер RNC для соответствующей услуги MBMS, связанный с пользовательским терминалом UE 1002, и ссылочная позиция 1006 представляет узел SGSN базовой сети CN для услуги MBMS. Дополнительно пользовательский терминал UE 1002 находится в состоянии, когда он присоединился к услуге MBMS, но не имеет никакой другой PS-услуги в текущий момент, предоставляемой через узел SGSN 1006.
Более конкретно, на фиг.22 представлена диаграмма, иллюстрирующая процедуру, в которой пользовательский терминал UE, получающий услугу MBMS в PMM-неактивном состоянии, удаляет информацию, относящуюся к услуге MBMS, в контроллере RNC, и удаляет информацию, относящуюся к услуге MBMS, в узле SGSN посредством Iu-сообщения от контроллера RNC к узлу SGSN, при разъединении RRC-соединения, установленного для CS-услуги. Согласно фиг.22, если CS-услуга пользовательского терминала UE 1002 разъединяется (или приостанавливается) на этапе 1010, то контроллер RNC 1004 посылает сообщение разъединения RRC-соединения к пользовательскому терминалу UE 1002 на этапе 1012. Сообщение разъединения RRC-соединения, передаваемое от пользовательского терминала UE 1002 к контроллеру RNC 1004, включает в себя MBMS ID, указывающий услугу MBMS, реализуемую в текущий момент пользовательским терминалом UE 1002.
На этапе 1004 контроллер RNC 1004 удаляет информацию о пользовательском терминале UE 1002 из своего MBMS-контекста. После этого на этапе 1016 контроллер RNC 1004 информирует узел SGSN 1006, что поскольку пользовательский терминал UE 1002 разъединил RRC-соединение, то больше не существует связывания между пользовательским терминалом UE 1002 и услугой MBMS в контроллере RNC 1004. На этапе 1016 используется сообщение запроса обновления MBMS UE, включающее в себя MBMS ID и UE ID. Сообщение запроса обновления MBMS UE также содержит параметр “причина”, указывающий, что пользовательский терминал UE 1002 перешел из CMM-соединенного режима в CMM-неактивный режим, в дополнение к MBMS ID и UE ID.
На этапе 1018 узел SGSN 1006 удаляет UE-информацию, указывающую, что пользовательский терминал UE 1002 находится в CMM-соединенном режиме, из MBMS-контекста в узле SGSN 1006 путем обращения к сообщению запроса обновления данных MBMS UE. На этапе 1020 узел SGSN 1006 отвечает контроллеру RNC 1004 сообщением ответа обновления данных MBMS UE.
На фиг.23 представлена диаграмма, иллюстрирующая процедуру удаления информации, относящейся к услуге MBMS, посредством Iu-сообщения, передаваемого от узла SGSN 1006 к контроллеру RNC 1004, когда пользовательский терминал UE 1002, принимающий услугу MBMS в PMM-неактивном состоянии, запрашивает приостановление услуги MBMS при сохранении RRC-соединения установленным для CS-услуги. Согласно фиг.23 пользовательский терминал UE 1002 принимает решение приостановить прием, по меньшей мере, одной услуги MBMS, реализуемой на этапе 1030, и информирует узел SGSN 1006 о предполагаемом приостановлении услуги MBMS посредством общей процедуры выхода из услуги MBMS на этапе 1032. На этапе 1034 узел SGSN 1006 удаляет UE-информацию, указывающую, что пользовательский терминал UE 1002 находится в CMM-соединенном состоянии, из MBMS-контекста для услуги MBMS, приостановление которой было запрошено пользовательским терминалом UE 1002. Дополнительно, на этапе 1034 узел SGSN 1006 сначала определяет, сохранена ли UE-информация в MBMS-контексте, прежде чем удалять UE-информацию. Если UE-информация сохранена в MBMS-контексте, то узел SGSN 1006 передает сообщение запроса отмены связывания MBMS UE, содержащее MBMS ID, указывающий услугу MBMS, из которой пользовательскому терминалу UE 1002 желательно выйти, контроллеру RNC 1004 на этапе 1036. Сообщение запроса отмены связывания MBMS UE содержит MBMS ID. В данном случае, поскольку сообщение запроса отмены связывания MBMS UE передается через выделенную сигнализацию UE, основанную на Iu-интерфейсе, то контроллер RNC 1004 может различить пользовательский терминал UE 1002, который передал сообщение.
На этапе 1038 контроллер RNC 1004 определяет, является ли пользовательский терминал UE 1002, включенный в MBMS-контекст контроллера RNC 1004, последним пользовательским терминалом UE. Если пользовательский терминал UE 1002 является последним пользовательским терминалом, связанным с MBMS-контекстом контроллера RNC 1004, то контроллер RNC 1004 удаляет UE-информацию пользовательского терминала UE 1002 из MBMS-контекста и на этапе 1040 передает сообщение ответа отмены связывания MBMS UE к узлу SGSN 1006 в ответ на сообщение запроса отмены связывания MBMS UE.
На фиг.24 представлена блок-схема алгоритма, иллюстрирующая работу узла SGSN 1006 в соответствии со вторым вариантом осуществления настоящего изобретения. Согласно фиг.24 на этапе 1102 узел SGSN определяет, является ли сообщение, принятое от пользовательского терминала UE через контроллер RNC, сообщением RRC-соединения. Если принятое сообщение является сообщением RRC-соединения, то узел SGSN переходит к этапу 1104, а если принятое сообщение не является сообщением RRC-соединения, то узел SGSN переходит к этапу 1138.
На этапе 1104 узел SGSN определяет, принято ли сообщение запроса подтверждения действительности пользовательского терминала UE услуги MBMS, то есть сообщение для запроса узла SGSN о проверке, является ли пользовательский терминал UE действительным для конкретной услуги MBMS, от контроллера RNC. Сообщение запроса подтверждения действительности пользовательского терминала UE услуги MBMS включает в себя UE ID и RNC ID, а также может содержать MBMS ID, указывающий конкретную услугу. Если принято сообщение запроса подтверждения действительности пользовательского терминала UE услуги MBMS, то узел SGSN переходит к этапу 1106, а если это сообщение не принято, то узел SGSN переходит к этапу 1128.
На этапе 1106 узел SGSN дополнительно выполняет аутентификацию услуги MBMS для пользовательского терминала UE, и если аутентификация услуги успешна, то узел SGSN переходит к этапу 1108. А если аутентификация услуги безуспешна, то узел SGSN переходит к этапу 1126.
На этапе 1108 узел SGSN определяет, имеется ли MBMS-контекст, соответствующий MBMS ID. Если на этапе 1108 определено, что MBMS-контекст существует, то узел SGSN переходит к этапу 1110. Однако если MBMS-контекст не существует, то узел SGSN переходит к этапу 1126.
На этапе 1110 узел SGSN определяет, включен ли MBMS ID в MBMS-контекст. Если на этапе 1110 определено, что MBMS ID включен в MBMS-контекст, то узел SGSN переходит к этапу 1112. Однако если MBMS ID не включен в MBMS-контекст, то узел SGSN переходит к этапу 1126.
На этапе 1126 узел SGSN передает сообщение неудачи подтверждения действительности пользовательского терминала UE для услуги MBMS к контроллеру RNC, чтобы проинформировать, что пользовательский терминал UE не присоединился к услуге MBMS через узел SGSN, и затем завершает операцию.
На этапе 1112 узел SGSN определяет, следует ли сохранить информацию связывания. Если узел SGSN принимает решение сохранить информацию связывания, то он переходит к этапу 1116, а если узел SGSN принимает решение не сохранять информацию связывания, то он переходит к этапу 1118. В данном случае узел SGSN принимает решение сохранить информацию связывания, соответствующую предварительно определенному режиму работы, когда пользовательский терминал UE непосредственно сохраняет информацию, относящуюся к услуге MBMS, в контроллере RNC посредством Uu-сообщения, а контроллер RNC передает Iu-сообщение к узлу SGSN, чтобы проинформировать, что RRC-соединение установлено.
На этапе 1116 узел SGSN сохраняет UE-информацию, указывающую, что данный UE находится в CMM-соединенном режиме, в MBMS-контексте, и затем переходит к этапу 1118, на котором узел SGSN передает к контроллеру RNC сообщение ответа подтверждения действительности пользовательского терминала UE для услуги MBMS, указывающее, что UE присоединился к услуге MBMS через узел SGSN, и затем переходит к этапу 1120.
На этапе 1120 узел SGSN определяет, включен ли RNC ID в MBMS-контекст. Если определено, что RNC ID включен в MBMS-контекст, то узел SGSN переходит к этапу 1124, где узел SGSN добавляет информацию о контроллере RNC к MBMS-контексту. Однако если определено, что RNC ID не включен в MBMS-контекст на этапе 1120, то узел SGSN завершает операцию.
На этапе 1128 узел SGSN определяет, принято ли сообщение обновления данных MBMS UE от контроллера RNC. Если сообщение обновления данных MBMS UE получено, то узел SGSN переходит к этапу 1130, а если это сообщение не получено, то узел SGSN завершает операцию.
На этапе 1130 узел SGSN дополнительно выполняет аутентификацию услуги MBMS для пользовательского терминала UE, и если аутентификация услуги успешна, то узел SGSN переходит на этап 1132 для определения того, что пользовательский терминал UE является действительным для услуги MBMS. Однако если аутентификация услуги безуспешна, то узел SGSN завершает операцию. На этапе 1132 узел SGSN определяет, имеется ли MBMS-контекст, соответствующий идентификатору MBMS ID. Если на этапе 1132 определено, что MBMS-контекст существует, то узел SGSN переходит на этап 1134, а если MBMS-контекст не существует, то узел SGSN завершает операцию. На этапе 1134 узел SGSN удаляет UE-информацию, указывающую, что данный UE находится в CMM-соединенном режиме, из MBMS-контекста. На этапе 1136 узел SGSN передает ответное сообщение к контроллеру RNC.
На этапе 1138 узел SGSN определяет, является ли сообщение, принятое от пользовательского терминала UE, сообщение запроса услуги, содержащим информацию CMM-соединенного режима. Если принятое сообщение является сообщением запроса услуги, то узел SGSN переходит на этап 1140. Сообщение запроса услуги содержит идентификатор MBMS ID. Однако если принятое сообщение не является сообщением запроса услуги, то узел SGSN завершает операцию.
На этапе 1140 узел SGSN определяет, является ли причиной сообщения запроса услуги CMM-соединенный режим. В случае, если причиной сообщения запроса услуги является CMM-соединенный режим, то узел SGSN переходит на этап 1142, а если причиной сообщения запроса услуги является не CMM-соединенный режим, то узел SGSN завершает операцию.
На этапе 1142 узел SGSN дополнительно выполняет аутентификацию услуги MBMS для пользовательского терминала UE. Если аутентификация услуги безуспешна, то узел SGSN завершает операцию. Однако если аутентификация услуги успешна, то узел SGSN переходит на этап 1144 для определения того, что пользовательский терминал UE является действительным для услуги MBMS.
На этапе 1144 узел SGSN определяет, имеется ли MBMS-контекст, соответствующий идентификатору MBMS ID. Если MBMS-контекст существует, то узел SGSN переходит на этап 1146, а если MBMS-контекст не существует, то узел SGSN завершает операцию. На этапе 1146 узел SGSN добавляет UE-информацию, указывающую, что данный UE находится в CMM-соединенном режиме, к MBMS-контексту.
На фиг.25 представлена блок-схема алгоритма, иллюстрирующая работу пользовательского терминала UE в соответствии со вторым вариантом осуществления настоящего изобретения. Согласно фиг.25 на этапе 1202 пользовательский терминал UE переходит в РММ-неактивный режим после присоединения к услуге MBMS. На этапе 1204 пользовательский терминал UE определяет, имеет ли он RCC-соединение. Поскольку пользовательский терминал UE находится в РММ-неактивном режиме, если пользовательский терминал UE имеет RCC-соединение, то RCC-соединение предназначено для CS-услуги. Если пользовательский терминал UE имеет RCC-соединение, то он переходит к этапу 1210, в противном случае пользовательский терминал UE переходит к этапу 1206.
На этапе 1206 пользовательский терминал UE определяет, не прервана ли услуга MBMS, к которой уже присоединился пользовательский терминал UE. Если услуга MBMS не прервана, то пользовательский терминал UE переходит к этапу 1208, а если услуга MBMS прервана, то пользовательский терминал UE завершает операцию.
На этапе 1208 пользовательский терминал UE определяет, следует ли выполнить процедуру установки RCC-соединения. Если пользовательский терминал UE принял решение выполнить процедуру установки RCC-соединения, то на этапах 1210, 1214, 1220 он определяет, какой случай имеет место.
Если на этапе 1210 определено, что пользовательский терминал UE следует случаю 1, то пользовательский терминал UE переходит к этапу 1212. Случай 1 представляет вариант, когда пользовательский терминал UE непосредственно сохраняет информацию, относящуюся к услуге MBMS, в контроллере RNC посредством Uu-сообщения, и контроллер RNC передает Iu-сообщение к узлу SGSN, чтобы информировать его, что пользовательский терминал UE выполняет процедуру установки RCC-соединения. На этапе 1212 пользовательский терминал UE передает контроллеру RNC сообщение запроса установки RCC-соединения или сообщение завершения установки RCC-соединения, содержащее MBMS ID или указатель активации услуги MBMS, чтобы запросить контроллер RNC о добавлении UE-информации к MBMS-контексту, соответствующему услуге MBMS, к которой присоединился пользовательский терминал UE.
Если на этапе 1210 определено, что пользовательский терминал UE не следует случаю 1, то пользовательский терминал UE определяет на этапе 1214, следует ли он случаю 2. Если пользовательский терминал UE следует случаю 2, то он переходит на этап 1216. Случай 2 представляет вариант, в котором, когда пользовательский терминал UE устанавливает RCC-соединение для CS-услуги, он переходит в РММ-соединенное состояние и информирует узел SGSN, что пользовательский терминал UE выполняет процедуру установки RCC-соединения, посредством NAS-интерфейса с использованием существующей процедуры связывания MBMS UE. На этапе 1216 пользовательский терминал UE передает к узлу SGSN сообщение запроса услуги, содержащее параметр (например, MBMS ID или указатель активации услуги MBMS), указывающий на услугу MBMS. На этапе 1218 пользовательский терминал UE переходит в РММ-соединенный режим и затем завершает операцию.
Однако если на этапе 1214 определено, что пользовательский терминал UE не следует случаю 2, то пользовательский терминал UE определяет на этапе 1220, следует ли он случаю 3. Если пользовательский терминал UE следует случаю 3, то он переходит на этап 1222. На этапе 1222 пользовательский терминал UE передает к контроллеру RNC сообщение запроса установки RCC-соединения или сообщение завершения установки RCC-соединения, содержащее MBMS ID или указатель активации услуги MBMS, чтобы запросить контроллер RNC о добавлении UE-информации к MBMS-контексту, соответствующему услуге MBMS, к которой присоединился пользовательский терминал UE. На этапе 1224 пользовательский терминал UE передает к узлу SGSN через NAS-интерфейс сообщение запроса услуги и параметр (например, MBMS ID), указывающий услугу MBMS, включающее информацию, указывающую, что пользовательский терминал UE находится в СММ-соединенном режиме.
Как следует из вышеописанного, когда пользовательские терминалы UE, присоединившиеся к услуге MBMS, находятся в RCC-соединенном режиме после установки вызова для CS-услуги или PS-услуги, настоящее изобретение предотвращает неполучение пользовательскими терминалами уведомления для поискового вызова услуги MBMS при обеспечении услуги MBMS, тем самым повышая вероятность успеха и надежность поискового вызова услуги MBMS. В соответствии с изобретением, когда пользовательский терминал UE находится в РММ-неактивном/RCC-соединенном режиме, информация связывания услуги MBMS для пользовательского терминала UE в контроллере RNC и в узле SGSN поддерживается в процессе предоставления услуги MBMS, повышая эффективность обеспечения услуги MBMS.
Хотя настоящее изобретение показано и описано со ссылками на предпочтительные варианты его осуществления, специалистам в данной области техники должно быть понятно, что различные изменения по форме и в деталях могут быть осуществлены без отклонения от сущности и объема настоящего изобретения, как определено в формуле изобретения.
Формула изобретения
1. Способ предоставления мультимедийных широковещательных/многоадресных услуг (MBMS) в пользовательских терминалах (UE) в системе мобильной связи, содержащей узел В, множество пользовательских терминалов UE, имеющих возможность связи с узлом В в ячейке, занятой узлом В, и контроллер радиосети (RNC) для управления передачами узла В, обслуживающий узел поддержки общих услуг пакетной радиосвязи (GPRS) (узел SGSN) для управления контроллером RNC и пользовательскими терминалами UE для обеспечения услуги с коммутацией пакетов (PS) и услуги с коммутацией каналов (CS) для пользовательских терминалов UE, причем способ содержит этапы передачи информации, относящейся к услуге MBMS, пользовательского терминала UE, который находится в состоянии установления соединения управления радиоресурсами (RRC-соединенном состоянии) и в неактивном состоянии управления мобильностью пакетной передачи (РММ-неактивном состоянии), после присоединения, по меньшей мере, к одной услуге MBMS, от пользовательского терминала UE к контроллеру RNC; и приема услуги MBMS пользовательским терминалом UE соответственно информации, относящейся к услуге MBMS, для обеспечения возможности пользовательскому терминалу UE информировать контроллер RNC, что пользователь присоединился, по меньшей мере, к одной услуге MBMS.
2. Способ по п.1, в котором информация, относящаяся к услуге MBMS, включает в себя указание подсоединенной услуги MBMS, что пользовательский терминал UE в РММ-неактивном состоянии в RRC-соединенном режиме присоединился, по меньшей мере, к одной услуге MBMS.
3. Способ по п.1, в котором информация, относящаяся к услуге MBMS, включает в себя указатель активации услуги для указания того, что пользовательский терминал UE присоединился к определенной услуге MBMS.
4. Способ по п.1, дополнительно содержащий этап аутентификации посредством контроллера RNC, пользовательского терминала UE между контроллером RNC и узлом SGSN.
5. Способ по п.1, в котором информация, относящаяся к услуге MBMS, вводится в сообщение запроса установки соединения или сообщение завершения установки соединения, передаваемого от пользовательского терминала UE к контроллеру RNC в процедуре установки соединения управления радиоресурсами (RRC-соединения) между пользовательским терминалом UE и контроллером RNC.
6. Способ по п.5, в котором процедура установки RRC-соединения выполняется для CS-услуги или PS-услуги пользовательского терминала UE.
7. Способ по п.1, в котором информация, относящаяся к услуге MBMS, вводится в сообщение запроса услуги MBMS, передаваемое от пользовательского терминала UE к контроллеру RNC после завершения RRC-соединения между пользовательским терминалом UE и контроллером RNC.
8. Способ по п.1, в котором этап передачи информации, относящейся к услуге MBMS, содержит этап передачи сообщения установки RRC-соединения, содержащего идентификатор (ID) услуги для, по меньшей мере, одной услуги MBMS, к которой присоединился пользовательский терминал UE, от пользовательского терминала UE к контроллеру RNC в процессе установки RRC-соединения между пользовательским терминалом UE и контроллером RNC.
9. Способ по п.8, дополнительно содержащий этапы передачи контроллером RNC сообщения запроса подтверждения действительности, содержащего ID пользовательского терминала UE, к узлу SGSN, управляющему контроллером RNC, и приема от узла SGSN сообщения ответа подтверждения действительности, указывающего, подтверждена ли действительность пользовательского терминала UE.
10. Способ по п.9, в котором сообщение запроса подтверждения действительности дополнительно содержит, по меньшей мере, один ID услуги для, по меньшей мере, одной услуги MBMS.
11. Способ по п.10, в котором узел SGSN определяет, что подтверждение действительности пользовательского терминала UE успешно, если ID пользовательского терминала UE включен во второй контекст услуги, соответствующий UE услуги, включенному в сообщение запроса подтверждения действительности.
12. Способ по п.11, в котором узел SGSN добавляет информацию о контроллере RNC во второй контекст услуги, если ID контроллера RNC не включен во второй контекст услуги.
13. Способ по п.1, в котором этап передачи информации, относящейся к услуге MBMS, содержит этап передачи сообщения запроса услуги, содержащего ID услуги для, по меньшей мере, одной услуги MBMS, к которой присоединился пользовательский терминал UE, от пользовательского терминала UE к контроллеру RNC, после того как пользовательский терминал UE установил RRC-соединение для CS-услуги или PS-услуги с контроллером RNC.
14. Способ по п.13, дополнительно содержащий этапы передачи контроллером RNC сообщения запроса подтверждения действительности, содержащего ID пользовательского терминала UE, к узлу SGSN, управляющему контроллером RNC, и приема от узла SGSN сообщения ответа подтверждения действительности, указывающего, подтверждена ли действительность пользовательского терминала UE.
15. Способ по п.14, в котором сообщение запроса подтверждения действительности дополнительно содержит, по меньшей мере, один ID услуги для услуги MBMS.
16. Способ по п.15, в котором узел SGSN определяет, что подтверждение действительности пользовательского терминала UE успешно, если ID пользовательского терминала UE включен во второй контекст услуги, соответствующий ID услуги, включенному в сообщение запроса подтверждения действительности.
17. Способ по п.16, в котором узел SGSN добавляет информацию о контроллере RNC во второй контекст услуги, если ID контроллера RNC не включен во второй контекст услуги.
18. Способ предоставления услуг MBMS в системе мобильной связи, содержащий этапы приема контроллером RNC указателя подсоединенной услуги MBMS, указывающего, что пользовательский терминал UE в РММ-неактивном состоянии в RRC-соединенном режиме присоединился, по меньшей мере, к одной услуге MBMS, от пользовательского терминала UE, передачи контроллером RNC сообщения запроса ID услуги MBMS, содержащего ID пользовательского терминала UE, к узлу SGSN, управляющему контроллером RNC, приема контроллером RNC сообщения ответа ID услуги MBMS, содержащего, по меньшей мере, один ID услуги, указывающий, по меньшей мере, одну услугу MBMS, к которой присоединился пользовательский терминал UE, от узла SGSN, и обеспечения услуги MBMS от контроллера RNC к пользовательскому терминалу UE в соответствии с сообщением ответа ID услуги MBMS.
19. Способ по п.18, дополнительно содержащий этап поиска узлом SGSN, по меньшей мере, одного ID услуги для, по меньшей мере, одной услуги MBMS, к которой присоединился пользовательский терминал UE, с использованием ID пользовательского терминала UE.
20. Способ по п.18, дополнительно содержащий этапы передачи сообщения запроса услуги, содержащего указатель активации услуги MBMS, указывающий на существование конкретной услуги MBMS, к которой присоединился пользовательский терминал UE, от пользовательского терминала UE к контроллеру RNC, после завершения процедуры установки RRC-соединения между пользовательским терминалом UE и контроллером RNC, передачи контроллером RNC сообщения запроса списка услуг, содержащего ID пользовательского терминала UE, к узлу связи SGSN, управляющему контроллером RNC, и приема контроллером RNC сообщения ответа на запрос списка услуг, содержащего, по меньшей мере, один ID услуги, указывающий, по меньшей мере, одну услугу MBMS, к которой присоединился пользовательский терминал UE, от узла SGSN.
21. Способ по п.20, в котором сообщение запроса списка услуг дополнительно содержит ID контроллера RNC.
22. Способ по п.20, дополнительно содержащий этап поиска узлом SGSN, по меньшей мере, одного ID услуги для, по меньшей мере, одной услуги MBMS, к которой присоединился пользовательский терминал UE, с использованием ID пользовательского терминала UE.
23. Способ по п.22, в котором узел SGSN добавляет ID контроллера RNC ко второму контексту услуги, если ID контроллера RNC не включен во второй контекст услуги, соответствующий, по меньшей мере, одной услуге MBMS, к которой присоединился пользовательский терминал UE.
24. Способ по п.18, дополнительно содержащий этапы поиска первого контекста услуги, по меньшей мере, для одной услуги MBMS, к которой присоединился пользовательский терминал UE, и генерации первого контекста услуги, если первый контекст услуги не существует, и добавления информации о пользовательской терминале UE к первому контексту услуги, если ID пользовательского терминала UE не включен в первый контекст услуги.
25. Способ по п.24, в котором информация о пользовательском терминале UE указывает, что пользовательский терминал UE имеет RRC-соединение после присоединения, по меньшей мере, к одной услуге MBMS и не имеет PS-сигнализации.
26. Способ предоставления мультимедийных широковещательных/многоадресных услуг (MBMS) пользовательским терминалом (UE) в системе мобильной связи, содержащей узел В, множество пользовательских терминалов UE, имеющих возможность связи с узлом В в ячейке, занятой узлом В, и контроллер радиосети (RNC) для управления передачами узла В и пользовательских терминалов UE для обеспечения услуги с коммутацией пакетов (PS) или услуги с коммутацией каналов (CS) для пользовательских терминалов UE и обслуживающий узел поддержки общих услуг пакетной радиосвязи (GPRS) (узел SGSN) для управления контроллером RNC, причем способ содержит этапы передачи информации, относящейся к услуге MBMS, пользовательского терминала UE, который находится в неактивном режиме управления мобильностью пакетной передачи (РММ-неактивном режиме), после присоединения, по меньшей мере, к одной услуге MBMS, от пользовательского терминала UE к узлу SGSN; связывания информации, относящейся к услуге MBMS, с информацией о пользовательском терминале UE и сохранения информации, относящейся к услуге MBMS, связанной с информацией о пользовательском терминале UE, в первом контексте услуги, по меньшей мере, для одной услуги MBMS, в узле SGSN.
27. Способ по п.26, в котором этап сохранения информации, относящейся к услуге MBMS, содержит добавление информации о пользовательском терминале UE, который передал информацию, относящуюся к услуге MBMS, к первому контексту услуги.
28. Способ по п.26, в котором информация, относящаяся к услуге MBMS, включает в себя, по меньшей мере, один идентификатор (ID) услуги для, по меньшей мере, одной услуги MBMS, к которой присоединился пользовательский терминал UE.
29. Способ по п.26, в котором информация, относящаяся к услуге MBMS, включает в себя указатель активации услуги для указания того, что пользовательский терминал UE присоединился к определенной услуге MBMS.
30. Способ по п.26, в котором информация, относящаяся к услуге MBMS, вводится в сообщение запроса установки соединения или в сообщение завершения установки соединения, передаваемое от пользовательского терминала UE к контроллеру RNC в течение процедуры установки RRC-соединения между пользовательским терминалом UE и контроллером RNC.
31. Способ по п.26, в котором информация о пользовательском терминале UE включает в себя, по меньшей мере, одно из ID пользовательского терминала UE и информации состояния пользовательского терминала UE.
32. Способ по п.30, в котором процедура установки RRC-соединения выполняется для CS-услуги пользовательского терминала UE.
33. Способ по п.26, в котором информация, относящаяся к услуге MBMS, вводится в сообщение запроса услуги MBMS, передаваемое от пользовательского терминала UE к контроллеру RNC после завершения процедуры установки RRC-соединения между пользовательским терминалом UE и контроллером RNC.
34. Способ по п.26, в котором этап передачи информации, относящейся к услуге MBMS, содержит передачу сообщения установки RRC-соединения, содержащего ID услуги для, по меньшей мере, одной услуги MBMS, к которой присоединился пользовательский терминал UE, от пользовательского терминала UE к контроллеру RNC, в процессе процедуры установки RRC-соединения между пользовательским терминалом UE и контроллером RNC, передачу контроллером RNC сообщения запроса подтверждения действительности, содержащего ID пользовательского терминала UE, к узлу SGSN, и прием от узла SGSN сообщения ответа подтверждения действительности, указывающего на то, подтверждена ли действительность пользовательского терминала UE.
35. Способ по п.34, в котором сообщение запроса подтверждения действительности дополнительно содержит ID услуги для услуги MBMS.
36. Способ по п.35, в котором узел SGSN определяет, что подтверждение действительности пользовательского терминала UE успешно, если ID пользовательского терминала UE включен в первый контекст услуги, соответствующий ID услуги, включенному в сообщение запроса подтверждения действительности.
37. Способ по п.35, в котором узел SGSN добавляет информацию о контроллере RNC в первый контекст услуги, если ID контроллера RNC не включен в первый контекст услуги.
38. Способ по п.26, в котором этап передачи информации, относящейся к услуге MBMS, содержит передачу сообщения запроса услуги, содержащего ID услуги для, по меньшей мере, одной услуги MBMS, к которой присоединился пользовательский терминал UE, от пользовательского терминала UE к узлу SGSN, после того как пользовательский терминал UE установил RRC-соединение для CS-услуги или PS-услуги с контроллером RNC.
39. Способ по п.38, дополнительно содержащий этапы передачи узлом SGSN сообщения запроса связывания, содержащего ID услуги, к контроллеру RNC, добавление контроллером RNC информации о пользовательском терминале UE ко второму контексту для ID услуги в ответ на сообщение запроса связывания, и передачи контроллером RNC сообщения ответа связывания, соответствующего сообщению запроса связывания, к узлу SGSN.
40. Способ по п.38, в котором узел SGSN добавляет информацию о контроллере RNC в первый контекст услуги, если ID контроллера RNC не включен в первый контекст услуги.
41. Способ по п.26, в котором этап передачи информации, относящейся к услуге MBMS, содержит передачу сообщения установки RRC-соединения, содержащего указатель активации услуги MBMS, указывающий на существование конкретной услуги MBMS, к которой присоединился пользовательский терминал UE, от пользовательского терминала UE к контроллеру RNC, в процессе процедуры установки RRC-соединения между пользовательским терминалом UE и контроллером RNC, передачу контроллером RNC сообщения запроса списка услуг, содержащего ID пользовательского терминала UE, к узлу SGSN и прием контроллером RNC сообщения ответа на запрос списка услуг, содержащего, по меньшей мере, один ID услуги, указывающий, по меньшей мере, на одну услугу MBMS, к которой присоединился пользовательский терминал UE, от узла SGSN.
42. Способ по п.41, в котором сообщение запроса списка услуг дополнительно содержит ID контроллера RNC.
43. Способ по п.41, дополнительно содержащий этап поиска узлом SGSN ID услуги для, по меньшей мере, одной услуги MBMS, к которой присоединился пользовательский терминал UE, с использованием ID пользовательского терминала UE.
44. Способ по п.43, в котором узел SGSN добавляет ID контроллера RNC в первый контекст услуги, если ID контроллера RNC не включен в первый контекст услуги, соответствующий ID услуги для, по меньшей мере, одной услуги MBMS, к которой присоединился пользовательский терминал UE.
45. Способ по п.26, в котором этап передачи информации, относящейся к услуге MBMS, содержит передачу сообщения запроса услуги, содержащего указатель активации услуги MBMS, указывающий на существование конкретной услуги MBMS, к которой присоединился пользовательский терминал UE, от пользовательского терминала UE у обслуживающему узлу, после завершения установки RRC-соединения между пользовательским терминалом UE и контроллером RNC, поиск обслуживающим узлом ID услуги для, по меньшей мере, одной услуги MBMS, к которой присоединился пользовательский терминал UE, с использованием ID пользовательского терминала UE.
46. Способ по п.26, в котором этап передачи информации, относящейся к услуге MBMS, содержит поиск первого контекста услуги для, по меньшей мере, одной услуги MBMS, к которой присоединился пользовательский терминал UE, и генерации первого контекста услуги, если первый контекст услуги не существует, и добавление информации о пользовательском терминале UE к первому контексту услуги, если ID пользовательского терминала UE не включен в первый контекст услуги.
47. Способ по п.46, в котором информация о пользовательском терминале UE указывает, что пользовательский терминал UE имеет RRC-соединение после присоединения, по меньшей мере, к одной услуге MBMS, и не имеет PS-сигнализации.
РИСУНКИ
|
|