|
|
(21), (22) Заявка: 2006101371/09, 17.01.2006
(24) Дата начала отсчета срока действия патента:
17.01.2006
(43) Дата публикации заявки: 10.08.2007
(46) Опубликовано: 10.01.2008
(56) Список документов, цитированных в отчете о поиске:
US 5483598 А, 09.01.1996. RU 2138126 C1, 20.09.1999. RU 2241314 C2, 27.11.2004. JP 2005268926, 29.09.2005. CA 2329931, 29.06.2002.
Адрес для переписки:
392006, г.Тамбов-6, Тамбовское высшее военное авиационное инженерное училище радиоэлектроники, научно-исследовательский отдел
|
(72) Автор(ы):
Гриднев Виктор Алексеевич (RU), Старчиков Михаил Николаевич (RU)
(73) Патентообладатель(и):
Тамбовское высшее военное авиационное инженерное училище радиоэлектроники (RU)
|
(54) УСТРОЙСТВО ПЕРЕДАЧИ И ПРИЕМА ФОРМАЛИЗОВАННЫХ СООБЩЕНИЙ
(57) Реферат:
Изобретение относится к области электросвязи, а именно к передаче формализованных сообщений, и может найти применение в телеграфной, факсимильной, командно-кодовой и других видах связи, в которых объем сообщения известен до начала его передачи. Достигаемый технический результат – обеспечение имитозащиты без засекречивания и повышение достоверности передачи формализованных сообщений по каналам связи с помехами. Устройство включает передающий и приемный узлы. Передающий узел содержит модуль памяти информационного блока (1), модуль памяти сообщения (2), блок хэширования (4), блоки коммутации (5, 7), модуль памяти стартового блока (3), модуль памяти предыдущего хэшированного блока (6). Приемный узел содержит модуль памяти принятого сообщения (8), модуль памяти информационного блока (9), блок выделения хэш-кода (10), блоки коммутации (11, 14, 16), блок сравнения хэш-кодов (12), блок хэширования (15), модуль памяти стартового блока (13), модуль памяти предыдущего хэшированного блока принятого сообщения (17). 5 ил.
Предлагаемое изобретение относится к области электросвязи, а именно к передаче формализованных сообщений и может найти применение в системах передачи телеграфной, факсимильной, командно-кодовой и других видов информации, в которых объем сообщения известен до начала его передачи.
Наиболее близким по своей технической сущности к предлагаемому устройству передачи формализованных сообщений является устройство шифрования/дешифрования сообщений хэширующей функцией, описанное в патенте США 5483598, МПК6 Н04L 9/20 от 9.01.96 г. Устройство-прототип состоит из передающего и приемного узлов. Передающий узел (фиг.1) включает в себя модуль памяти информационного блока, вход которого является входом устройства, вход секретного ключа блока хэширования подключен к выходу модуля памяти секретного ключа, первый информационный вход блока хэширования подключен к выходу блока коммутации, первый информационный вход которого подключен к выходу модуля памяти стартового блока, а второй информационный вход подключен к выходу модуля памяти предыдущего хэшированного блока, выход модуля памяти информационного блока соединен с первым входом сумматора по модулю 2, выход блока хэширования соединен со вторым входом сумматора по модулю 2, выход сумматора по модулю 2 соединен с входом модуля памяти блока криптограмм и с входом модуля памяти предыдущего хэшированного блока, выход модуля памяти блока криптограмм соединен с входом канала связи. В приемном узле (фиг.2) вход модуля памяти принятого блока криптограммы подключен к выходу канала связи, вход секретного ключа блока хэширования подключен к выходу модуля памяти секретного ключа, первый информационный вход блока хэширования подключен к выходу блока коммутации, первый информационный вход которого подключен к выходу модуля памяти стартового блока, а второй информационный вход подключен к выходу модуля памяти предыдущего хэшированного блока принятого сообщения, выход модуля памяти принятого блока криптограммы соединен с первым входом сумматора по модулю 2 и с входом модуля памяти предыдущего принятого блока криптограммы, выход блока хэширования соединен со вторым входом сумматора по модулю 2, выход сумматора по модулю 2 является выходом устройства.
Недостатком устройства-прототипа является низкая достоверность передачи по каналам связи с помехами, кроме того, данное устройство обеспечивает имитозащиту только одновременно с засекречиванием передаваемых сообщений.
Техническим результатом реализации данного устройства является обеспечение имитозащиты без засекречивания и повышение достоверности передачи формализованных сообщений по каналам связи с помехами.
Сущность изобретения заключается в том, что в устройство передачи и приема формализованных сообщений, включающее передающий и приемный узлы, причем в передающем узле вход модуля памяти информационного блока является входом устройства, один вход блока хэширования подключен к выходу модуля памяти секретного ключа, а второй вход блока хэширования соединен с выходом блока коммутации, первый информационный вход которого подключен к выходу модуля памяти стартового блока, а второй информационный вход подключен к выходу модуля памяти предыдущего хэшированного блока, выход модуля памяти информационного блока соединен с первым входом сумматора по модулю 2, выход блока хэширования соединен со вторым входом сумматора по модулю 2, выход сумматора по модулю 2 соединен с входом модуля памяти блока криптограмм и с входом модуля памяти предыдущего хэшированного блока, выход модуля памяти блока криптограмм соединен с входом канала связи, а в приемном узле вход модуля памяти принятого блока криптограммы соединен с выходом канала связи, выход модуля памяти блока криптограмм соединен с первым входом сумматора по модулю 2 и с входом модуля памяти предыдущего хэшированного блока, выход которого соединен с первым входом блока коммутации, второй вход которого соединен с выходом модуля памяти стартового блока, выход блока коммутации соединен с первым входом блока хэширования, второй вход блока хэширования соединен с выходом модуля памяти секретного ключа, выход блока хэширования соединен со вторым входом сумматора по модулю 2, выход сумматора по модулю два является выходом устройства, дополнительно введены в передающий узел второй блок коммутации и модуль памяти сообщения, а в приемный узел модуль памяти принятого сообщения, блок выделения хэш-кода, блок сравнения хэш-кодов, второй и третий блоки коммутации, причем в передающем узле первый вход модуля памяти сообщения соединен с выходом модуля памяти информационного блока, информационный вход второго блока коммутации соединен с выходом блока хэширования, первый выход второго блока коммутации соединен с входом модуля памяти предыдущего хэшированного блока, второй выход второго блока коммутации соединен со вторым входом модуля памяти сообщения, третий вход модуля памяти сообщения соединен с выходом обратного канала связи, а выход модуля памяти сообщения соединен с входом прямого канала связи, в приемном узле вход модуля памяти принятого сообщения соединен с выходом прямого канала связи, первый выход модуля памяти сообщения соединен с входом блока выделения хэш-кода и с входом модуля памяти информационного блока, выход блока выделения хэш-кода соединен с первым входом блока сравнения хэш-кодов, вход второго блока коммутации соединен с выходом блока хэширования, первый выход блока коммутации соединен с входом модуля памяти предыдущего хэшированного блока принятого сообщения, второй выход второго блока коммутации соединен со вторым входом блока сравнения хэш-кодов, выход блока сравнения хэш-кодов соединен с первым входом третьего блока коммутации, второй вход третьего блока коммутации соединен со вторым выходом модуля памяти принятого сообщения, первый выход третьего блока коммутации соединен с входом обратного канала связи, а второй выход третьего блока коммутации является выходом устройства.
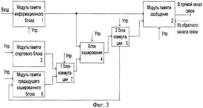
Структурная схема передающего узла предлагаемого устройства приведена на фиг.3. Вход модуля памяти информационного блока является входом устройства, выход модуля памяти информационного блока соединен с первым входом модуля памяти сообщения и с первым входом блока хэширования, второй вход блока хэширования соединен с выходом первого блока коммутации, первый вход которого соединен с выходом модуля памяти стартового блока, а второй вход соединен с выходом модуля памяти предыдущего хэшированного блока, вход второго блока коммутации соединен с выходом блока хэширования, первый выход второго блока коммутации соединен с входом модуля памяти сообщения, а второй выход соединен с входом памяти предыдущего хэшированного блока, выход модуля памяти сообщения соединен с входом прямого канала связи, а второй вход модуля памяти сообщения соединен с выходом обратного канала связи.
Структурная схема приемного узла предлагаемого устройства приведена на фиг.4. Вход модуля памяти принятого сообщения соединен с выходом прямого канала связи, первый выход модуля памяти принятого сообщения соединен с входом модуля памяти информационного блока и с входом блока выделения хэш-кода, второй выход модуля памяти принятого сообщения соединен со вторым входом третьего блока коммутации, выход блока выделения хэш-кода соединен с первым входом блока сравнения хэш-кодов, выход модуля памяти информационного блока соединен с первым входом блока хэширования, второй вход которого соединен с выходом первого блока коммутации, первый вход которого соединен с выходом модуля памяти стартового блока, а второй вход соединен с выходом модуля памяти предыдущего хэшированного блока принятого сообщения, выход блока хэширования соединен с входом второго блока коммутации, первый выход второго блока коммутации соединен с входом модуля памяти предыдущего хэшированного блока принятого сообщения, а второй выход второго блока коммутации соединен с входом блока сравнения хэш-кодов, выход которого соединен с первым входом третьего блока коммутации, первый выход третьего блока коммутации соединен с входом обратного канала связи, а второй выход третьего блока коммутации является выходом устройства.
Устройство работает следующим образом. Передаваемое сообщение, представленное в виде последовательного двоичного кода, поступает на вход модуля памяти информационного блока 1, который разбивает его на N блоков фиксированной длины n, при необходимости дополняя последний блок до требуемой длины n путем добавления нулевых символов. По сигналам управления информационные блоки последовательно поступают на вход модуля памяти сообщения, где из них формируется сообщение длины N·n, к которому добавляется полученный хэш-код и запоминается. Одновременно информационные блоки поступают на блок хэширования 4. Блок хэширования 4 преобразует поступающие на него информационные блоки по функции хэширования, например, используя функцию хэширования на основе возведения в степень примитивного элемента поля Галуа по модулям простых чисел р и q. Математически процесс итерационного хэширования можно описать, как вычисление функции информационного блока Мi и предыдущего хэшированного блока Hi-l
Нi=f(Mi, Нi-l).
Процесс вычисления хэш-функции методом Уинтерница поясняется фиг.5. Количество итераций хэширования равно количеству блоков, на которые разбивается сообщение. При выборе хэш-функции стойкой к образованию коллизий, получается хэш-код, соответствующий одному единственному сообщению. Любая модификация сообщения приведет к изменению хэш-кода. Модуль памяти стартового блока 3 предназначен для хранения кодовой комбинации стартового блока длины n. Модуль памяти предыдущего хэшированного блока 6 предназначен для хранения результата преобразования очередного информационного блока по функции хэширования для использования его в процессе хэширования последующего информационного блока. Первый блок коммутации 7 предназначен для подключения к блоку хэширования 4 выхода модуля памяти стартового блока 3 или выхода модуля памяти предыдущего хэшированного блока 6. Второй блок коммутации 5 предназначен для подключения выхода блока хэширования 4 к входу модуля памяти предыдущего хэшированного блока 6 в течение N-1 итераций или к входу модуля памяти сообщения 2 на N-й итерации. Сформированное в модуле памяти сообщение, состоящее из N информационных блоков длины n и хэш-кода сообщения НN, передается по прямому каналу связи и поступает на вход модуля памяти принятого сообщения 8, где запоминается и хранится до момента сравнения хэш-кодов. По сигналам управления принятое сообщение поступает на вход модуля памяти информационного блока 9 и параллельно поступает на вход блока выделения хэш-кода 10. Модуль памяти информационного блока 9 предназначен для запоминания и хранения очередного информационного блока. Блок выделения хэш-кода 10 предназначен для запоминания и хранения хэш-кода сообщения, принятого по прямому каналу связи. Процесс итерационного вычисления хэш-кода принятого сообщения аналогичен тому, который происходит в передающем узле и описан выше. Блок сравнения хэш-кодов 12 предназначен для сравнения хэш-кода принятого по прямому каналу связи с хэш-кодом сообщения, полученным в узле приема. Третий блок коммутации 16 предназначен для подключения выхода модуля памяти принятого сообщения к выходу устройства при совпадении хэш-кодов в блоке 12 и для формирования сигнала «Запрос» и передачу его по обратному каналу связи при несовпадении хэш-кодов в блоке 12. Одновременно с передачей сигнала «Запрос» принятое ранее сообщение стирается из модуля памяти принятого сообщения 8 и по прямому каналу связи повторно передается ранее переданное сообщение, в котором выявлена модификация.
Все элементы предлагаемого устройства могут быть реализованы на современной элементной базе.
Технико-экономический эффект от использования данного устройства заключается в обеспечении имитозащиты без засекречивания и повышении достоверности передачи формализованных сообщений по каналам связи с помехами.
Формула изобретения
Устройство передачи и приема формализованных сообщений, включающее передающий и приемный узлы, в передающем узле вход модуля памяти информационного блока является входом устройства, выход модуля памяти информационного блока соединен с первым входом модуля памяти сообщения и с первым входом блока хэширования, второй вход блока хэширования соединен с выходом первого блока коммутации, первый вход которого соединен с выходом модуля памяти стартового блока, а второй вход соединен с выходом модуля памяти предыдущего хэшированного блока, вход второго блока коммутации соединен с выходом блока хэширования, первый выход второго блока коммутации соединен с входом модуля памяти сообщения, а второй выход соединен с входом модуля памяти предыдущего хэшированного блока, выход модуля памяти сообщения соединен с входом прямого канала связи, а второй вход модуля памяти сообщения соединен с выходом обратного канала связи, в приемном узле вход модуля памяти принятого сообщения соединен с выходом прямого канала связи, первый выход модуля памяти принятого сообщения соединен с входом модуля памяти информационного блока и с входом блока выделения хэш-кода, второй выход модуля памяти принятого сообщения соединен со вторым входом третьего блока коммутации, выход блока выделения хэш-кодов соединен с первым входом блока сравнения хэш-кодов, выход модуля памяти информационного блока соединен с первым входом блока хэширования, второй вход которого соединен с выходом первого блока коммутации, первый вход которого соединен с выходом модуля памяти стартового блока, а второй вход соединен с выходом модуля памяти предыдущего хэшированного блока принятого сообщения, выход блока хэширования соединен с входом второго блока коммутации, первый выход второго блока коммутации соединен с входом модуля памяти предыдущего хэшированного блока принятого сообщения, а второй выход второго блока коммутации соединен с входом блока сравнения хэш-кодов, выход которого соединен с первым входом третьего блока коммутации, первый выход третьего блока коммутации соединен с входом обратного канала связи, а второй выход третьего блока коммутации является выходом устройства.
РИСУНКИ
MM4A – Досрочное прекращение действия патента СССР или патента Российской Федерации на изобретение из-за неуплаты в установленный срок пошлины за поддержание патента в силе
Дата прекращения действия патента: 18.01.2008
Извещение опубликовано: 27.08.2009 БИ: 24/2009
|
|