|
|
(21), (22) Заявка: 2005132823/09, 25.03.2004
(24) Дата начала отсчета срока действия патента:
25.03.2004
(30) Конвенционный приоритет:
25.03.2003 GB 0306840.0
(43) Дата публикации заявки: 10.03.2006
(46) Опубликовано: 10.01.2008
(56) Список документов, цитированных в отчете о поиске:
GB 2375923 А, 27.11.2002. RU 2121239 C1, 27.10.1998. WO 02/11329 А1, 07.02.2002.
(85) Дата перевода заявки PCT на национальную фазу:
25.10.2005
(86) Заявка PCT:
IB 2004/001077 (25.03.2004)
(87) Публикация PCT:
WO 2004/086656 (07.10.2004)
Адрес для переписки:
129010, Москва, ул. Б. Спасская, 25, стр.3, ООО “Юридическая фирма Городисский и Партнеры”, пат.пов. Ю.Д.Кузнецову, рег.№ 595
|
(72) Автор(ы):
ВЯРЕ Яни (FI), КАЛЛИО Ярно (FI), ПУПУТТИ Матти (FI), ТАЛЬМОЛА Пекка (FI)
(73) Патентообладатель(и):
НОКИА КОРПОРЕЙШН (FI)
|
(54) ИНФОРМАЦИЯ ПАРАМЕТРОВ ПЕРЕДАЧИ
(57) Реферат:
Наземная цифровая видеовещательная сеть содержит поставщика контента и три передатчика. Интегрированный приемник/декодер (IRD) передвигается в зоне около передатчиков. Передавая служебную информацию как часть сетевой информационной таблицы на уровне данных, передатчики предоставляют в своих выходных сигналах информацию параметра передачи в качестве данных сигнализации параметров передачи (TPS) на физическом уровне. Эта информация TPS включает в себя один бит, указывающий, к какому типу сети относится сигнал, и информацию, указывающую, содержит ли сигнал потоки данных, квантованные по времени. Эта информация используется (IRD) как в сканировании сигнала или инициализации (IRD) параметрами, необходимыми для обнаружения услуги на уровнях 1-2 открытых систем (OSI), так и для отмены выбора сигналов как кандидатов на Эстафетную передачу обслуживания. Так как информация параметра передачи передается чаще и на более низком уровне OSI, чем сетевая информационная таблица, (IRD) может более эффективно принимать решения: является ли сигнал подходящим для Эстафетной передачи обслуживания или же интересующим сигналом. Техническим результатом является снижение энергопотребления в мобильном приемнике. 5 н. и 2 з.п. ф-лы, 5 ил., 11 табл.
Область техники, к которой относится изобретение
Данное изобретение относится к данным сигнализации параметров передачи.
Предшествующий уровень техники
Цифровые широковещательные системы, такие как различные системы DVB-T (наземного цифрового видеовещания) и DAB (цифрового аудиовещания), ATSC, ISDB и другие сходные вещательные системы, позволяют системе, содержащей передатчики, упорядоченные в сотовой форме, разрешение приема сигнала надлежащего качества в географической зоне посредством выбора соответствующего местоположения передатчика. Сотовая природа радиопокрытия передатчиков предоставляет мобильным приемникам возможность достигать удовлетворительного функционирования, даже когда они перемещаются. Предпринимаются шаги, чтобы объединить приемники DVB с мобильными телефонами и персональными цифровыми помощниками (PDA), для которых применение стандартов DVB первоначально не проектировалось. Предпринимаются шаги, чтобы предоставлять услуги поверх передач DVB. Пользователь может покупать услуги, используя, например, телефон или другой передатчик данных, являющийся составной частью мобильного телефона или PDA.
Приемник при расшифровке информации параметров передачи, такой как данные сигнализации параметров передачи(TPS) в DVB для принятого сигнала, может использовать ее в различных процессах принятия решений. В частности, приемник DVB-T в мобильном устройстве может использовать идентификационную информацию соты, чтобы исключить некоторые сигналы-кандидаты в процедуре Эстафетной передачи обслуживания.
Разновидность DVB адаптируется для использования в условиях эксплуатации мобильного приемника. Это известно как «карманное» DVB, или DVB-H. В DVB-H услуги широковещательной рассылки данных по протоколу Интернет (IPDC) являются квантованными по времени, что приводит к тому, что данные для услуги передаются в течение относительно короткого периода времени с относительно высокой пропускной способностью. Мобильный приемник затем должен принять данные только во время этого короткого периода времени, и его приемник может быть выключен в другое время. Это имеет положительное следствие для снижения энергопотребления в мобильном приемнике. Квантование по времени не ограничено DVB-H.
Сущность изобретения
В соответствии с первым аспектом изобретения предусмотрен способ функционирования приемника, предназначенного для цифрового широковещания, содержащий декодирование данных сигнализации параметров передачи из сигнала, определение из декодированных данных сигнализации параметров передачи того, несет ли сигнал элементарные потоки, квантованные по времени, и игнорирование сигнала в случае отрицательного результата определения и определение из декодированных данных сигнализации параметров передачи того, имеет ли сигнал структуру кадров с прямым исправлением ошибок.
Преимущественно информация параметров передачи передается на более низком уровне, чем информация об услуге. В вариантах осуществления информация об услуге передается на уровне данных (уровень 2 модели взаимодействия открытых систем (OSI)), тогда как информация TPS передается на физическом уровне (уровень 1 OSI). Термин «уровень» будет подразумеваться в значении уровня в стеке протоколов, например, но не только, в семиуровневой модели OSI.
Это может обеспечить улучшение функционирования приемника. В частности, изобретение может сделать возможным, чтобы по меньшей мере некоторые несоответствующие сигналы были подвергнуты отмене выбора или проигнорированы без обязательного требования информации сети из сигнала, который должен быть проанализирован или даже декодирован. Это особенно важно при идентификации сигналов-кандидатов на Эстафетную передачу обслуживания и при выполнении сканирования сигнала для инициализации приемника параметрами, необходимыми для обнаружения службы. В системах, таких как системы DVB, это особенно выгодно, поскольку информация об услуге, в худшем случае, может быть передана только раз в десятисекундный интервал, тогда как информация параметров передачи может быть очень быстро доступна после достижения синхронизации с настраиваемым сигналом. Поскольку в каждом кадре DVB-T передается один бит TPS, все биты TPS доступны приемнику, после того как приняты 64 кадра DVB-T. Межбитовый интервал битов TPS зависит от символьной скорости сигнала. В типичном варианте все биты TPS принимаются в интервале 100 мс или меньше.
Это также может дать возможность приемнику идентифицировать сигналы, которые не относятся к интересующему типу сети, с тем чтобы соответствующее действие было предпринято, чтобы избежать излишнего использования ресурсов приемника.
В соответствии со вторым аспектом изобретения предусмотрен предназначенный для цифрового широковещания приемник, выполненный с возможностью работы в сети и содержащий декодер для декодирования данных сигнализации параметров передачи, определитель для определения из декодированных данных сигнализации параметров передачи того, несет ли сигнал элементарные потоки, квантованные по времени, контроллер для игнорирования сигнала, ассоциированного с отрицательным результатом определения, при этом определитель выполнен с возможностью определения из декодированных данных сигнализации параметров передачи того, имеет ли сигнал структуру кадров с прямым исправлением ошибок.
В соответствии с третьим аспектом изобретения предусмотрен способ формирования сигнала для передачи, содержащий генерирование данных сигнализации параметров передачи, включающих в себя указание на то, несет ли сигнал элементарные потоки, квантованные по времени, и указание на то, имеет ли сигнал структуру кадров с прямым исправлением ошибок, и включение данных сигнализации параметров передачи в физический уровень сигнала.
В соответствии с четвертым аспектом изобретения предусмотрено устройство для формирования сигнала для передачи, выполненное с возможностью генерирования данных сигнализации параметров передачи, включающих в себя указание на то, несет ли сигнал элементарные потоки, квантованные по времени, и указание на то, имеет ли сигнал структуру кадров с прямым исправлением ошибок, и включения данных сигнализации параметров передачи в физический уровень сигнала.
В соответствии с пятым аспектом изобретения предусмотрен сигнал данных сигнализации параметров передачи, содержащий заранее установленное количество битов данных, определенных на основе последовательных символов мультиплексирования с ортогональным разделением частот, при этом сигнал данных содержит в заранее установленном положении группу из двух битов данных, имеющих состояние, зависящее от того, несет ли сигнал, к которому относится сигнал данных, элементарные потоки, квантованные по времени, которые имеют структуру кадров с прямым исправлением ошибок.
В стандарте DVB-T упомянутое заранее установленное количество битов равно шестидесяти восьми, заданное битами с номерами от нуля до шестидесяти семи, и упомянутое заранее установленное положение находится между номерами битов от сорок восьмого до пятьдесят третьего.
В рамках объема настоящего изобретения находится способ функционирования приемника, который выполнен с возможностью работать в сети, в которой информация параметров передачи передается на более низком уровне, чем информация об услуге (например, представленная на физическом уровне (уровень 1 OSI), в то время как информация PSI/SI (информация, специфическая для программы/информация об услуге) представлена на уровне канала передачи данных (уровень 2 OSI)), содержащий декодирование информации параметров передачи из сигнала, определение из декодированной информации параметров передачи того, относится ли сигнал к соответствующему типу сети; и игнорирование сигнала в случае отрицательного результата определения. Также в рамках объема настоящего изобретения находится соответствующий приемник.
В рамках объема настоящего изобретения находится способ формирования сигнала для передачи, содержащий создание информации об услуге, создание информации параметров передачи, включающей в себя указание типа сети, к которой относится сигнал, и включение информации об услуге на одном уровне с параметром передачи на более низком уровне, чтобы сформировать сигнал. Также в рамках объема настоящего изобретения находится соответствующее устройство.
Варианты осуществления настоящего изобретения будут сейчас описаны только посредством примера, со ссылкой на сопутствующие чертежи.
Перечень фигур
На чертежах:
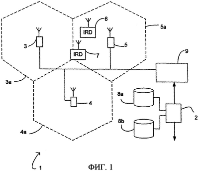
Фиг.1 – схематическое изображение системы цифрового видеовещания, включающей в себя компоненты, функционирующие согласно изобретению;
Фиг.2 – схематическое изображение одной из станций передачи системы по фиг.1;
Фиг.3 – схематическое изображение интегрированного приемника/декодера системы по фиг.1;
Фиг.4 – блок-схема последовательности операций, иллюстрирующая работу интегрированного приемника/декодера по фиг.3 в процедуре сканирования сигнала; и
Фиг.5 – блок-схема последовательности операций, иллюстрирующая работу интегрированного приемника/декодера по фиг.3 в процедуре эстафетной передачи обслуживания.
Описание предпочтительных вариантов осуществления
Документ стандартов EN 300744 V1.4.1, опубликованный Европейским институтом стандартов по телекоммуникациям (ETSI), специфицирует носители TPS, которые используются для сигнализации параметров, относящихся к используемой схеме передачи. Носители TPS устанавливаются на физическом уровне, или уровне 1 OSI, стека протоколов связи. Декодирование TPS в приемнике предоставляет возможность определить канальное кодирование и модуляцию, используемые при передаче, каковая информация используется в контроле правильной работы приемника. Данные TPS определяют по 68 последовательным символам OFDM (мультиплексирование с ортогональным разделением частот), также называемым одним кадром OFDM. Данные TPS параллельно передаются на семнадцати несущих TPS для режима DVB 2K и на 68 несущих для режима 8К. Каждая несущая TPS в том же символе переносит тот же дифференцированно кодированный бит данных. TPS передается, как показано в таблице 1.
| Таблица 1 |
| Номера битов |
Назначение/содержание |
| S0 |
Инициирование |
| S1-S16 |
Слово синхронизации |
| S17-S22 |
Индикатор длины TPS |
| S23-S24 |
Номер кадра (в Суперкадре) |
| S25-S26 |
Комбинация (модуляция QPSK (квадратурная фазовая манипуляция) или 16- или 64-позиционная квадратурная амплитудная модуляция (QAM)) |
| S27, S28, S29 |
Информация об иерархии |
| S30, S31, S32 |
Кодовая скорость, поток HP |
| S33, S34, S35 |
Кодовая скорость, поток LP |
| S36, S37 |
Защитный интервал |
| S38, S39 |
Режим передачи (2k или 8k) |
| S40-S47 |
Идентификатор соты |
| S48-S53 |
Зарезервировано для будущего использования |
| S54-S67 |
Защита от ошибок (код Боуза-Чоудхури-Хоквенгема (ВСН)) |
Следует отметить, что слово синхронизации принимает одно значение для кадров с нечетным номером и обратное для кадров с четным номером в Суперкадре. Также идентификатор соты имеет длину два байта и разделен между последовательными кадрами.
Более важным для некоторого процесса принятия решений является информация, принятая в качестве информации об услуге(SI), которая подробно описана в документе стандартов DVB ETS 300468. Документ стандарта ISO/IEC 13818-1 определяет SI, которая называется информацией, специфической для программы (PSI). Данные PSI/SI предоставляют информацию для разрешения автоматического конфигурирования приемника, чтобы демультиплексировать и декодировать различные потоки программ в уплотненном сигнале. Данные PSI/SI включают в себя таблицу информации сети (NIT), которая предоставляет информацию, относящуюся к физической организации мультиплексирования, также известную как транспортные потоки (TS), переносимые посредством данной сети. Приемник может сохранять содержимое NIT для минимизации времени доступа при переключении между каналами. Данные PSI/SI образуют часть уровня данных, или уровня 2 OSI, стека протоколов связи.
Приемник, известный также как интегрированный приемник/декодер (IRD), определяет параметры преобладающего сигнала и/или сети путем фильтрации и синтаксического разбора принятой таблицы PSI/SI. На основе этой информации IRD может установить, является или нет сигнал действительным кандидатом на эстафетную передачу обслуживания. Тем не менее, поскольку обычно таблицы PSI/SI могут быть переданы в любой интервал от 25 миллисекунд до 10 секунд, в зависимости от таблицы (например, максимальный интервал для таблицы NIT 10 секунд), и поскольку информация PSI/SI передается на уровне данных (например, уровне 2 OSI), для процессов сканирования сигнала и Эстафетной передачи обслуживания может предполагаться привлечение использования значительного количества ресурсов обработки, приемника и мощности IRD, а также являться времязатратными. Это особенно важно в отношении снижения энергопотребления в работающих от батарей карманных мобильных устройствах.
Обращаясь, во-первых, к фиг.1, система цифрового видеовещания (DVB) в целом показана как 1. Система содержит станцию 2 поставщика контента (информационно значимого содержимого), которая подключена соответствующими линиями связи к каждой из первой, второй и третьей передающим станциям 3, 4, 5. Передающие станции 3-5 отделены друг от друга по местоположениям, выбранным так, чтобы обеспечить надлежащее радиопокрытие окружающей географической области. На фиг.1 передатчики 3-5 показаны имеющими соответственные зоны 3а, 4а и 5а радиопокрытия, хотя следует принимать во внимание, что на практике покрытая данным передатчиком зона не будет такой постоянной и будет значительное количество перекрытий между зонами 3а-5а радиопокрытия. На фиг.1 также показаны первый и второй интегрированные приемники/декодеры (IRD) 6, 7. Поставщик 2 контента имеет доступ к источникам 8а, 8b контента, такого как аудиовизуальный контент, файлы данных или изображения. Контент передается с использованием протокола Интернет (IP) поверх сети DVB-T, что известно как служба широковещания данных IP (IPDC), и предпочтительно используя квантование по времени, к одному из IRD 6, 7, которые сконфигурированы, чтобы принимать данные, по меньшей мере, из двух различных каналов связи. IRD 6, 7 в этом варианте осуществления являются мобильными устройствами, которые могут быть включены в состав мобильных телефонов или, например, персональных цифровых помощников (PDA).
Данные контента передаются сетевому элементу 9, который является сервером, сконфигурированным таким образом, чтобы принимать данные контента и формировать данные для восстановления информации для использования в прямом исправлении ошибок данных контента. Данные контента передаются к IRD 6, 7 посредством передатчиков 3-5. Данные для восстановления информации передаются к IRD в одном варианте осуществления изобретения посредством второго канала связи, предоставленного, например, сетью мобильной связи третьего поколения (3G) (не показан). Следует отметить, что коммуникационные тракты для контента и данных для восстановления описаны со ссылкой и показаны на фиг.1 в упрощенной форме. Тем не менее, другие элементы, такие как дополнительные передатчики, сетевые элементы или сети могут быть расположены на этих коммуникационных трактах.
Каждый из IRD 6, 7 может принимать и декодировать сигналы, переданные любым или всеми передатчиками 3-5. Передатчики 3-5 по существу одинаковы, и один из них проиллюстрирован на фиг.2.
Обращаясь к фиг.2, передающая станция 3 показана в схематическом виде и содержит в общем источник данных в виде объединителя 10, передатчика 11 и антенны 12. Объединитель 10 принимает входные данные от поставщика 13 контента, который подключен посредством входа 14 к поставщику 2 контента, показанному на фиг.1. Также генератор 15 данных информации, специфической для программы (PSI) (или информации об услуге (SI)) выполнен с возможностью предоставления данных объединителю. Передатчик 11 включает в себя устройство 16 генерирования данных сигнализации параметров передачи. Объединитель 10 выполнен с возможностью получать данные от устройства 13 поставщика контента и устройства 15 генерирования PSI/SI и предоставлять поток данных согласно стандартам DVB для включения в него данных TPS и последующей передачи передатчиком 11. Согласно стандартам вещания DVB предоставленные данные генератором 16 TPS включаются много раз в секунду в физический уровень передаваемых сигналов, тогда как данные устройства 15 формирования PSI/SI включаются в уровень данных передаваемого сигнала и гораздо менее часто, с интервалами до 10 секунд между передачами данных. Как обычно, генератор 15 PSI/SI формирует данные, представляющие таблицу информации сети (NIT), что соответствует стандартам DVB. Передатчик 11, следовательно, может рассматриваться как включающий в себя информацию параметров передачи, предоставленную генератором 16 TPS, с информацией об услуге, предоставленной как часть данных, сформированных генератором 15 PSI/SI. Результирующий сигнал может рассматриваться как составной сигнал, и он является составным сигналом, который затем передается передатчиком 11 посредством антенны 12. Конечно, составной сигнал также включает в себя данные, предоставленные генератором 13 контента, и другие данные, которые выходят за рамки раскрытия данного изобретения.
Согласно этому одному варианту осуществления изобретения сформированная генератором 16 TPS информация параметров передачи включает в себя информацию, показанную ниже в таблице 2.
| Таблица 2 |
| Номера битов |
Назначение/содержание |
| S48 |
Тип сети |
| S49 |
Размер соты |
| S50-S51 |
Текущий размер соты |
| S52 |
Информация о топологии |
| S53 |
Информация о квантовании по времени |
Каждый из передатчиков 3-5 может передавать многочисленные сигналы, согласно стандартам DVB. В этой связи передатчики 3-5 могут включать в себя многочисленные физические передатчики в едином местоположении и совместно использующие общую антенну. Каждый сигнал, переданный заданным одним из передатчиков 3-5, может отличаться от других сигналов в зависимости от частоты сигнала, типа сети, формата транспортного потока, топологии сети, мощности передатчика и характера используемого мультиплексирования. Например, мультиплексирование может быть с квантованием по времени, которое концептуально похоже на мультиплексирование с разделением времени, или это может быть мультиплексирование, выполненное по-иному, чем во временной области. Типы транспортного потока, которые могут использоваться, известны специалистам в данной области техники. Тип сети может быть, например, сетью DVB или сетью широковещательной рассылки данных по протоколу Интернет (IPDC). Топология сети может быть одночастотной или многочастотной. Сеть с множеством частот может иметь передачи на множестве смежных полос частот. Стандарты DVB допускают полосы пропускания 6, 7 и 8 МГц. Реализация DVB в Европе будет использовать сигналы, имеющие полосу пропускания 8 МГц.
Сформированные данные TPS включают в себя индикатор типа сети в бите S48. Информационный бит «0» указывает на сеть типа DVB, тогда как информационный бит «1» указывает на сеть типа IPDC. В бите S49 данных TPS информационный бит «0» указывает, что все соты сети, от которых получен сигнал, имеют одинаковый размер соты. Информационный бит «1» указывает, что соты сети, от которых получен сигнал, имеют отличный от других сот в сети размер. Текущий размер соты передается битами S50 и S51. В этом варианте осуществления оба этих информационных бита, установленные в «0», указывают, что текущая сота имеет диаметр менее 30 км. Информационный бит S50, принимающий значение «0», и информационный бит S51, принимающий значение «1», означает, что текущий размер соты имеет диаметр между 30 и 40 км. Информационный бит S50, имеющий значение «1», и информационный бит S51, имеющий значение «0», означает, что текущий размер соты имеет диаметр между 40 и 50 км. Если оба этих информационных бита имеют значение «1», тогда текущий размер соты больше 50 км. Топология сети, соответствующая одночастотной сети, указывается битом S52, имеющим значение «0», тогда как многочастотная сеть указывается этим битом, имеющим значение «1». Значение «0», обнаруженное в информационном бите 353, указывает, что сигнал несет элементарные потоки, квантованные по времени, в то время как значение «1» указывает, что сигнал не несет таких потоков.
Данные TPS, переданные передатчиком 11 посредством антенны 12, отличаются от стандартных данных TPS включением информации в их биты с S48 по S53. Данные TPS включают в себя дополнительно один бит, указывающий тип сети, из которой исходит сигнал, один бит, идентифицирующий, используются ли отличающиеся размеры сот в сети, два бита, идентифицирующие размер текущей соты, один бит, идентифицирующий топологию сети, и один бит, идентифицирующий, образует ли часть сигнала данные, квантованные по времени.
IRD 6, 7 будет сейчас описан со ссылкой на фиг.3. Ссылаясь на фиг.3, IRD 6, показанный очень схематично, обычно содержит центральный процессор 20 (CPU), который подключен к энергонезависимой флэш-памяти 27 и энергозависимой синхронной динамической памяти 28 (SDRAM), чтобы управлять каждым из первичного декодера 21, приемника 22, вторичного декодера, например декодера 23 MPEG-2 и IP (протокол Интернет).
Приемник 22 подключен, чтобы принимать радиочастотные сигналы посредством антенны 24 и чтобы предоставлять демодулированные сигналы декодеру 21. Первичный декодер 21 выполнен с возможностью предоставлять под управлением CPU 20 декодированные данные CPU, так и предоставлять данные MPEG или данные IP вторичному декодеру 23. Вторичный декодер 23 предоставляет выходные аудиоданные на динамики 25 и выходные визуальные данные на дисплей 26, посредством чего аудиовизуальный контент, присутствующий в принятом сигнале приемника 22, может быть представлен пользователю. Хотя в этом примере сигналы IP и MPEG возможно обработать общим декодером 23, следует принимать во внимание, что вместо этого могут использоваться отдельные декодеры.
Флэш-память 27 используется, чтобы хранить синтаксически разобранные во время сканирования сигнала данные из NIT. Память 28 SDRAM используется, чтобы хранить некоторые данные, используемые на более ранних стадиях процедуры эстафетной передачи обслуживания.
В этом варианте осуществления IRD 6 также включает в себя приемопередатчик 29 для предоставления возможности связи в системе мобильной телефонии, такой как, например, глобальная система мобильной связи (GSM), пакетная радиосвязь общего назначения (GPRS), система третьего поколения (3G), универсальная система мобильной связи (UMTS), который связан с соответствующим мобильным телефоном, и модуль 30 обработки данных. Приемопередатчик 29 и модуль 30 позволяют IRD 6 работать как телефонный портал и Интернет-портал, а также позволяют пользователю IRD подписаться на интересующие услуги, которые передаются путем широковещательной рассылки данных, используя сеть DVB. Это может быть достигнуто любым подходящим способом. Например, пользователь мог бы послать запрос на доставку услуги оператору мобильной связи, с которым пользователь оформил подписку, используя компоненты 29, 30 UMTS. Оператор может затем организовать предоставление услуги посредством DVB, используя поставщика услуг Интернет. Извещение о доставке услуги может быть передано IRD, используя систему UMTS или систему DVB.
IRD 6 отличается от стандартных IRD в том, что он выполнен с возможностью выявлять информацию, составляющую часть данных TPS, и использовать эти данные соответственно. Работа IRD 6 в процедуре сканирования сигнала сейчас будет описана со ссылкой на фиг.4. Понятно, что процедура сканирования сигнала выполняется для инициализации приемника 6 параметрами, необходимыми для обнаружения услуги на уровнях 1 и 2 OSI обнаружения службы, и для обновления этих параметров впоследствии.
Ссылаясь на фиг.4, процедура начинается на этапе S1. На этапе S2 переменная «частота» («frequency») устанавливается в 474 МГц, и переменная «f» устанавливается в значение 0. На этапе S3 приемник 22 настраивается на частоту, равную «частота» плюс «f». На этапе S4 посредством CPU 20 определяется, успешно ли выполнена настроечная синхронизация. Отсутствие настроечной синхронизации используется, чтобы делать вывод о том, что никакой сигнал достаточной силы не был передан на той частоте. Соответственно, отрицательное решение на этапе S4 приводит к этапу S5, на котором определяется, равна ли сумма переменных «частота» и «f» 858 МГц. Если принято положительное решение, делается вывод о том, что вся полоса пропускания исследована, и процедура переходит к выходу на этапе S6. В противном случае процедура продвигается на этап S7, на котором переменная «f» увеличивается на 8 МГц, и процедура опять возвращается на этап S3.
Когда на этапе S4 достигнута настроечная синхронизация, операция переходит к этапу S8, где бит S48 данных TPS проверяется CPU 20. Если проверка показывает, что бит S48 установлен в «0», делается вывод о том, что сигнал не исходит из сети типа IPDC, и процедура отходит на этап S5. Если тем не менее определяется, что тип сети – IPDC, то процедура продвигается к этапу S9. Здесь проверяется бит S53, из которого посредством CPU 20 определяется, несет ли сигнал данные, квантованные по времени. Если результат определения отрицательный, то процедура отходит на этап S5, в противном случае процедура продвигается к этапу S10.
На этапе S10 данные PSI/SI декодируются и проверяется NIT. Эта проверка включает в себя создание фильтра PID (идентификатора пакета) для NIT, образующей его часть. На этапе S11 затем определяется, что является идентификатором, ассоциированным с сетью. На этапе S12 посредством CPU 20 определяется по идентификатору сети, отфильтрована и синтаксически разобрана ли NIT уже. Если результат определения отрицательный, то процедура отходит на этап S5. В противном случае делается вывод о том, что сигнал, который обрабатывается, является новым сигналом, и процедура продвигается к этапу S13. Здесь NIT синтаксически разбирается CPU 20, и оттуда собираются параметры, необходимые для обнаружения услуги на уровнях 1 и 2 OSI. Значимые данные сохраняются в области временной памяти, означающие «возможные сигналы», на этапе S14. Следуя этому, процедура перемещается на этап S5, где увеличивается частота.
Информация о топологии, задаваемая битом S52, может использоваться IRD 6 с тем, чтобы показанная на фиг.4 процедура не выполнялась без необходимости. В частности, после того как настроечная синхронизация достигнута на этапе S4 и определено из проверки бита S52, что сигнал передан в отношении одночастотной сети, IRD 6 организует работу так, что процедура не выполняется снова в отношении другой частоты, поскольку это считается ненужным.
Как можно видеть, проиллюстрированная на фиг.4 процедура может дать возможность отмены выбора определенных несоответствующих сигналов, даже без приема и декодирования NIT из данных PSI/SI. Поскольку данные TPS передаются на более низком уровне, чем данные NIT, процедура по фиг.4 может дать возможность создания списка возможных сигналов, расходуя меньше ресурсов и в более короткий период времени, чем это может быть успешно выполнено, используя процедуру предшествующего уровня техники. На этом примере данные TPS также передаются более часто.
В стандартной процедуре сканирования сигнала было бы необходимо для каждого сигнала принять и декодировать NIT и определить из этого, включает ли в себя сигнал данные, квантованные по времени, и исходит ли сигнал из сети соответствующего типа. Используя процедуру по фиг.4, тем не менее некоторые сигналы могут быть проигнорированы без декодированной NIT. Это возможно только потому, что данные TPS, переданные передатчиками 3-5 и принятые IRD 6, 7, включают в себя информацию, определяющую тип сети и информацию, указывающую, несет ли сигнал данные, квантованные по времени.
Поскольку IRD 6, 7 свободны перемещаться по области радио покрытия, обеспеченной передатчиками 3-5, ситуации Эстафетной передачи обслуживания иногда будут случаться. Решение на Эстафетную передачу обслуживания может быть принято на любой подходящей основе. Обычно решение на Эстафетную передачу обслуживания будет принято, когда определено, что ухудшается показатель качества сигнала принятых сигналов, например частота появления ошибочных битов (BER), и скоро будет слишком высока, чтобы дать возможность надежного декодирования переданных данных. Когда принято решение на Эстафетную передачу обслуживания, IRD 6 должен идентифицировать новый сигнал для приема и декодирования вместо принимаемого в настоящее время сигнала. Для сигналов, квантованных по времени, IRD 6 необходимо только прослушивать сигнал на периодической основе. Интервал между передачами может использоваться, чтобы обнаружить другие сигналы и какой сигнал из этих обнаруженных сигналов должен быть выбран для Эстафетной передачи обслуживания. Соответственно, выбор сигнала для Эстафетной передачи обслуживания требует, чтобы или текущий сигнал был квантованным по времени сигналом, или требует двух или более радиочастотных входных каскадов и декодеров, для того чтобы два или более сигналов могли быть прослушаны одновременно. Согласно настоящему изобретению IRD 6 выполняет процедуру по фиг.5, когда определяет сигнал, чтобы принять последующую Эстафетную передачу обслуживания.
Ссылаясь на фиг.5, процедура начинается на этапе S1 со списком кандидатов или доступных сигналов. На этапе S2 выбирается сигнал из списка доступных сигналов. Сигнал настраивается на этапе S3, следуя тому, какие данные TPS декодированы для этого сигнала и как определен его бит S48. На этапе S5 посредством CPU 20 из бита S48 данных TPS определяется, исходит ли сигнал из сети типа IPDC. Если результат определения отрицательный, то процедура двигается дальше к этапу S6, где этот сигнал удаляется посредством СРО 20 из списка доступных сигналов. После этого этапа на этапе S7 посредством CPU 20 определяется, исчерпан ли список доступных сигналов, то есть нет больше доступных для проверки сигналов. Предполагая, что есть дополнительные сигналы, доступные для проверки, процедура снова продвигается к этапу S2. В противном случае делается вывод о том, что все доступные сигналы проверены безуспешно, и процедура продвигается к этапу S8, где процедура завершается.
Если на этапе S5 тип сети определен как IPDC, процедура продвигается к этапу S9. Здесь проверяется бит S55 TPS. На этапе S10 из этой проверки бита S53 посредством CPU 20 определяется, несет ли текущий сигнал данные, квантованные по времени. Если результат определения положительный, так как бит S53 имеет значение «0», операция переходит к этапу S11. Иначе осуществляется движение к этапу S11, где посредством CPU 20 определяется, поддерживает ли IRD не квантованные по времени сигналы, а также те, которые квантованы по времени. IRD 6 может поддерживать не квантованные по времени сигналы, если, например, он содержит два радиочастотных входных каскада и декодеры. Если на этапе S11 посредством CPU 20 определяется, что поддерживаются только квантованные по времени данные, осуществляется движение к этапу S6, где сигнал удаляется из списка доступных сигналов. Иначе процедура двигается дальше к этапу S12. На этапе S12 из идентификатора соты, основываясь на битах с S40 по S47 данных TPS, посредством CPU 20 определяется, исходит ли сигнал из той же соты, что и сота, для которой сигнал был включен в список «возможных сигналов» процедурой по фиг.4. Если результат выполненного CPU 20 определения отрицательный, сигнал не определяется как подходящий кандидат и осуществляется движение к этапу S6. Иначе делается вывод о том, что сигнал является подходящим кандидатом, и осуществляется движение к этапу S13. Здесь BER сигнала измеряется посредством CPU 20, которая далее сравнивается с пороговым значением на этапе S14. Если превышено пороговое значение, показывая, что BER слишком высока, посредством CPU 20 на этапе S15 определяется, измерен ли BER для этого сигнала дважды. Если нет, то BER снова измеряется на этапе S13. Включение этапа S15 дает возможность сигналам иметь две возможности пройти тест BER. Если тест прошел неудачно, осуществляется движение к этапу S6. Иначе осуществляется движение от этапа S14 к этапу S16. Здесь обрабатываемый сигнал устанавливается как «текущий сигнал». Текущий сигнал – это сигнал, в отношении которого делается Эстафетная передача обслуживания впоследствии выполняемой процедурой. После этапа S16 осуществляется движение к этапу S8, где сигнал обновляется и процедура завершает работу.
Следует принимать во внимание, что показанная на фиг.5 процедура предоставляет очень удобную схему для аннулирования неподходящих сигналов-кандидатов из списка доступных для Эстафетной передачи обслуживания сигналов. Это сделано возможным только потому, что указывающая тип сети информация и информация, указывающая на то, содержит ли сигнал квантованные по времени данные, передается как часть данных TPS для этого сигнала.
Хотя в вышеприведенном варианте осуществления определенные биты данных TPS выделены для определенно установленных целей, нужно будет принять во внимание, что строгое следование этой схеме не существенно. Наоборот, из шести битов данных TPS, которые в настоящее время зарезервированы для будущего использования, любое число из них может быть использовано, чтобы реализовать один или более вариантов осуществления описанного в этом документе изобретения. Ниже перечислены в качестве примера предлагаемые варианты использования для битов данных TPS вместе с объяснением смысла значений, которые могут принимать биты.
Один бит, как определено в таблице 3, может использоваться для сигнализации типа сети для сети, к которой относится сигнал. Тип сети может быть распределен по категориям согласно характеристикам сети.
| Таблица 3 |
| Бит n |
Тип сети |
| 0 |
DVB |
| 1 |
IPDC |
Хотя не показано в таблице, биты данных TPS могут использоваться, чтобы указать сигналы, относящиеся к любому другому типу сети вместо или в дополнение к типам сети IPDC и DVB.
Как определено в таблице 4, два бита могут использоваться для сигнализации информации, касающейся состава мультиплексных передач, переносимых в сети, к которой относится сигнал. Информация о мультиплексировании неоднородна, если все мультиплексные передачи в преобладающей сети взаимно различны. Однородная информация о мультиплексировании указывает, что все мультиплексные передачи в преобладающей сети несут в точности те же услуги. Смешанная информация о мультиплексировании используется, чтобы указать, что преобладающая сеть содержит как взаимно неоднородные, так и однородные мультиплексные передачи. В таблице 4 биты m и n могут быть или могут не быть соседними.
| Таблица 4 |
| Биты m, n |
Информация о мультиплексировании |
| 00 |
Неоднородные мультиплексные передачи |
| 01 |
Однородные мультиплексные передачи |
| 10 |
Смешанные мультиплексные передачи |
| 11 |
Зарезервировано для будущего использования |
Как определено в таблице 5, один бит может быть использован, чтобы указать, является ли топология сети многочастотной (MFN) или одночастотной (SFN) по типу.
| Таблица 5 |
| Бит n |
Информация топологии |
| 0 |
SFN |
| 1 |
MFN |
Как определено в таблице 6, один бит может быть использован, чтобы указать, все ли соты в преобладающей сети, то есть сети, из которой исходит сигнал, имеют одинаковый размер, либо соты имеют различные размеры.
| Таблица 6 |
| Бит n |
Информация о размере соты |
| 0 |
Соты имеют одинаковые размеры |
| 1 |
Соты имеют различные размеры |
Как определено в таблице 7, два бита могут использоваться, чтобы указывать соответствие между мультиплексными передачами и сотами преобладающей сети. Из этого может быть определено, состоит ли сеть только из сот, охватывающих только одну мультиплексную передачу, только из сот, охватывающих две или более мультиплексных передач, или сот, охватывающих одну или более мультиплексных передач. Здесь биты m и n могут быть или могут не быть соседними в данных TPS.
| Таблица 7 |
| Биты m, n |
Соответствие соты мультиплексной передачи |
| 00 |
Все соты сети содержат только одну мультиплексную передачу |
| 01 |
Все соты сети содержат две или более мультиплексных передач |
| 10 |
Все соты сети содержат одну или более мультиплексных передач |
| 11 |
Зарезервировано для будущего использования |
Как определено в таблице 8, один бит может использоваться, чтобы сигнализировать соответствие между текущей мультиплексной передачей и другими мультиплексными передачами, являющимися частью той же соты.
| Таблица 8 |
| Бит n |
Соответствие текущей соты мультиплексной передаче |
| 0 |
Текущая сота содержит только одну мультиплексную передачу |
| 1 |
Текущая сота содержит две или более мультиплексных передач |
Как определено в таблице 9, два бита могут использоваться, чтобы сигнализировать диаметр соты (в километрах), содержащей текущий настроенный сигнал. Диаметры сот в таблице 9 следует понимать только как примеры. Биты m и n могут быть или могут не быть соседними в данных TPS.
| Таблица 9 |
| Биты m, n |
Текущий диаметр соты (км) |
| 00 |
<30 |
| 01 |
30<40 |
| 10 |
40<50 |
| 11 |
50 |
В альтернативном варианте осуществления может использоваться только один бит, чтобы описать соту/диаметр. Здесь информационный бит «0» может указывать, что диаметр соты равен или меньше, чем выбранный диаметр, например 30 км, и информационный бит «1» означает, что диаметр соты больше, чем выбранный диаметр.
Как определено в таблице 10, два бита используются, чтобы сигнализировать, несет ли текущий настроенный сигнал элементарные потоки, квантованные по времени, и имеет ли квантованный по времени поток дополнительную или другую структуру кадров, такую как, например, прямое исправление ошибок (FEC).
| Таблица 10 |
| Бит n |
Информация о квантовании по времени текущего сигнала |
| 00 |
Текущий сигнал несет элементарные потоки, квантованные по времени |
| 01 |
Текущий сигнал не несет элементарные потоки, квантованные по времени |
| 10 |
Текущий сигнал несет элементарные потоки, квантованные по времени, и имеет дополнительную структуру кадров (содержащую, например, FEC) |
| 11 |
Зарезервировано для будущего использования |
Выбор того, какую именно из вышеприведенной информации следует выбрать для включения в данные TPS, передаваемые отдельной сетью, зависит от некоторого количества факторов. Также возможно использовать больше чем шесть битов. В этом случае, другие информационные биты могут быть переданы в других передачах данных TPS. Например, информационные биты, идентифицирующие тип сети, мультиплексирование текущей соты и размер текущей соты, могут быть переданы в передачах данных TPS с четными номерами, тогда как информация о мультиплексировании сети и информация о размере соты сети могут быть переданы в соответствующих битах в передачах данных TPS с нечетными номерами. IRD может быть выполнен с возможностью провести различие между разными передачами, используя, например, передаваемые с ними биты синхронизации.
В усовершенствованном варианте осуществления данные TPS могут включать в себя два бита, которые идентифицируют использование мультиплексирования в сети и в сигнале, к которому относятся данные TPS. Этот вариант осуществления освобождает от необходимости использовать четыре бита, чтобы описать информацию о сети и мультиплексировании текущей соты. Желательно использовать два бита, как показано в таблице 11 ниже.
| Таблица 11 |
| 00 |
Все соты содержат только одну мультиплексную передачу |
| 01 |
Все соты содержат две или более мультиплексных передач |
| 10 |
Текущая сота содержит только одну мультиплексную передачу |
| 11 |
Текущая сота содержит две или более мультиплексных передач |
Таблица 11 иллюстрирует принцип, который может быть применен к другим битам TPS. В частности, когда есть два или более отдельных элементов данных TPS, некоторые сочетания которых являются неподходящими или неприменимыми, сочетание этих двух или более элементов вместе может позволить выразить все подходящие сочетания, используя меньше информационных битов, чем было бы возможно, если бы элементы рассматривались отдельно.
Хотя приведенные выше варианты осуществления описаны относительно системы вещания DVB, следует принимать во внимание, что принципы могут быть перенесены на другие вещательные системы или на системы групповой или индивидуальной рассылки. Такой системой может быть усовершенствованная телевизионная система (ATSC) или японская система цифрового вещания с комплексными услугами (ISDB), чтобы перечислить некоторые неограничивающие примеры.
Кроме того, изобретение не ограничено отдельными примерами, приведенными выше, но только объемом, определяемым прилагаемой формулой изобретения.
Формула изобретения
1. Способ функционирования приемника, предназначенного для цифрового широковещания, содержащий этапы, на которых
декодируют из сигнала данные сигнализации параметров передачи;
определяют из декодированных данных сигнализации параметров передачи, несет ли сигнал элементарные потоки, квантованные по времени, и игнорируют сигнал в случае отрицательного результата определения;
определяют из декодированных данных сигнализации параметров передачи, имеет ли сигнал структуру кадров с прямым исправлением ошибок.
2. Способ по п.1, в котором данные сигнализации параметров передачи передаются на более низком уровне, чем информация об услуге.
3. Предназначенный для цифрового широковещания приемник (6), выполненный с возможностью работы в сети и содержащий:
декодер (23) для декодирования данных сигнализации параметров передачи;
определитель (20) для определения из декодированных данных сигнализации параметров передачи того, несет ли сигнал элементарные потоки, квантованные по времени;
контроллер для игнорирования сигнала, ассоциированного с отрицательным результатом определения;
при этом определитель (20) выполнен с возможностью определения из декодированных данных сигнализации параметров передачи того, имеет ли сигнал структуру кадров с прямым исправлением ошибок.
4. Приемник по п.3, в котором данные сигнализации параметров передачи передаются на более низком уровне, чем информация об услуге.
5. Способ формирования сигнала для передачи, содержащий этапы, на которых:
генерируют данные сигнализации параметров передачи, включающие в себя указание на то, несет ли сигнал элементарные потоки, квантованные по времени;
и указание на то, имеет ли сигнал структуру кадров с прямым исправлением ошибок;
включают данные сигнализации параметров передачи в физический уровень сигнала.
6. Устройство (3) для формирования сигнала для передачи, выполненное с возможностью генерирования данных сигнализации параметров передачи, включающих в себя указание на то, несет ли сигнал элементарные потоки, квантованные по времени, и указание на то, имеет ли сигнал структуру кадров с прямым исправлением ошибок, и включения данных сигнализации параметров передачи в физический уровень сигнала.
7. Сигнал данных сигнализации параметров передачи, содержащий заранее установленное количество битов данных, определенных на основе последовательных символов мультиплексирования с ортогональным разделением частот, при этом сигнал данных содержит в заранее установленном положении группу из двух битов данных, имеющих состояние, зависящее от того, несет ли сигнал, к которому относится сигнал данных, элементарные потоки, квантованные по времени, которые имеют структуру кадров с прямым исправлением ошибок.
РИСУНКИ
TK4A – Поправки к публикациям сведений об изобретениях в бюллетенях “Изобретения (заявки и патенты)” и “Изобретения. Полезные модели”
Напечатано: (51) H04H 1/4 (2006.01)
Следует читать: В связи с введением в действие с 01.01.2008 изменений к подклассу H04H в МПК-2008 верная классификация патента (51) H04H 60/35 (2008.01)
Номер и год публикации бюллетеня: 1-2008
Код раздела: FG4A
Извещение опубликовано: 27.01.2008 БИ: 03/2008
|
|