|
|
(21), (22) Заявка: 2006119279/09, 01.06.2006
(24) Дата начала отсчета срока действия патента:
01.06.2006
(46) Опубликовано: 10.01.2008
(56) Список документов, цитированных в отчете о поиске:
ВОЛЬДЕК А.И. Электрические машины. Учебник для студенотов высш. техн. учебн. заведений. Изд. 2-е перераб. и допол. – Л.: Энергия, 1974, с.38. RU 2049271 С1, 27.12.1995. RU 2181922 С2, 27.04.2002. SU 712549 А1, 30.01.1980. SU 1493808 А1, 15.07.1989. SU 1569932 А1, 07.06.1990. GB 1062096 А, 06.03.1964. US 5140209 А, 18.08.1992. FR 2410899 А1, 29.06.1979. WO 00/07280 А1, 10.02.2000.
Адрес для переписки:
681013, Хабаровский край, г. Комсомольск-на-Амуре, пр-кт Ленина, 27, КнАГТУ, патентный отдел
|
(72) Автор(ы):
Кабалдин Юрий Георгиевич (RU), Шпилев Анатолий Михайлович (RU), Иванов Сергей Николаевич (RU), Саблин Павел Алексеевич (RU)
(73) Патентообладатель(и):
Государственное образовательное учреждение высшего профессионального образования “Комсомольский-на-Амуре государственный технический университет” (ГОУВПО “КнАГТУ”) (RU)
|
(54) НИЗКОВИБРАЦИОННЫЙ ЭЛЕКТРОМЕХАНИЧЕСКИЙ ПРЕОБРАЗОВАТЕЛЬ ДЛЯ ПРИВОДА СТАНКОВ
(57) Реферат:
Изобретение относится к области электротехники и может быть использовано в промышленности, сельском хозяйстве и для бытовых нужд. Технический результат заключается в снижении уровня вибрации электромеханического преобразователя (ЭМП) непосредственно при его эксплуатации. Это обеспечивается тем, что в конструкции ЭМП для привода станков использованы опоры, состоящие, по крайней мере, из трех сегментов, управляемых приводными механизмами. 2 ил.
Изобретение относится к электротехнике и может использоваться для промышленных, сельскохозяйственных и бытовых нужд.
Известен асинхронный однофазный электродвигатель, в котором с целью уменьшения вибрации продольные оси соседних прорезей скошены в противоположные стороны (А.с. СССР №564688, МКИ Н02K 17/04, Н02K 1/14).
Наиболее близким по технической сущности к заявленному изобретению является электродвигатель постоянного тока, состоящий из корпуса; статора; якоря, включающего в себя вал, закрепленный между двумя опорами; подшипникового щита; задней крышки подшипника; подшипников качения (Вольдек А.И. Электрические машины. Учебник для студентов высш. техн. учебн. заведений. Изд. 2-е, перераб. и доп., Л., «Энергия», 1974, с.38).
Недостатком рассмотренных устройств являются низкие эксплуатационные характеристики, обусловленные появлением вибраций в процессе работы приводов, в частности, из-за внешнего механического воздействия на вал или из-за износа подшипниковых узлов, причем уменьшение вибраций возможно только при выводе устройств из эксплуатации и замене вышедших из строя элементов новыми.
Задачей заявляемого изобретения является улучшение эксплуатационных характеристик работы электромеханического преобразователя (ЭМП).
Технический результат, достигаемый в процессе решения поставленной задачи, заключается в снижении уровня вибрации ЭМП непосредственно при его эксплуатации. Это обеспечивается тем, что в конструкции заявляемого изобретения использованы опоры, состоящие, по крайней мере, из трех сегментов, управляемых приводными механизмами, позволяющими определять положение оси вала и осуществлять регулировку зазоров относительно неподвижных частей электромеханического преобразователя.
Указанный технический результат достигается заявленным устройством, состоящим из корпуса с неподвижным магнитопроводом, в пазах которого располагаются проводники первичной обмотки, вращающейся вторичной обмотки, размещенной на валу, закрепленном с помощью опор между крышками корпуса и отделенной от неподвижного магнитопровода воздушным зазором, и при этом каждая из опор образована, по крайней мере, тремя независимо управляемыми сегментами из материала, обеспечивающего минимальный коэффициент трения между валом и сегментами, причем управление сегментами осуществляется приводным механизмом, связанным через устройство управления, которое осуществляет обработку информации, полученную с датчиков вибрации, и выбор сегмента, необходимого сдвинуть в нужном направлении.
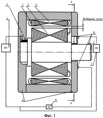
Сущность предлагаемого устройства поясняется фигурами 1 и 2, на которых представлены следующие элементы: 1 – неподвижный магнитопровод; 2 – вращающаяся вторичная обмотка; 3 – приводной механизм для подшипника, фиксирующего вал в радиальном направлении; 4 – приводной механизм для подшипника, фиксирующего вал в радиальном и осевом направлении; 5 – корпус; 6 – крышки корпуса; 7 – вал; 8 – сегмент управляемой радиальной опоры; 9 – сегмент управляемой радиально-осевой опоры; 10 – датчики вибрации; 11 – устройство управления.
Низковибрационный ЭМП для привода станков работает следующим образом: устройство выполняется в виде электромеханического преобразователя, в котором в качестве опор вала использованы управляемые радиальный и радиально-упорный подшипники скольжения, каждый из которых состоит, по крайней мере, из трех сегментов. Управление подшипниками осуществляется приводными механизмами, на которые подается сигнал с датчиков вибрации, обработанный на устройстве управления.
Повышение эксплуатационных показателей обусловлено тем, что вал фиксируется двумя опорами, каждая из которых образована, по крайней мере, тремя независимо управляемыми сегментами из материала, обеспечивающего минимальный коэффициент трения между валом и сегментами, фиксирующими соответствующую часть вала относительно оси вращения, в пределах, допускаемых величиной воздушного зазора между вращающейся вторичной обмоткой и неподвижным магнитопроводом, причем одна опора фиксирует вал в радиальном направлении, а вторая – в радиальном и осевом.
Уровень вибрации вращающихся элементов контролируется датчиками вибраций, расположенных на крышках корпуса и на валу. Сигнал с датчиков вибрации передается через устройство управления на приводной механизм, воздействующий непосредственно на сегмент и переводящий вал в положение с минимальным уровнем вибрации в пределах, допускаемых величиной воздушного зазора между вращающейся вторичной обмоткой и неподвижным магнитопроводом.
Таким образом, использование в конструкции электромеханического преобразователя опор, управляемых в зависимости от уровня вибрации ЭМП, обеспечивает их оптимальные величины, обусловленные требованиями, предъявляемыми к ЭМП, в процессе его непрерывной эксплуатации.
Формула изобретения
Низковибрационный электромеханический преобразователь для привода станков, состоящий из корпуса с неподвижным магнитопроводом, в пазах которого располагаются проводники первичной обмотки, вращающейся вторичной обмотки, размещенной на валу, закрепленном с помощью опор между крышками корпуса и отделенной от неподвижного магнитопровода воздушным зазором, отличающийся тем, что каждая из опор образована, по крайней мере, тремя независимо управляемыми сегментами из материала, обеспечивающего минимальный коэффициент трения между валом и сегментами, причем управление сегментами осуществляется приводным механизмом, связанным через устройство управления, которое осуществляет обработку информации, полученную с датчиков вибрации, и выбор сегмента, необходимого сдвинуть в нужном направлении.
РИСУНКИ
MM4A – Досрочное прекращение действия патента СССР или патента Российской Федерации на изобретение из-за неуплаты в установленный срок пошлины за поддержание патента в силе
Дата прекращения действия патента: 02.06.2008
Извещение опубликовано: 20.06.2010 БИ: 17/2010
|
|