|
|
(21), (22) Заявка: 2006119288/09, 01.06.2006
(24) Дата начала отсчета срока действия патента:
01.06.2006
(46) Опубликовано: 10.01.2008
(56) Список документов, цитированных в отчете о поиске:
SU 1713023 A1, 15.02.1992. SU 1117780 А1, 07.10.1984. RU 2095915 C1, 10.11.1997. SU 1601689 A1, 23.10.1990. SU 1457078 A1, 07.02.1989. SU 628585 А, 01.09.1978. SU 1067565 А, 15.01.1984. SU 355712 А, 30.10.1972. GB 751816 А, 04.07.1956. DE 3206583 A1, 08.09.1983. US 6328312 А, 11.12.2001. DE 19532549 А, 06.03.1997. ЕР 0405002 А1, 02.01.1991.
Адрес для переписки:
450000, Республика Башкортостан, г.Уфа, ул. К. Маркса, 12, УГАТУ, ОИС, В.П. Ефремовой
|
(72) Автор(ы):
Калякулин Роман Владимирович (RU), Афанасьев Юрий Викторович (RU)
(73) Патентообладатель(и):
Государственное образовательное учреждение высшего профессионального образования Уфимский государственный авиационный технический университет (RU)
|
(54) УПЛОТНЕНИЕ ВАЛА ЭЛЕКТРИЧЕСКОЙ МАШИНЫ
(57) Реферат:
Изобретение относится к области электротехники и электромашиностроения и может быть использовано, в частности, в асинхронных электрических двигателях как обычного, так и взрывозащищенного исполнения с высокой степенью защиты по линии вала во время стоянки и надежной защищенностью от брызг во время работы электродвигателей в повторно-кратковременном режиме. Технический результат, получаемый от использования данного изобретения, состоит в повышении надежности электрической машины, а также в снижении потерь на трение и материальных затрат за счет простоты изготовления уплотнения её вала. Сущность изобретения состоит в том, что уплотнение вала электрической машины, содержащее подшипниковый щит и крышку подшипникового щита, согласно данному изобретению, выполнено в виде диска, на торцовых поверхностях которого выполнены кольцевые канавки и выступы, обращенные к подшипниковому щиту и крышке подшипникового щита, на которых также выполнены кольцевые канавки и выступы, образующие между диском, подшипниковым щитом и крышкой подшипникового щита равномерную, зигзагообразную, взрывонепроницаемую щель. 1 ил.
Изобретение относится к области электромашиностроения и может быть использовано в асинхронных электрических двигателях как обычного, так и взрывозащищенного исполнения с высокой степенью защиты по линии вала во время стоянки и надежной брызгозащищенностью во время работы, работающих в повторно-кратковременном режиме.
Известен взрывонепроницаемый подшипниковый узел электрической машины с взрывонепроницаемой диаметральной щелью и кольцевыми камерами в сопряжении вала с подшипниковым щитом. Взрывонепроницаемая диаметральная щель выполнена ступенчатой вдоль оси вала и состоит из трех ступеней, кольцевые камеры образованы цилиндрическими и смещенными в осевом направлении торцевыми поверхностями вала и подшипникового щита [А. с. СССР 1117780, Н 02 K 5/124, 1984 г.].
Однако это устройство имеет относительно большие габариты за счет выполненных вдоль оси вала и подшипникового щита ступеней.
Наиболее близким по технической сущности к заявленному является уплотнение вала электрической машины, которое крепится за счет запрессовки на вал кольца с уплотнением по внутренней поверхности. На наружной поверхности кольца установлена пружинная диафрагма, на которой с одной стороны диаметрально противоположно закреплены два полукольца из магнитомягкого материала, а с другой стороны прикреплено кольцо из антифрикционного материала. На крышке подшипникового щита установлен постоянный магнит, который во время остановки электрической машины притягивает к себе полукольца, обеспечивая тем самым защиту от брызг [А. с. СССР 1713023, Н 02 K 5/136, 1992 г.].
Недостатком известного устройства являются: сложность изготовления и ненадежность манжетной конструкции уплотнения в эксплуатационных условиях; потери на трение колец о крышку щита и щит во время пуска и работы электрического двигателя; высокая материалоемкость ввиду сложной конструкции уплотнения.
Задача изобретения – повышение надежности и простота изготовления уплотнения вала; снижение потерь на трение и снижение материальных затрат.
Поставленная задача решается уплотнением вала электрической машины, содержащим подшипниковый щит и крышку подшипникового щита, которое в отличие от прототипа выполнено в виде диска, на торцевых поверхностях которого имеются кольцевые канавки и выступы, обращенные к подшипниковому щиту и крышке подшипникового щита, на которых также выполнены кольцевые канавки и выступы, в результате чего между диском, подшипниковым щитом и крышкой подшипникового щита образуется равномерная, зигзагообразная, взрывонепроницаемая щель.
Вышеупомянутая щель обеспечивает надежную взрывозащиту и защиту от попадания брызг, исключает потери на трение кольцевых канавок и выступов подшипникового щита и крышки подшипникового щита о кольцевые канавки и выступы диска.
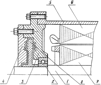
На чертеже изображено уплотнение вала электрической машины, которое состоит из вала 1, подшипника 2, подшипникового щита 3, крышки подшипникового щита 4 и корпуса 5, в который установлен статор 6. На валу 1 электрической машины установлен ротор 7 и жестко крепится диск 8, на торцевых поверхностях которого имеются кольцевые канавки и выступы. На поверхностях подшипникового щита 3 и крышки подшипникового щита 4, обращенных к диску, также выполнены кольцевые канавки и выступы, в результате чего между диском 6, подшипниковым щитом 3 и крышкой подшипникового щита 4 образуется равномерная, зигзагообразная, взрывонепроницаемая щель.
Уплотнение вала работает следующим образом: при воспламенении (взрыве) взрывоопасной смеси внутри оболочки электрической машины (источниками воспламенения, например, могут быть обмотки статора 6 или ротора 7), пламя, а затем и продукты взрыва под действием возрастающего давления внутри электрической машины достигают равномерных, зигзагообразных, взрывонепроницаемых щелей. При движении в равномерных, зигзагообразных, взрывонепроницаемых щелях продукты взрыва интенсивно охлаждаются. Во время дезактивации или дезинфекции наружной поверхности электрического двигателя струя раствора не может проникнуть через равномерную, зигзагообразную, взрывонепроницаемую щель подшипникового щита 3 и крышки подшипникового щита 4, т.е. обеспечивается надежная брызгозащищенность. При вращении вала 1 поверхности кольцевых канавок и выступы диска 8 не соприкасаются с кольцевыми канавками и выступами подшипникового щита 3 и крышки подшипникового щита 4, тем самым исключаются потери на трение.
Итак, заявляемое изобретение позволяет повысить надежность уплотнения вала, при этом существенно упрощается его изготовление, снижаются материальные затраты и потери на трение.
Наиболее вероятная область применения данного изобретения – электродвигатели привода запорной арматуры для нефтегазовой промышленности, а также электродвигатели для комплектации машин и механизмов перерабатывающих цехов на кораблях морского и речного флота.
Формула изобретения
Уплотнение вала электрической машины, содержащее подшипниковый щит и крышку подшипникового щита, отличающееся тем, что выполнено в виде диска, на торцовых поверхностях которого выполнены кольцевые канавки и выступы, обращенные к подшипниковому щиту и крышке подшипникового щита, на которых также выполнены кольцевые канавки и выступы, образующие между диском, подшипниковым щитом и крышкой подшипникового щита равномерную зигзагообразную взрывонепроницаемую щель.
РИСУНКИ
MM4A – Досрочное прекращение действия патента СССР или патента Российской Федерации на изобретение из-за неуплаты в установленный срок пошлины за поддержание патента в силе
Дата прекращения действия патента: 02.06.2008
Извещение опубликовано: 20.03.2010 БИ: 08/2010
|
|