|
|
(21), (22) Заявка: 2006122429/09, 23.06.2006
(24) Дата начала отсчета срока действия патента:
23.06.2006
(46) Опубликовано: 10.01.2008
(56) Список документов, цитированных в отчете о поиске:
RU 2266591 С1, 20.12.2005. RU 2274934 С1, 20.04.2004. US 4051477 А, 07.09.1977. WO 03028156 А, 03.04.2003.
Адрес для переписки:
111250, Москва, ул. Авиамоторная, 53, ЗАО “Патентный Поверенный”, пат.пов. Г.Н.Андрущак, рег. № 189
|
(72) Автор(ы):
Королев Юрий Николаевич (RU), Бойко Сергей Николаевич (RU)
(73) Патентообладатель(и):
Федеральное государственное унитарное предприятие научно-исследовательский институт космического приборостроения (RU)
|
(54) АПЕРТУРНО-ЗАПИТЫВАЕМАЯ МИКРОПОЛОСКОВАЯ АНТЕННА С ШИРОКОЙ ДИАГРАММОЙ НАПРАВЛЕННОСТИ
(57) Реферат:
Изобретение относится к антенной технике и может быть использовано в качестве самостоятельной антенны или элемента фазированной антенной решетки со сканированием луча в широком секторе углов, в частности в качестве приемной антенны в аппаратуре пользователей космических навигационных систем (GPS, ГЛОНАСС/GPS). Технический результат заключается в повышении технологичности изготовления и повышении надежности антенны. Указанный технический результат достигается апертурно-запитываемой микрополосковой антенной с широкой диаграммой направленности, содержащей антенный элемент, выполненный в виде печатного проводника с подложкой, закрепленной на экранной плоскости, высокочастотный кабель, высокочастотный соединитель и питающую плату, при этом подложка антенного элемента выполнена стаканообразной формы из диэлектрического материала с экранной металлизированной внутренней полостью включая торец стакана, которая имеет «окно» в металлизации в виде щели, расположенной полностью под печатным проводником, печатный проводник расположен на вершине перевернутого диэлектрического стакана, питающая плата расположена на нижней поверхности подложки и представляет собой печатную плату с микрополосковой линией, которая имеет общую с антенным элементом земляную плоскость, в качестве которой служит металлизация внутренней полости стакана, а микрополосковая линия проходит под щелью перпендикулярно ей и пересекает ее в центре, высокочастотный кабель проходит в отверстие в экранной плоскости и внешний проводник высокочастотного кабеля подключен к металлизированному слою внутренней полости стакана, а внутренний проводник соединен с микрополосковой линией, второй конец кабеля соединен с высокочастотным соединителем и служит для подключения передающего или приемного устройства. 1 ил.
Изобретение относится к антенной технике и может быть использовано в качестве самостоятельной антенны или элемента фазированной антенной решетки со сканированием луча в широком секторе углов, в частности в качестве приемной антенны в аппаратуре пользователей космических навигационных систем (GPS, ГЛОНАСС/GPS).
Заявляемая микрополосковая антенна (МПА) предназначена для приема и передачи радиосигналов и может быть широко использована во всенаправленных командных, телеметрических и связных радиолиниях, в частности в качестве приемной антенны в аппаратуре пользователей космических навигационных систем (GPS, ГЛОНАСС/ GPS и т.п.). Также заявляемая микрополосковая антенна может быть использована в качестве элемента фазированной антенной решетки со сканированием луча в очень широком секторе углов.
Ширина диаграммы направленности микрополосковой антенны (МПА) определяется апертурой печатного проводника антенного элемента – с уменьшением апертуры ширина диаграммы направленности увеличивается. Уменьшение апертуры печатного проводника обычно достигают путем повышения значения диэлектрической проницаемости материала подложки МПА. Однако процесс увеличения диэлектрической проницаемости материала подложки не безграничен, т.к. в конечном счете приводит к падению эффективности излучения МПА.
Известна дисковая микрополосковая антенна, содержащая диэлектрическую подложку, на одной стороне которой расположен металлический экран, а на другой – первый диск металлического излучателя, согласующий элемент, расположенный между металлическим излучателем и металлическим экраном, и коаксиальный фидер, при этом согласующий элемент выполнен в виде второго металлического диска и отрезка металлического проводника, который соединен с первым и вторым металлическими излучателями в двух точках, расположенных в их центрах симметрии (а.с. №1543483, кл. МПК Н01Q 1/38, опубликовано 15.02.90 г.).
Улучшение согласования и уменьшение габаритов антенны достигается путем подбора размеров второго диска, отрезка металлического проводника диска излучателя и диэлектрической подложки в соответствии с предложенными соотношениями. При этом введение второго диска приводит к уменьшению апертуры антенны и, как следствие, к небольшому расширению диаграммы направленности.
Известна также антенна, которая содержит полый круговой цилиндр из диэлектрика, на внешнюю поверхность которого нанесен полосковый проводник в виде спирали, а внутренняя поверхность металлизирована и заземлена, при этом полосковый проводник имеет постоянную ширину, а расстояние между витками равно половине этой ширины, питание при помощи коаксиального кабеля (патент США №4323900, кл. МПК H01Q 1/38 от 06.04.82 г.). Однако это устройство сложное в технологическом плане и настройке.
Наиболее близким по технической сущности к предлагаемому устройству является микрополосковая антенна с широкой диаграммой направленности, содержащая антенный элемент, выполненный в виде печатного проводника с подложкой, высокочастотный кабель с высокочастотным соединителем на конце и проводящий экран, отличающаяся тем, что подложка антенного элемента выполнена стаканообразной формы из диэлектрического материала с экранной металлизированной внутренней полостью, при этом печатный проводник, расположенный сверху диэлектрического стакана, соединен с высокочастотным кабелем через металлизированную внутреннюю полость подложки и отверстие проводящего экрана (патент РФ №2266591, опубл. 20.12.2005 г.).
Недостатком данной микрополосковой антенны является то, что в подложке обязательно должно быть отверстие для прохождения центральной жилы высокочастотного кабеля, что не всегда целесообразно, например в случае выполнения стакана (подложки) из керамики (по технологическим соображениям), необходимости герметичного исполнения антенны или больших температурных воздействиях на внешнюю поверхность антенны (также по технологическим соображениям).
Технический результат заключается в повышении технологичности изготовления антенны.
Указанный технический результат достигается апертурно-запитываемой микрополосковой антенной с широкой диаграммой направленности, содержащей антенный элемент, выполненный в виде печатного проводника с подложкой, закрепленной на экранной плоскости, высокочастотный кабель, высокочастотный соединитель и питающую плату, при этом подложка антенного элемента выполнена стаканообразной формы из диэлектрического материала с экранной металлизированной внутренней полостью включая торец стакана, которая имеет «окно» в металлизации в виде щели, расположенной полностью под печатным проводником, печатный проводник расположен на вершине перевернутого диэлектрического стакана, питающая плата расположена на нижней поверхности подложки и представляет собой печатную плату с микрополосковой линией, которая имеет общую с антенным элементом земляную плоскость, в качестве которой служит металлизация внутренней полости стакана, а микрополосковая линия проходит под щелью перпендикулярно ей и пересекает ее в центре, высокочастотный кабель проходит в отверстие в экранной плоскости, и внешний проводник высокочастотного кабеля подключен к металлизированному слою внутренней полости стакана, а внутренний проводник соединен с микрополосковой линией, второй конец кабеля соединен с высокочастотным соединителем и служит для подключения передающего или приемного устройства.
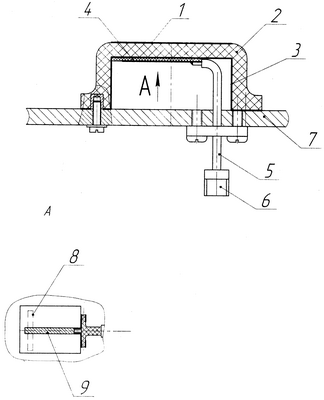
На чертеже приведена структурная электрическая схема апертурно-запитываемой микрополосковой антенны с широкой диаграммой направленности. Апертурно-запитываемая микрополосковая антенна с широкой диаграммой направленности содержит печатный проводник 1, диэлектрическую подложку 2 с металлизированной внутренней полостью 3, питающую плату 4, высокочастотный кабель 5 с высокочастотным соединителем 6 на конце и экранную плоскость 7. Печатный проводник 1 и диэлектрическая подложка 2 составляют антенный элемент, причем диэлектрическая подложка 2 выполнена в виде перевернутого стакана с металлизированной внутренней полостью включая торец стакана, которая имеет «окно» в металлизации в виде щели 8, расположенной полностью под печатным проводником 1. Сам печатный проводник 1 имеет размеры, превышающие размеры щели и расположен на внешней стороне вершины стакана, который закреплен на экранной плоскости 7.
Питающая плата представляет собой печатную плату с микрополосковой линией 9, которая имеет общую с антенным элементом земляную плоскость, в качестве которой служит металлизация 3 внутренней полости стакана. Микрополосковая линия проходит под щелью перпендикулярно ей и пересекает ее в центре. Волновое сопротивление микрополосковой линии 9 выбирается равным волновому сопротивлению высокочастотного кабеля 5. Расположение щели 8 относительно печатного проводника 1, размеры щели и длина отрезка микрополосковой линии, выходящего за ширину щели, находятся расчетным путем, в том числе и для случая работы антенны в режиме круговой поляризации. Высокочастотный кабель 5 одним концом электрически соединен с микрополосковой линией 9, причем внешний проводник кабеля припаян к металлизированному слою 3 внутренней полости стакана, а второй конец кабеля соединен с высокочастотным соединителем 6. При этом высокочастотный кабель проходит через металлизированную внутреннюю полость стакана и отверстие в экранной плоскости 7. Высокочастотный соединитель 6 служит для подключения передающего или приемного устройства. Экранная плоскость 7 электрически соединена с экранной металлизированной внутренней полостью стакана и служит для создания однонаправленного излучения (приема) микрополосковой антенны.
Принцип работы микрополосковой антенны хорошо известен и состоит в том, что при подаче высокочастотного сигнала на вход антенны в ней возбуждаются высокочастотные колебания определенного типа, а излучение осуществляется за счет поля, «выступающего» из кромок антенны, а именно из зазоров между печатным проводником антенного элемента и экранной плоскостью. В качестве экранной плоскости обычно используется нижняя металлизированная поверхность диэлектрической подложки. Ширина диаграммы направленности (ДН) определяется апертурой печатного проводника 1 антенного элемента, которая в свою очередь для фиксированной рабочей частоты обратно пропорциональна величине диэлектрической проницаемости материала диэлектрической подложки. С увеличением диэлектрической проницаемости подложки апертура печатного проводника уменьшается, а ширина ДН увеличивается. Это свойство чаще всего используется для расширения ДН микрополосковых антенн. Однако уменьшение апертуры печатного проводника 1 в конце концов ведет к падению эффективности излучения микрополосковой антенны.
В заявляемой микрополосковой антенне расширение диаграммы направленности происходит за счет приподнимания антенного элемента, состоящего из печатного проводника 1 и металлизированной снизу диэлектрической подложки 2 над экранной плоскостью 7. Выполняется это путем формования диэлектрической подложки 2 с металлизированной нижней поверхностью 3 в виде перевернутого стакана, на вершине которого и располагается печатный проводник 1 произвольной формы. Приподнятый над проводящим экраном 7 антенный элемент эквивалентен действию двух излучателей: реального и мнимого, расположенного зеркально под экранной плоскостью 7. Суммарная ДН двух таких излучателей дает повышение уровня мощности, излучаемой в направлении углов, близких к экранной плоскости. Увеличение этой мощности приводит к расширению ДН микрополосковой антенны. Дополнительный эффект по расширению ДН дает наличие на боковой проводящей поверхности антенного элемента диэлектрического слоя. Степень расширения ДН зависит от высоты поднятия антенного элемента 1 над экранной плоскостью 5 и значения диэлектрической проницаемости материала подложки – чем выше это значение, тем шире ДН вследствие действия двух факторов: уменьшения размеров печатного проводника и «вытягивания» поля в сторону боковой проводящей поверхности стакана, покрытого диэлектриком.
Возбуждение заявляемой микрополосковой антенны осуществляется от микрополосковой линии 9 через щелевое «окно» 8 (апертуру), расположенное в металлизации 3 внутренней части стакана под печатным проводником 1. Микрополосковая линия 9, пересекая щель 8 в перпендикулярном направлении (направление тока в линии при этом совпадает с направление электрических силовых линий в щели), возбуждает ее, а щель, в свою очередь, возбуждает антенный элемент. Щель при этом располагается таким образом, что она пересекает токи в металлизации 3 для рабочего типа колебаний антенного элемента.
Формула изобретения
Апертурно-запитываемая микрополосковая антенна с широкой диаграммой направленности, содержащая антенный элемент, выполненный в виде печатного проводника с подложкой, закрепленной на экранной плоскости, высокочастотный кабель, высокочастотный соединитель и питающую плату, при этом подложка антенного элемента выполнена стаканообразной формы из диэлектрического материала с экранной металлизированной внутренней полостью, включая торец стакана, которая имеет «окно» в металлизации в виде щели, расположенной полностью под печатным проводником, печатный проводник расположен на вершине перевернутого диэлектрического стакана, питающая плата расположена на нижней поверхности подложки и представляет собой печатную плату с микрополосковой линией, которая имеет общую с антенным элементом земляную плоскость, в качестве которой служит металлизация внутренней полости стакана, а микрополосковая линия проходит под щелью перпендикулярно ей и пересекает ее в центре, высокочастотный кабель проходит в отверстие в экранной плоскости и внешний проводник высокочастотного кабеля подключен к металлизированному слою внутренней полости стакана, а внутренний проводник соединен с микрополосковой линией, второй конец кабеля соединен с высокочастотным соединителем и служит для подключения передающего или приемного устройства.
РИСУНКИ
|
|