|
|
(21), (22) Заявка: 2006104081/09, 10.02.2006
(24) Дата начала отсчета срока действия патента:
10.02.2006
(46) Опубликовано: 10.01.2008
(56) Список документов, цитированных в отчете о поиске:
«ЭЛЕКТРОННАЯ ТЕХНИКА», сер.1, СВЧ-техника, вып.2, 2005, с.6-19. SU 1781740 А1, 15.12.1992. SU 1540607 A1, 27.12.1995. ЕР 1544941 A1, 22.06.2005. US 4621244 А, 04.11.1986.
Адрес для переписки:
141190, Московская обл., г. Фрязино, ул. Вокзальная, 2А, ФГУП “Научно-производственное предприятие “Исток”, патентный отдел
|
(72) Автор(ы):
Балыко Александр Карпович (RU), Зуева Ольга Сергеевна (RU), Королев Александр Николаевич (RU), Мальцев Валентин Алексеевич (RU)
(73) Патентообладатель(и):
Федеральное государственное унитарное предприятие “Научно-производственное предприятие “Исток” (ФГУП НПП “Исток”) (RU)
|
(54) АТТЕНЮАТОР СВЧ
(57) Реферат:
Изобретение относится к электронной технике, а именно – к аттенюаторам СВЧ на полупроводниковых приборах. Техническим результатом является упрощение конструкции и снижение массогабаритных характеристик путем сокращения числа источников постоянного управляющего напряжения. Аттенюатор СВЧ состоит, по меньшей мере, из одного разряда аттенюатора, который содержит соединение трех резисторов, один из которых соединен последовательно, а два других – параллельно линиям передачи на входе и выходе аттенюатора и трех электронных ключей, в качестве которых использованы полевые транзисторы с барьером Шотки. В каждый разряд аттенюатора дополнительно введены два отрезка линии передачи длиной, равной четверти длины волны в линии передачи, и волновым сопротивлением, превышающим волновое сопротивление линий передачи на входе и выходе аттенюатора. Один конец каждого из отрезков линии передачи соединен с одним из концов соответствующего параллельно соединенного резистора, а другой конец – со стоком соответствующего полевого транзистора с барьером Шотки. Затворы трех полевых транзисторов с барьером Шотки соединены между собой и соединены с одним источником постоянного управляющего напряжения. 1 з.п. ф-лы, 3 ил.
Изобретение относится к электронной технике, а именно к аттенюаторам СВЧ на полупроводниковых приборах.
Аттенюаторы СВЧ характеризуют:
– величина прямых потерь Ап, значение которой должно быть как можно меньше;
– величина изменения затухания Аз, значение которой задается;
– наличие числа источников постоянного управляющего напряжения, которое должно быть как можно меньше;
– величина постоянного управляющего напряжения.
Аттенюаторы СВЧ, выполненные на основе полупроводниковых приборов, широко используются в технике СВЧ.
Особенно многоразрядные аттенюаторы СВЧ с дискретным изменением затухания, которые представляют собой каскадное соединение нескольких, по крайней мере, двух разрядов, каждый из которых представляет собой так называемое П- или Т-образное соединение резисторов относительно линий передачи на входе и выходе аттенюатора, при этом они выполнены с заданными величинами сопротивлений.
Подключение и отключение резисторов в каждом разряде осуществляют электронными ключами, в качестве которых используют полупроводниковые диоды и транзисторы. Это позволяет получить требуемые комбинации дискретного изменения затухания многоразрядного аттенюатора СВЧ.
Известен многоразрядный аттенюатор СВЧ, содержащий в каждом разряде П-образное соединение трех резисторов, в котором в качестве электронных ключей использованы полупроводниковые диоды, при этом последовательно соединенный резистор параллельно соединен с pin-диодом, переключаемым с помощью источника постоянного управляющего напряжения, два параллельно соединенные резисторы последовательно соединены с двумя другими pin-диодами соответственно, переключаемые с помощью второго источника постоянного управляющего напряжения [1].
Недостатками данного многоразрядного аттенюатора является наличие в каждом разряде двух источников постоянного управляющего напряжения, что усложняет конструкцию и увеличивает массогабаритные характеристики аттенюатора СВЧ.
Кроме того, поскольку pin-диоды являются двухполюсными приборами, то для развязки их по СВЧ и постоянному управляющему напряжению необходимо использовать фильтры питания, что также усложняет конструкцию и увеличивает массогабаритные характеристики аттенюатора СВЧ.
Известен многоразрядный аттенюатор СВЧ, содержащий в каждом разряде также П-образное соединение трех резисторов, но в котором в качестве трех электронных ключей использованы полупроводниковые транзисторы – полевые транзисторы с барьером Шотки, при этом последовательно соединенный резистор параллельно соединен с истоком и стоком полевого транзистора с барьером Шотки, а затвор соединен с первым источником постоянного управляющего напряжения, два параллельно соединенные резисторы с одинаковыми сопротивлениями расположены по разные стороны от последовательно соединенного резистора и соединены с ним, а вторые их концы соединены со стоками двух других полевых транзисторов с барьером Шотки соответственно, истоки которых «заземлены», а затворы которых соединены между собой и соединены со вторым источником постоянного управляющего напряжения [2] – прототип.
По сравнению с аналогом в данном аттенюаторе СВЧ исключена необходимость использования фильтров питания, поскольку полевые транзисторы с барьером Шотки являются трехполюсными приборами и, следовательно, обладают внутренней развязкой по СВЧ и постоянному управляющему напряжению.
Однако наличие в данном аттенюаторе, как и в аналоге двух источников постоянного управляющего напряжения усложняет конструкцию и увеличивает массогабаритные характеристики аттенюатора СВЧ.
Техническим результатом изобретения является упрощение конструкции и снижение массогабаритных характеристик аттенюатора СВЧ путем сокращения числа источников постоянного управляющего напряжения при сохранении параметров аттенюатора СВЧ, а именно прямых потерь – Ап и изменения затухания – Аз.
Технический результат достигается тем, что в известном многоразрядном аттенюаторе СВЧ, состоящем, по крайней мере, из одного разряда, каждый из которых содержит одно соединение из трех резисторов, один из которых соединен последовательно, а два других – параллельно линиям передачи на входе и выходе аттенюатора, и трех электронных ключей, в качестве которых использованы полевые транзисторы с барьером Шотки, при этом последовательно соединенный резистор соединен с истоком и стоком полевого транзистора с барьером Шотки, а параллельно соединенные резисторы выполнены с одинаковыми сопротивлениями и расположены по разные стороны от последовательно соединенного резистора и соответственно каждый вместе с полевым транзистором с барьером Шотки, истоки которых заземлены, а затворы трех полевых транзисторов с барьером Шотки служат для подачи напряжения от источников постоянного управляющего напряжения.
При этом в каждый разряд аттенюатора дополнительно введены два отрезка линии передачи длиной, равной четверти длины волны в линии передачи, и волновым сопротивлением, превышающим волновое сопротивление линий передачи на входе и выходе аттенюатора, при этом каждый из отрезков линии передачи длиной, равной четверти длины волны, включен между соответствующим параллельно соединенным резистором и стоком соответствующего полевого транзистора с барьером Шотки, а затворы трех полевых транзисторов с барьером Шотки соединены между собой и соединены с одним источником постоянного управляющего напряжения.
Превышение Н волнового сопротивления каждого из отрезков линии передачи длиной, равной четверти длины волны, над волновым сопротивлением линий передачи на входе и выходе аттенюатора ZO определяют по формуле
Н=[Zоткр.×Zзакр.]0,5/Z0,
где Zоткр.- сопротивление полевого транзистора с затвором Шотки в открытом состоянии,
Zзакр. – сопротивление полевого транзистора с затвором Шотки в закрытом состоянии,
Z0 – волновое сопротивление линий передачи на входе и выходе аттенюатора.
Сущность предлагаемого изобретения заключается в следующем. Введение в каждый разряд аттенюатора двух дополнительных отрезков линии передачи длиной, равной четверти длины волны в линии передачи, и волновым сопротивлением, превышающим волновое сопротивление линии передачи на входе и выходе аттенюатора, и предлагаемое их соединение с резисторами и полевыми транзисторами с барьером Шотки, а именно каждый из дополнительных отрезков линии передачи длиной, равной четверти длины волны, включен между соответствующим параллельно соединенным резистором и стоком соответствующего полевого транзистора с барьером Шотки и позволяет соединить между собой затворы всех трех полевых транзисторов с барьером Шотки и подавать на них постоянное управляющее напряжение от одного источника и тем самым упростить конструкцию и снизить массогабаритные характеристики аттенюатора СВЧ.
Превышение волнового сопротивления каждого из отрезков линии передачи длиной, равной четверти длины волны, над волновым сопротивлением линий передачи на входе и выходе аттенюатора позволяет сохранить его параметры, а именно прямые потери – Ап и изменение затухания – Аз.
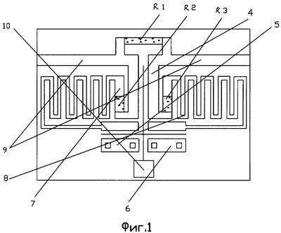
Изобретение поясняется чертежами.
На фиг.1 изображена топология одного разряда предлагаемого аттенюатора СВЧ, где:
– соединение трех резисторов, один из которых соединен последовательно R1, а два других R2, R3 параллельно линиям передачи на входе и выходе,
– три электронных ключа, в качестве которых использованы три полевых транзистора с барьером Шотки – 4, 5, 6 соответственно,
– два отрезка линии передачи – 7 и 8 соответственно,
– линии передачи на входе и выходе – 9,
– источник постоянного управляющего напряжения – 10.
На фиг.2 изображена электрическая схема предлагаемого аттенюатора СВЧ.
На фиг.3 приведены зависимости от частоты величины прямых потерь Ап и величины затухания Аз при величине постоянного управляющего напряжения, равной 0 и 5 В – напряжение отсечки.
Пример.
В качестве примера рассмотрен один разряд аттенюатора СВЧ.
Все элементы аттенюатора выполнены в монолитно-интегральном исполнении на полупроводниковой подложке из арсенида галлия толщиной, равной 0,1 мм, с использованием классической тонкопленочной технологии.
Соединение трех резисторов R1, R2, R3 выполнено с сопротивлениями резисторов, равными 50, 12,5, 12,5 Ом соответственно путем напыления, например, хрома толщиной 2 мкм.
Три электронных ключа, в качестве которых использованы три полевых транзистора с барьером Шотки 4, 5, 6, имеют напряжение отсечки Uотс, равное 2,5 В.
Два отрезка линии передачи 7 и 8 выполнены шириной и длиной проводников 0,01 и 3 мм соответственно.
Линии передачи на входе и выходе 9 выполнены шириной проводников 0,08 мм.
При этом резистор R1 соединен последовательно, а резисторы R2 и R3 расположены по разные стороны от резистора R1 и соединены параллельно линиям передачи на входе и выходе 9. Последовательно соединенный резистор R1 соединен с истоком и стоком полевого транзистора с барьером Шотки 4 посредством проводников.
При этом каждый из отрезков линии передачи длиной, равной четверти длины волны 7 и 8, включен между соответствующим параллельно соединенным резистором R2 и R3 и стоком соответствующего полевого транзистора с барьером Шотки 5 и 6, а затворы всех трех полевых транзисторов с барьером Шотки 4, 5, 6 соединены между собой и соединены с одним источником постоянного управляющего напряжения 10.
Истоки полевых транзисторов с барьером Шотки 5 и 6 заземлены посредством соединения с основанием, на котором расположена монолитная интегральная схема аттенюатора СВЧ, через металлизированные отверстия в ней, а стоки соединены с резисторами R2 и R3 соответственно посредством проводников.
Работу аттенюатора СВЧ рассмотрим на примере одного разряда.
При подаче на затворы всех трех полевых транзисторов с барьером Шотки 4, 5, 6 соответственно постоянного управляющего напряжения U величиной, равной 0 В, от одного источника постоянного управляющего напряжения 10 становятся открытыми все три полевых транзистора с барьером Шотки 4, 5, 6.
В результате этого полевой транзистор с барьером Шотки 4, включенный параллельно последовательно соединенному резистору R1, имея малое сопротивление, зашунтирует этот резистор и общее последовательное сопротивление аттенюатора Z1, рассчитанное по формуле:
Z1=R1×Zоткр./(R1+Zоткр.),
где Zоткр.- сопротивление полевого транзистора с барьером Шотки, будет меньше, чем сопротивление полевого транзистора с барьером Шотки Zоткр.
Полевые транзисторы с барьером Шотки 5 и 6 также имеют малые сопротивления Zotkp., но поскольку каждый включен на одном конце каждого отрезка линии передачи 7 и 8 соответственно с длиной, равной четверти длины волны в линии передачи, и волновым сопротивлением Z, превышающим Z0, то на другом их конце малые сопротивления Zоткр. преобразуются в большие сопротивления ZA, рассчитанные по формуле:
ZA=Z2/Zоткр.,
где Z2 – квадрат волнового сопротивления отрезков линии передачи 7 и 8.
При этом большие сопротивления ZA сравнимы по величине с сопротивлениями закрытых полевых транзисторов с барьером Шотки Zзакр. Поскольку большие сопротивления ZA включены последовательно параллельно соединенным резисторам с одинаковыми сопротивлениями R2 и R3, то общие параллельные сопротивления Z2 и Z3 разряда аттенюатора, рассчитанные по формулам:
Z2=R2+ZA,
Z3=R3+ZA,
будут превышать сопротивления параллельно соединенных резисторов R2 и R3.
В этом случае аттенюатор будет иметь малое последовательное сопротивление Z1 и два больших параллельных сопротивления Z2 и Z3, включенных по обе стороны малого последовательного сопротивления Z1.
В этом случае в аттенюаторе реализуется величина прямых потерь Ап.
При подаче на затворы всех трех полевых транзисторов с барьером Шотки 4, 5, 6 отрицательного управляющего напряжения U, превышающего по абсолютной величине напряжение отсечки полевого транзистора с барьером Шотки Uотс, все транзисторы будут закрыты.
При этом полевой транзистор с барьером Шотки 4, включенный параллельно последовательно соединенному резистору R1, будет иметь сопротивление Zзакр., значительно большее, чем сопротивление последовательно соединенного резистора R1 и общее последовательное сопротивление Z1 аттенюатора, рассчитанное по формуле
Z1=R1×Zзакр./(R1+Zзакр.)
будет равно R1.
Полевые транзисторы с барьером Шотки 5 и 6 также имеют большие сопротивления Zзакр., но поскольку каждый включен на одном конце каждого отрезка линии передачи 7 и 8 соответственно с длиной, равной четверти длины волны в линии передачи, и волновым сопротивлением Z, превышающим Z0, то на другом их конце большие сопротивления Zзакр. преобразуются в большие сопротивления ZB, рассчитанные по формуле:
ZB=Z2/Zзакр.,
где Z2 – квадрат волнового сопротивления отрезков линии передачи 7 и 8.
При этом малые сопротивления ZB сравнимы по величине с сопротивлениями открытых полевых транзисторов с барьером Шотки Zоткр. Поскольку малые сопротивления ZB включены последовательно параллельно соединенным резисторам с одинаковыми сопротивлениями R2 и R3, то общие параллельные сопротивления Z2 и Z3 разряда аттенюатора, рассчитанные по формулам:
Z2=R2+ZB,
Z3=R3+ZB,
будут равны R2 и R3.
В этом случае аттенюатор будет иметь последовательное сопротивление R1 и два параллельных сопротивления R2 и R3, включенных по обе стороны последовательного сопротивления R1.
В этом случае в аттенюаторе реализуется требуемая величина затухания Аз.
На изготовленных образцах аттенюатора СВЧ были измерены величины прямых потерь Ап и затухания Аз, результаты чего изображены на фиг.3.
Как видно из фиг.3, прямые потери в аттенюаторе на частоте 10 ГГц составляют 1,7 дБ, а затухание – 5,7 дБ, так что изменение затухания аттенюатора СВЧ составляет 4 дБ.
Это говорит о том, что, используя один источник постоянного управляющего напряжения, реализуются те же параметры аттенюатора СВЧ, что и при использовании двух источников постоянного управляющего напряжения.
Таким образом, в предлагаемом многоразрядном аттенюаторе СВЧ прямые потери и требуемая величина затухания реализуется в каждом разряде с помощью одного источника постоянного управляющего напряжения, что позволяет упростить конструкцию и снизить массогабаритные характеристики аттенюатора СВЧ при сохранении указанных выше параметров.
Источники информации
1. Вайсблат А.В. Коммутационные устройства СВЧ на полупроводниковых диодах. М: Радио и связь. – 1987 г., стр.45.
2. Проектирование многоразрядных монолитных аттенюаторов. Абакумова Н.В., Богданов Ю.М. и др. Электронная техника. Сер. 1, СВЧ-техника. 2005 г., вып.2., стр.6-19.
Формула изобретения
1. Аттенюатор СВЧ-состоящий, по крайней мере, из одного разряда, каждый из которых содержит соединение трех резисторов, один из которых соединен последовательно, а два других – параллельно линиям передачи на входе и выходе аттенюатора, и трех электронных ключей, в качестве которых использованы полевые транзисторы с барьером Шотки, при этом последовательно соединенный резистор соединен с истоком и стоком полевого транзистора с барьером Шотки, а параллельно соединенные резисторы выполнены с одинаковыми сопротивлениями и расположены по разные стороны от последовательно соединенного резистора и соответственно каждый вместе с полевым транзистором с барьером Шотки, истоки которых заземлены, а затворы трех полевых транзисторов с барьером Шотки служат для подачи на них управляющего напряжения, отличающийся тем, что в каждый разряд аттенюатора дополнительно введены два отрезка линии передачи длиной, равной четверти длины волны в линии передачи, и волновым сопротивлением, превышающем волновое сопротивление линий передачи на входе и выходе аттенюатора, при этом каждый из отрезков линии передачи длиной, равной четверти длины волны, включен между соответствующим параллельно соединенным резистором и стоком соответствующего полевого транзистора с барьером Шотки, а затворы трех полевых транзисторов с барьером Шотки соединены между собой и соединены с одним источником постоянного управляющего напряжения.
2. Аттенюатор СВЧ по п.1, отличающийся тем, что превышение волнового сопротивления каждого из отрезков линии передачи длиной, равной четверти длины волны, над волновым сопротивлением линий передачи на входе и выходе аттенюатора определяют по формуле
Н[Zоткр.×Zзакр.]0.5/Z0,
где Zоткр.- сопротивление полевого транзистора с барьером Шотки в открытом состоянии,
Zзакр. – сопротивление полевого транзистора с барьером Шотки в закрытом состоянии,
Z0 – волновое сопротивление линий передачи на входе и выходе аттенюатора.
РИСУНКИ
|
|