|
|
(21), (22) Заявка: 2005137562/09, 01.12.2005
(24) Дата начала отсчета срока действия патента:
01.12.2005
(30) Конвенционный приоритет:
02.12.2004 JP 2004-349749
(43) Дата публикации заявки: 10.06.2007
(46) Опубликовано: 10.01.2008
(56) Список документов, цитированных в отчете о поиске:
JP 2004147408, 20.05.2004. JP 2004235997, 18.08.2004. US 5608306, 04.03.1997. WO 9900863 A1, 07.01.1999. JP 2002354683, 06.12.2002. US 5717307, 10.02.1998. US 5831412, 03.11.1998.
Адрес для переписки:
103735, Москва, ул.Ильинка, 5/2, ООО “Союзпатент”, пат.пов. С.В.Истомину
|
(72) Автор(ы):
САСАКИ Таити (JP), ХАЯКАВА Масахико (JP), САСАКИ Даи (JP)
(73) Патентообладатель(и):
СОНИ КОРПОРЕЙШН (JP), СОНИ КОМПЬЮТЕР ЭНТЕРТЕЙНМЕНТ ИНК. (JP)
|
(54) БЛОК БАТАРЕЙ, СПОСОБ УПРАВЛЕНИЯ ЗАРЯДКОЙ И УСТРОЙСТВО ПРИМЕНЕНИЯ
(57) Реферат:
Раскрыт блок батарей, содержащий вторичную батарею и схему, которая управляет зарядкой и разрядкой вторичной батареи. Блок батарей имеет компьютер, который связывается с другим компьютером, расположенным в зарядном устройстве, аутентифицирует зарядное устройство и вычисляет информацию об остаточной емкости вторичной батареи. Когда компьютер не аутентифицировал успешно зарядное устройство и установил, что вторичная батарея заряжена заданным образом, то компьютер принудительно устанавливает информацию об остаточной емкости на “нет остаточной емкости”. Технический результат – повышение надежности блока батарей. 3 н. и 10 з.п. ф-лы, 8 ил.
Данное изобретение содержит предмет обсуждения, относящийся к заявке на патент Японии JP 2004-349749, поданной в патентное ведомство Японии 2 декабря 2004, полное содержание которой включается в данное описание.
Область техники, к которой относится изобретение
Данное изобретение относится к блоку батарей и к способу управления зарядкой, который позволяет блоку батарей аутентифицировать зарядное устройство и предотвратить зарядку блока батарей, когда зарядное устройство является неавторизованным зарядным устройством.
Уровень техники
Поскольку вторичная батарея, например литиевая ионная батарея, имеет малый размер, обладает небольшим весом, высокой плотностью энергии, высокой выходной мощностью и т.д., то она широко используется для электропитания устройств применения, таких как цифровой фотоаппарат, сотовый телефон, переносной персональный компьютер и т.д. Такая литиевая ионная батарея требует зарядки с помощью зарядного устройства, изготовленного авторизованным изготовителем, для безопасного использования батареи и предотвращения сокращения срока службы батареи. Например, неавторизованное зарядное устройство может не удовлетворять необходимым требованиям. Если батарея заряжается с помощью такого неавторизованного устройства, то батарея может быть перезаряжена.
В указанном ниже патентном документе 1 описано решение, согласно уровню техники, в котором блок батарей и устройство применения идентифицируют друг друга для предотвращения использования неавторизованного блока батарей.
[Патентный документ 1] Выложенная заявка на патент Японии №2004-147408.
Сущность изобретения
В решении, согласно уровню техники, описанному в патентном документе 1, микрокомпьютер, расположенный в видеокамере в качестве устройства применения блока батарей, и микрокомпьютер, расположенный в блоке батарей, аутентифицируют друг друга. В соответствии с результатом аутентификации, включается или отключается линия подачи электропитания видеокамеры. В решении, согласно уровню техники, описанному в патентном документе 1, видеокамере воспрещается использовать поддельный блок батарей, который вряд ли соответствует техническим требованиям видеокамеры. Другими словами, в решении, согласно уровню техники, описанному в патентном документе 1, не ставится цель предотвращения заряда неавторизованным зарядным устройством авторизованного блока батарей.
С учетом изложенного выше, желательно создать блок батарей, способ управления зарядкой и устройство применения, которые обеспечивают предотвращение зарядки блока батарей неавторизованным зарядным устройством.
Согласно одному варианту выполнения данного изобретения, создан блок батарей, содержащий вторичную батарею и схему, предназначенную для управления зарядкой и разрядкой вторичной батареи. Блок батарей содержит компьютер, который связывается с другим компьютером, расположенным в зарядном устройстве, аутентифицирует зарядное устройство и вычисляет информацию об остаточной емкости вторичной батареи. Когда компьютер не аутентифицировал успешно зарядное устройство и установил, что вторичная батарея заряжена заданным образом, то компьютер принудительно устанавливает информацию об остаточной емкости на «нет остаточной емкости».
Согласно одному варианту выполнения данного изобретения, создан способ управления зарядкой блока батарей, содержащего вторичную батарею, схему управления зарядкой и разрядкой вторичной батареи, и компьютер, который вычисляет информацию об остаточной емкости вторичной батареи. Компьютер связывается с другим компьютером, расположенным в зарядном устройстве, и аутентифицирует зарядное устройство. Он определяет, что вторичная батарея заряжена заданным образом, когда зарядное устройство не аутентифицировано. Информацию об остаточной емкости принудительно устанавливают на «нет остаточной емкости», когда компьютер устанавливает, что вторичная батарея заряжена заданным образом.
Согласно одному варианту выполнения данного изобретения, создано устройство применения, с которым соединен блок батарей в качестве источника электропитания, при этом устройство применения принимает информацию об остаточной емкости из блока батарей, информация об остаточной емкости определяется блоком батарей, при этом во время подачи блоком батарей электропитания в устройство применения, когда устройство применения принимает информацию об остаточной емкости, которая была принудительно установлена на «нет остаточной емкости», устройство применения прекращает свою работу.
Согласно одному варианту выполнения данного изобретения, поскольку предотвращается зарядка блока батарей неавторизованным зарядным устройством, то увеличивается безопасность блока батарей. Дополнительно к этому предотвращается ухудшение рабочих характеристик блока батарей, таких как сокращение срока службы батареи из-за использования неавторизованного зарядного устройства. Таким образом, можно увеличить надежность блока батарей. Дополнительно к этому предотвращается появление на рынке неавторизованных зарядных устройств. Кроме того, согласно одному варианту выполнения данного изобретения, поскольку программное обеспечение предотвращает использование зарядного устройства, то нет необходимости в изменении оборудования блока батарей.
Эти и другие цели, признаки и преимущества данного изобретения следуют из приведенного ниже подробного описания предпочтительного варианта выполнения, показанного на прилагаемых чертежах.
Краткое описание чертежей
Для лучшего понимания изобретения ниже приводится его подробное описание со ссылками на прилагаемые чертежи, на которых подобные элементы обозначены одинаковым позициями и на которых изображено:
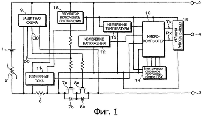
фиг.1 – блок-схема блока батарей, согласно одному варианту выполнения данного изобретения;
фиг.2А и 2В – блок-схемы способа аутентификации структур из блока батарей и зарядного устройства;
фиг.3 – графическая схема способа управления зарядкой под управлением микрокомпьютера блока батарей; и
фиг.4А, 4В, 4С и 4D – пример выполнения переносного игрового устройства, согласно варианту выполнения данного изобретения.
Подробное описание предпочтительных вариантов выполнения
Ниже приводится описание вариантов выполнения данного изобретения со ссылками на прилагаемые чертежи. На фиг.1 показан блок батарей, согласно одному варианту выполнения данного изобретения. На фиг.1 позицией 1 обозначена вторичная батарея, например, литиевая ионная батарея. Блок батарей имеет положительную (+) клемму (2), отрицательную (-) клемму (3) и клемму 4 связи.
Положительный электрод вторичной батареи 1 соединен с положительной (+) клеммой 2. Отрицательный электрод вторичной батареи 1 соединен с отрицательной (-) клеммой 3 через устройство 5 ограничения тока, сопротивление 6 измерения тока и сток и исток полевого транзистора 7а управления разрядкой, и сток и исток полевого транзистора 8а управления зарядкой. Устройство 5 ограничения тока является, например, устройством с положительным коэффициентом температуры (РТС). Когда температура увеличивается, то сопротивление устройства 5 ограничения тока увеличивается и ограничивает протекающий через него ток. Паразитные диоды 7b и 8b расположены между стоком и истоком полевого транзистора 7а и между стоком и истоком полевого транзистора 8а, соответственно.
Управляющие сигналы D0 и С0 подаются из защитной схемы 9 на затворы полевого транзистора 7а управления разрядкой и полевого транзистора 8а управления зарядкой, соответственно. В обычных операциях зарядки и разрядки уровни управляющих сигналов D0 и С0 является высокими, приводя к включению полевых транзисторов 7а и 8а. Защитная схема 9 имеет три функции, которые являются функцией защиты от чрезмерной зарядки, функцией защиты от чрезмерной разрядки и функцией защиты от чрезмерного тока. Ниже приводится краткое описание этих функций защиты.
Сначала приводится описание функции защиты от перезарядки. Когда вторичная батарея 1 заряжается, то напряжение батареи продолжает повышаться после полной зарядки вторичной батареи 1. Когда вторичная батарея 1 перезаряжается, то это может становиться опасным. Таким образом, необходимо заряжать вторичную батарею 1 неизменным током при неизменном напряжении. Управляющее напряжение зарядки должно быть равно номинальному напряжению батареи или ниже (например, 4,2 В). Однако, если зарядное устройство работает неправильно или используется неавторизованное зарядное устройство, то вторичная батарея 1 может быть перезаряжена. Когда вторичная батарея 1 перезаряжена и напряжение батареи становится равным заданной величине или превосходит ее, то уровень выходного сигнала С0 защитной схемы 9 изменяется с высокого уровня на низкий уровень, вызывая выключение полевого транзистора 8а управления зарядкой и тем самым выключение зарядного тока. Эта функция является функцией защиты от перезарядки. Когда полевой транзистор 8а управления зарядкой выключен, то вторичная батарея 1 может только разряжаться через полевой транзистор 7а управления разрядкой и паразитный диод 8b.
Ниже приводится описание функции защиты от чрезмерной разрядки. Когда вторичная батарея 1 разряжается и напряжение батареи падает до номинального напряжения остановки разрядки или ниже, например, от 2 В до 1,5 В, то работа вторичной батареи может нарушаться. Когда напряжение батареи падает до заданной величины или ниже, то уровень выходного сигнала D0 защитной схемы 9 изменяется с высокого уровня на низкий уровень, вызывая выключение полевого транзистора 7а управления разрядкой и тем самым выключение разрядного тока. Эта функция является функцией защиты от чрезмерной разрядки. Когда полевой транзистор 7а выключен, то вторичная батарея 1 может только заряжаться через полевой транзистор 8а управления зарядкой и паразитный диод 7b.
Ниже приводится описание функции защиты от чрезмерного тока. Когда положительная (+) клемма и отрицательная (-) клемма вторичной батареи 1 замыкаются накоротко, то во вторичной батарее 1 протекает большой ток, что может приводить к ненормальному нагреву. Если протекающий ток разрядки превышает заданную величину, то уровень выходного сигнала D0 защитной схемы 9 изменяется с высокого уровня на низкий уровень, вызывая выключение полевого транзистора 7а управления разрядкой и тем самым выключение разрядного тока. Эта функция является функцией защиты от чрезмерного тока.
Позицией 10 обозначен микрокомпьютер, расположенный в блоке батарей. Секция 11 измерения тока измеряет ток, протекающий в сопротивлении 6 измерения тока. Секция 12 измерения напряжения измеряет напряжение батареи. Секция 13 измерения температуры измеряет температуру вторичной батареи 1 с помощью устройства измерения температуры, такого как термистор. Измеренные величины вводятся в микрокомпьютер 10.
Электрически стираемое программируемое (ЭСП) ПЗУ 14, которое является энергонезависимой памятью, соединено с микрокомпьютером 10. Линии ввода данных, линии вывода данных, линии синхронизации и линии выбора микросхемы соединяют микрокомпьютер 10 и ПЗУ 14. Микрокомпьютер 10 вычисляет информацию об остаточной емкости с помощью величины измерения тока, величины измерения напряжения и величины измерения температуры, ПЗУ 14 сохраняет измеренные величины, данные для получения остаточной емкости, например, таблицу, представляющую взаимосвязь напряжения батареи и остаточной мощности, полученную информацию об остаточной мощности и т.д. Энергонезависимая память может быть памятью с произвольным доступом (ОЗУ), которая имеет резервное электропитание, наряду с ЭСППЗУ.
Остаточную емкость вторичной батареи можно измерять, например, с помощью способа напряжений, в котором остаточная мощность вторичной батареи измеряется посредством измерения напряжения батареи, и с помощью накопительного способа, в котором остаточную емкость батареи получают посредством измерения тока и напряжения вторичной батареи и перемножения их.
При измерении остаточной емкости вторичной батареи с помощью способа напряжений измеряют напряжение на клеммах ячейки батареи. Остаточную емкость вычисляют в соответствии с соотношением напряжения и емкости батареи (отношения остаточной емкости) вторичной батареи. Таким образом, когда напряжение литиевой ионной батареи составляет 4,2 В на ячейку, то это значит, что она полностью заряжена. Когда напряжение литиевой ионной батареи составляет 2,4 В на ячейку, то это значит, что она чрезмерно разряжена. В результате можно простым образом измерять остаточную емкость вторичной батареи.
Накопительный способ определения остаточной емкости вторичной батареи можно классифицировать как способ накопления тока, в котором измеряют ток вторичной батареи и накапливают величины тока в интервалах заданной длительности, и способ накопления мощности, в котором измеряют ток и напряжение вторичной батареи, перемножают их, получают мощность и накапливают величины мощности в интервалах заданной длительности. В любом способе получают ток разрядки или мощность разрядки вторичной батареи. В соответствии с отношением разрядного тока или разрядной мощности и полезного тока или полезной мощности вторичной батареи, получают остаточную емкость вторичной батареи. Таким образом, остаточную емкость вторичной батареи можно устойчиво получать без влияния колебаний напряжения батареи.
Когда емкость батареи определяют с использованием совместно накопительного способа и способа напряжения, то увеличивается точность определения емкости батареи. Когда ток вторичной батареи меньше заданной величины, то можно использовать способ напряжения. В противоположность этому, когда ток вторичной батареи выше заданной величины, то можно использовать способ накопления тока. Когда емкость батареи измеряют с выборочным использованием этих способов, то повышается точность вычисления емкости батареи. Другим способом измерения является способ, в котором отношения остаточной емкости, измеренные с помощью накопительного способа, взвешивают в соответствии с отношением остаточной емкости вторичной батареи, результаты складывают и получают конечное отношение остаточной емкости. Согласно данному варианту выполнения, можно использовать любой из этих способов.
В качестве информации об остаточной емкости вычисляют, в частности, остаточную емкость (в мАч), отношение остаточной емкости (в %) и остаточное полезное время (в минутах). Информацию об остаточной емкости передают из микрокомпьютера 10 в микрокомпьютер устройства применения, с которым соединен блок батарей. В устройстве применения отображается принятая информация остаточной емкости на дисплее, таком как жидкокристаллический дисплей. Когда информация об остаточной емкости является 0, то даже если блок батарей соединен с устройством применения, оно не работает.
Согласно одному варианту выполнения данного изобретения, клемма 4 связи используется для обеспечения связи микрокомпьютеров друг с другом. Сигнал передачи и сигнал приема, которые мультиплексируются с разделением времени, передаются через одну сигнальную линию, соединенную с клеммой 4 связи. Секция 15 ввода/вывода расположена между микрокомпьютером 10 и клеммой 4 связи. Секция 15 ввода/вывода, например, разделяет сигнал Тх передачи и сигнал Rx приема и регулирует уровни этих сигналов. Вместо этого можно использовать независимые терминалы передачи и приема.
Дополнительно к этому, блок батарей имеет регулятор 16, который создает заданное регулируемое напряжение, например, 2,5 В, с помощью напряжения вторичной батареи 1. Напряжение, создаваемое регулятором 16, подается в качестве напряжения электропитания в микрокомпьютер 10, секцию 11 измерения тока, секцию 13 измерения температуры, ПЗУ 14 и секцию 15 ввода/вывода.
Управляющий сигнал D0, подаваемый из защитной схемы 9 на затвор полевого транзистора 7а управления разрядкой, подается в качестве сигнала включения/выключения в регулятор 16. Другими словами, измеряется возможность чрезмерной разрядки блока батарей. Управляющий сигнал, который выключает полевой транзистор 7а управления разрядкой, выключает регулятор 16. Когда регулятор 16 выключен, то выходное напряжение регулятора 16 становится равным 0, что приводит в выключению схем, таких как микрокомпьютер 10, которые используют выходное напряжение регулятора 16 в качестве напряжения электропитания. Схемы блока батарей предотвращают чрезмерную разрядку вторичной батареи 1.
Ниже приводится описание примера соединения блока батарей и зарядного устройства, согласно одному варианту выполнения данного изобретения, со ссылками на фиг.2А и 2В. На фиг.2А показан пример структуры, в которой блок 20 батарей соединен с зарядным устройством 30, которое выпрямляет сетевое напряжение и создает зарядную мощность. Как показано на фиг.2А, зарядное устройство 30 имеет выпрямительную схему и зарядную схему (не изображена). Блок 20 батарей имеет структуру, показанную на фиг.1. В этом случае зарядное устройство 30 заряжает вторичную батарею блока 20 батарей. Дополнительно к этому, микрокомпьютер 31 зарядного устройства 30 связан с микрокомпьютером 10 блока 20 батарей для взаимной аутентификации друг друга.
Как показано на фиг.2В, блок 20 батарей соединен с устройством 40 применения. Вторичная батарея блока 20 батарей заряжается с помощью внешнего блока 32 электропитания. В показанной на фиг.2В структуре устройство 40 применения и внешний блок 32 электропитания образуют зарядное устройство. Внешний блок 32 электропитания выпрямляет сетевое напряжение и подает выпрямленное напряжение в устройство 40 применения. Регулятор 41, расположенный в устройстве 40 применения, создает зарядную мощность для вторичной батареи блока 20 батарей. В этой структуре микрокомпьютер 10 блока 20 батарей связывается с микрокомпьютером 42 устройства 40 применения для взаимной аутентификации друг друга. В качестве модификации структуры, показанной на фиг.2В, внешний блок 32 электропитания может быть соединен с гнездом и может заряжать вторичную батарею блока 20 батарей устройства 40 применения, размещенную в гнезде. Дополнительно к этому, как показано на фиг.2А, блок 20 батарей, заряжаемый зарядным устройством 30, может быть соединен с устройством 40 применения.
Микрокомпьютер 10 блока 20 батарей и микрокомпьютер 31 зарядного устройства 30 или микрокомпьютер 42 устройства 40 применения взаимно аутентифицируют друг друга в соответствии, например, с системой запроса и ответа. Когда блок 20 батарей соединен с зарядным устройством 30 или с устройством 40 применения, то они взаимно аутентифицируют друг друга.
Микрокомпьютер 31 определяет, соединен ли блок 20 батарей с зарядным устройством или устройством 40 применения, посредством считывания содержимого ПЗУ 14 блока 20 батарей. Когда заданные данные возвращаются из ПЗУ 14 в заданный период времени, то микрокомпьютер 31 определяет, что блок 20 батарей присоединен. Когда заданные данные не возвращаются из ПЗУ 14 в заданный период времени, то микрокомпьютер 31 определяет, что блок 20 батарей не присоединен. Вместо этого микрокомпьютер 31 может определять, присоединен ли блок 20 батарей за счет обнаружения физического соединения.
В системе запроса и ответа закрытая информация совместно используется зарядным устройством (микрокомпьютером 31 или 42; это относится к последующему описанию) и блоком батарей (микрокомпьютером 10; это относится к последующему описанию). Сначала данные запроса передаются из зарядного устройства в блок батарей. Данные запроса являются временными данными в виде случайных чисел.
Когда блок батарей принимает данные запроса из зарядного устройства, то блок батарей создает данные ответа с помощью собственной закрытой информации и данных запроса и возвращает данные ответа в зарядное устройство. На стороне зарядного устройства выполняется тот же процесс, и созданные данные сравниваются с данными ответа. Если они совпадают, то зарядное устройство определяет, что блоку батарей известна закрытая информация. Другими словами, зарядное устройство определяет, что подключенный блок батарей является авторизованным блоком батарей. В противном случае зарядное устройство не аутентифицирует блок батарей и определяет, что блок батарей является неавторизованным блоком батарей. Зарядное устройство сохраняет результат аутентификации.
Затем аутентифицирующая сторона изменяется от зарядного устройства в блок батарей. Аутентифицируемая сторона изменяется от блока батарей в зарядное устройство. Зарядное устройство генерирует данные ответа с помощью данных запроса, принятых из блока батарей, и собственной закрытой информации, и возвращает данные ответа в блок батарей. Блок батарей со своей стороны генерирует данные с помощью того же процесса генерирования и сравнивает генерированные данные с принятыми данными ответа. Когда они совпадают, то сторона блока батарей успешно аутентифицирует зарядное устройство и сохраняет результат аутентификации. В этом случае блок батарей определяет, является ли зарядное устройство аутентифицированным зарядным устройством.
Результат аутентификации блока батарей возвращается в зарядное устройство. Когда два результата аутентификации являются успешными, то зарядное устройство определяет, что блок батарей и зарядное устройство взаимно аутентифицированы, и сохраняет результат взаимной аутентификации. Когда устройство применения в качестве зарядного устройства не аутентифицировано, то устройство применения неспособно использовать блок батарей. Блок батарей на аутентифицирующей стороне сохраняет результат аутентификации зарядного устройства на аутентифицируемой стороне. Как будет описано ниже, когда зарядное устройство не аутентифицировано, то информация об остаточной емкости принудительно устанавливается на «нет остаточной емкости». Согласно варианту выполнения данного изобретения, поскольку управление информацией об остаточной емкости выполняется в соответствии с результатами аутентификации, то блок батарей должен успешно аутентифицировать зарядное устройство. Таким образом, нет необходимости во взаимной аутентификации друг друга блока батарей и зарядного устройства. Дополнительно к этому, способ аутентификации в соответствии с указанной системой запроса и ответа является лишь примером. Другими словами, можно использовать другой способ аутентификации.
Ниже приводится описание способа управления зарядкой, согласно варианту выполнения данного изобретения, со ссылками на фиг.3, где показана графическая схема процесса. Процесс зарядки выполняется под управлением микрокомпьютера 10 блока батарей. Графическая схема процесса, показанная на фиг.3, повторяется с интервалами времени заданной длительности, например 1 секунда. Когда блок батарей присоединяется к зарядному устройству (устройству применения, что раскрыто в последующем описании), то блок батарей заряжается.
На стадии S31 выполняется процесс вычисления остаточной емкости. Остаточная емкость блока батарей вычисляется, например, с помощью способа накопления тока, в котором измеряют ток блока батарей и накапливают в интервалах времени заданной длительности. На стадии S32 определяется, является ли напряжение, измеренное секцией 12 измерения напряжения, равным или меньшим заданной величины, например, 3 В. Когда напряжение меньше 3 В, то процесс переходит на стадию S40. На стадии S40 информацию об остаточной емкости, хранящуюся в ЭСППЗУ 14, устанавливают на «нет данных» (NonData) для выключения информации «остаточная емкость 0».
Когда результат определения на стадии S32 показывает, что напряжение батареи равно или больше 3 В, то процесс переходит на стадию S33. На стадии S33 определяют, является ли ток зарядки равным или большим заданной величины, например, 50 мА. Для предотвращения чрезмерной зарядки блока батарей определяется, является ли напряжение батареи равным заданной величине или превосходит его. Зарядный ток измеряется для определения, происходит ли зарядка блока батарей.
Когда определяемый на стадии S33 результат является Да, то процесс переходит на стадию S34. На стадии S34 определяют, успешно ли аутентифицирован блок батарей. Указанный процесс аутентификации выполняется тотчас после присоединения блока батарей к зарядному устройству.
После успешной аутентификации блока батарей процесс переходит на стадию S35. На стадии S35 в ПЗУ 14 устанавливают «нет данных». После этого процесс завершается. Когда определяемый на стадии S34 результат говорит, что блок батарей не аутентифицирован, то процесс переходит на стадию S36. На стадии S36 определяют, установлена ли в ПЗУ 14 информация «нет данных».
Когда результат определения на стадии S36 показывает, что информация «нет данных» установлена в ПЗУ 14, то процесс переходит на стадию S37. На стадии S37 устанавливается использованная емкость. После этого на стадии S38 определяют, увеличилась ли емкость батареи на заданную величину или больше, например, 100 мАч. Когда определяемый на стадии S33 результат показывает, что ток зарядки не превосходит 50 мА, или когда определяемый на стадии S36 результат показывает, что в ПЗУ 14 установлена информация «нет данных», то процесс переходит на стадию S38.
Когда определяемый на стадии S38 результат показывает, что емкость батареи увеличилась на 100 мАч, то определяется, что блок батарей заряжался неправильно. На стадии S39 данные, которые представляют емкость батареи, например флаг, установленный в ПЗУ 14, принудительно изменяют на информацию «нет остаточной емкости». В этом случае флаг «нет остаточной емкости», который представляет, что блок батарей полностью разряжен и остаточная емкость равна нулю, отличается от данных флага «нет остаточной емкости», который принудительно устанавливается в ПЗУ 14. Поскольку эти флаги различны, то когда зарядное устройство или устройство применения принимает информацию «нет остаточной емкости», может выполняться другой процесс, например другая индикация. Когда определяемый на стадии S38 результат показывает, что емкость батареи не увеличилась на 100 мАч или больше, то процесс завершается.
Когда установлен флаг «нет остаточной емкости», то любые данные «остаточная емкость (мАч)», «отношение остаточной емкости (%)» и «полезное время разрядки (минуты)», переданные в устройство применения, принудительно устанавливаются на 0. Когда устройство применения принимает информацию «остаточная емкость 0», поскольку электропитание не подается в устройство применения, то оно неспособно работать.
Когда блок батарей соединен с устройством применения, и оно не заряжает блок батарей, как показано на фиг.2А, и если блок батарей заряжается зарядным устройством, то информация «остаточная емкость 0» записывается в ЭСППЗУ 14 блока батарей посредством указанного выше процесса. Таким образом, даже если блок батарей отсоединяется от зарядного устройства и присоединяется к устройству применения, то поскольку устройство применения распознает, что остаточная емкость блока батарей равна 0, устройство применения неспособно работать.
Ниже приводится описание стадии S37 и стадии S38. При этом предполагается, что емкость блока батарей составляет, например, 1800 мАч, а именно, что блок батарей полностью заряжен, другими словами, использованная емкость блока батарей равна 0 мАч, а отношение остаточной емкости равно 100%. На стадии S37 имеющуюся использованную мощность, например, 900 мАч, устанавливают в ПЗУ 14. На стадии S38 определяют, увеличилась ли емкость батареи на 100 мАч. Другими словами, определяют, является ли использованная емкость равной 800 мАч или меньше. Когда определяемый результат показывает, что использованная емкость равна 800 мАч или меньше, то это означает, что блок батарей заряжался неправильно, и флаг «нет остаточной емкости» устанавливается в ПЗУ 14.
Таким образом, когда напряжение блока батарей, для которого был установлен флаг «нет остаточной емкости», становится равным 3 В или ниже, то информация «остаточная емкость 0» отменяется, и блок батарей можно использовать.
Вариант выполнения данного изобретения можно применять в различных устройствах применения. Ниже приводится описание случая, в котором устройством применения является переносное игровое устройство, со ссылками на фиг.4А, 4В, 4С и 4D. На фиг.4А показано на виде спереди переносное игровое устройство. В центральной части переносного игрового устройства расположен широкий жидкокристаллический дисплей 51. Слева и справа от широкого жидкокристаллического дисплея 51 расположены рабочие клавиши 52 и 53. Пользователь может играть с использованием рабочих клавиш 52 и 53, наблюдая жидкокристаллический дисплей 51. Предусмотрена также другая рабочая клавиша, а именно аналоговая клавиша 54.
На фиг.4В показано на виде сзади переносное игровое устройство. Как показано на фиг.4В, корпус 55 блока батарей расположен сзади переносного игрового устройства. Блок 56 батарей размещен в корпусе 55. Крышка 55 установлена с возможностью скольжения на корпусе 55. Выступ 8, выступающий из основного корпуса переносного игрового устройства, входит в отверстие 59, образованное в крышке 57 батарей, так что крышка 57 фиксируется и закрывается.
Как показано на фиг.4D, соединительные клеммы 61а, 61b и 61с расположены на кромке выступающей части блока 56 батарей. Соединительные клеммы 61a, 61b и 61с соответствуют клеммам 2, 3 и 4, показанным на фиг.1.
Переносное игровое устройство, показанное на фиг.4А-4D, имеет несколько функций, таких как функция записи/воспроизведения оптического диска, функцию беспроводной связи с местной сетью, функцию интерфейса USB и функцию интерфейса с картой памяти. Дополнительно к этому, переносное игровое устройство может иметь клавиши, отличные от клавишей, показанных на фиг.4А, и т.д. Поскольку эти функции не относятся к варианту выполнения данного изобретения, их описание не приводится. Естественно, что вариант выполнения данного изобретения можно применять в различных устройствах применения, таких как цифровая видеокамера, цифровой фотоаппарат, карманный компьютер (PDA) и сотовый телефон.
Вариант выполнения данного изобретения применим к блоку батарей, имеющему несколько вторичных батарей, и блоку батарей, имеющему структуру, в которой полевой транзистор управления зарядкой и полевой транзистор управления разрядкой соединены с положительным электродом. Дополнительно к этому, способ вычисления остаточной емкости может отличаться от способа накопления тока.
Для специалистов в данной области техники понятно, что возможны различные модификации, комбинации, частичные комбинации и изменения в зависимости от требований конструкции и других факторов без выхода за объем прилагаемой формулы изобретения или ее эквивалентов.
Формула изобретения
1. Блок батарей, содержащий вторичную батарею и схему, предназначенную для управления зарядкой и разрядкой вторичной батареи, при этом блок батарей содержит:
компьютер, предназначенный для связи с другим компьютером, расположенным в зарядном устройстве, аутентификации зарядного устройства и вычисления информации об остаточной емкости вторичной батареи;
при этом когда компьютер не аутентифицировал успешно зарядное устройство и установил, что вторичная батарея заряжена заданным образом, то компьютер принудительно устанавливает информацию об остаточной емкости на “нет остаточной емкости”.
2. Блок батарей по п.1, в котором, когда блок батарей присоединен к зарядному устройству, компьютер аутентифицирует зарядное устройство.
3. Блок батарей по п.1, в котором когда компьютер обнаруживает, что емкость батареи увеличилась на заданную величину, то компьютер определяет, что вторичная батарея заряжена заданным образом.
4. Блок батарей по п.1, в котором информация об остаточной емкости хранится в энергонезависимой памяти.
5. Блок батарей по п.1, в котором принудительно установленная информация “нет остаточной емкости” и действительная информация “нет остаточной емкости” идентифицируются различными данными.
6. Блок батарей по п.1, в котором когда напряжение вторичной батареи падает до заданной величины или ниже, то отменяется установленная информация “нет остаточной емкости”.
7. Способ управления зарядкой блока батарей, содержащего вторичную батарею, схему, предназначенную для управления зарядкой и разрядкой вторичной батареи, и компьютер для вычисления информации об остаточной емкости вторичной батареи, при этом способ управления зарядкой содержит стадии:
установления связи с другим компьютером, расположенным в зарядном устройстве, и аутентификации зарядного устройства;
обнаружения, что вторичная батарея заряжена заданным образом, когда зарядное устройство не аутентифицировано успешно; и
принудительной установки информации об остаточной емкости на “нет остаточной емкости”, когда обнаружено, что вторичная батарея заряжена заданным образом.
8. Способ управления зарядкой по п.7, в котором аутентифицируют вторичную батарею, когда ее соединяют с зарядным устройством.
9. Способ управления зарядкой по п.7, в котором при обнаружении, что емкость батареи увеличилась на заданную величину, определяют, что вторичная батарея заряжена заданным образом.
10. Способ управления зарядкой по п.7, в котором принудительно установленная информация “нет остаточной емкости” и действительная информация “нет остаточной емкости” идентифицируются различными данными.
11. Способ управления зарядкой по п.7, в котором когда напряжение вторичной батареи падает до заданной величины или ниже, то отменяют установленную информацию “нет остаточной емкости”,
12. Нагрузочное устройство, с которым соединен блок батарей в качестве источника электропитания, при этом нагрузочное устройство выполнено с возможностью приема информации об остаточной емкости из блока батарей, которая определяется блоком батарей, при этом во время подачи блоком батарей электропитания в нагрузочное устройство, когда устройство применения принимает информацию об остаточной емкости, которая была принудительно установлена на “нет остаточной емкости”, нагрузочное устройство прекращает свою работу.
13. Устройство по п.12, в котором когда зарядное устройство, которое определено как неаутентифицированное, заряжало блок батарей, то принудительно устанавливается информация об остаточной емкости, которая представляет информацию “нет остаточной емкости”.
РИСУНКИ
|
|