|
|
(21), (22) Заявка: 2005138939/28, 15.12.2005
(24) Дата начала отсчета срока действия патента:
15.12.2005
(43) Дата публикации заявки: 20.06.2007
(46) Опубликовано: 10.01.2008
(56) Список документов, цитированных в отчете о поиске:
US 3652821 А, 28.03.1972. JP 2003100244 A, 04.04.2003. JP 7258832 A, 09.10.1995. US 4574178 A, 04.03.1986. SU 705699 A1, 25.12.1979.
Адрес для переписки:
105082, Москва, пр. Чешихинский, 18/20, стр.1, кв.10, а/я № 83, ЗАО НПЦ “ЭТ”
|
(72) Автор(ы):
Завьялов Михаил Александрович (RU), Мартынов Владимир Филиппович (RU), Гусев Николай Семенович (RU), Смирнов Владимир Николаевич (RU), Лисин Владимир Николаевич (RU), Тюрюканов Павел Михайлович (RU)
(73) Патентообладатель(и):
Закрытое акционерное общество Научно-производственный центр “Элионная техника” (ЗАО НПЦ “ЭТ”) (RU)
|
(54) ЭЛЕКТРОННО-ЛУЧЕВАЯ ПУШКА ДЛЯ НАГРЕВА МАТЕРИАЛОВ В ВАКУУМЕ
(57) Реферат:
Изобретение относится к электротехнике, в частности к приборам и устройствам для термообработки материалов и изделий. Электронно-лучевая пушка для нагрева материалов в вакууме содержит цилиндрическую стойку с высоковольтным разъемом, системой охлаждения, в которой установлен вакуумно-плотный изолятор катодно-подогревательного узла, анодный фланец и лучевод, выполненный в виде герметичной капсулы с встроенными линзами. Система охлаждения выполнена в виде двух контуров, один из которых содержит водяной дроссель, сопротивление и каналы охлаждения держателей термокатода и нагревателя. Второй контур выполнен в виде герметичного кольцевого фланца, сопряженного с водяной рубашкой лучевода. Вакуумная камера осесимметрично охватывает капсулу лучевода. Переходник для соединения лучевода с технологической камерой выполнен в виде водоохлаждаемого патрубка, охваченного двухполюсной магнитной линзой, сопряженной с конусной вставкой. Технический результат: повышение надежности и ресурса при одновременном расширении функциональных возможностей, а также увеличение удельной мощности пучка. 2 з.п. ф-лы, 1 ил.
Изобретение относится к электротехнике, в частности к приборам и устройствам для термообработки материалов и изделий в вакууме.
Известна электронно-лучевая пушка [1], содержащая цилиндрический корпус с высоковольтным вводом, в котором установлен вакуумно-плотный изолятор катодно-подогревательного узла, содержащий держатели термокатода и нагревателя, анодный фланец с анодным электродом, опирающимся на лучевод, выполненный в виде герметичной капсулы с встроенными магнитными линзами, и вакуумную камеру с откачными патрубками.
Основными недостатками известного устройства являются ограничение функциональных возможностей, надежности и ресурса работы, обусловленное наличием термоупругих напряжений в основных узлах, обеспечивающих рабочий режим электронно-лучевой пушки, что затрудняет их юстировку. При работе пушки в сварочном режиме пары металла и газовыделение снижают надежность системы в области формирования пучка, поскольку откачка газа производится через лучевод, проводимость которого ограничена размером анодного отверстия.
Известна также электронно-лучевая пушка для нагрева материалов в вакууме [2], содержащая цилиндрическую стойку с высоковольтным разъемом и системой охлаждения, в которой установлен вакуумно-плотный изолятор катодно-подогревательного узла, содержащий верхний фланец и держатели термокотода и нагревателя и анодный фланец с анодным электродом, опирающийся на лучевод, выполненный в виде герметичной цилиндрической капсулы с встроенными фокусирующей и отклоняющей магнитными линзами с выводами, вакуумную камеру с откачным патрубком и переходник для соединения лучевода с технологической камерой.
В известном устройстве при появлении градиентов давления и изменении режима газодинамического тракта не обеспечивается необходимая надежность работы электронно-лучевого канала в области формирования и фокусировки пучка, поскольку откачка системы производится через лучевод и затем через анодное отверстие малого диаметра. Ионная бомбардировка катода и паразитные разряды в промежутке катод-анод снижают не только ресурс, но и качество технологического процесса, а также ограничивают величину мощности пучка. Кроме этого в пушке такого класса возникают значительные термоупругие напряжения и соответствующие смещения между основными элементами, выполняющими электронно-оптические функции, что усложняет юстировку и настройку всей системы для заданного технологического процесса.
Настоящее изобретение решает задачу повышения надежности и ресурса пушки при одновременном расширении функциональных возможностей и удельной мощности пучка.
Для решения этой задачи в известной электронно-лучевой пушке для нагрева материалов в вакууме, содержащей цилиндрическую стойку с высоковольтным разъемом и системой охлаждения, в которой установлен вакуумно-плотный изолятор катодно-подогревательного узла, содержащий верхний фланец и держатели термокатода и нагревателя и анодный фланец с анодным электродом, опирающийся на лучевод, выполненный в виде герметичной цилиндрической капсулы с встроенными фокусирующей и отклоняющей магнитными линзами с выводами, и вакуумную камеру с откачным патрубком и переходник для соединения лучевода с технологической камерой, система охлаждения выполнена в виде двух контуров, причем первый контур выполнен в виде водяного дросселя, установленного соосно с изолятором пушки и подсоединенного через водяное сопротивление к водяной рубашке цилиндрического держателя термокатода и трубчатого держателя нагревателя. Второй контур выполнен в виде герметичного водоохлаждаемого кольцевого фланца, расположенного между основанием цилиндрической стойки и анодным фланцем, и водяной рубашки лучевода. Вакуумная камера осесимметрично охватывает капсулу лучевода, при этом кольцевой фланец закреплен на торце капсулы лучевода с помощью трех полых втулок, две из которых сообщаются с каналами охлаждения лучевода, а третья служит для ввода питания к магнитным линзам.
Переходник для соединения лучевода с технологической камерой выполнен в виде водоохлаждаемого патрубка, охваченного двухполюсной магнитной линзой, сопряженной с конусной вставкой, снабженной водяной рубашкой.
Кроме этого, расстояние h между кольцевым фланцем и торцом капсулы лучевода с диаметром D и радиальный зазор между цилиндрической стенкой вакуумной камеры и внешней стенкой капсулы выбраны в соотношении:
h= =0,25·dy 2/D, где dy – диаметр откачного патрубка.
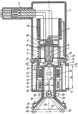
Изобретение поясняется чертежом, на котором показан общий вид электронно-лучевой пушки.
Устройство содержит цилиндрическую стойку 1 с высоковольтным разъемом 2 и системой охлаждения 3.
Вакуумно-плотный изолятор 4 расположен осесимметрично с катодно-подогревательным узлом 5, содержащим катоды прямого и электронного накала. На верхнем фланце изолятора 6 установлены держатели основного катода 7 и нагревателя 8. Анодный фланец 9 с анодным конусным электродом 10 вмонтирован в торец лучевода 11, выполненного в виде герметичной цилиндрической капсулы 12, в которую встроены фокусирующая 13 и отклоняющая 14 магнитные линзы с выводами 15.
Вакуумная камера 16 с откачным патрубком 17 осесимметрично охватывает капсулу 12 лучевода.
Переходник 18 предназначен для соединения лучевода 11 с технологической камерой.
Система охлаждения пушки состоит из двух контуров.
Первый контур выполнен в виде бинарного водяного дросселя 19, установленного соосно и над изолятором пушки 4, подсоединенного через водяное сопротивление 20, имеющее форму витка, к водяной рубашке цилиндрического держателя термокатода и трубчатого держателя нагревателя 21.
Второй контур содержит герметичный водоохлаждаемый кольцевой фланец 22 с каналом 23 и цилиндрическую рубашку лучевода 24. Кольцевой фланец 22 закреплен герметично на торце капсулы лучевода с помощью трех полых втулок, расположенных под углами 120°, две из которых 25 и 26 сообщаются с каналами охлаждения лучевода, а третья 27 служит для ввода питания к магнитным линзам.
Переходник 18, соединяющий лучевод с технологической камерой относительно высокого давления, выполнен в виде водоохлаждаемого патрубка 28, охваченного двухполюсной магнитной линзой 29, сопряженной с конусной вставкой 30, также выполненной с водяными каналами 31.
Электронный пучок 32 после прохождения анодного отверстия диаметром dA фокусируется магнитной линзой в лучеводе диаметром dЛ. Расстояние h между кольцевым фланцем 22 и торцом капсулы лучевода внешним диаметром D фиксирует буферный объем, позволяющий реализовать режим дифференциальной откачки области катод-анод и объема лучевода. Зазор между цилиндрической стенкой вакуумной камеры и внешней стенкой капсулы позволяет наиболее эффективно использовать полную мощность и производительность вакуумной системы, если соблюдается соотношение:
h= =0,25·dy 2/D.
Электронно-лучевая пушка работает следующим образом.
После откачки прибора до 10-5 мм рт.ст. и технологической камеры до 10-2 мм рт.ст. производится подключение контуров охлаждения и затем включаются цепи накала катодного узла 5. После разогрева термокатода до заданной температуры включается ускоряющее напряжение и в промежутке катод 5-анод 10 формируется поток электронов. Предварительная фокусировка пучка осуществляется за счет вогнутости эмиссионной поверхности катода и выбора диаметра анодного отверстия dA и расстояния в системе катод-анод. Первый водяной контур 3 обеспечивает снятие температурных и упругих напряжений в системе держателей 21 даже при значительной мощности электронного накала, что стабилизирует положение фокуса электронного пучка. Последующая фокусировка и сопровождение пучка электронов в эквипотенциальном пространстве лучевода осуществляется магнитными линзами 13 и 14. Причем развертка на выходе 33 может производиться по спирали, по концентрическим окружностям, или вдоль двух осей, ортогональных к оси пучка. Двухполюсная линза 29 отклоняет пучок вдоль одной оси, ортогональной оси пучка, что позволяет производить вклад мощности сразу на большую поверхность, симметричную относительно оси пушки 36 между позициями 34 и 35, расстояние между которыми 37 может значительно превосходить диаметр лучевода dЛ. В режиме термообработки изделий, когда Т=450÷600°С поток газа, движущийся через водоохлаждаемый лучевод, существенно снижается. При этом вероятность развития пробоя либо зажигание пучково-плазменного разряда между электродами пушки также снижается, а большое поперечное сечение откачного патрубка и мощность откачного устройства позволяют непрерывно удерживать необходимый перепад давлений газа между областью ускорения и формирования пучка и зоной технологического взаимодействия пучка с изделием. Угол отклонения и развертки пучка в поперечном сечении конусной вставки 30 может составлять ±45°. Пушка имеет сборно-разборную конструкцию и обладает минимальными габаритами даже при мощности 50-100кВт и требует расхода воды в пределах 5÷10 л/мин. Магнитные линзы, встроенные в водоохлаждаемую капсулу лучевода, расположены в полости, сообщающейся с атмосферой через негерметичный штепсельный разъем 15. Поэтому газовыделение из обмоток, а также тепловое и механическое влияние электромагнитных линз на электронно-лучевой тракт отсутствуют.
Источники информации
1. Чвертко А.И. и др. Оборудование для электронно-лучевой сварки. Киев. Науково Думка. 1973 г., стр.129, 136, Фиг.80, 88.
2. Патент DE №1955846, Н05В 7/00, 12.04.1973 г.
Формула изобретения
1. Электронно-лучевая пушка для нагрева материалов в вакууме, содержащая цилиндрическую стойку с высоковольтным разъемом и системой охлаждения, в которой установлен вакуумно-плотный изолятор катодно-подогревательного узла, содержащий верхний фланец и держатели термокатода и нагревателя и анодный фланец с анодным электродом, опирающийся на лучевод, выполненный в виде герметичной цилиндрической капсулы с встроенными фокусирующей и отклоняющей магнитными линзами с выводами, вакуумную камеру с откачным патрубком и переходник для соединения лучевода с технологической камерой, отличающаяся тем, что система охлаждения собрана в виде двух контуров, первый контур выполнен в виде водяного дросселя, установленного соосно с изолятором пушки и подсоединенного через водяное сопротивление к водяной рубашке цилиндрического держателя термокатода и трубчатого держателя нагревателя, а второй контур выполнен в виде герметичного водоохлаждаемого кольцевого фланца, расположенного между основанием цилиндрической стойки и анодным фланцем, и водяной рубашки лучевода, вакуумная камера осесимметрично охватывает капсулу лучевода, при этом кольцевой фланец герметично закреплен на торце капсулы лучевода с помощью трех полых втулок, две из которых сообщаются с каналами охлаждения лучевода, а третья служит для ввода питания к магнитным линзам.
2. Электронно-лучевая пушка по п.1, отличающаяся тем, что переходник для соединения лучевода с технологической камерой выполнен в виде водоохлаждаемого патрубка, охваченного двухполюсной магнитной линзой, сопряженной с конусной вставкой, снабженной водяной рубашкой.
3. Электронно-лучевая пушка по п.1, отличающаяся тем, что расстояние h между кольцевым фланцем и торцом капсулы лучевода с внешним диаметром D и радиальный зазор между цилиндрической стенкой вакуумной камеры и внешней стенкой капсулы выбраны в соотношении: h= =0,25dy 2/D, где dy – диаметр откачного патрубка.
РИСУНКИ
|
|