|
|
(21), (22) Заявка: 2006110689/09, 03.04.2006
(24) Дата начала отсчета срока действия патента:
03.04.2006
(46) Опубликовано: 10.01.2008
(56) Список документов, цитированных в отчете о поиске:
RU 2260868 С2, 20.09.2005. SU 938327 A, 23.06.1982. US 3324430 А, 06.06.1967. GB 2356975 А, 06.06.2001.
Адрес для переписки:
440605, г.Пенза, пр. Байдукова/ул. Гагарина, 1а/11, Пензенская государственная технологическая академия
|
(73) Патентообладатель(и):
Пензенская государственная технологическая академия (RU)
|
(54) ВЫСОКОВОЛЬТНЫЙ ВАКУУМНЫЙ ПЕРЕКЛЮЧАТЕЛЬ
(57) Реферат:
Изобретение может найти применение в мощной стационарной, передвижной и бортовой электротехнической и радиотехнической аппаратуре, одним из важнейших требований к которой является малое потребление электрической энергии элементами на их управление. В переключателе используется электромагнитная система управления с поляризующим постоянным магнитом, обеспечивающим удержание подвижного контакта в двух крайних положениях после снятия напряжения питания с обмоток управления электромагнита. Параллельно каждому из жестких неподвижных контактов переключателя установлен упругий ленточный контакт, контактирующая поверхность которого выполнена выступающей над контактирующей поверхностью жесткого неподвижного контакта, по крайней мере, на 1-2 допуска на межконтактный зазор. Упругие ленточные контакты расположены с противоположной стороны от контактирующей поверхности жестких неподвижных контактов и электрически плотно закреплены на их выводах. Верхняя часть упругих ленточных контактов в месте их контактирования отогнута в противоположном направлении от П-образного дополнительного подвижного контакта. Упругие ленточные контакты изготовлены из термостойкого высокопроводящего немагнитного материала с малой склонностью к диффузионному свариванию в высоком вакууме (например, из молибдена) и могут быть выполнены в виде пакета тонких пластин. Технический результат – повышение пропускной способности по току высокой частоты и устойчивости к воздействию механических нагрузок и циклопрочности мембраны без увеличения массы и габаритов. 2 ил.
Изобретение относится к высоковольтным вакуумным переключателям, в которых используется электромагнитная система управления с поляризующим постоянным магнитом, обеспечивающим удержание подвижного контакта в двух крайних положениях после снятия напряжения питания с обмоток управления электромагнита.
Предлагаемый переключатель предназначен для коммутации высоковольтных электрических и радиотехнических цепей и может найти применение в мощной стационарной, передвижной и бортовой электротехнической и радиотехнической аппаратуре, одним из важнейших требований к которой является малое потребление электрической энергии элементами на их управление.
Переключатель в аппаратуре может быть использован для переключения источников питания и нагрузок, антенных цепей, отводов катушки высокочастотного контура, конденсаторов высоковольтных высокочастотных цепей в антенно-согласующих устройствах и т.д.
Известные вакуумные переключатели, выключатели и реле с поляризующим постоянным магнитом, используемые для этих целей, имеют ряд существенных недостатков.
Так, например, в вакуумном переключателе, описанном в [1], поляризующие постоянные магниты закреплены непосредственно на высоковольтных выводах, а обмотка управления расположена на оболочке из стекла, т.е. поляризующий магнитный поток в этом переключателе замыкается через «длинные воздушные» промежутки. Наличие больших воздушных промежутков ведет к значительному магнитному сопротивлению и большим потокам рассеивания энергии магнитного поля. Большие потери энергии магнитного поля существенно снижают силу удержания подвижного контакта в двух его крайних положениях, что резко снижает устойчивость переключателя к воздействию механических нагрузок. Кроме того, снижение при этом контактного нажатия ведет к повышению контактного сопротивления, а следовательно, к повышению потерь на нем и увеличению нагрева переключателя.
Другим не менее существенным недостатком данного переключателя является его низкая пропускная способность по току на высокой частоте из-за малого сечения и большой длины подвижного контакта. Кроме того, расположение постоянных магнитов на выводах, выполнение выводов из ковара, а якоря электромагнитной системы управления из магнитомягкого металла (пермендюр) исключает возможность пропускания через данный переключатель даже малых токов высокой частоты.
В конструкции вакуумного реле на переключение [2] приняты меры по снижению потоков рассеивания магнитного поля постоянного магнита и обеспечению пропускания через замкнутые контакты тока высокой частоты.
Однако и это вакуумное реле на переключение имеет существенный недостаток, состоящий в том, что вследствие малого рабочего сечения подвижного контакта на высокой частоте и особенно гибкой его мембраны из-за «скин-эффекта» в сравнении с сечением выводов реле имеет низкую пропускную способность по току на высокой частоте. Вследствие малого рабочего сечения мембраны, особенно в месте ее спая с подвижным контактом, имеет место большое сопротивление высокочастотному току, что в итоге ведет к значительным потерям энергии высокой частоты на нагрев мембраны в месте ее спая с подвижным контактом (до температур порядка 250-350°С). В совокупности с механической на нее нагрузкой от атмосферного давления и циклического изгиба в момент переключения подвижного контакта это ведет к резкому снижению циклической износостойкости мембраны, а следовательно, к снижению надежности работы данного реле.
Ближайшим техническим решением является конструкция вакуумного переключателя, предложенная в [3]. Устранение отмеченных выше недостатков в его конструкции достигнуто тем, что закрепленный в нем на гибкой мембране подвижный контакт стержневого типа снабжен дополнительным упругим ленточным контактом П- или -образной формы, боковые части которого расположены по обе стороны от подвижного контакта в образованном между подвижным и каждым из неподвижных контактов зазоре и закреплены нижними концами непосредственно на выводе подвижного контакта. Кроме того, дополнительный ленточный контакт выполнен с возможностью перемещения его верхней части вдоль подвижного контакта при прогибе его боковых частей после замыкания цепи для создания контактного нажатия. Причем боковые части дополнительного контакта установлены относительно подвижного контакта с зазором, величина которого определяется требуемым контактным нажатием и выбирается равной или превышающей величину прогиба боковых частей дополнительного контакта. Благодаря отмеченному обеспечено существенное увеличение пропускаемого через замкнутые контакты тока высокой частоты и циклической прочности мембраны.
Однако и этот вакуумный переключатель [3], наряду с упомянутым выше вакуумным реле, имеет общие с ним существенные недостатки. Один из них состоит в том, что в нем контактирование каждого жесткого неподвижного контакта с подвижным контактом происходит в одной точке малого сечения вследствие достаточно высокой твердости используемых материалов контактов для исключения их диффузионного сваривания в высоком вакууме и ограниченной по той же причине величины контактного нажатия. Малое сечение контактного перехода на высокой частоте является причиной сравнительно большого сопротивления замкнутых контактов, а следовательно, значительных потерь мощности высокой частоты на нагрев контактов. В результате это естественно ограничивает допустимую величину пропускаемого через эти переключатели тока высокой частоты. Вследствие того, что в этом переключателе неподвижный контакт выполнен жестким, он не имеет возможности перемещаться вместе с подвижным контактом при воздействием механических нагрузок, что является причиной размыкания цепи замкнутых контактов при воздействии вибрационных и ударных нагрузок, особенно в том случае, когда ускорение механических нагрузок направлено перпендикулярно продольной оси переключателя и совпадает с плоскостью перемещения подвижного контакта. Кроме того, в момент замыкания таких контактов мембрана, кроме ее естественного изгиба, испытывает дополнительно воздействие ударного импульса, действующего на сдвиг, что снижает циклопрочность мембраны.
Таким образом, в рассмотренных выше конструкциях вакуумных переключателей проблема существенного повышения пропускаемого тока высокой частоты при одновременном повышении устойчивости к воздействию механических нагрузок и циклопрочности мембраны без увеличения массы и габаритов не нашла эффективного решения.
Сущность предлагаемого изобретения заключается в том, что в отличие от известных, в предлагаемом вакуумном переключателе параллельно каждому из жестких неподвижных контактов установлен упругий ленточный контакт, контактирующая поверхность которого выполнена выступающей над контактирующей поверхностью жесткого неподвижного контакта, по крайней мере, на 1-2 допуска на межконтактный зазор, причем упругие ленточные контакты расположены с противоположной стороны от контактирующей поверхности жестких неподвижных контактов и электрически плотно закреплены на их выводах, верхняя часть упругих контактов в месте их контактирования отогнута в противоположном направлении от П-образного дополнительного подвижного контакта, а сами упругие ленточные контакты изготовлены из термостойкого высокопроводящего немагнитного материала с малой склонностью к диффузионному свариванию в высоком вакууме, например из молибдена. Кроме того, упругие ленточные контакты могут быть выполнены в виде пакета тонких пластин.
Сопоставительный анализ с известными техническими решениями позволяет сделать вывод о том, что заявляемый вакуумный переключатель отличается тем, что в нем параллельно каждому из жестких неподвижных контактов установлен упругий ленточный контакт, контактирующая поверхность которого выполнена выступающей над контактирующей поверхностью жесткого неподвижного контакта, по крайней мере, на 1-2 допуска на межконтактный зазор, причем упругие ленточные контакты расположены с противоположной стороны от контактирующей поверхности жестких неподвижных контактов и электрически плотно закреплены на их выводах, верхняя часть упругих контактов, в месте их контактирования отогнута в противоположном направлении от П-образного дополнительного подвижного контакта, а сами упругие ленточные контакты изготовлены из термостойкого высокопроводящего немагнитного материала с малой склонностью к диффузионному свариванию в высоком вакууме, например из молибдена. Кроме того, упругие ленточные контакты могут быть выполнены в виде пакета тонких пластин.
Таким образом, заявляемый вакуумный переключатель соответствует критерию изобретения «новизна». Анализ известных технических решений [1-3] позволяет сделать вывод об отсутствии у них признаков, сходных с отличительными признаками в заявляемом вакуумном переключателе и признать заявляемое техническое решение соответствующим изобретательскому уровню.
Реализация в предлагаемом вакуумном переключателе указанных выше технических решений устраняет существенные недостатки, присущие известным конструкциям вакуумных переключателей [1-3], без увеличения при этом его массы и габаритов.
Установка в предлагаемом вакуумном переключателе параллельно каждому из жестких неподвижных контактов дополнительных упругих контактов, контактирующая поверхность которых выполнена выступающей над контактирующей поверхностью неподвижных контактов, по крайней мере, на 1-2 допуска на межконтактный зазор, обеспечивает контактирование дополнительного П-образного контакта одновременно как с жестким неподвижным контактом, так и с параллельно ему установленным упругим ленточным контактом. Поэтому общее переходное (контактное) сопротивление замкнутых контактов в предлагаемом вакуумном переключателе определяется двумя параллельно соединенными между собой контактными сопротивлениями: контактным сопротивлением между дополнительным П-образным контактом и жестким неподвижным контактом и контактным сопротивлением между дополнительным П-образным контактом и упругим ленточным контактом. Упомянутые сопротивления контактных переходов практически равны друг другу, так как неподвижный жесткий и упругий ленточный контакты находятся в высоком вакууме почти под одинаковым контактным нажатием, а поэтому общая величина переходного контактного сопротивления у предлагаемого вакуумного выключателя почти в 2 раза меньше даже в сравнении с прототипом. В результате это способствует повышению пропускаемого тока высокой частоты при сохранении массы и габаритных размеров.
Выполнение упругого контакта, расположенного параллельно неподвижному контакту, в виде ленты увеличивает эффективное рабочее сечение на высокой частоте токопроводника от вывода до точки контактирования за счет параллельного соединения двух токопроводящих элементов: жесткого токопроводника (контакта) от точки контактирования жесткого неподвижного контакта с дополнительным подвижным П-образным контактом до его вывода и упругого ленточного контакта от точки его контактирования с дополнительным подвижным П-образным контактом до места крепления на выводе. Кроме того, наличие ленточного упругого контакта обеспечивает дополнительный отвод тепла через него от точки контактирования, что улучшает условия охлаждения зоны контактирования, т.е. снижает ее нагрев.
В совокупности, снижение почти в два раза переходного контактного сопротивления, повышение почти в два раза эффективного рабочего сечения токопроводника между выводами и зоной контактирования контактов и улучшение условий охлаждения обеспечивает существенное повышение величины пропускаемого тока высокой частоты без увеличения габаритов переключателя.
Выполнение контактирующей поверхности ленточных упругих контактов выступающей над контактирующей поверхностью жестких неподвижных контактов на 1-2 допуска на межконтактный зазор повышает надежность контактирования при работе переключателя с замкнутыми контактами в условиях воздействия ускорения механических нагрузок, так как упругий ленточный контакт будет непрерывно следовать за дополнительным П-образным подвижным контактом без разрыва при этом электрической цепи между ними. Кроме того, такое пространственное расположение упругого ленточного контакта обеспечивает демпфирование контактов в момент их контактирования при замыкании цепи, что исключает возникновение ударного импульса, действующего на сдвиг мембраны, и тем самым повышает ее циклопрочность, а следовательно и количество циклов переключений. За счет демпфирования также снижается и дребезг контактов в момент замыкания их цепи, что снижает время сформирования надежного контакта, а следовательно сокращает время перестройки аппаратуры на другую рабочую частоту.
Необходимость расположения контактирующей поверхности ленточных упругих контактов выступающей над контактирующей поверхностью неподвижных контактов именно на 1-2 допуска на межконтактный зазор обусловлена следующими причинами. При расположении контактирующей поверхности ленточных упругих контактов выступающей над контактирующей поверхностью жестких неподвижных контактов меньше допуска на межконтактный зазор величина перемещения упругого ленточного контакта будет недостаточной для обеспечения непрерывного контактирования между упругим ленточным контактом и дополнительным подвижным П-образным контактом в условиях воздействия ускорения механических нагрузок. При расположении контактирующей поверхности ленточных упругих контактов выступающей над контактирующей поверхностью жестких неподвижных контактов больше двух допусков на межконтактный зазор уменьшается межконтактый зазор, что приводит к снижению электрической прочности. Отмеченное выше исключается, если контактирующая поверхность упругих ленточных контактов выступает над контактирующей поверхностью жестких неподвижных контактов только на 1-2 допуска на межконтактный зазор, поскольку эта величина фактически включает в себя только сумму допуска (±) на межконтактный зазор.
Расположение упругих ленточных контактов с противоположной стороны от контактирующей поверхности жестких неподвижных контактов и жесткое их крепление на выводах исключает замыкание упругого ленточного контакта на дополнительный подвижный П-образный контакт при разомкнутом их положении от действия сил электростатического притяжения, имеющих большую величину в момент возникновения пробоев, особенно при одновременном воздействии ускорения от механических нагрузок, так как неподвижный жесткий контакт одновременно с пропусканием тока высокой частоты выполняет функцию ограничителя перемещения упругого ленточного контакта под воздействием электростатических сил притяжения. Это в результате повышает надежность работы предлагаемого вакуумного переключателя при воздействии ускорений механических нагрузок.
Выполнение верхней части упругих ленточных контактов в месте их контактирования отогнутой в противоположном от П-образного дополнительного подвижного контакта направлении снижает напряженность электрического поля между ними при разомкнутом положении, что ведет к снижению вероятности пробоя между этими контактами.
Изготовление упругого ленточного контакта из термостойкого высокопроводящего немагнитного металла с малой склонностью к свариванию в высоком вакууме, например из молибдена, снижает вероятность сваривания контактов при пропускании через них тока высокой частоты в замкнутом положении с подвижным дополнительным П-образным контактом. В свою очередь выполнение ленточного упругого контакта в виде пакета тонких пластин позволят повысить пропускаемый ток высокой частоты при том же общем сечении упругого ленточного контакта и одновременно уменьшить требуемое усилие для его деформации в сравнении со сплошным ленточным контактом того же поперечного сечения.
Таким образом, совокупность отмеченных выше существенных признаков предлагаемого изобретения позволяет получить значительный технический эффект, заключающийся в снижении почти в два раза переходного сопротивления замкнутых контактов; в повышении почти в два раза рабочего сечения токопроводника на высокой частоте от вывода до точки контактирования; в улучшении условий охлаждения зоны контактирования; в повышении величины пропускаемого тока высокой частоты без увеличения габаритов; в исключении ударного импульса на сдвиг мембраны в момент замыкания цепи контактов и повышения тем самым циклопрочности мембраны и количества циклов переключений; в снижении вероятности сваривания контактов; в снижении дребезга контактов в момент замыкания контактов и снижения тем самым времени сформирования надежного контакта; в снижении вероятности пробоев межконтактного зазора при воздействии ускорений механических нагрузок.
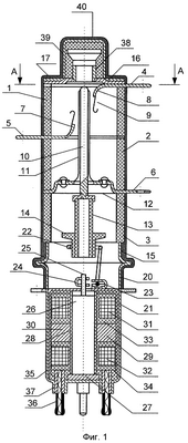
Сущность изобретения поясняется чертежами, где на фиг.1 изображен общий вид конструкции предлагаемого вакуумного переключателя, на фиг.2 – сечение по А-А на фиг.1.
Возможность осуществления изобретения подтверждается представлением конструкции вакуумного переключателя во взаимосвязи входящих в него элементов. Вакуумный переключатель состоит из вакуумной переключающей части и электромагнитной системы управления поляризованного типа с втяжным сердечником.
Вакуумная переключающая часть состоит из трех одинаковых соосно расположенных цилиндров 1, 2 и 3. Между керамическими цилиндрами расположены медные тонкостенные выводы 4 и 5 неподвижных и вывод 6 подвижного контактов, вакуум-плотно припаянные к торцовым поверхностям керамических цилиндров. Выводы 4 и 5 выполнены за одно целое с неподвижными контактами 7 и 8 для уменьшения сопротивления токопрохождению и снижения тем самым нагрева. Параллельно каждому неподвижному контакту 7 и 8 с противоположной от их контактирующей поверхности установлены ленточные упругие контакты 9 из молибдена или другого немагнитного упругого высокопроводящего металла. Нижней частью упругие ленточные контакты 9 жестко закреплены на плоской части жестких выводов 4 и 5, например с помощью сварки или пайки. Верхняя часть упругих ленточных контактов 9 отогнута в противоположную сторону от дополнительного П-образного подвижного контакта 11 и выступает над плоскостью контактирования неподвижных контактов на 1-2 допуска на межконтактный зазор. В зазоре между неподвижными контактами 7 и 8 и упругими ленточными контактами 9 расположены дополнительный П-образный контакт 11 и подвижный контакт 10, выполненный в форме круглого стержня из молибдена или другого немагнитного высокопроводящего механически прочного и термостойкого материала. Подвижный контакт 10 верхним концом входит в отверстие верхней части дополнительного упругого ленточного контакта 11 П-образной формы из молибдена или другого немагнитного высокопроводящего упругого и термически стойкого металла. Нижним концом подвижный контакт 10 вакуум-плотно спаян с мембраной 12 из молибдена или немагнитного высокопроводящего сплава, обладающего высокой циклической прочностью при изгибе, вакуумной плотностью и термической стойкостью, например из сплава молибдена с рением. К выступающей из мембраны 12 части подвижного контакта 10 механически прочно прикреплен, например с помощью пайки, изоляционный стержень 13 из керамики, который служит для изоляции подвижного контакта 10 от электромагнитной системы управления. На конце керамического стержня (изолятора) 13 механически прочно закреплена дополнительная втулка 14, служащая для исключения абразивного износа поводка 22 о керамический изолятор 13. Втулка 14 может быть выполнена из диэлектрика, например из твердой пластмассы с наполнением из стекла, или из металла, например из латуни или другого металла или сплава с малым коэффициентом трения скольжения в паре с материалом поводка 22. Втулка 14 может быть выполнена и комбинированной, т.е. из диэлектрика и металла, при этом металлическая трубка напрессовывается на внешнюю поверхность дополнительной втулки 14. Дополнительный подвижный ленточный контакт 11 нижними концами боковых частей жестко механически и электрически прочно прикреплен (с помощью пайки, клепки, сварки и др.) непосредственно к выводу 6 подвижного контакта 10. К нижнему торцу керамического цилиндра 3 механически прочно с помощью пайки прикреплено переходное кольцо 15, служащее для скрепления вакуумной переключающей части с электромагнитной системой управления подвижным контактом. К торцу вывода 4 припаяна вакуумно-плотно шайба 16 из немагнитного металла, пайка которой для снижения термомеханических напряжений в зоне спая производится с применением компенсационного кольца 17 из молибдена или ковара с высокопроводящим покрытием. Для сохранения и поддержания в объеме переключателя рабочего давления (вакуума не хуже 10-5 мм рт.ст.) в течение заданного срока службы служит нераспыляемый газопоглотитель 18, закрепленный через никелевую пластину 19 на выводе подвижного контакта 6. Рассмотренный выше вариант конструкции вакуумной переключающей части переключателя предусматривает бесштенгельную откачку и запайку. В случае использования штенгельного способа откачки в центре шайбы 16 припаивается вакуум-плотно трубка штенгеля 38, которая после ее вакуум-плотного отпая от откачного поста защищается колпачком 39.
Электромагнитная система управления заключена в корпус 20 и включает в себя корпус электромагнита 21 из магнитомягкого металла, в верхней части основания которого выполнен выступ, служащий местом опоры поводка 22 из упругого металла. Поводок 22 закреплен на корпусе электромагнита с помощью пружинной накладки 23, жестко с помощью сварки прикрепленной к корпусу электромагнита 21. Поводок 22 подвижно соединен с накладкой 24, скрепленной жестко со стержнем 25 из немагнитного металла, который в свою очередь жестко закреплен в сердечнике 26 из магнитомягкого металла. Снизу ход сердечника 26 ограничен основанием 27 из магнитомягкого металла. Для обеспечения перемещения сердечника 26 в осевом направлении он помещен в направляющую втулку 28 из немагнитного металла, например из латуни. На внешней поверхности втулки 28 строго посередине и диаметрально противоположно закреплены два постоянных магнита 29 и 30, выполненных в виде секторов и имеющих радиальное направление силовых линий магнитного поля (с радиальным намагничиванием). По обе стороны от постоянных магнитов 29 и 30 расположены обмотки управления 31 и 32, намотанные на каркасы 33 и 34. Система обмоток и постоянные магниты закрыты охранным цилиндром 35 из изоляционного материала. Распайка провода обмоток выполнена на выводы 36 изолятора 37.
При сочленении вакуумной переключающей части с электромагнитной системой управления дополнительная втулка 14 входит в кольцевое отверстие поводка 22 с гарантированным зазором, обеспечивающим подвижность сочленения с минимальным паразитным люфтом. Затем переходное кольцо 15 и корпус 20 жестко скрепляют между собой, например с помощью сварки.
Описанный выше вакуумный переключатель имеет дистанционное импульсное управление, т.е. он потребляет электрическую энергию на управление только в момент переключения. В исходном состоянии подвижный контакт 10 и дополнительный контакт 11 замкнуты на один (любой) из неподвижных контактов, например на верхний неподвижный контакт 8 и упругий ленточный контакт 9. В этом случае ток высокой частоты проходит через вывод 5, а затем разветвляется на жесткий неподвижный контакт 8 и упругий ленточный контакт 9, а далее на дополнительный контакт 11 и на неподвижный контакт 10. При этом большая часть тока идет через боковые части дополнительного П-образного контакта 11 непосредственно на вывод 6, минуя мембрану 12, а меньшая его часть на вывод 6 идет через подвижный контакт 10 и мембрану 12.
В исходном положении для рассматриваемого случая магнитный поток постоянных магнитов замкнут по следующему пути: постоянные магниты 29 и 30, часть сердечника 26, прилегающую к основанию 27, основание 27, цилиндрическая часть корпуса электромагнита 21 и далее постоянные магниты 29 и 30.
Для переключения подвижного контакта 10 и дополнительного контакта 11 на нижний неподвижный контакт 7 и установленный параллельно ему упругий ленточный контакт 9 на нижнюю обмотку управления 32 подается импульс напряжения с полярностью, создающей в обмотке управления магнитный поток управления, противоположно направленный поляризующему магнитному потоку постоянного магнита в данной ветви магнитопровода. При достижении в магнитной цепи данной ветви равенства поляризующего и управляющего магнитных потоков за счет магнитного потока второй ветви и мгновенного перераспределения основного магнитного потока на вторую ветвь сердечник 26 перебрасывается во второе устойчивое состояние – к основанию корпуса электромагнита 21. При этом поступательное осевое перемещение сердечника 26 за счет подвижных связей поводка 22 преобразуется во вращательное движение поводка 22 и связанного с ним подвижного контакта 10 и дополнительного П-образного контакта 11, которые перебрасываются на неподвижный контакт 7 и установленный параллельно ему второй упругий ленточный контакт 9. Кинематическая схема подбирается таким образом, чтобы замыкание контактов происходило несколько раньше, чем сердечник 26 достигнет основания корпуса электромагнита 21. При этом дополнительный подвижный П-образный контакт 11 сначала замыкается на упругий ленточный контакт 9, а затем уже на жесткие неподвижные контакты 7 и 8, так как упругие контакты 9 располагаются ближе к дополнительному подвижному П-образному контакту 11 на 1-2 допуска на межконтактный зазор в сравнении с жесткими неподвижными контактами 7 и 8. После замыкания цепи при дальнейшем движении сердечника 26 до упора на основание корпуса электромагнита 27 за счет прогиба боковой части дополнительного упругого контакта 11 и поводка 22 и упругих свойств их материала создается требуемое контактное нажатие. Для возвращения подвижного контакта 10 и дополнительного П-образного контакта 11 к верхнему неподвижному контакту 8 и упругому ленточному контакту 9 напряжение питания соответствующей полярности и величины подается на обмотку 31. Процессы переключения и создания контактного нажатия на неподвижный контакт 8 аналогичны вышеописанным при переключении подвижного контакта 10 и дополнительного подвижного П-образного контакта 11 на неподвижный контакт 7.
С целью повышения электрической прочности между высоковольтными выводами по внешней поверхности вся поверхность металлокерамической оболочки может быть покрыта слоем высокочастотного диэлектрика 40, например виксинта или кремнийорганического лака.
Источники информации
1. Патент США №3324430, кл. 335-83, 1967.
2. Патент Англии №2996621, кл. Н01Н 33/66, 1972.
3. Авт. свид. СССР №938327, кл. Н01Н 33/66, 1982.
Формула изобретения
Высоковольтный вакуумный переключатель, содержащий укрепленные в вакуумированной камере на выводах два жестких неподвижных контакта, расположенный между ними дополнительный подвижный упругий ленточный контакт П-образной формы и подвижный стержневой контакт, укрепленный на мембране и связанный через изолятор и поводок с сердечником, управляемым электромагнитной системой управления с поляризующими постоянными магнитами, отличающийся тем, что в нем параллельно каждому из жестких неподвижных контактов установлен упругий ленточный контакт, контактирующая поверхность которого выполнена выступающей над контактирующей поверхностью жесткого неподвижного контакта по крайней мере на 1-2 допуска на межконтактный зазор, причем упругие ленточные контакты расположены с противоположной стороны от контактирующей поверхности жестких неподвижных контактов и электрически плотно закреплены на их выводах, верхняя часть упругих контактов в месте их контактирования отогнута в противоположном направлении от П-образного дополнительного подвижного контакта, а сами упругие ленточные контакты изготовлены из термостойкого высокопроводящего немагнитного материала с малой склонностью к диффузионному свариванию в высоком вакууме, например из молибдена, и могут быть выполнены в виде пакета тонких пластин.
РИСУНКИ
MM4A – Досрочное прекращение действия патента СССР или патента Российской Федерации на изобретение из-за неуплаты в установленный срок пошлины за поддержание патента в силе
Дата прекращения действия патента: 04.04.2008
Извещение опубликовано: 20.04.2010 БИ: 11/2010
|
|