|
|
(21), (22) Заявка: 2006124696/09, 10.07.2006
(24) Дата начала отсчета срока действия патента:
10.07.2006
(46) Опубликовано: 10.01.2008
(56) Список документов, цитированных в отчете о поиске:
SU 334916 A1, 01.01.1972. RU 2152660 C1, 10.07.2000. SU 978218 A1, 30.11.1982. US 3764761 A1, 09.10.1973. US 2782277 A1, 19.02.1957. US 2840657 A1, 24.06.1958.
Адрес для переписки:
357910, Ставропольский край, г. Зеленокумск, ул. Семенова, 1, ОАО “ВЭЛАН”, Генеральному директору
|
(72) Автор(ы):
Герман Евгений Яковлевич (RU), Коломейцев Геннадий Евгеньевич (RU)
(73) Патентообладатель(и):
Открытое Акционерное Общество “ВЭЛАН” (RU)
|
(54) ВЫКЛЮЧАТЕЛЬ МГНОВЕННОГО ДЕЙСТВИЯ
(57) Реферат:
Изобретение относится к области электротехники, в частности к выключателям мгновенного действия, и может быть использовано для сигнализации и дистанционного управления электроприводами машин и механизмов. Технический результат заключается в уменьшении габаритов, высокой вибро- и удароустойчивости, надежности в эксплуатации, точности срабатывания. Выключатель мгновенного действия содержит основание, установленные на нем неподвижные контакты, подвижные контакты, расположенные на контактном мостике. Контактный мостик закреплен в траверсе. Приводной элемент, выполненный в виде толкателя и скобы, соединен с подвижными контактами посредством механизма переключения, имеющего, по крайней мере, два узла, расположенных симметрично относительно оси приводного элемента. Каждый из узлов механизма переключения состоит из рычага и пружины. Внешние концы рычагов и пружин соединены между собой с возможностью углового поворота друг относительно друга. Внешние концы рычагов упираются в ограничители движения, расположенные на основании. Внутренние концы пружин соединены с траверсой, несущей подвижные контакты, с возможностью углового поворота относительно ее. Внутренние концы рычагов закреплены на приводном элементе с возможностью углового поворота относительно его. 3 ил.
Область техники, к которой относится изобретение
Изобретение относится к электротехнике, в частности к выключателям мгновенного действия, и может быть использовано для дистанционного управления электроприводами машин и механизмов в стационарных установках и на средствах наземного, морского и воздушного транспорта, где они приводятся в действие управляющими упорами, а так же для сигнализации, связанной с названными электроприводами, либо другими электротехническими устройствами.
Уровень техники
Известен выключатель, относящийся к низковольтным малогабаритным выключателям мгновенного действия с двойным разрывом электрической цепи. Технический результат от использования изобретения состоит в повышении коммутационной способности выключателя и достигается изменением конструкции подвижного управляющего элемента. Выключатель содержит корпус, подвижный управляющий элемент, расположенный в направляющих пазах корпуса, ограничивающих крайнее верхнее положение управляющего элемента, неподвижные контакты, оканчивающиеся плоскими штыревыми выводами, возвратную пружину, подвижную траверсу с контактами и переключающие пружины сжатия, соединяющие траверсу с управляющим элементом таким образом, что усилие данных пружин в исходном положении управляющего элемента обеспечивает прижатие контактов траверсы к нижней паре неподвижных контактов. При этом на поперечных гранях управляющего элемента имеются кулисные направляющие в виде ребер, расположенные под углом к направлению перемещения управляющего элемента и сопряженные с элементами траверсы (см. пат. РФ №2152660, кл. Н01Н 13/28, Н01Н 1/20, опубл. 10.07.2000 г.).
Недостатком данного выключателя является сложность конструкции, невысокая надежность.
Известен выключатель мгновенного действия, содержащий основание, неподвижные контакты, закрепленные на основании, подвижные контакты, коммутирующие с неподвижными контактами. С подвижными контактами связан приводной элемент, образованный толкателем и скобой, посредством механизма переключения подвижных контактов, имеющий, по крайней мере, два узла, расположенных симметрично относительно оси приводного элемента. Каждый из узлов механизма состоит из рычага и пружины (см., например, патент США №3764761, класс 200-76, 1973 г., фиг.4, 5).
Недостатком данного выключателя является невысокая коммутационная способность.
Наиболее близким по технической сущности и достигаемому положительному эффекту и принятый авторами за прототип является выключатель мгновенного действия, содержащий неподвижные контакты, приводной элемент и механизм мгновенного действия, служащий для переброса, подвижных контактов, при этом механизм мгновенного действия выполнен в виде симметрично расположенных по обе стороны приводного элемента и попарно соединенных между собой звеньев и пружинящих элементов, причем одни их концы соединены с приводным элементом и подвижными контактами, а другие соединены между собой, упираются в ограничители движения.
В выключателе из указанных пар содержащая звено и пружинящий элемент пара развернута в плоскости относительно другой такой же пары на 180° и совмещена с ней (см. а.с. СССР №334916, кл. Н01Н 13/22, опубл. 01.01.1972 г.).
Недостатком данного выключателя является то, что длительное замкнутое положение контактов под электрической нагрузкой с недостаточным контактным давлением и медленное переключение контактов является причиной различных аварийных ситуаций, таких как оплавление, обгорание, сваривание контактов.
Раскрытие изобретения
Задачей предлагаемого изобретения является разработка выключателя мгновенного действия, конструктивное выполнение механизма переключения и неподвижных контактов которого позволило бы уменьшить габариты микровыключателя при одновременном обеспечении высокой вибро- и удароустойчивости, надежности в эксплуатации, точности срабатывания.
Технический результат, который может быть достигнут с помощью предлагаемого изобретения, сводится к уменьшению габаритов микровыключателя, высокой вибро- и удароустойчивости, надежности в эксплуатации, точности срабатывания.
Технический результат достигается с помощью выключателя мгновенного действия, содержащего основание, на котором закреплены неподвижные контакты и подвижные контакты, закрепленные на контактном мосте, последний закреплен в траверсе, и коммутирующие с неподвижными контактами, приводной элемент, состоящий из толкателя и скобы, механизм переключения подвижных контактов и ограничители движения, при этом приводной элемент соединен с подвижными контактами посредством механизма переключения подвижных контактов, причем механизм переключения имеет по крайней мере два узла, расположенных симметрично относительно оси приводного элемента, при этом каждый из узлов состоит из рычага и пружины, а внешние концы рычагов и пружин соединены между собой с возможностью углового поворота относительно друг друга, причем внешние концы рычагов упираются в ограничители движения, расположенные на основании, а внутренние концы рычагов соединены с приводным элементом с возможностью углового поворота относительно его, внутренние концы пружин соединены с траверсой, на которой закреплены подвижные контакты и соединены между собой с возможностью углового поворота относительно траверсы, при этом расстояние между местами соприкосновения внешних концов рычагов с ограничителями движения больше, чем расстояние между местами крепления концов рычагов на приводном элементе, а неподвижные контакты состоят из трех частей: средней, проходящей сквозь основание, наружной части, выходящей из основания наружу для крепления токопроводов, и внутренней части, размещенной внутри основания для крепления неподвижных контактов, при этом рычаги и пружины механизма переключения неподвижных контактов изогнуты в виде С-образных скоб таким образом, что изгибы рычага и пружины направлены в одну сторону по отношению к неподвижным контактам, а в зонах, образованных изгибами рычагов и пружин, размещены прилегающие к ним средние части неподвижных контактов, проходящие сквозь основание, причем неподвижные контакты размещены внутри основания выключателя в зоне, охватываемой средними частями неподвижных контактов, проходящих сквозь основание.
Краткое описание чертежей
На фиг.1 дан выключатель мгновенного действия с подвижными контактами в исходном положении, общий вид.
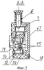
На фиг.2 – то же, разрез по А-А.
На фиг.3 – то же, с подвижными контактами в переключенном положении.
Осуществление изобретения
Выключатель мгновенного действия содержит основание 1 (фиг.1), выполненное из материала изоляционного, неподвижные контакты 2, закрепленные на основании 1, подвижные контакты 3, закрепленные на контактном мосте 4 и коммутирующие с неподвижными контактами 2, контактный мост 4, закреплен в траверсе 5, выполненной из изоляционного материала, с подвижными контактами 3 связан приводной элемент, выполненный из толкателя 6 и скобы 7 посредством механизма переключения подвижных контактов 3, имеющего, по крайней мере, два узла, расположенных симметрично относительно оси приводного элемента. Каждый из узлов механизма переключения состоит из рычага 8 и пружины 9. Внешние концы рычагов 8 и пружины 9 соединены между собой с возможностью углового поворота относительно друг друга; при этом внешние концы рычагов 8 упираются в верхние ограничители 10 движения, расположенные на основании 1. Внутренние концы пружин 9 соединены с траверсой 5, несущей подвижные контакты 3, с возможностью углового поворота относительно ее. Внутренние концы рычагов 8 закреплены на приводном элементе с возможностью углового поворота относительно его; расстояние между местами соприкосновения внешних концов рычагов 8 с ограничителями движения больше, чем расстояние между местами крепления внутренних концов рычагов 8, на приводном элементе контактный мост 4 закреплен в траверсе 5, неподвижные контакты 2, коммутирующие с подвижными контактами 3, размещены внутри основания 1 выключателя в зоне 11, охватываемой средними частями 12 неподвижных контактов 2, проходящих сквозь основание 1.
Рычаги 8 и пружины 9 механизма переключения подвижных контактов 3 изогнуты в виде С-образной скобы таким образом, что изгибы рычага 8 и пружины 9 направлены в одну сторону по отношению к неподвижным контактам 2, а в зоне 13 (фиг.3), образованной изгибами рычагов 8 и пружин 9, размещены прилегающие к ним средние части 12 неподвижных контактов 2, проходящая сквозь основание 1 наружная часть 14, выходящая из основания 1 наружу и служащая для крепления токопроводов (не показаны) и внутренняя часть 15, размещенная внутри основания, служащая для крепления неподвижных контактов 2. Приводной элемент поджат возвратной пружиной 16. Основание 1 соединено с крышкой 17 заклепками 18 и содержит нижние ограничители 19 движения, размещенные на основании 1.
Выключатель мгновенного действия работает следующим образом.
При воздействии на приводной элемент внешней силы концы рычагов 8, соединенные со скобой 7, смещаются вниз и при достижении места крепления концов пружин 9 на траверсе 5 происходит переключение рычагов 8 и пружин 9 в другое положение (фиг.3) до упора концов рычагов 8 в нижние ограничители 19 движения, размещенные на основании 1. При этом подвижные контакты 3 переключаются вверх до упора в верхние неподвижные контакты 2.
При устранении внешней силы с приводного элемента все подвижные детали под действием возвратной пружины 16 занимают исходное положение (фиг.1).
В предложенном выключателе только одновременное использование конструктивных особенностей позволяет уменьшить его габариты по глубине и высоте: размещение неподвижных контактов 2, коммутирующих с подвижными контактами 3, в зоне 11, образованной средними частями 12 неподвижных контактов 2, проходящих сквозь основание 1 и размещения средней части 12 неподвижных контактов 2, в зоне 13, образованной изгибами рычагов 8 и пружины 9.
Предлагаемое изобретение по сравнению с прототипом и другими известными техническими решениями имеет следующие преимущества:
– высокую надежность;
– малые габариты;
– и исключение аварийных ситуаций, таких как оплавление, обгорание, сваривание контактов.
Формула изобретения
Выключатель мгновенного действия, содержащий основание, на котором закреплены неподвижные контакты и подвижные контакты, закрепленные на контактном мосте, последний закреплен в траверсе, и коммутирующие с неподвижными контактами приводной элемент, состоящий из толкателя и скобы, механизм переключения подвижных контактов и ограничители движения, отличающийся тем, что приводной элемент соединен с подвижными контактами посредством механизма переключения подвижных контактов, при этом механизм переключения имеет по крайней мере два узла, расположенных симметрично относительно оси приводного элемента, причем каждый из узлов состоит из рычага и пружины, при этом внешние концы рычагов и пружин соединены между собой с возможностью углового поворота относительно друг друга, причем внешние концы рычагов упираются в ограничители движения, расположенные на основании, а внутренние концы рычагов соединены с приводным элементом с возможностью углового поворота относительно него, внутренние концы пружин соединены с траверсой, на которой закреплены подвижные контакты и соединены между собой с возможностью углового поворота относительно траверсы, при этом расстояние между местами соприкосновения внешних концов рычагов с ограничителями движения больше, чем расстояние между местами крепления концов рычагов на приводном элементе, а неподвижные контакты состоят из трех частей: средней, проходящей сквозь основание наружной части, выходящей из основания наружу для крепления токопроводов, и внутренней части, размещенной внутри основания для крепления неподвижных контактов, при этом рычаги и пружины механизма переключения неподвижных контактов изогнуты в виде С-образных скоб таким образом, что изгибы рычага и пружины направлены в одну сторону по отношению к неподвижным контактам, а в зонах, образованных изгибами рычагов и пружин, размещены прилегающие к ним средние части неподвижных контактов, проходящие сквозь основание, причем неподвижные контакты размещены внутри основания выключателя в зоне, охватываемой средними частями неподвижных контактов, проходящих сквозь основание.
РИСУНКИ
|
|