|
|
(21), (22) Заявка: 2003105737/09, 27.02.2003
(24) Дата начала отсчета срока действия патента:
27.02.2003
(43) Дата публикации заявки: 20.09.2004
(46) Опубликовано: 10.01.2008
(56) Список документов, цитированных в отчете о поиске:
SU 20914 А, 23.05.1987. SU 1617466 A1, 30.12.1990. RU 2121180 C1, 27.10.1998. RU 3346 U1, 16.12.1996. SU 943862 A1, 15.07.1982. US 200274156 A1, 20.06.2002. WO 9418734 A1, 18.08.1994.
Адрес для переписки:
189510, Санкт-Петербург, Ломоносов, в/ч 20914, командиру части
|
(72) Автор(ы):
Крысов Павел Васильевич (RU), Леонов Константин Борисович (RU), Сергеев Игорь Анатольевич (RU), Данейкуль Сергей Геннадьевич (RU), Ефремов Сергей Леонидович (RU)
(73) Патентообладатель(и):
Войсковая часть 20914 (RU)
|
(54) ТОКОВВОД ВЫСОКОГО ДАВЛЕНИЯ
(57) Реферат:
Изобретение относится к устройствам барокамер, предназначенным для передачи электроэнергии в отсеки с повышенным давлением газовой среды, а также осуществления связи и приема информации медицинского приборного контроля о жизнедеятельности водолазов. Техническим результатом является обеспечение надежности путем сохранения его герметичности, механической и электрической прочности при повышенном давлении газовой среды в течение установленного срока службы, а также обеспечение его ремонтопригодности. Токоввод высокого давления содержит металлические корпуса розетки и вилки с резьбовым соединением, выполненные в виде полых цилиндров. Во внутренних полостях корпусов установлены контактные гнезда розетки и штыри вилки. Все детали выполнены самоуплотняющимися с коническими взаимодействующими между собой соединительными поверхностями, предварительно уплотненными с необходимым удельным давлением посредством прижимных гаек и снабжены резиновыми уплотнительными кольцами. 1 ил.
Изобретение относится к устройствам водолазной техники, предназначенным для передачи электроэнергии через корпус в отсеки с повышенным давлением газовой среды, а также осуществления связи и приема информации медицинского приборного контроля о жизнедеятельности водолазов.
В настоящее время известны кабельные вводы декомпрессионных камер, герметизация ввода кабеля в которых достигается созданием в сальниковом уплотнении удельного давления сжатия на кабель, превышающего давление газовой среды в камере [1].
Недостатком данных кабельных вводов является отсутствие возможности контроля за величиной обжатия кабеля в сальниковом уплотнении, которое приводит к утончению резиновых оболочек кабеля, а следовательно, к снижению электрического сопротивления изоляции и в дальнейшем к короткому замыканию жил кабеля. Это не позволяет применять указанные кабельные вводы в барокамерах с рабочим давлением более 1,0 МПа (10,0 кгс/см2).
Известны также кабельные вводы барокамер, герметизация и изоляция электрических проводников в которых осуществляется заполнением внутренних полостей контактных корпусов различными самотвердеющими полимерными компонентами, например эпоксидным компаундом [2].
Данные токовводы имеют существенные недостатки, заключающиеся в неконтролируемом качестве адгезии полимерной композиции с металлическими и электроизоляционными материалами корпусов и проводников, в снижении электрического сопротивления изоляции проводников между собой и корпусом, а самое главное в потере герметичности непрочности уплотнительной массы через неопределенное время в результате ее полимеризации. К тому же такие токовводы не подлежат разборке и восстановлению.
Указанные недостатки могут привести к разгерметизации барокамеры, а следовательно, к неуправляемому снижению в ней давления газовой среды, что опасно для жизни водолазов. Кроме того, снижение электрического сопротивления изоляции токоввода может вызвать короткое замыкание в электрических цепях и выход их из строя, а также травмировать людей.
Задачей изобретения является обеспечение надежности токоввода путем сохранения его герметичности, механической и электрической прочности при повышенном давлении газовой среды в течение установленного срока службы, а также обеспечение его ремонтопригодности.
Данная задача достигается тем, что детали токоввода выполнены самоуплотняющимися с коническими взаимодействующими между собой соединительными поверхностями, предварительно уплотненными посредством прижимных гаек, и снабжены резиновыми уплотнительными кольцами, а герметизирующие контактные корпуса расположены последовательно, образуя двойной запор.
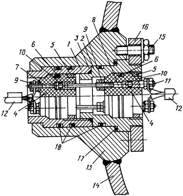
На чертеже изображен общий вид токоввода высокого давления.
Корпус 1 розетки и корпус 2 вилки соединены резьбовым соединением и уплотнены между собой резиновым уплотнительным кольцом 3. Во внутренние полости корпусов 1 и 2 установлены контактные корпуса 4 соответственно розетки и вилки (изготовленные из электроизоляционных материалов, например эбонит или текстолит), которые с помощью нажимных гаек 5 прижаты коническими уплотнительными поверхностями к аналогичным поверхностям корпусов 1 и 2. На контактных корпусах 4 установлены резиновые уплотнительные кольца 6. В цилиндрических гнездах контактных корпусов 4 розетки и вилки установлены соответственно гнезда 7 розетки и штыри 8 вилки, также имеющие конические уплотнительные поверхности, которыми прижаты к коническим уплотнительным поверхностям своих контактных корпусов гайками 9. Гнезда 7 розетки и штыри 8 вилки имеют уплотнительные кольца 10.
Гайками 9 к гнездам 7 розетки и гайками 11 к штырям 8 вилки крепятся наконечники токоведущих жил кабелей 12. Соединенные между собой собранные корпуса розетки 1 и вилки 2 установлены в полость стакана 13, вваренного в отверстие корпуса 14 барокамеры, и прижаты к нему резьбовыми шпильками с гайками 15 посредством фланца 16 и уплотнены красномедной прокладкой 17, а также резиновыми уплотнительными кольцами 18.
Предлагаемый токоввод, в котором герметизирующие контактные корпуса в сборе расположены последовательно, образуя двойной запор, позволит обеспечить герметичность барокамер при высоком (до 5,0 МПа) давлении любой газовой дыхательной среды, а также надежность и безопасность передачи в барокамеры электроэнергии и стабильность поддержания связи с водолазами.
Изготовление предложенного токоввода и последующая его оборка не представляют сложности. По сравнению с указанными аналогами предлагаемый токоввод ремонтопригоден в процессе его длительной эксплуатации.
Источники информации
1. Гермоввод черт. КВТЮ. 362676. 685 СБ.
2. Авторское свидетельство СССР №1312650, кл. Н01В 17/26, 1987.
Формула изобретения
Токоввод высокого давления, содержащий металлические корпуса розетки и вилки с резьбовым соединением, выполненные в виде полых цилиндров, установленные во внутренние полости корпусов контактные корпуса с гнездами розетки и штырями вилки, отличающийся тем, что его детали выполнены самоуплотняющимися с коническими взаимодействующими между собой соединительными поверхностями, предварительно уплотненными с необходимым удельным давлением посредством прижимных гаек, и снабжены резиновыми уплотнительными кольцами.
РИСУНКИ
|
|