|
(21), (22) Заявка: 2003106165/09, 05.03.2003
(24) Дата начала отсчета срока действия патента:
05.03.2003
(30) Конвенционный приоритет:
13.03.2002 DE 10210919.2
(43) Дата публикации заявки: 20.09.2004
(46) Опубликовано: 10.01.2008
(56) Список документов, цитированных в отчете о поиске:
US 4600977 А, 15.07.1986. SU 2039315 A1, 09.07.1995. SU 1246181 A1, 23.07.1986. US 4126774 A, 21.11.1978. EP 0423848 A, 24.04.1991. US 6068383 A, 30.05.2000.
Адрес для переписки:
191186, Санкт-Петербург, а/я 230, “АРС-ПАТЕНТ”, пат.пов. В.М.Рыбакову, рег. № 90
|
(72) Автор(ы):
БАРЛИАН Рейнгольд (DE), ЛЮКС Карл-Хайнц (DE)
(73) Патентообладатель(и):
Бартек ГмбХ (DE)
|
(54) СИГНАЛЬНЫЙ ФОНАРЬ
(57) Реферат:
Настоящее изобретение относится к визуальным сигнальным устройствам, в частности к сигнальному фонарю для оптической индикации. Техническим результатом от использования изобретения является упрощение конструкции и обеспечение высокой функциональной способности при низкой температуре теплоизлучения и ярком и равномерном свечении. Сигнальный фонарь для оптической индикации содержит корпус с электропроводящими элементами и светодиод, размещенный в световом стержне, снабженном светопроницаемым световым куполом, причем обращенная к светодиоду внутренняя поверхность светового купола выполнена с мелкозернистой структурой, рассеивающей свет. 17 з.п. ф-лы, 1 ил.
Область техники, к которой относится изобретение
Настоящее изобретение относится к сигнальному фонарю для оптической индикации.
Уровень техники
Известные световые указатели, снабженные светодиодами, имеют недостаточное распределение света и неравномерное освещение, так что их индикаторная способность хуже, чем у сравнимых с ними ламп накаливания. Существуют различные типы светодиодов с самыми различными схемами излучения. Светодиод с узким углом свечения создает яркое, резкое точечное освещение, но не дает никакого освещения поверхности. Светодиод с широким углом свечения не обеспечивает достаточной яркости для удовлетворения требований создания однозначного сигнала. Известно использование платы с припаянными на ней несколькими светоизлучающими диодами (общепринятая аббревиатура СИД) под названием Multi LED (Мульти-СИД). Такое устройство имеет относительно высокую стоимость и не дает достаточного улучшения свечения. Кроме того, оно выделяет большое количество тепла, так что его применение во взрывоопасных зонах ограничено нормами в соответствии с стандартом DIN EN 50014/18/19.
Известно также устройство, в котором обычные светодиоды расположены по окружности, а световая поверхность снабжена множеством маленьких линз. Однако при этом чередующиеся яркие и темные зоны образуют помехи, в особенности в тех случаях, когда на световой поверхности находятся символы или буквенные знаки. Кроме того, такое устройство имеет высокую стоимость.
Сущность изобретения
Задача, на решение которой направлено настоящее изобретение, заключается в создании сигнального фонаря, в котором простыми средствами обеспечивается высокая функциональная способность при низкой температуре теплоизлучения и ярком и равномерном свечении.
В соответствии с изобретением решение поставленной задачи достигается в сигнальном фонаре для оптической индикации, содержащем корпус с электропроводящими элементами и светодиод, размещенный в световом стержне, снабженном светопроницаемым световым куполом, причем обращенная к светодиоду внутренняя поверхность светового купола выполнена с мелкозернистой структурой, рассеивающей свет.
Световой купол светового стержня может быть выполнен с молочной или молочной флюоресцентной подкраской.
Световой стержень со световым куполом может быть выполнен в виде цельного элемента из одного материала, предпочтительно в виде цилиндрической трубки, один конец которой закрыт световым куполом.
Предпочтительно световой стержень укреплен в корпусе своей трубчатой частью, удаленной от светового купола. В соответствии с требованиями взрывобезопасности часть светового стержня может быть залита в корпусе с помощью литьевой смолы, а световой стержень может быть выполнен в виде оболочки повышенной прочности.
Корпус может быть закрыт крышкой, через которую проходит световой стержень, а в самом световом стержне зафиксирована между удерживающими ребрами печатная плата, на которой расположены светодиод и электронные компоненты.
Выступающая за крышку корпуса часть светового стержня предпочтительно окружена световой насадкой, снабженной светопроницаемой световой крышкой, охватывающей световой купол светового стержня.
Обращенная к световому куполу светового стержня внутренняя поверхность световой крышки предпочтительно выполнена с мелкозернистой структурой, рассеивающей свет, наиболее предпочтительно чтобы мелкозернистая структура внутренней поверхности светового стержня и мелкозернистая структура внутренней поверхности световой крышки были по существу идентичны.
Световая крышка может быть выполнена с молочной или молочной/цветной флюоресцентной подкраской, а световой купол светового стержня и световая крышка предпочтительно подкрашены в соответствии с цветовой характеристикой излучения светодиода. Световая крышка удерживается с помощью фронтального кольца, которое выполнено с возможностью закрепления на корпусе насадки. Световая насадка может быть выполнена с возможностью закрепления на монтажной стенке, которая расположена между фронтальным кольцом и резьбовой накидной гайкой, установленной на корпусе насадки.
Пример осуществления настоящего изобретения, его дополнительные особенности и преимущества будут подробнее описаны ниже со ссылками на прилагаемый чертеж, на котором схематично представлен сигнальный фонарь в предпочтительном примере выполнения.
Сведения, подтверждающие возможность осуществления изобретения
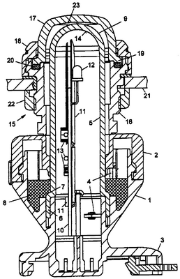
Сигнальный фонарь содержит корпус 1 с крышкой 2 и основанием 3, которое выполнено с возможностью крепления на не показанной здесь подробно профильной рейке. В корпусе 1 размещены электропроводящие элементы 4 для подсоединения к не представленным здесь подводящим и отводящим проводам, например, с помощью клемм.
Кроме того, в корпусе 1 расположен изготовленный из светопроницаемого материала световой стержень 5, выполненный по существу в виде трубки цилиндрической формы круглого профиля. Световой стержень 5 проходит через крышку 2 и выступает наружу за ее пределы. Расположенная в корпусе 1 часть светового стержня 5 содержит трубчатую часть 6 прямоугольного профиля, закрепленную в корпусе. Трубчатая прямоугольная часть 6 выполнена большей по размерам по сравнению с остальной частью светового стержня 5, так что между этими частями образован буртик или заплечик 7. В этой области световой стержень 5 залит в корпусе 1 литьевой смолой 8, охватывающей заплечик 7. Заливка из литьевой смолы 8 выполнена таким образом, что удовлетворяет требования взрывобезопасности согласно стандарту DIN EN 50014/18/19.
Другой конец светового стержня 5, удаленный от трубчатой части 6, выполнен в виде примерно полукруглого купола 9, сопряженного с трубчатым телом светового стержня 5. Световой стержень 5 выполнен в виде цельного элемента из одного материала и имеет по существу одинаковую толщину стенки светового купола 9, трубчатой части 6 и промежуточной между концами части трубки. Для использования во взрывоопасных зонах световой стержень 5 может быть выполнен в виде оболочки повышенной прочности в соответствии с требованиями взрывобезопасности согласно стандарту DIN EN 50014/18/19.
В световом стержне 5 может быть помещена печатная плата 10, предпочтительно установленная между удерживающими ребрами 11 в виде перемычек. С печатной платой контактирует светодиод 12, который расположен примерно под световым куполом 9 и направлен в его сторону. Кроме того, на печатной плате 10 могут быть предусмотрены электронные компоненты 13, необходимые для функционирования светодиода 12.
Для обеспечения равномерного яркого свечения по меньшей мере внутренняя полукруглая поверхность 14 светового купола 9, обращенная к светодиоду 12, может иметь мелкозернистую структуру. В оптимальном примере осуществления она выполнена таким образом, что образуется множество мелких выступов в форме шариков, гранул или бусин, непосредственно перемежающихся с множеством мелких впадин, так что внутренняя поверхность 14 является не гладкой, а мелкошероховатой, называемой далее микрорельефной. Такая микрорельефная структура внутренней поверхности может быть получена предпочтительно способами эрозии, травления, пескоструйной обработки или с помощью соответствующего формования поверхности. Воздействие микрорельефной структуры внутренней поверхности таково, что излучаемый светодиодом 12 свет преломляется и рассеивается по всей внутренней поверхности 14 светового купола 9 таким образом, что световой купол 9 светится как единое большое светящееся тело. Кроме того, может быть выгодно выполнить световой стержень 5 или по меньшей мере световой купол 9 с рассеивающей свет диффузно-молочной или молочной/цветной флюоресцентой подкраской. За счет этой подкраски светопроницаемость снижается таким образом, что при включенном светодиоде 12 происходит некоторое собственное свечение светового стержня 5 или светового купола 9, за счет чего освещение становится еще более равномерным и интенсивным.
Как показано на чертеже, сигнальный фонарь может быть снабжен световой насадкой 15, которая закрывает часть светового стержня 5, выступающего за крышку 2. Световая насадка 15 содержит трубчатый корпус 16 насадки, охватывающий световой стержень 5, и световую крышку 17 насадки, которая укреплена на корпусе 16 насадки с помощью фронтального кольца 18. Между ободком 19 крышки 17 насадки и корпусом 16 насадки установлено уплотнительное кольцо 20. Для крепления световой насадки 15 на монтажной стенке 21 на корпусе 16 насадки может быть установлена резьбовая накидная гайка 22. При поворотной затяжке гайка 22 прижимается к внутренней стороне стенки 21, обеспечивая плотную установку световой насадки 15.
Световая крышка 17 изготовлена из светопроницаемого материала и перекрывает световой купол 9 с небольшим зазором. Обращенная к световому куполу 9 внутренняя поверхность 23 световой крышки 17 может также иметь мелкозернистую структуру. Эта структура может быть выполнена так, что образуется множество мелких выступов в форме шариков, гранул или бусин, непосредственно перемежающихся с множеством мелких впадин, так что внутренняя поверхность 23 является микрорельефной. Такая микрорельефная структура внутренней поверхности может быть по существу аналогична микрорельефной структуре внутренней поверхности светового купола 9 и получена с помощью того же способа производства. Кроме того, может быть выгодно световую крышку 17 выполнить матово-молочной или подкрасить флюоресцентой краской с получением молочного/цветного светящегося элемента, чтобы снизить светопроницаемость и обеспечить собственное свечение световой крышки 17, а также более равномерное и более интенсивное свечение. Дополнительно оптимально яркое и равномерное свечение может достигаться за счет того, что световой купол 9 светового стержня 5 и световую крышку 17 световой насадки 15 подкрашивают в соответствии с цветовой характеристикой излучения светодиода 12.
Формула изобретения
1. Сигнальный фонарь для оптической индикации, содержащий корпус (1) с электропроводящими элементами (4), светодиод (12), размещенный в световом стержне (5), который снабжен светопроницаемым световым куполом (9), причем обращенная к светодиоду (12) внутренняя поверхность (14) светового купола (9) выполнена с мелкозернистой структурой, рассеивающей свет, а фонарь снабжен световой насадкой (15) со светопроницаемой световой крышкой (17), охватывающей световой купол (9) светового стержня (5).
2. Сигнальный фонарь по п.1, в котором по меньшей мере световой купол (9) светового стержня (5) выполнен с молочной подкраской.
3. Сигнальный фонарь по п.1 или 2, в котором, по меньшей мере, световой купол (9) светового стержня (5) выполнен с молочной флуоресцентной подкраской.
4. Сигнальный фонарь по п.1, в котором световой стержень (5) с световым куполом (9) выполнен в виде цельного элемента из одного материала.
5. Сигнальный фонарь по п.1, в котором световой стержень (5) выполнен в виде цилиндрической трубки, один конец которой закрыт световым куполом (9).
6. Сигнальный фонарь по п.1, в котором световой стержень (5) укреплен в корпусе (1) своей трубчатой частью (6), удаленной от светового купола (9).
7. Сигнальный фонарь по п.6, в котором часть светового стержня (5) залита в корпусе (1) с помощью литьевой смолы (8) в соответствии с требованиями взрывобезопасности.
8. Сигнальный фонарь по п.1, в котором световой стержень (5) выполнен в виде оболочки повышенной прочности в аспекте взрывобезопасности.
9. Сигнальный фонарь по п.1, в котором корпус (1) закрыт крышкой (2), через которую проходит световой стержень (5).
10. Сигнальный фонарь по п.1, в котором в световом стержне (5) предусмотрена печатная плата (10), на которой расположены светодиод (12) и электронные компоненты (13).
11. Сигнальный фонарь по п.10, в котором печатная плата (10) зафиксирована в световом стержне (5) между удерживающими ребрами (11).
12. Сигнальный фонарь по п.1, в котором выступающая за крышку (2) корпуса (1) часть светового стержня (5) окружена световой насадкой (15).
13. Сигнальный фонарь по п.1, в котором обращенная к световому куполу (9) светового стержня (5) внутренняя поверхность (23) световой крышки (17) выполнена с мелкозернистой структурой, рассеивающей свет.
14. Сигнальный фонарь по п.13, в котором мелкозернистая структура внутренней поверхности (14) светового стержня (5) и мелкозернистая структура внутренней поверхности (23) световой крышки (17), по существу, идентичны.
15. Сигнальный фонарь по п.1, в котором световая крышка (17) выполнена с молочной или молочной/цветной флуоресцентной подкраской.
16. Сигнальный фонарь по п.1, в котором световой купол (9) светового стержня (5) и световая крышка (17) подкрашены в соответствии с длиной волны излучения светодиода (12).
17. Сигнальный фонарь по п.1, в котором световая крышка (17) удерживается с помощью фронтального кольца (18), которое выполнено с возможностью закрепления на корпусе (16) насадки.
18. Сигнальный фонарь по п.17, в котором световая насадка (15) выполнена с возможностью закрепления на монтажной стенке (21), которая расположена между фронтальным кольцом (18) и резьбовой накидной гайкой (22), установленной на корпусе (16) насадки.
РИСУНКИ
|