|
|
(21), (22) Заявка: 2005135580/28, 16.11.2005
(24) Дата начала отсчета срока действия патента:
16.11.2005
(43) Дата публикации заявки: 27.05.2007
(46) Опубликовано: 10.01.2008
(56) Список документов, цитированных в отчете о поиске:
RU 2197744 C1, 27.01.2003. RU 2087707 C1, 20.08.1997. RU 2150126 C1, 27.05.2000. JP 10082668 A, 31.03.1998. IT 1231579 A, 18.12.1991.
Адрес для переписки:
129075, Москва, Мурманский проезд,14, ЗАО “Центр СК-Вектор”
|
(72) Автор(ы):
Литвиненко Елена Михайловна (RU), Носарев Анатолий Никитович (RU), Деменков Андрей Михайлович (RU), Бодылев Михаил Петрович (RU), Петрухин Виктор Леонидович (RU)
(73) Патентообладатель(и):
Закрытое акционерное общество “Центр специального конструирования – Вектор” (ЗАО “Центр СК – Вектор”) (RU)
|
(54) УСТАНОВКА АВТОМАТИЧЕСКОГО ИЗМЕРЕНИЯ МЕТЕОПАРАМЕТРОВ ВОЗДУШНОЙ СРЕДЫ И ПОЧВЫ (ВАРИАНТЫ), УСТРОЙСТВО ДЛЯ ИЗМЕРЕНИЯ МЕТЕОПАРАМЕТРОВ ВОЗДУШНОЙ СРЕДЫ, УСТРОЙСТВО ДЛЯ ИЗМЕРЕНИЯ МЕТЕОПАРАМЕТРОВ ПОЧВЫ И УСТРОЙСТВО ИНФОРМАЦИОННОЙ СИСТЕМЫ ОБСЛУЖИВАНИЯ ДАТЧИКОВ МЕТЕОПАРАМЕТРОВ ВОЗДУШНОЙ СРЕДЫ И ПОЧВЫ
(57) Реферат:
Изобретения относятся к области метеорологии и могут найти применение при проведении мониторинга окружающей среды. Сущность: группа изобретений включает установку автоматического измерения метеопараметров воздушной среды и почвы, устройство для измерения метеопараметров воздушной среды, устройство для измерений метеопараметров почвы и устройство информационной системы обслуживания датчиков метеопараметров воздушной среды и почвы. Технический результат, достигаемый группой изобретений, заключается в повышении компактности, увеличении срока службы, повышении надежности фиксации. 5 н. и 6 з.п. ф-лы, 8 ил.
Группа изобретений относится к метеорологии и мониторингу окружающей среды, к экологически информационным станциям, в частности к мобильным станциям автоматического контроля одновременно метеопараметров состояния атмосферного воздуха и почвы.
Ближайшим аналогом установки автоматического измерения метеопараметров воздушной среды и почвы является устройство для одновременного измерения метеопараметров воздушной среды и земной поверхности по патенту РФ № 2041476, 1992, в котором используются космические средства с комплектом спускаемых капсул, снабженных радиозондами, а параметры атмосферы и земной поверхности измеряют с помощью радиозондов во время их спуска и после приземления.
Недостатком известного устройства является его дороговизна.
Ближайшим аналогом устройства для измерения метеопараметров воздушной среды является устройство по патенту RU № 2197744, 2003, в котором имеется корзина с датчиками измерения параметров воздушной среды, прикрепленная посредством выносного кронштейна к метеомачте. Для обеспечения более точного измерения параметров окружающей среды датчик помещен в кожух, который способствует обеспечению помехозащищенности датчика.
Недостатком известной установки является то, что она не предназначена для транспортирования.
Известно устройство для измерения метеопараметров почвы по патенту RU 2087707, 1997, являющееся ближайшим аналогом изобретению в этой части. Известное устройство содержит зонд в виде трубчатого корпуса с проходным каналом, образующим приемную полость для образцов почвы. Зонд установлен на специальном кронштейне, который монтируется на транспортном средстве.
К недостаткам известного устройства следует отнести его значительные габариты, выступающие за транспортное средство. В момент транспортировки может происходить контакт устройства пробоотборника с почвой, т.е. может произойти повреждение устройства. Перевод устройства в рабочее положение требует значительного времени.
Известна автоматизированная система мониторинга окружающей среды региона по патенту РФ № 2150126, являющаяся ближайшим аналогом изобретения в части устройства информационной системы обслуживания датчиков метеопараметров воздушной среды и почвы, включающая высоковольтный источник питания, блок формирования и коррекции сигналов, передатчик сигналов контрольного поста, который посредством прямой связи соединен с расположенным в центральном контрольном пульте передатчиком сигналов центрального контрольного пульта, к которому, в свою очередь, подсоединен блок обработки данных. Передатчик сигналов центрального контрольного пульта посредством прямой и обратной связи соединен с дополнительно установленным в центральном контрольном пульте блоком сравнения и управления, в качестве которого используют компьютер с заложенной в него программой.
Недостатками известного устройства являются сложность конструкции, недостаточная точность измерений метеопараметров, большие габариты.
Задачей группы изобретений является создание мобильных, автоматизированных, удобных в эксплуатации устройств.
Технический результат, достигаемый группой изобретений, включающей установку автоматического измерения метеопараметров воздушной среды и почвы (варианты), устройство для измерения метеопараметров воздушной среды и устройство для измерения метеопараметров почвы, заключается в повышении компактности устройства при одновременном увеличении срока службы в процессе эксплуатации, повышении удобства пользования и производительности, сокращении времени перевода устройства в рабочее положение, повышении надежности фиксации устройства в момент измерения.
Технический результат, достигаемый устройством информационной системы обслуживания датчиков метеопараметров воздушной среды и почвы, состоит в повышении компактности и производительности, упрощении и надежности обработки измерений при одновременном удобстве пользования.
Указанный технический результат достигается тем, что:
– установка автоматического измерения метеопараметров воздушной среды и почвы, преимущественно для использования в составе транспортного средства радиационной, химической и биологической разведки с электропитанием от бортовой электросети транспортного средства или автономного источника электроэнергии, содержит устройства для измерения параметров воздушной среды и почвы, каждое из которых установлено с наружной стороны транспортного средства и представляет собой горизонтально расположенную выдвижную штангу, являющуюся одновременно штоком пневмоцилиндра, для установки соответственно датчиков параметров воздушной среды и почвы в требуемое положение, при этом пневмоцилиндр со штоком выполнен с возможностью поворота соответственно вертикально вверх и вертикально вниз, а установка содержит расположенный на рабочем месте оператора пульт управления системой подачи сжатого воздуха в пневмоцилиндры из пневмомагистрали транспортного средства или автономного источника сжатого воздуха и информационной системой обслуживания датчиков,
– датчик параметров воздушной среды расположен в кожухе с подпружиненной крышкой, выполненной с возможностью поворота в вертикальной плоскости и закрывающейся посредством взаимодействия штока при его опускании с тросом, закрепленным на ней и на боковой стенке кожуха, в которой выполнен открытый сверху паз, через который пропущен шток,
– информационная система обслуживания датчиков метеопараметров воздушной среды и почвы состоит из датчика углов горизонта, выдающего сигналы, пропорциональные углам отклонения датчиков метеопараметров воздушной среды от вертикального положения, пульта управления, подключенного преимущественно к бортовой электросети или автономному источнику электропитания, и состоящего из источника вторичного электропитания, обеспечивающего стабилизированное напряжение порядка 5В датчиков метеопараметров воздушной среды и почвы и порядка 130В – акустического термоанемометра, выдающего информацию в микроконтроллер ультразвуковых датчиков воздушной среды в виде последовательных двоичных кодов, соответствующих измеренным значениям времен прохождения ультразвуковых сигналов в четырех различных направлениях между парами пьезоэлектрических преобразователей датчиков воздушной среды, составляющих ультразвуковую систему термоанемометра и закрепленных на образующих сферообразный элемент трубчатых кольцах, установленный на штоке устройства измерения метеопараметров воздушной среды, при этом микроконтроллер датчиков воздушной среды предназначен для аналого-цифрового преобразования сигналов этих датчиков и для передачи цифровых кодов через интерфейс в микроконтроллер пульта управления, в который также поступают цифровые коды сигналов датчиков почвы, и который соединен с дисплеем, запитываемым от источника вторичного электропитания,
– привод поворота пневмоцилиндра вертикально вверх выполнен в виде горизонтального жестко закрепленного на основании дополнительного пневмоцилиндра, на штоке которого, с возможностью перемещения в направляющих основания, закреплена серьга, внутри которой установлена ось, жестко закрепленная на одном конце поворотного относительно оси, закрепленной на опоре основания, рычага, другой конец которого жестко закреплен на основном пневмоцилиндре,
– для осуществления поворота пневмоцилиндра вертикально вниз последний жестко закреплен на валу приводной шестерни зубчатой передачи, расположенной внутри П-образной рамы, и установлен с возможностью вращения в горизонтальной плоскости на перемычке рамы, при этом рама установлена в вертикальных опорах основания с возможностью поворота относительно горизонтальной оси, на одной из боковых сторон рамы горизонтально жестко закреплен стакан с винтовым пазом, а на основании соосно стакану смонтирован дополнительный пневмоцилиндр, шток которого расположен в стакане и снабжен пальцем для его одновременного перемещения в винтовом пазу стакана и прямоугольном пазу пластины, закрепленной на основании,
– устройство для измерения метеопараметров воздушной среды, включающее датчики, содержит расположенный горизонтально с возможностью поворота вертикально вверх пневмоцилиндр со штоком для установки датчиков параметров воздушной среды, расположенными в смонтированном на основании защитном кожухе, при этом шток пропущен через открытый сверху паз, выполненный в боковой стенке кожуха, кожух снабжен подпружиненной крышкой, выполненной с возможностью поворота в вертикальной плоскости и закрывающейся посредством взаимодействия штока при его опускании с тросом, закрепленным на ней и на боковой стенке кожуха, в которой выполнен открытый сверху паз, через который пропущен шток, а привод поворота пневмоцилиндра вертикально вверх выполнен в виде горизонтального жестко закрепленного на основании дополнительного пневмоцилиндра, на штоке которого, с возможностью перемещения в направляющих основания, закреплена серьга, внутри которой установлена ось, жестко закрепленная на одном конце поворотного относительно оси, закрепленной на опоре основания, рычага, другой конец которого жестко закреплен на основном пневмоцилиндре,
– устройство для измерения метеопараметров почвы, включающее датчики, содержит расположенный горизонтально с возможностью поворота вертикально вниз пневмоцилиндр со штоком для установки датчиков параметров почвы, в котором для осуществления поворота пневмоцилиндра вертикально вниз последний жестко закреплен на валу приводной шестерни зубчатой передачи, расположенной внутри П-образной рамы, и установлен с возможностью вращения в горизонтальной плоскости на перемычке рамы, при этом рама установлена в вертикальных опорах основания с возможностью поворота относительно горизонтальной оси, на одной из боковых сторон рамы горизонтально жестко закреплен стакан с винтовым пазом, а на основании соосно стакану смонтирован дополнительный пневмоцилиндр, шток которого расположен в стакане и снабжен пальцем для его одновременного перемещения в винтовом пазу стакана и прямоугольном пазу пластины, закрепленной на основании.
Указанный технический результат достигается также тем, что установка автоматического измерения метеопараметров воздушной среды и почвы, преимущественно для использования в составе транспортного средства радиационной, химической и биологической разведки с электропитанием от бортовой электросети транспортного средства или автономного источника электроэнергии, содержит ультразвуковые датчики метеопараметров воздушной среды, располагаемую в стойке выдвижную мачту, при этом установка снабжена установленным на стойке или на поверхности по месту проведения измерений пультом управления, обеспечивающим вычисление и отображение на цифровом индикаторе средних значений измеряемых метеопараметров, управляемым посредством пульта из внутри транспортного средства и выполненным с возможностью подключения к компьютеру, датчики параметров воздушной среды установлены на расположенных в виде сферообразного элемента трубчатых кольцах, закрепленного на мачте, и составляют ультразвуковую систему акустического термоанемометра, обеспечивающего преобразование сигналов в цифровой код для передачи в вычислительное устройство пульта управления, а датчики метеопараметров почвы смонтированы автономно, причем все датчики подключены посредством кабелей к пульту управления.
– при этом транспортное средство снабжено защитным средством, например, в виде кожуха для расположения в нем мачты с датчиками параметров воздушной среды,
– а сферообразный элемент состоит из двух колец, на каждом из которых смонтированы вертикально 4 датчика.
Указанный технический результат достигается и тем, что:
– устройство для измерения метеопараметров воздушной среды, содержащее расположенный горизонтально с возможностью поворота вертикально вверх основной пневмоцилиндр со штоком, пропущенным через открытый сверху паз, выполненный в боковой стенке кожуха, снабженного подпружиненной крышкой, выполненной с возможностью поворота в вертикальной плоскости и закрывающейся посредством взаимодействия штока при его опускании с тросом, закрепленным на ней и на боковой стенке кожуха, на штоке основного пневмоцилиндра установлены с возможностью размещения на требуемой высоте датчики метеопараметров воздушной среды, а привод для поворота основного пневмоцилиндра вертикально вверх выполнен в виде горизонтального жестко закрепленного на основании дополнительного пневмоцилиндра, на штоке которого с возможностью перемещения в направляющих основания закреплена серьга, внутри которой установлена ось, жестко закрепленная на поворотном рычаге, жестко закрепленном на основном пневмоцилиндре;
– устройство для измерения метеопараметров почвы, содержащее датчики метеопараметров почвы, установленные с возможностью размещения на требуемую глубину на штоке основного пневмоцилиндра, установленного горизонтально с возможностью поворота вертикально вниз, жестко закрепленного на валу приводной шестерни зубчатой передачи, расположенной внутри П-образной рамы, установленной в вертикальных опорах основания с возможностью поворота относительно горизонтальной оси, на одной из боковых сторон П-образной рамы горизонтально закреплен стакан с винтовым пазом, а на основании соосно стакану смонтирован дополнительный пневмоцилиндр, шток которого расположен в стакане и снабжен пальцем для одновременного перемещения в винтовом пазу стакана и прямоугольном пазу пластины, закрепленной на основании;
– устройство информационной системы обслуживания датчиков метеопараметров воздушной среды и почвы, содержащее подключенный к бортовой электросети или автономному источнику питания пульт управления, через источник вторичного электропитания которого напряжение транслируется на датчики метеопараметров почвы, на вход источника вторичного электропитания датчика угла горизонта, ультразвуковых датчиков угла горизонта, датчиков метеопараметров воздушной среды, закрепленных на образующих сферообразный элемент трубчатых кольцах, установленный на штоке основного пневмоцилиндра устройства измерения метеопараметров воздушной среды и составляющих ультразвуковую систему акустического термоанемометра, обеспечивая указанные датчики стабилизированным напряжением 5 В, при этом на термоанемометр подается дополнительное напряжение 130 В, при наличии указанных напряжений термоанемометр выдает информацию в виде последовательных двоичных кодов, соответствующих измеренным значениям времен прохождения ультразвуковых сигналов в четырех различных направлениях между парами пьезоэлектрических преобразователей датчиков метеопараметров воздушной среды, в микроконтроллер, к выходу которого подключается платиновый термометр, в микроконтроллере осуществляется аналого-цифровое преобразование сигналов, поступающих от первичных пьезоэлектрических преобразователей датчиков метеопараметров воздушной среды, и передача цифровых кодов через интерфейс в соединенный с дисплеем и питаемый от источника вторичного электропитания микроконтроллер пульта управления, в который также поступают цифровые коды сигналов датчиков почвы.
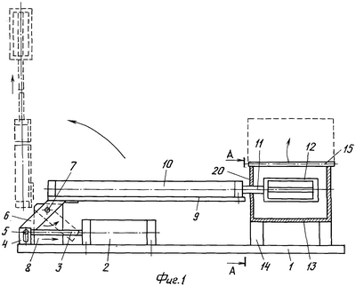
На фиг.1 схематично изображено устройство для измерения метеопараметров воздушной среды, на фиг.2 – сечение А-А, фиг.1, на фиг.3 – устройство для измерения метеопараметров почвы, на фиг.4 – сечение А-А, фиг.3, на фиг.5 – по стрелке Б, фиг.3, на фиг.6 – устройство информационной системы обслуживания датчиков метеопараметров воздушной среды и почвы, на фото 1, 2 изображена установка автоматического измерения метеопараметров воздушной среды и почвы с различным расположением пульта управления.
Установка автоматического измерения метеопараметров воздушной среды и почвы по первому варианту состоит из устанавливаемых на транспортном средстве и запитываемых от бортовой электросети или автономного источника электроэнергии устройства для измерения метеопараметров воздушной среды, устройства для измерения метеопараметров почвы и устройства информационной системы обслуживания датчиков метеопараметров воздушной среды и почвы.
Устройство для измерения метеопараметров воздушной среды состоит из основания 1, на котором установлен пневмоцилиндр 2, со штоком 3. На конце штока 3 закреплена серьга 4, внутри которой установлена ось 5, жестко закрепленная на поворотном рычаге 6. Рычаг 6 установлен на оси 7. Ось 7 закреплена на опоре 8. Опора 8 закреплена на основании 1. Серьга 4 нижней частью движется по направляющим (не указаны), установленным на основании 1. Поворотный рычаг 6 снабжен пластиной 9, являющейся опорой для основного пневмоцилиндра 10. Пластина 9 жестко установлена на поворотном рычаге 6. Шток 11 пневмоцилиндра 10 снабжен датчиком 12 измерения параметров воздуха. Датчик 12 расположен внутри защитного кожуха 13. Защитный кожух 13 жестко установлен на основании 1, например, на стойках 14. Защитный кожух 13 выполнен в виде короба, снабженного открывающейся крышкой 15. Крышка 15 установлена на оси 16, установленной на стенке 17. Крышка 15 подпружинена с помощью пружины 18. Торцевая стенка 19 защитного кожуха 13 имеет открытый сверху паз (вертикальную прорезь) 20 под шток 11 пневмоцилиндра 10. Стенка 19 снабжена тросом 21. Трос 21 одним концом 22 жестко закреплен на стенке 19, а вторым концом 23 – на крышке 15.
При включении устройства шток 3 пневмоцилиндра 2 перемещает рычаг 6 с пластиной 9 и пневмоцилиндр 10 и поднимает их в вертикальное положение. При выходе штока 11 с датчиком 12 из защитного кожуха 13 происходит открывание крышки 15 с помощью пружины 18 и троса 21. В процессе выдвижения штока 11 по прорези 20 происходит изменение положения троса 21, под действием пружины 18 крышка 15 поднимается вверх. В результате вышеописанного пневмоцилиндр 10 с датчиком 12 принимает вертикальное положение. После чего шток 11 с датчиком 12 выдвигается вверх на заданную высоту для измерения параметров воздушной среды.
После измерения шток 11 с датчиком 12 возвращается в исходное положение с дальнейшем возвратом пневмоцилиндра 10 в горизонтальное положение, при этом шток 11 пневмоцилиндра 10 при заходе в паз 20 защитного кожуха 13 воздействует на трос 21, в результате чего происходит закрытие крышки 15.
Таким образом, данное устройство для экологического анализа воздушной среды представляет собой высокопроизводительный измерительный комплекс. Конструктивные особенности устройства обеспечивают надежную работу, высокую точность и достоверность получаемых результатов экологического анализа: температуры, влажности, давления, направления и силы воздушного потока. Возможность установки устройства на мобильных транспортных средствах позволяет проводить исследования в полевых условиях на значительных площадях, без риска повреждения устройства при перемещении мобильного транспортного средства от одной точки измерения к другой.
Устройство для измерения метеопараметров почвы содержит основание 1, опоры 2 и 3 жестко установленные на основании 1. В опорах 2 и 3, установлена на оси 4 П-образная рама 5 с возможностью ее поворота. На стенке 6 П-образной рамы 5 жестко установлен стакан 7 с винтовым пазом 8 под палец 9 штока 10 дополнительного пневмоцилиндра 11. Палец 9 установлен на плунжаре 12 и жестко закреплен на штоке 10. При этом палец 9 также входит в направляющий горизонтальный паз 13 пластины 14, жестко закрепленной на основании 1 перед стаканом 7 для исключения проворота штока 10 пневмоцилиндра 11.
При включении устройства палец 9 штока 10 пневмоцилиндра 11 перемещается одновременно по винтовому пазу 8 стакана 7 и горизонтальному пазу 13 пластины 14. В результате чего П-образная рама 5 поворачивается на оси 4 на 90° для выхода за габаритные размеры транспортного средства. При этом шестерня 17, установленная на оси 18 перекатывается по неподвижной шестерне 16 и происходит поворот пластины 20, установленной на оси, 18 с пнемоцилиндром 21 на 90° по отношению к верхней части П-образной рамы 5 (перемычке). На основании 1 жестко установлена опора 15, расположенная внутри П-образной рамы 5. На опоре 15 жестко зафиксирована коническая неподвижная шестерня 16, находящаяся в зацеплении с конической шестерней 17. Шестерня 17 расположена на оси 18 в опоре вращения 19. Опора 19 жестко установлена в отверстии перемычки (не показано) рамы 5. Ось 18 снабжена пластиной 20 под установку основного пневмоцилиндра 21. Пластина 20 жестко установлена на оси 18. На штоке 22 пневмоцилиндра 21 установлен датчик 23 для измерения параметров почвы. В результате чего пневмоцилиндр 21 устанавливается в вертикальное положение за пределами габаритов транспортного средства. Шток 22 пневмоцилиндра 21 перемещается вниз до контакта датчика 23 с почвой и происходит замер параметров почвы – ее температуры, влажности и степени загрязнения (зараженности).
Таким образом, данное устройство для экологического анализа почвы представляет собой высокопроизводительный измерительный комплекс. Конструктивные особенности устройства обеспечивают надежную работу, высокую точность и достоверность получаемых результатов экологического анализа. Возможность установки устройства на мобильных транспортных средствах позволяет проводить исследования в полевых условиях на значительных площадях, без риска повреждения устройства при перемещении мобильного транспортного средства от одной точки измерения к другой.
Устройство информационной системы обслуживания датчиков метеопараметров воздушной среды и почвы (фиг.6) состоит из датчика 1 углов горизонта, выдающего сигналы, пропорциональные углам отклонения ультразвуковых датчиков 2 метеопараметров воздушной среды от вертикального положения, пульт 3 управления, подключенный преимущественно к бортовой электросети или автономному источнику электропитания и состоящий из источника вторичного электропитания 4, обеспечивающего стабилизированное напряжение порядка 5В датчиков 2 метеопараметров воздушной среды и датчиков 5 почвы и порядка 130В – акустического термоанемометра 6, выдающего информацию в микроконтроллер 7 датчиков 2 воздушной среды в виде последовательных двоичных кодов, соответствующих измеренным значениям времен прохождения ультразвуковых сигналов в четырех различных направлениях между парами пьезоэлектрических преобразователей (не показаны) датчиков параметров воздушной среды, составляющих ультразвуковую систему термоанемометра 6, закрепленных на сферообразном элементе из двух колец (не показаны), установленном на штоке устройства измерения метеопараметров воздушной среды (см. фиг.1). Датчики 2 расположены во взаимноортогональных плоскостях и ориентированы вертикально. При этом микроконтроллер 7 датчиков 2 воздушной среды предназначен для аналого-цифрового преобразования сигналов датчиков 2 воздушной среды и для передачи цифровых кодов через интерфейс 8 в микроконтроллер 9 пульта 3 управления, в который также поступают цифровые коды сигналов датчиков 5 почвы, и который соединен с дисплеем 10, запитываемым от источника вторичного электропитания.
Устройство работает следующим образом.
Напряжение бортовой сети +27 В подается в пульт 3 управления. При включении переключателя это напряжение подается на вход источника 4 вторичного электропитания (ИВЭП) пульта 3 управления и транслируется на ультразвуковые датчики 2 метеопараметров воздушной среды ДСВ-17(на вход его ИВЭП). ИВЭП обеспечивает стабилизированным напряжением питания +5 В все составные части ДСВ-17. Кроме напряжения питания +5 В акустический термоанемометр 6 обеспечивается еще и напряжением питания +130 В.
При наличии напряжения +5 В и +130 В термоанемометр 6 выдает в микроконтроллер 7 датчиков 2 ДСВ-17 информацию о направлении и скорости ветра, а также о температуре воздуха в виде последовательных двоичных кодов, соответствующих измеренным значениям времен прохождения ультразвуковых сигналов ti (i=1, 2, 3, 4) в четырех различных направлениях между парами пьезоэлектрических преобразователей, закрепленных на двух кольцах ультразвуковой системы термоанемометра 6.
При наличии напряжения питания +5 В датчик 11 давления выдает в микроконтроллер 7 напряжение Up, пропорциональное атмосферному давлению, а датчик 12 влажности выдает в микроконтроллер 7 напряжение Ur, пропорциональное относительной влажности воздуха. Кроме того, к входу микроконтроллера 7 подключается платиновый термометр сопротивления (не показан), обеспечивающий измерение температуры датчика 12 влажности. Температуру датчика 12 влажности необходимо знать для корректного измерения относительной влажности воздуха. Датчик 1 углов горизонта выдает в микроконтроллер 7 широтно-модулированные сигналы Fx и Fy, пропорциональные углам отклонения датчиков 2 метеопараметров ДСВ-17 от вертикального положения (Gx и Gy соответственно). Знание этих углов необходимо для вычисления истинных значений направления и скорости горизонтального и вертикального ветра при наклонах транспортного средства, на котором установлены устройства измерения, на углы до 20 градусов вдоль (Gx) и поперек (Gy) его продольной оси.
Микроконтроллер 7 датчиков 2 метеопараметров ДСВ-17 осуществляет аналого-цифровое преобразование сигналов, поступающих от первичных преобразователей атмосферного давления (Up), относительной влажности воздуха (Ur и Rt o), а также от акселерометра (Fx и Fy), и передает цифровые коды, соответствующие значениям этих величин (Р – давление, r – влажность, Tr – температура датчика 12 влажности, Gx и Gy – углы отклонения от вертикального положения вдоль и поперек продольной оси транспортного средства), так же, как и коды, соответствующие значениям ti, через интерфейс 8RS485 в микроконтроллер 9 пульта 3 управления.
При наличии напряжения питания +5 В (от ИВЭП пульта управления) датчик 5, например, температуры почвы ДТР-14, расположенный в устройстве измерения метеопараметров почвы, выдает в микроконтроллер 9 пульта 3 управления цифровой код, пропорциональный температуре почвы (Тп).
В микроконтроллере 9 пульта 3 управления осуществляется вычисление мгновенных значений температуры воздуха и трех ортогональных компонент скорости ветра (с использованием использованием значений ti), вычисление значений атмосферного давления, относительной влажности воздуха, температуры почвы, а также определение степени вертикальной устойчивости воздуха. Вычисление трех ортогональных компонент скорости ветра осуществляется с учетом углов отклонения Gx, Gy термоанемометра 6 от вертикального положения, что позволяет снизить требования по точности установки термоанемометра по отношению к вертикали, а также скомпенсировать ошибки, возникающие при раскачивании термоанемометра 6 сильными порывами ветра.
Усредненные значения величин, вычисляемые как средние арифметические мгновенных значений (Т – температура воздуха, V – скорость горизонтального ветра, W – скорость вертикального ветра, D – направление горизонтального ветра, Тп – температура почвы, r – относительная влажность воздуха, Р – атмосферное давление, N – степень вертикальной устойчивости воздуха), отображаются на дисплее 10 пульта 3 управления, а также через интерфейс 8RS232 передаются в аппаратуру передачи данных.
Управление работой микроконтроллера 9 пульта 3 управления, а также работой всего изделия в целом осуществляется с помощью клавиатуры 13 пульта управления.
Установка автоматического измерения метеопараметров воздушной среды и почвы, согласно второму варианту, преимущественно для использования в составе транспортного средства радиационной, химической и биологической разведки с электропитанием от бортовой электросети транспортного средства или автономного источника электроэнергии (см. фото 1, 2), содержит ультразвуковые датчики 1 метеопараметров воздушной среды, располагаемую в стойке 2 выдвижную мачту 3. При этом установка снабжена установленным на стойке 2 или на поверхности по месту проведения измерений пультом 4 управления, обеспечивающим вычисление и отображение на цифровом индикаторе средних значений измеряемых метеопараметров, управляемым посредством пульта (не показан) из внутри транспортного средства и выполненным с возможностью подключения к компьютеру, датчики 1 параметров воздушной среды установлены на расположенных в виде сферообразного элемента трубчатых кольцах 5, закрепленного на мачте 3, и составляют ультразвуковую систему акустического термоанемометра (не показан), обеспечивающего преобразование сигналов в цифровой код для передачи в вычислительное устройство пульта 4 управления. Датчики 6 метеопараметров почвы смонтированы автономно, причем все датчики подключены посредством кабелей к пульту 4 управления. При транспортировке мачта 3 сворачивается в специальный контейнер.
Установка работает следующим образом.
Установку располагают на наземных или водных транспортных средствах и подключают к бортовой системе электропитания. Высота мачты 3 в рабочем положении около 4 м. Для контроля движения мачты 3 вверх, вниз используют дополнительные датчики.
Напряжение переменного тока 220 В, 50 Гц подается на вход блока питания. При включении блока питания его выходное напряжение +12 В подается в акустический термоанеометр датчиков воздушной среды, а также транслируется в датчики 1.
При наличии напряжения питания +12 В датчики выдают в термоанемометр напряжения, пропорциональные атмосферному давлению и относительной влажности воздуха. Кроме того, к входу термоанемометра подключается сопротивление платинового термометра (не показан). Аналогичные сигнальные напряжения формируются в термоанемометре.
Термоанемометр обеспечивает измерение мгновенных значений температуры в трех ортогональных компонент ветра. Он состоит из ультразвуковой системы, включающей датчики 1 параметров воздушной среды, установленные на расположенных в виде сферообразного элемента трубчатых кольцах 5, закрепленного на мачте 3. Термоанемометр запускается автоматически и выполняет те же функции, что и в установке по первому варианту.
Пульт 4 управления обеспечивает отображение на цифровом индикаторе средних значений измеряемых метеорологических параметров. Предусмотрена возможность подключения пульта 4 к компьютеру, что позволяет одновременно получать результаты измерения как на пульте, так и в компьютере. Датчики 6 метеопараметров почвы смонтированы автономно и подключены посредством кабелей к пульту 4, который обеспечивает отображение на цифровом индикаторе средних значений измеряемых метеорологических параметров.
Формула изобретения
1. Установка автоматического измерения метеопараметров воздушной среды и почвы, преимущественно для использования в составе транспортного средства радиационной, химической и биологической разведки с электропитанием от бортовой электросети транспортного средства или автономного источника электроэнергии, содержащая устройства для измерения параметров воздушной среды и почвы, каждое из которых установлено с наружной стороны транспортного средства и представляет собой горизонтально расположенную выдвижную штангу, являющуюся одновременно штоком пневмоцилиндра для установки соответственно датчиков параметров воздушной среды и почвы в требуемое положение, при этом пневмоцилиндр со штоком выполнены с возможностью поворота соответственно вертикально вверх и вертикально вниз, а установка содержит расположенный на рабочем месте оператора пульт управления системой подачи сжатого воздуха в пневмоцилиндры из пневмомагистрали транспортного средства или автономного источника сжатого воздуха и информационной системой обслуживания датчиков.
2. Установка по п.1, в которой датчик параметров воздушной среды расположен в кожухе с подпружиненной крышкой, выполненной с возможностью поворота в вертикальной плоскости и закрывающейся посредством взаимодействия штока при его опускании с тросом, закрепленным на ней и на боковой стенке кожуха, в которой выполнен открытый сверху паз, через который пропущен шток.
3. Установка по п.1, в которой информационная система обслуживания датчиков метеопараметров воздушной среды и почвы состоит из датчика углов горизонта, выдающего сигналы, пропорциональные углам отклонения ультразвуковых датчиков метеопараметров воздушной среды от вертикального положения, пульта управления, подключенного преимущественно к бортовой электросети или автономному источнику электропитания, и состоящего из источника вторичного электропитания, обеспечивающего стабилизированное напряжение порядка 5 В датчиков метеопараметров воздушной среды и почвы и порядка 130 В – акустического термоанемометра, выдающего информацию в микроконтроллер в виде последовательных двоичных кодов, соответствующих измеренным значениям времен прохождения ультразвуковых сигналов в четырех различных направлениях между парами пьезоэлектрических преобразователей датчиков воздушной среды, составляющих ультразвуковую систему термоанемометра и закрепленных на образующих сферообразный элемент трубчатых кольцах, установленный на штоке устройства измерения метеопараметров воздушной среды, при этом микроконтроллер датчиков воздушной среды предназначен для аналого-цифрового преобразования сигналов этих датчиков и для передачи цифровых кодов через интерфейс в микроконтроллер пульта управления, в который также поступают цифровые коды сигналов датчиков почвы, и который соединен с дисплеем, запитываемым от источника вторичного электропитания.
4. Установка по п.1, в которой привод поворота пневмоцилиндра вертикально вверх выполнен в виде горизонтального жестко закрепленного на основании дополнительного пневмоцилиндра, на штоке которого с возможностью перемещения в направляющих основания закреплена серьга, внутри которой установлена ось, жестко закрепленная на одном конце поворотного относительно оси, закрепленной на опоре основания, рычага, другой конец которого жестко закреплен на основном пневмоцилиндре.
5. Установка по п.1, в которой для осуществления поворота пневмоцилиндра вертикально вниз последний жестко закреплен на валу приводной шестерни зубчатой передачи, расположенной внутри П-образной рамы, и установлен с возможностью вращения в горизонтальной плоскости на перемычке рамы, при этом рама установлена в вертикальных опорах основания с возможностью поворота относительно горизонтальной оси, на одной из боковых сторон рамы горизонтально жестко закреплен стакан с винтовым пазом, а на основании соосно стакану смонтирован дополнительный пневмоцилиндр, шток которого расположен в стакане и снабжен пальцем для его одновременного перемещения в винтовом пазу стакана и прямоугольном пазу пластины, закрепленной на основании.
6. Установка автоматического измерения метеопараметров воздушной среды и почвы, преимущественно для использования в составе транспортного средства радиационной, химической и биологической разведки с электропитанием от бортовой электросети транспортного средства или автономного источника электроэнергии, содержащая ультразвуковые датчики метеопараметров воздушной среды, располагаемую в стойке выдвижную мачту, при этом установка снабжена установленным на стойке или на поверхности по месту проведения измерений пультом управления, обеспечивающим вычисление и отображение на цифровом индикаторе средних значений измеряемых метеопараметров, управляемым посредством пульта изнутри транспортного средства и выполненным с возможностью подключения к компьютеру, датчики параметров воздушной среды установлены на расположенных в виде сферообразного элемента трубчатых кольцах, закрепленного на мачте, и составляют ультразвуковую систему акустического термоанемометра, обеспечивающего преобразование сигналов в цифровой код для передачи в вычислительное устройство пульта управления, а датчики метеопараметров почвы смонтированы автономно, причем все датчики подключены посредством кабелей к пульту управления.
7. Устройство по п.6, в котором транспортное средство снабжено защитным средством, например, в виде кожуха для расположения в нем мачты с датчиками параметров воздушной среды.
8. Устройство по п.6, в котором сферообразный элемент состоит из двух колец, на каждом из которых смонтированы вертикально 4 датчика.
9. Устройство для измерения метеопараметров воздушной среды, содержащее расположенный горизонтально с возможностью поворота вертикально вверх основной пневомоцилиндр со штоком, пропущенным через открытый сверху паз, выполненный в боковой стенке кожуха, снабженного подпружиненной крышкой, выполненной с возможностью поворота в вертикальной плоскости и закрывающейся посредством взаимодействия штока при его опускании с тросом, закрепленным на ней и на боковой стенке кожуха, на штоке основного пневмоцилиндра установлены с возможностью размещения на требуемой высоте датчики метеопараметров воздушной среды, а привод для поворота основного пневмоцилиндра вертикально вверх выполнен в виде горизонтального жестко закрепленного на основании дополнительного пневмоцилиндра, на штоке которого с возможностью перемещения в направляющих основания закреплена серьга, внутри которой установлена ось, жестко закрепленная на поворотном рычаге, жестко закрепленном на основном пневмоцилиндре.
10. Устройство для измерения метеопараметров почвы, содержащее датчики метеопараметров почвы, установленные с возможностью размещения на требуемую глубину на штоке основного пневмоцилиндра, установленного горизонтально с возможностью поворота вертикально вниз, жестко закрепленного на валу приводной шестерни зубчатой передачи, расположенной внутри П-образной рамы, установленной в вертикальных опорах основания с возможностью поворота относительно горизонтальной оси, на одной из боковых сторон П-образной рамы горизонтально закреплен стакан с винтовым пазом, а на основании соосно стакану смонтирован дополнительный пневмоцилиндр, шток которого расположен в стакане и снабжен пальцем для одновременного перемещения в винтовом пазу стакана и прямоугольном пазу пластины, закрепленной на основании.
11. Устройство информационной системы обслуживания датчиков метеопараметров воздушной среды и почвы, содержащее подключенный к бортовой электросети или автономному источнику питания пульт управления, через источник вторичного электропитания которого напряжение транслируется на датчики метеопараметров почвы, на вход источника вторичного электропитания датчика угла горизонта, ультразвуковых датчиков угла горизонта, датчиков метеопараметров воздушной среды, закрепленных на образующих сферообразный элемент трубчатых кольцах, установленный на штоке основного пневмоцилиндра устройства измерения метеопараметров воздушной среды и составляющих ультразвуковую систему акустического термоанемометра, обеспечивая указанные датчики стабилизированным напряжением 5 В, при этом на термоанемометр подается дополнительное напряжение 130 В, при наличии указанных напряжений термоанемометр выдает информацию в виде последовательных двоичных кодов, соответствующих измеренным значениям времен прохождения ультразвуковых сигналов в четырех различных направлениях между парами пьезоэлектрических преобразователей датчиков метеопараметров воздушной среды, в микроконтроллер, к выходу которого подключается платиновый термометр, в микроконтроллере осуществляется аналого-цифровое преобразование сигналов, поступающих от первичных пьезоэлектрических преобразователей датчиков метеопараметров воздушной среды, и передача цифровых кодов через интерфейс в соединенный с дисплеем и питаемый от источника вторичного электропитания микроконтроллер пульта управления, в который также поступают цифровые коды сигналов датчиков почвы.
РИСУНКИ
|
|