|
|
(21), (22) Заявка: 2005132719/28, 24.10.2005
(24) Дата начала отсчета срока действия патента:
24.10.2005
(43) Дата публикации заявки: 27.04.2007
(46) Опубликовано: 10.01.2008
(56) Список документов, цитированных в отчете о поиске:
SU 1377767 A1, 28.02.1988. SU 824007 A1, 23.04.1981. SU 667882 A1, 15.06.1979. SU 894526 A1, 30.12.1981. CA 1199816, 28.01.1986.
Адрес для переписки:
656038, Алтайский край, г.Барнаул, пр. Ленина, 46, АлтГТУ, ОИПС
|
(72) Автор(ы):
Ключников Виктор Васильевич (RU), Афонин Вячеслав Сергеевич (RU), Федотов Владимир Константинович (RU)
(73) Патентообладатель(и):
Государственное образовательное учреждение высшего профессионального образования “Алтайский государственный технический университет им. И.И. Ползунова” (АлтГТУ) (RU)
|
(54) ДИЭЛЬКОМЕТРИЧЕСКИЙ ВЛАГОМЕР
(57) Реферат:
Изобретение относится к области электрических измерений неэлектрических величин и может быть использовано для измерения состава и свойств материалов по их диэлектрической проницаемости непосредственно в технологическом процессе, в частности для измерения влажности зерна. Техническим результатом изобретения является повышение точности измерения. Диэлькометрический влагомер содержит емкостный первичный преобразователь с измерительным электродом, основным и дополнительным потенциальными электродами, заключенными в экранный корпус, высокочастотный генератор, основной выход которого подключен к основному потенциальному электроду емкостного первичного преобразователя, а к введенному инверсному выходу которого подключен дополнительный потенциальный электрод, и измеритель тока, соединенный с измерительным электродом емкостного первичного преобразователя. 2 з.п. ф-лы, 4 ил.
Предлагаемое изобретение относится к области электрических измерений неэлектрических величин и может быть использовано для измерения состава и свойств материалов по их диэлектрической проницаемости непосредственно в технологическом процессе, в частности для измерения влажности зерна.
Основным недостатком описанного устройства является низкая точность измерения, так как при повышенной влажности зерна появляется дополнительная погрешность от электропроводности контролируемой массы и дополнительных токов утечки.
Наиболее близким к предлагаемому изобретению по технической сущности и достигаемому результату (прототипом) является устройство для измерения влажности сыпучих материалов, содержащее емкостной первичный преобразователь с измерительным электродом, основным и дополнительным потенциальными электродами, заключенными в экранный корпус, высокочастотный генератор, выход которого подключен к основному потенциальному электроду емкостного первичного преобразователя, и измеритель тока, подключенный к измерительному электроду емкостного первичного преобразователя. Измеряется ток, протекающий через емкостной первичный преобразователь при нахождении в нем контролируемого вещества. При этом измеряемый ток пропорционален диэлектрической проницаемости вещества, а следовательно, и его влажности (а.с. №824007, МПК G01N 27/22).
Основным недостатком указанного устройства является низкая точность измерения вследствие влияния следующих погрешностей:
– погрешность от электрической проводимости контролируемого вещества, то есть от активных потерь, проявляющейся в большей степени для вещества с повышенной влажностью;
– погрешностей, связанных с условиями технологического процесса, а именно, с изменениями плотности вещества, наличием металлических предметов вблизи зоны контроля, изменением расстояния от зоны контроля до этих предметов и так далее, поскольку от этих условий зависит величина электрической связи контролируемой массы вещества с общей точкой измерительной цепи, что и приводит к изменению измеряемого тока.
Предлагаемым изобретением решается задача повышения точности измерения.
Решаемая задача достигается тем, что диэлькометрический влагомер содержит емкостный первичный преобразователь с измерительным, основным и дополнительным потенциальными электродами, заключенными в экранный корпус, измеритель тока, соединенный с измерительным электродом, высокочастотный генератор, основной выход, которого подключен к основному потенциальному электроду, а введенный инверсный выход подключен к дополнительному потенциальному электроду.
Диэлькометрический влагомер может быть снабжен дополнительной выходной обмоткой трансформатора высокочастотного генератора, связанной с инверсным выходом высокочастотного генератора, причем начало основной выходной обмотки трансформатора высокочастотного генератора, связанной с основным выходом высокочастотного генератора, подключено к основному потенциальному электроду, конец дополнительной выходной обмотки трансформатора высокочастотного генератора подключен к дополнительному потенциальному электроду, а общая точка выходных обмоток подключена к экранному корпусу.
Основной и дополнительный потенциальные электроды могут быть выполнены каждый из двух частей, расположенных симметрично относительно измерительного электрода.
Диэлькометрический влагомер может быть снабжен дополнительной выходной обмоткой трансформатора высокочастотного генератора, связанной с инверсным выходом высокочастотного генератора, причем начало основной выходной обмотки трансформатора высокочастотного генератора, связанной с основным выходом высокочастотного генератора, подключено к основному потенциальному электроду, конец дополнительной выходной обмотки трансформатора высокочастотного генератора подключен к дополнительному потенциальному электроду, а общая точка выходных обмоток подключена к экранному корпусу.
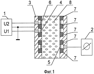
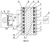
Предлагаемое изобретение поясняется чертежами, где на фиг.1 изображен диэлькометрический влагомер с основным и инверсным выходами высокочастотного генератора и основным и дополнительным потенциальными электродами; на фиг.2 – диэлькометрический влагомер с основным и дополнительным потенциальными электродами, выполненными из двух частей; на фиг.3 – то же, что на фиг.2, с трансформатором высокочастотного генератора; на фиг.4 – эквивалентная схема емкостного первичного преобразователя с основным 4 и дополнительным 6 потенциальными электродами и основным и инверсным выходами высокочастотного генератора.
Кроме того, на чертежах обозначено следующее:
– U1 – напряжение на основном выходе высокочастотного генератора;
– U2 – напряжение на инверсном выходе высокочастотного генератора;
– а – общая точка измерительной цепи;
– b – условная точка контакта вещества с общей точкой измерительной цепи;
– Z1 – комплексное сопротивление элементарного объема контролируемого вещества;
– Z2 – комплексное сопротивление контакта контролируемого вещества с общей точкой измерительной цепи.
Диэлькометрический влагомер содержит высокочастотный генератор 1, измеритель тока 2, емкостной первичный преобразователь с заключенными в экранный корпус 3 основным потенциальным электродом 4, измерительным электродом 5 и дополнительным потенциальным электродом 6. Электроды 4, 5, 6 разделены диэлектриком 7. Внутренняя полость емкостного первичного преобразователя предназначена для заполнения контролируемым веществом 8. Основной потенциальный электрод 4 подключен к основному, с напряжением U1, выходу высокочастотного генератора 1, а дополнительный потенциальный электрод 6 – к инверсному, с напряжением U2, выходу высокочастотного генератора 1, то есть к противофазным выходам генератора 1 (фиг.1).
Основной потенциальный электрод 4 и дополнительный потенциальный электрод 6 могут быть выполнены каждый из двух частей, расположенных симметрично относительно измерительного электрода 5. При этом каждая часть основного потенциального электрода 4 подключена к основному, с напряжением U1, выходу высокочастотного генератора 1, а каждая часть дополнительного потенциального электрода 6 – к инверсному, с напряжением U2, выходу высокочастотного генератора 1 (фиг.2). Выполнение основного и дополнительного потенциальных электродов 4 и 6 каждого из двух частей, расположенных симметрично относительно измерительного электрода 5, обеспечивает область нулевого потенциала при входе и выходе потока контролируемого вещества.
Для упрощения конструкции и дополнительного повышения точности измерения за счет обеспечения постоянства соотношения и инверсности выходных напряжений U1 и U2 выходной каскад высокочастотного генератора 1 может быть выполнен в виде трансформатора 9 с основной 10 и дополнительной 11 выходными обмотками, связанными соответственно с основным, с напряжением U1, выходом генератора 1 и инверсным, с напряжением U2, выходом генератора 1. При этом начало основной 10 выходной обмотки трансформатора 9 подключено к основному потенциальному электроду 4, конец дополнительной 11 выходной обмотки трансформатора 9 подключен к дополнительному потенциальному электроду 6, а общая точка 12 основной 10 и дополнительной 11 выходных обмоток подключена к экранному корпусу 3 (фиг.3).
Диэлькометрический влагомер работает следующим образом. Ток, протекающий через емкостный первичный преобразователь, внутренняя полость которого заполнена контролируемым веществом 8, фиксируется измерителем тока 2. При этом в рабочей зоне емкостного первичного преобразователя основным потенциальным электродом 4 и дополнительным потенциальным электродом 6, подключенными к противофазным основному с напряжением U1 и инверсному с напряжением U2 выходам генератора 1, за счет противофазных напряжений создается зона с нулевым потенциалом, то есть контролируемое вещество в этой зоне находится под нулевым потенциалом – точка b (фиг.4).
При внесении в емкостный первичный преобразователь контролируемого вещества 8 величина измеряемого тока I, протекающего от генератора 1 к измерителю 2, определяется следующим выражением:

где U1 – напряжение на основном выходе высокочастотного генератора 1;
Z1 – комплексное сопротивление элементарного объема контролируемого вещества;
Z2 – комплексное сопротивление контакта контролируемого вещества с общей точкой измерительной цепи.
Изменение электрофизических параметров контролируемого вещества, в частности его диэлектрической проницаемости или влажности, приведет к изменению комплексного сопротивления Z1, что будет зафиксировано измерителем тока 2. Однако из формулы (1) видно, что измеряемый ток определяется не только величиной комплексного сопротивления Z1, но и величиной комплексного сопротивления контакта контролируемого вещества с общей точкой измерительной цепи Z2, т.е. величиной сопротивления между точками «а» и «b».
А поскольку в реальных условиях это сопротивление зависит от множества факторов технологического процесса: изменения плотности контролируемой массы вещества, электропроводности вещества, наличия проводящих предметов вблизи электродов емкостного первичного преобразователя и прочее, то точность измерения будет невелика. Однако при наличии в высокочастотном генераторе 1 дополнительного инверсного выхода с напряжением U2, а в емкостном первичном преобразователе – дополнительного потенциального электрода 6, подключенного к дополнительному инверсному выходу генератора 1 (фиг.4), в рабочей области емкостного первичного преобразователя существует область нулевого потенциала под действием двух противофазных напряжений. Эта область нулевого потенциала существует независимо от реальных условий технологического процесса. А поскольку потенциалы общей точки и контролируемой массы вещества – точки «а» и «b», – находящегося в области нулевого потенциала, будут равны, то ток через сопротивление контакта протекать не будет при любом значении этого сопротивления. Следовательно, ток измерительной цепи не зависит от внешних условий, то есть точность измерения повысится.
Таким образом, по сравнению с прототипом в предлагаемом диэлькометрическом влагомере отсутствует погрешность от электрической проводимости контролируемого вещества.
Формула изобретения
1. Диэлькометрический влагомер, содержащий емкостный первичный преобразователь с измерительным электродом, основным и дополнительным потенциальными электродами, заключенными в экранный корпус, высокочастотный генератор, основной выход которого подключен к основному потенциальному электроду, а к введенному инверсному выходу которого подключен дополнительный потенциальный электрод, и измеритель тока, соединенный с измерительным электродом.
2. Диэлькометрический влагомер по п.1, отличающийся тем, что основной и дополнительный потенциальные электроды выполнены каждый из двух частей, расположенных симметрично относительно измерительного электрода.
3. Диэлькометрический влагомер по п.1 или 2, отличающийся тем, что высокочастотный генератор содержит трансформатор с основной и дополнительной выходными обмотками, причем начало основной выходной обмотки трансформатора подключено к основному потенциальному электроду емкостного первичного преобразователя, конец дополнительной выходной обмотки трансформатора подключен к дополнительному потенциальному электроду емкостного первичного преобразователя, а общая точка выходных обмоток подключена к экранному корпусу.
РИСУНКИ
|
|