|
|
(21), (22) Заявка: 2006113232/28, 19.04.2006
(24) Дата начала отсчета срока действия патента:
19.04.2006
(46) Опубликовано: 10.01.2008
(56) Список документов, цитированных в отчете о поиске:
RU 2254563 C1, 20.06.2005. SU 1490557 A1, 30.06.1989. SU 1020772 A1, 30.05.1983. Испытательная техника. Справочник в двух томах/Под ред. д.т.н. проф. В.В.Клюева. – М.: Машиностроение, 1982. Голубков B.C., Пирогов К.М., Смушкович Б.Л. Испытательные машины в текстильном материаловедении. – М.: Легпромбытиздат, 1988.
Адрес для переписки:
352913, Краснодарский край, г. Армавир, Промзона, НИКЦИМ Точмашприбор
|
(72) Автор(ы):
Бугаец Александр Иванович (RU), Кравченко Алексей Федорович (RU), Потаенко Евгений Николаевич (RU), Чиликов Станислав Михайлович (RU)
(73) Патентообладатель(и):
Научно-исследовательский и конструкторский центр испытательных машин (ООО “НИКЦИМ Точмашприбор”) (RU)
|
(54) НАГРУЖАЮЩЕЕ УСТРОЙСТВО МАШИНЫ ИСПЫТАТЕЛЬНОЙ ДЛЯ МЕХАНИЧЕСКИХ ИСПЫТАНИЙ МАТЕРИАЛОВ НА РАСТЯЖЕНИЕ
(57) Реферат:
Изобретение относится к средствам (испытательным машинам) и методам механических испытаний материалов на растяжение.
Нагружающее устройство машины испытательной для механических испытаний материалов на растяжение включает основание, траверсу, колонны, гидравлические цилиндры и захваты для крепления образцов для испытания на растяжение, снабженные шарнирными устройствами в траверсе и основании.
Сущность изобретения состоит в том, что нижний захват снабжен дополнительным шарнирным устройством, расположенным в основании и фиксирующим соосность захватов с помощью гайки, являющейся элементом этого шарнира, при нагружении эталонного образца до нагрузки, превосходящей предельную, например, на 20%. Технический результат – фиксация постоянного взаимного расположения пассивного и активного захватов, при смене зажимных элементов, для соосного приложения нагрузки к испытываемому образцу. 1 ил.
Изобретение относится к средствам (испытательным машинам) для механических испытаний материалов на растяжение.
Широко известны нагружающие устройства машин испытательных для механических испытаний материалов на растяжение, обеспечивающие осевое деформирование образцов испытываемых материалов [Проспекты зарубежных фирм: Zwick, MFL, Schenck (Германия), Instron (Великобритания), MTS (США) до 1981 года (до принятия стандартов DIN 51302-81 (Германия) и BS 1610-81 (Великобритания) и отечественной фирмы “Каталог продукции НИКЦИМ”, журнал “Приборы” №3, 2001]. При этом точность измерительных приборов достаточно высока (в соответствии с отечественным стандартом ГОСТ 28840 и зарубежными стандартами ISO 7500-1 и EN 10002-3 погрешность измерений не должна превышать (±0,5÷±3)% от измеряемого значения в зависимости от класса машины).
Недостатком этих нагружающих устройств является низкая достоверность механических характеристик материалов – пределов текучести и прочности на разрыв из-за объективно имеющей место несоосности захватных устройств (пассивного и активного захватов) для крепления испытываемых образцов. Величина этой несоосности может изменяться от испытания к испытанию, приводит к значительному разбросу результатов испытаний из-за возможных изгибных напряжений, возникающих при растяжении испытываемых образцов. При этом величина изгибных напряжений может превышать на порядок допустимую погрешность измерения осевых напряжений, оцениваемых по осевому датчику силы.
Этот недостаток нагружающих устройств испытательных машин в некоторой степени снимается в нагружающем устройстве испытательной машины его настройкой на соосность захватов с помощью специального тензометрического датчика силы до допустимого значения погрешности от сопутствующего изгиба испытываемого образца, являющемся наиболее близким аналогом заявляемого изобретения [Проспекты зарубежных фирм: “Zwick/Roell” (Германия) 2000-2001 г., “Instron” (Великобритания) 1985-2001 г., “MTS” (США) 1999-2000 г.]. Например, по Германскому стандарту DIN 51 302-85 погрешность от сопутствующего изгиба, определяемая один раз с помощью специального тензометрического датчика силы при сдаче испытательной машины для испытания образцов материалов на растяжение из производства, допускается не более 5%. Таким образом, установленная погрешность измерения нагрузки (силы) меньше 5% или равная ей для конкретной испытательной машины может учитываться расчетным путем или автоматически при определении механических характеристик реальных образцов материалов.
Однако такой метод исключения погрешности при определении механических характеристик образцов материалов при испытании их на растяжение имеет ряд существенных недостатков. Во-первых, напряжения от случайных изгибов нестабильны не только при испытаниях различных типов и типоразмеров образцов материалов, но и при испытаниях идентичных образцов по той причине, что практически невозможно выполнить идентичную установку серии образцов в захватах нагружающего устройства разрывной машины. Во-вторых, взаимное расположение пассивного и активного захватов, при смене зажимных элементов, не остается постоянным от испытания к испытанию. В-третьих, испытываемые образцы материалов реально не могут быть геометрически идентичными.
Этих недостатков лишено заявляемое нагружающее устройство испытательной машины для механических испытаний материалов на растяжение, в котором дополнительный шарнир в креплении нижнего пассивного захвата позволяет предварительно перед испытаниями образцов материалов на растяжение выставить захваты соосно с помощью эталонного образца при нагрузке, превышающей предельную, например, на 20%, и зафиксировать это положение захватов с помощью гайки, являющейся элементом этого шарнира.
Сущность изобретения состоит в том, что нижний захват снабжен дополнительным шарнирным устройством, расположенным в основании и фиксирующим соосность захватов с помощью гайки, являющейся элементом этого шарнира, при нагружении эталонного образца до нагрузки, превосходящей предельную, например, на 20%.
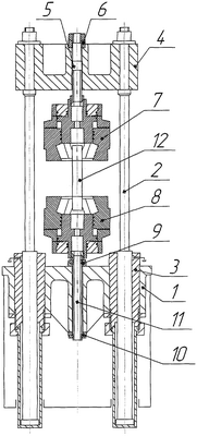
На приведенном чертеже схематично изображено нагружающее устройство испытательной машины, обеспечивающее соосное приложение нагрузки к испытываемому образцу с помощью дополнительного шарнира в креплении нижнего захвата к основанию.
В состав данного изобретения “Нагружающее устройство машины испытательной для механических испытаний материалов на растяжение” входят: основание 1, колонны 2, утолщенные части которых являются поршнями гидроцилиндров 3, траверса 4, электротензометрический датчик силы 5 с шарнирным устройством 6 в траверсе 4, захваты 7 и 8 (активный и пассивный), шарнирные устройства 9 и 10, закрепленные на стержне 11 в основании 1.
Заявляемое нагружающее устройство машины испытательной для механических испытаний материалов на растяжение работает следующим образом.
После сборки испытательной машины эталонный образец 12 закрепляется в захватах 7 и 8 и нагружается нагрузкой, превосходящей предельную на 20%. Это положение эталонного образца 12 фиксируется с помощью гайки, являющейся элементом дополнительного шарнира 9, исключающей его как шарнир (и, следовательно, фиксируется соосность захватов 7 и 8). После снятия нагрузки и эталонного образца 12 нижний захват остается зафиксированным в положении, соосном с верхним захватом. Эта соосность сохраняется в дальнейшем при всех механических испытаниях образцов металлов и сплавов на растяжение.
Формула изобретения
Нагружающее устройство машины испытательной для механических испытаний материалов на растяжение, включающее основание, траверсу, колонны, гидравлические цилиндры и захваты для крепления образцов для испытания на растяжение, снабженные шарнирными устройствами в траверсе и основании, отличающееся тем, что нижний захват снабжен дополнительным шарнирным устройством, расположенным в основании и фиксирующим соосность захватов с помощью гайки, являющейся элементом этого шарнира, при нагружении эталонного образца до нагрузки, превосходящей предельную, например, на 20%.
РИСУНКИ
|
|