|
(21), (22) Заявка: 2005133514/28, 31.10.2005
(24) Дата начала отсчета срока действия патента:
31.10.2005
(43) Дата публикации заявки: 10.05.2007
(46) Опубликовано: 10.01.2008
(56) Список документов, цитированных в отчете о поиске:
SU 737798 A1, 30.05.1980. RU 2241212 C2, 27.11.2004. SU 1213367 A1, 23.02.1986. SU 1377634 A1, 28.02.1988. GB 1506701 A, 12.04.1978. US 3511088 A1, 12.05.1970.
Адрес для переписки:
443086, г.Самара, Московское ш., 34, СГАУ, патентный отдел
|
(72) Автор(ы):
Юсупов Ринат Юнусович (RU), Глущенков Владимир Александрович (RU), Черников Дмитрий Генадьевич (RU)
(73) Патентообладатель(и):
Государственное образовательное учреждение высшего профессионального образования Самарский государственный аэрокосмический университет им. акад. С.П. Королева (RU)
|
(54) ДАТЧИК ИМПУЛЬСНЫХ ДАВЛЕНИЙ
(57) Реферат:
Датчик импульсных давлений относится к измерительной технике и предназначен для регистрации быстропеременных давлений, в том числе параметров удара твердых, жидких и газообразных сред. Датчик содержит акустический волновод постоянного акустического сопротивления, снабженный чувствительным элементом на приемной части волновода. Волновод выполнен из двух участков разного поперечного сечения, причем приемная часть волновода выполнена с меньшим сечением относительно опорной части. Для регистрации импульсов давления в среде с повышенной температурой чувствительный элемент расположен у основания приемной части волновода и охлаждается жидким или газообразным хладагентом. Техническим результатом изобретения является повышение точности при регистрации в широком диапазоне длительности импульсов, упрощение конструкции и уменьшение габаритов. 1 з.п. ф-лы, 3 ил.
Предлагаемый датчик относится к измерительной технике и предназначен для регистрации быстропеременных и импульсных давлений, в том числе параметров удара твердых, жидких и газообразных сред.
Известен датчик давления для измерения параметров волн давления, в котором для увеличения полезной длительности регистрации процесса чувствительный элемент соединен со стержневым акустическим волноводом, имеющим постоянное сечение и акустическое сопротивление по длине (а.с. СССР №391428, МПК G01L 9/08, 1975 г).
Недостатки датчика: полезная длительность регистрации ударного процесса ограничивается моментом прихода отраженной волны от свободного конца акустического волновода. При регистрации длительных импульсов значительно возрастают габариты датчика, что приводит к усложнению условий эксплуатации и ограничивает область применения.
Наиболее близким по технической сущности и достигаемому результату является датчик давления, в котором акустический волновод выполнен в виде набора коаксиальных цилиндров, соединенных со стержневой частью волновода на свободном конце (а.с. СССР №737798, МПК G01L 9/08, 1980 г). Расширение длительности регистрируемого сигнала и уменьшение габаритов датчика по длине достигается изменением направления распространения волн в акустическом волноводе при переходе от стержневой части к системе коаксиальных цилиндров.
Недостатками датчика являются внутренние отражения волн давления в местах соединения коаксиальных цилиндров по торцам, так как в конструкции датчика не предусмотрены меры для прохода волн через область соединений без отражения. Кроме того, при увеличении числа коаксиальных цилиндров значительно возрастают поперечные размеры датчика.
В основу изобретения поставлены следующие задачи: упрощение конструкции, уменьшение габаритов, повышение универсальности датчика и точности измерений за счет уменьшения помех от отраженных волн.
Данные задачи достигаются тем, что в датчике импульсных давлений акустический волновод выполнен из однородного материала, имеющего постоянное акустическое сопротивление по длине, и состоит из двух участков разного сечения, причем приемная часть волновода с размещенным на нем чувствительным элементом имеет меньшее сечение относительно опорной части. Для регистрации импульсных давлений в среде с повышенной температурой чувствительный элемент расположен у основания приемной части волновода и охлаждается хладагентом.
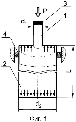
На фиг.1 представлена конструкция датчика импульсных давлений. На фиг.2 – вариант конструкции для измерения импульсных давлений в труднодоступном месте. На фиг.3 – вариант конструкции датчика импульсных давлений для регистрации в условиях повышенной температуры измеряемой среды.
Уменьшение габаритов и погрешности при регистрации импульсов давления в широком диапазоне длительности процесса достигается за счет замыкания основного потока отраженных волн в опорной части волновода большего сечения. Участки волновода выполнены из цельного материала при отсутствии контактных соединений между ними, что препятствует возникновению внутренних отраженных волн в приемной части, на которой расположен чувствительный элемент.
Датчик импульсных давлений содержит акустический волновод, состоящий из приемного стержня 1 и опорной части 2. Чувствительный элемент 3 располагается на приемном стержне. Волновод изолирован демпфирующими прокладками или заливкой эластичным компаундом 4.
Работа датчика импульсных давлений.
Волна давления воздействует на чувствительный элемент 3 и проходит через приемную часть 1 волновода в опорную 2. Благодаря тому что волновод выполнен из однородного материала с постоянным акустическим сопротивлением, в месте сочленения приемной и опорной частей отсутствуют внутренние отражения волн давления. Волна давления, проходя из приемной части меньшего сечения d1, распространяется вдоль опорной части большего сечения d2 и преобразуется из сферической формы в плоскую. В результате плотность энергии падающей волны на свободный конец опорной части 2 волновода меньше, чем в приемной части 1 во столько раз, во сколько площадь поперечного сечения приемной части меньше площади опорной. Далее основной поток волны давления замыкается в опорной части волновода, отражаясь от торцевых плоскостей концов стержня.
Таким образом, в приемную часть попадает часть отраженной волны, уменьшенной на величину k=(d1/d2)2. Для эффективного уменьшения плотности энергии отраженной волны необходимо, чтобы длина опорной части волновода была: L (5…10)d2. В этом случае соблюдается условие преобразования сферической волны в стержне опорной части в плоскую форму.
Для расширения универсальности датчика и обеспечения возможности регистрации импульсов давления в труднодоступных местах приемная часть волновода может быть выполнена с криволинейным участком (фиг.2). В этом случае волна давления также распространяется в приемной части волновода без внутренних отражений в месте сочленения криволинейного участка 1 с опорной частью 2.
На фиг.3 представлен вариант конструкции датчика импульсных давлений для регистрации в среде с повышенной температурой. Чувствительный элемент 3 (например, тензопреобразователь) расположен у основания приемной части волновода 1. Чувствительный элемент изолирован крышкой с демпфирующими прокладками 5. Зона с чувствительным элементом охлаждается газообразным или жидким хладагентом 6, например трансформаторным маслом.
Поверхность опорной части, примыкающая к приемной части волновода, может быть использована для монтажа элементов измерительной схемы (например, нормирующих усилителей) и выводов чувствительного элемента.
При реализации предлагаемого датчика импульсного давления существенно уменьшаются затраты на его изготовление и монтаж за счет упрощения конструкции и технологичности по сравнению с известными аналогами.
Примеры практической реализации датчика импульсных давлений:
1. Датчик давления, выполненный аналогично конструкции на фиг.1, используется для регистрации параметров удара электромагнитного привода при отработке технологии импульсной клепки листовых материалов;
2. Датчик давления, выполненный аналогично конструкции на фиг.2, используется для регистрации параметров ударных волн, возникающих при электрическом разряде в воде в технологии электрогидроимпульсной обработки материалов;
3. Датчик давления, выполненный аналогично конструкции на фиг.3, используется для измерения параметров ударных волн при магнитно-импульсной обработке сплавов жидкого металла.
Например, датчик давления, имеющий отношение диаметров опорной и приемной частей волновода d2:d1=50:10 мм при длине опорной части 150 мм, позволяет регистрировать импульсы длительностью 10…300 микросекунд, обеспечивая отношение сигнал/шум более 20.
Формула изобретения
1. Датчик импульсных давлений для измерения быстропеременных давлений и параметров удара, содержащий акустический волновод постоянного акустического сопротивления, снабженный чувствительным элементом, отличающийся тем, что волновод выполнен из двух участков разного поперечного сечения, причем приемная часть волновода выполнена с меньшим сечением относительно опорной части с соответствующим соблюдением условий соответствия соотношения сигнал-шум k=(d1/d2)2 и L=(5…10)d2, где k – коэффициент сигнал/шум; d1, d2 – диаметры приемной и опорной частей соответственно; L – длина опорной части.
2. Датчик импульсных давлений по п.1, отличающийся тем, что чувствительный элемент расположен у основания приемной части волновода и охлаждается жидким или газообразным хладоагентом.
РИСУНКИ
|