|
|
(21), (22) Заявка: 2004110607/28, 08.04.2004
(24) Дата начала отсчета срока действия патента:
08.04.2004
(43) Дата публикации заявки: 20.09.2005
(46) Опубликовано: 10.01.2008
(56) Список документов, цитированных в отчете о поиске:
RU 200132917 А, 27.09.2003. SU 473903 А, 14.06.1975. SU 1795296 A1, 15.02.1993. GB 2164453 A, 19.03.1986. US 3331237 A, 07.12.1964.
Адрес для переписки:
104460, Москва, Зеленоград, 1-й Западный пр., 12, стр.1, ОАО “НИИМЭ и завод “МИКРОН”
|
(72) Автор(ы):
Скоробогатов Михаил Александрович (RU), Долгов Алексей Николаевич (RU), Гурский Юрий Николаевич (RU)
(73) Патентообладатель(и):
Открытое акционерное общество “НИИ молекулярной электроники и завод “МИКРОН” (RU)
|
(54) ДОЗАТОР ГОМОГЕННОЙ ПАРОГАЗОВОЙ СМЕСИ
(57) Реферат:
Изобретение относится к средствам для образования паровой и парогазовой смеси, используемой при высокотемпературной обработке изделий в производстве полупроводниковых приборов и интегральных схем. Изобретение направлено на повышение надежности и качества дозатора, что обеспечивается за счет того, что дозатор гомогенной парогазовой смеси содержит резервуар с реагентом, нагреватель, размещенный во внутренней трубке, камеру испарения с патрубками, образованную двумя расположенными одна в другой трубками, образующими щелевой переменного сечения капиллярный зазор, а на внешней поверхности внутренней трубки нанесены по всей ее длине капиллярные каналы с острошероховатой внутренней поверхностью. При этом согласно изобретению трубки, образующие камеру испарения, коаксиально расположены одна в другой и образуют щелевой переменного сечения капиллярный зазор вдоль трубок за счет неровности поверхностей соприкасающихся между собой стенок трубок, а в капиллярном зазоре, по всей длине внешней поверхности внутренней трубки, нанесены капиллярные каналы с острошероховатой внутренней поверхностью, произвольной длины и направления, образующие капиллярный лабиринт. 1 ил.
Изобретение относится к средствам для образования паровой или парогазовой смеси, используемой при высокотемпературной обработке изделий в производстве полупроводниковых приборов и интегральных схем.
Известен “Дозатор гомогенной парогазовой смеси” (АС 473903 “Дозатор гомогенной парогазовой смеси”, авторы И.П.Канорушкин, Ю.И.Прохоров и А.А.Осипов, М. кл. G01f 11/28, опубл. 14.06.1975 г.), содержащий резервуар с реагентом, нагреватель, размещенный во внутренней трубке, камеру испарения с патрубками, образованную двумя эксцентрично расположенными одна в другой трубками, образующими щелевой переменного сечения капиллярный зазор вдоль трубок. Такая конструкция позволяет образовывать однородный состав парогазовой смеси при проведении процессов любой длительности по времени.
Недостатком этого дозатора является низкая надежность в работе, т.к. стенки трубок в капиллярном зазоре не имеют достаточного количества активных центров парообразования и кипение носит “взрывной” характер, что приводит к поломке внутренней трубки.
Наиболее близким к предлагаемому техническому решению является “Дозатор гомогенной парогазовой смеси” (заявка №2001132917/28, приоритет от 06.12.2001, “Дозатор гомогенной парогазовой смеси”, авторы Скоробогатов М.А., Долгов А.Н., Гурский Ю.Н., MHK 7 G01F 11/28, публикация РЖ “Изобретения”, №27, 2003 г.), содержащий резервуар с реагентом, нагреватель, размещенный во внутренней трубке, камеру испарения с патрубками, образованную двумя эксцентрично расположенными одна в другой трубками, образующими щелевой переменного сечения капиллярный зазор вдоль трубок, причем в капиллярном зазоре, в нижней части поверхности внутренней трубки, нанесены по всей ее длине капиллярные каналы с острошероховатой внутренней поверхностью.
Такая конструкция устранила “взрывной” характер кипения, где за счет равномерного “пузырчатого” кипения на острошероховатой поверхности капиллярных каналов исключена поломка дозатора и за счет этого повысилась его надежность в работе при проведении процессов любой длительности по времени.
Недостатком этого дозатора является длительный переходной процесс в получении необходимого объема испаряемого реагента, подаваемого в рабочую зону, зависящий от инерционности заполнения реагентом объема щелевого переменного сечения капиллярного зазора по всей длине вдоль трубок, что влияет на воспроизводимость электрофизических параметров обрабатываемых изделий при краткосрочных во времени высокотемпературных процессах.
Задачей, на решение которой направлено данное изобретение, является достижение технического результата, заключающегося в значительном уменьшении времени получения необходимого объема пара, подаваемого в рабочую зону, за счет исключения переходного процесса в предлагаемой конструкции.
Поставленная задача решается в дозаторе гомогенной парогазовой смеси, содержащем резервуар с реагентом, нагреватель, размещенный во внутренней трубке, камеру испарения с патрубками, образованную двумя расположенными одна в другой трубками, образующими щелевой переменного сечения капиллярный зазор вдоль нижней части трубок, где в капиллярном зазоре, в нижней части внешней поверхности внутренней трубки нанесены по всей ее длине капиллярные каналы с острошероховатой внутренней поверхностью, причем камера испарения образована двумя кооксиально расположенными одна в другой трубками, образующими щелевой переменного сечения капиллярный зазор вдоль трубок, за счет неровности поверхностей соприкасающихся между собой стенок трубок, а в капиллярном зазоре по всей длине внешней поверхности внутренней трубки нанесены капиллярные каналы с острошероховатой внутренней поверхностью, произвольной длины и направления, образующие капиллярный лабиринт.
Таким образом, отличительным признаком изобретения является то, что камера испарения образована двумя кооксиально расположенными одна в другой трубками, образующими щелевой переменного сечения капиллярный зазор вдоль трубок, за счет неровности поверхностей соприкасающихся между собой стенок трубок, а в капиллярном зазоре по всей длине внешней поверхности внутренней трубки нанесены капиллярные каналы с острошероховатой внутренней поверхностью произвольной длины и направления, образующие капиллярный лабиринт.
Указанные признаки позволяют достичь технического результата, заключающегося в значительном уменьшении времени получения необходимого объема пара, подаваемого в рабочую зону при его включении и выключении, за счет исключения переходного процесса, так как в предлагаемой конструкции нет застойных объемов с реагентом.
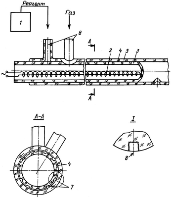
На чертеже изображен предложенный дозатор, который состоит из резервуара с реагентом 1, нагревателя 2, размещенного во внутренней трубке 3, камеры испарения 4 с патрубками 6.
Камера испарения 4 образована внутренней поверхностью внешней трубки 5 и внешней поверхностью внутренней трубки 3, кооксиально расположенными одна в другой, образующими вдоль стенок трубок щелевой капиллярный зазор переменного сечения, за счет неровности поверхностей соприкосновения между собой обеих трубок. По всей длине внешней поверхности внутренней трубки 3, для создания активных центров парообразования и усиления эффекта капиллярных сил при заполнении камеры испарения реагентом, нанесены капиллярные каналы 7 с острошероховатой внутренней поверхностью произвольной длины и направления, образующие капиллярный лабиринт.
Дозатор работает следующим образом.
Реагент из резервуара поступает в капиллярный зазор камеры испарения, где сразу за счет капиллярных сил растекается тонким слоем в капиллярном зазоре между внутренней и внешней трубками, одновременно встречая на своем пути горячую острошероховатую внутреннюю поверхность капиллярных каналов, быстро их заполняет и испаряется на большом количестве активных центров парообразования.
Образовавшийся пар, в пространстве, между закрытым концом дозатора со стороны патрубков и реагентом, поступающим из патрубка в капиллярный зазор камеры испарения, оттесняет порции поступающего реагента, разной формы и объема в капиллярный лабиринт вдоль трубок.
В капиллярном лабиринте, за счет нарастающего объема пара, порции реагента, перемещаясь, перемешиваются, прогреваются и распадаются на более мелкие части и испаряются на большом количестве активных центров парообразования, образуя необходимый объем пара, прогретого до высокой температуры.
При этом обеспечивается равномерное “пузырчатое” кипение с температурой кипения выше, чем в открытом объеме.
Предложенный дозатор можно использовать как эффективный смеситель газов и реагентов в различных областях науки и техники.
Формула изобретения
Дозатор гомогенной парогазовой смеси, содержащий резервуар с реагентом, нагреватель, размещенный во внутренней трубке, камеру испарения с патрубками, образованную двумя расположенными одна в другой трубками, образующими щелевой переменного сечения капиллярный зазор, а на внешней поверхности внутренней трубки нанесены по всей ее длине капиллярные каналы с острошероховатой внутренней поверхностью, отличающийся тем, что трубки, образующие камеру испарения, коаксиально расположены одна в другой и образуют щелевой переменного сечения капиллярный зазор вдоль трубок за счет неровности поверхностей соприкасающихся между собой стенок трубок, а в капиллярном зазоре, по всей длине внешней поверхности внутренней трубки, нанесены капиллярные каналы с острошероховатой внутренней поверхностью, произвольной длины и направления, образующие капиллярный лабиринт.
РИСУНКИ
|
|