|
|
(21), (22) Заявка: 2001125930/28, 02.02.2000
(24) Дата начала отсчета срока действия патента:
02.02.2000
(30) Конвенционный приоритет:
23.02.1999 US 09/256,642
(43) Дата публикации заявки: 27.07.2003
(46) Опубликовано: 10.01.2008
(56) Список документов, цитированных в отчете о поиске:
US 5691485 A, 25.11.1997. Крайнев А.Ф. Словарь-справочник по механизмам. Издание 2. М.: Машиностроение, 1987, с.146, таблица 2, вторая строка, колонка 5, с.411. US 3151894 А, 06.10.1964. US 5814739 А, 29.09.1998.
(85) Дата перевода заявки PCT на национальную фазу:
24.09.2001
(86) Заявка PCT:
US 00/02724 (02.02.2000)
(87) Публикация PCT:
WO 00/50854 (31.08.2000)
Адрес для переписки:
129090, Москва, ул. Б. Спасская 25, стр.3, ООО “Юридическая фирма Городисский и Партнеры”, Ю.Д.Кузнецову
|
(72) Автор(ы):
ВАН КЛИВ Крэйг Брэйнерд (US)
(73) Патентообладатель(и):
МАЙКРО МОУШН, ИНК. (US)
|
(54) РАСХОДОМЕР КОРИОЛИСА И СПОСОБ РАБОТЫ РАСХОДОМЕРА КОРИОЛИСА
(57) Реферат:
Изобретение предназначено для применения в расходомерах Кориолиса с прямой трубкой. Расходомер Кориолиса, содержащий расходомерную трубку, балансировочный стержень, ориентированный, по существу, параллельно продольной оси упомянутой расходомерной трубки, первый и второй концы, подсоединенные к противоположным торцевым участкам упомянутой расходомерной трубки, кожух, содержащий упомянутый балансировочный стержень и упомянутую расходомерную трубку, соединительные звенья кожуха, подсоединяющее упомянутые первый и второй концы упомянутого балансировочного стержня к внутренней стенке упомянутого кожуха, отличается тем, что содержит, по меньшей мере, один изгиб в упомянутых звеньях кожуха для обеспечения изменений эффективного размера упомянутых соединительных звеньев кожуха в ответ на тепловые различия между упомянутой расходомерной трубкой и упомянутым кожухом. Способ работы расходомера Кориолиса содержит этап, на котором осуществляют колебания упомянутого балансировочного стержня и упомянутой расходомерной трубки в противофазе при условии протекания вещества по упомянутому расходомеру для вырабатывания упомянутой выходной информации, относящейся к упомянутому протекающему веществу, и используют упомянутые соединительные звенья кожуха с изгибом поверхности для обеспечения возможности изменений эффективного размера упомянутых соединительных звеньев кожуха в ответ на тепловые различия между упомянутой расходомерной трубкой и упомянутым кожухом. Изобретение позволяет изменять эффективный размер звеньев (связей) для снижения термических напряжений, вызванных наличием температурного градиента, как в самих связях, так и в элементах, к которым они присоединены. 2 н.п.ф-лы, 7 ил.
Область техники, к которой относится изобретение
Настоящее изобретение касается расходомера Кориолиса с прямой трубкой, в частности соединительного звена кожуха, которое обеспечивает пониженное термическое напряжение для расходомера Кориолиса с прямой трубкой.
Проблема
Известно, что элементы, находящиеся внутри расходомера Кориолиса с прямой трубкой, подвергаются напряжению, когда расходомер находится в условиях, при которых внутри участка или между различными участками расходомера образуются температурные перепады. Эти температурные перепады могут вызывать расширение/сжатие участка и повреждение либо непосредственно самого участка, либо тех частей, к которым подсоединен расширяющийся/сжимающийся участок. Например, расширение/сжатие расходомерной трубки на величину, отличающуюся от величины расширения/сжатия тех элементов расходомера, с которыми соединена эта трубка, может подвергать трубку напряжению, превышающему ее допустимую деформацию. Таким образом, если расходомерная трубка расширяется слишком сильно относительно кожуха и его торцевых фланцев, расходомерная трубка может согнуться. И наоборот, если расходомерная трубка слишком сильно сжимается относительно торцевых фланцев кожуха, могут образоваться трещины или разрывы, или она может не выдержать и получить остаточную деформацию.
Были сделаны попытки минимизировать проблемы, связанные с тепловым сжатием/расширением в расходомерных трубках расходомеров Кориолиса. Одно решение состоит в использовании материалов, имеющих аналогичные коэффициенты расширения, так чтобы расширение/сжатие всех элементов было однородным. Другое решение заключается в использовании расходомерной трубки с таким предварительным напряжением, чтобы она могла изменять длину на умеренную величину без чрезмерных внутренних напряжений. Еще в одном решении близко к концам расходомерной трубки используется сильфон, так что длина расходомерной трубки может изменяться без ненужного напряжения. Еще одно решение предусматривает изгибы в расходомерной трубке так, чтобы изменения длины поглощались сегментом расходомерной трубки, содержащим изгиб. Другим решением является скользящий монтаж концов расходомерной трубки к концам кожуха. Эти решения снижают проблемы, связанные с термически наведенными изменениями длины расходомерной трубки относительно элементов расходомера, с которыми соединена расходомерная трубка. Однако эти решения не снизили проблемы термически наводимых изменений диаметра расходомерной трубки. Эти изменения диаметра вызывают напряжения в других элементах расходомера Кориолиса, включая элементы, которые подсоединяют кожух расходомера к колебательным элементам расходомера, включая расходомерную трубку и окружающий ее балансировочный стержень.
Известно использование соединительных звеньев кожуха для подсоединения концевых узлов колебаний расходомерной трубки к кожуху расходомерной трубки. Это выполняют с целью предотвращения чрезмерных колебаний концевых узлов при условиях разбаланса. Чрезмерное колебание концевых узлов является нежелательным, поскольку оно вызывает изменения в чувствительности к изменениям скорости потока измерителя. Нежелательные колебательные отклонения у стержня растяжки (где находятся концевые узлы) предотвращаются подсоединением стержня растяжки к соединительному звену, ориентированному в поперечном направлении относительно направления колебаний расходомерной трубки и осевого направления расходомерной трубки. Один конец соединительного звена кожуха соединен с внутренней стенкой кожуха; другой конец соединительного звена кожуха соединен со стержнем растяжки или концом балансировочного стержня. Известное соединительное звено кожуха представляет собой относительно тонкую плоскую деталь листовой пружины, которая является гибкой в режиме кручения и не препятствует вращению расходомерной трубки и балансировочного стержня в требуемых узлах колебаний. Однако соединительное звено кожуха предотвращает перемещение концевых узлов в направлении возбуждения при условиях разбаланса. Каждое звено предотвращает перемещение своего соответственного концевого узла благодаря жесткой связи концевого узла с относительно большой массой кожуха. Вследствие этого соединительное звено кожуха улучшает точность измерителя в измеряемых веществах с плотностью, которая выше или ниже номинальной. Расходомер, имеющий соединительное звено кожуха этого типа, показан в патенте ЕР-0759542А1, опубликованном 26 февраля 1997 г. В патенте США N5850039 раскрыт расходомер Кориолиса, в котором гибкие материалы, подсоединенные к расходомерной трубке и кожуху, изгибаются в ответ на тепловые изменения расходомерной трубки и кожуха, чтобы минимизировать осевое напряжение в расходомерной трубке.
В расходомерах Кориолиса, имеющих прямую трубку, в которых используются соединительные звенья кожуха, расходомерная трубка проходит по всей длине расходомера, где концы расходомерной трубки подсоединены к торцевым фланцам кожуха. Балансировочный стержень обычно расположен параллельно расходомерной трубке и может быть либо отдельной параллельной деталью, либо цилиндрической деталью, окружающей расходомерную трубку. Длина балансировочного стержня меньше, чем длина расходомерной трубки, чтобы каждый конец балансировочного стержня можно было соединять стержнем растяжки с ближним торцевым участком расходомерной трубки. Стержень растяжки обычно представляет собой относительно короткую круглую деталь, которая проходит в поперечном направлении от конца балансировочного стержня к ближнему торцевому местоположению расходомерной трубки.
Узел колебаний объединения расходомерной трубки/стержня растяжки обычно находится на стержне растяжки при условиях колебательного баланса. Без соединительных звеньев кожуха, когда в расходомерную трубку попадают вещества, имеющие относительно более высокую или относительно более низкую плотность, чем номинальная, узел колебаний может перемещаться из стержня растяжки в осевом направлении внутрь по направлению к центру расходомерной трубки в случае тяжелого вещества или в осевом направлении наружу по направлению к торцевым фланцам в случае относительно легких веществ. Эти условия колебательного разбаланса вызывают колебание стержня растяжки в виде части колебательной системы и при таком выполнении укорачивание или удлинение колеблющейся длины расходомерной трубки, с которой он соединен. Это изменение длины активного участка расходомерной трубки нежелательно, поскольку оно производит нежелательные изменения в чувствительности к изменениям скорости потока расходомера, изменяя расстояние между узлами и чувствительными элементами.
Использование соединительных звеньев кожуха, расположенных в поперечном направлении относительно направления возбуждения расходомерной трубки и оси трубки, вынуждает узлы колебаний объединения расходомерной трубки/стержня растяжки/балансировочного стержня оставаться на стержне растяжки. Использование соединительных звеньев кожуха обеспечивает достижение цели минимизирования нежелательных колебаний областей стержня растяжки внутри расходомера при условиях колебательного разбаланса, связанного с обработкой более тяжелых или чрезвычайно легких материалов.
Хотя использование соединительных звеньев кожуха минимизируют нежелательные колебания в расходомерах Кориолиса с прямой трубкой, соединительные звенья кожуха подвержены повреждению конструкции, когда температура вещества в расходомерной трубке отличается от температуры кожуха. При таких условиях конец стержня растяжки соединительных звеньев кожуха может перемещаться в радиальном направлении на иное расстояние, чем конец кожуха, из-за различных величин теплового расширения/сжатия диаметра расходомерной трубки. Это приводит к тому, что соединительные звенья кожуха подвергаются сжимающим или растягивающим нагрузкам, которые могут подвергать напряжению и повреждать соединительные звенья или элементы, с которыми они соединены.
Следовательно, можно заметить, что существует проблема минимизирования повреждений конструкции таких соединительных звеньев кожуха, являющихся результатом отличающихся величин тепловых сжатий/расширений кожуха и области стержня растяжки.
На основании вышеизложенного можно отметить, что аспектом изобретения является расходомер Кориолиса, содержащий:
расходомерную трубку;
балансировочный стержень, ориентированный, по существу, параллельно продольной оси упомянутой расходомерной трубки;
первый и второй концы упомянутого балансировочного стержня, подсоединенные к противоположным ближним торцевым участкам упомянутой расходомерной трубки;
кожух, содержащий упомянутый балансировочный стержень и упомянутую расходомерную трубку;
средство соединительных звеньев кожуха, подсоединяющее упомянутые первый и второй концы упомянутого балансировочного стержня к внутренней стенке упомянутого кожуха;
по меньшей мере один изгиб вне плоскости в упомянутом средстве соединительных звеньев кожуха для обеспечения возможности изменений эффективного размера упомянутого средства соединительных звеньев кожуха в ответ на тепловые различия между упомянутой расходомерной трубкой и упомянутым кожухом.
Другой аспект заключается в том, что упомянутая расходомерная трубка является по существу прямой.
Еще один аспект заключается в том, что упомянутый балансировочный стержень является, по существу, цилиндрическим и окружает упомянутую расходомерную трубку.
Еще один аспект заключается в том, что упомянутый кожух является цилиндрическим и ориентирован, по существу, параллельно продольной оси упомянутой расходомерной трубки.
Еще один аспект заключается в том, что упомянутое средство соединительных звеньев кожуха является удлиненным и, по существу, плоским и имеет продольную ось, ориентированную, по существу, перпендикулярно продольной оси упомянутой расходомерной трубки и упомянутого балансировочного стержня;
упомянутое удлиненное средство соединительных звеньев кожуха подсоединяет упомянутые первый и второй концы упомянутого балансировочного стержня к внутренней стенке упомянутого кожуха; и
по меньшей мере один изгиб вне плоскости в упомянутом удлиненном средстве соединительных звеньев кожуха обеспечивает возможность изменений эффективной длины упомянутого удлиненного средства соединительных звеньев кожуха в ответ на тепловые различия между упомянутой расходомерной трубкой и упомянутым кожухом.
Другой аспект заключается в том, что упомянутое соединительное средство кожуха содержит:
первое и второе соединительные звенья кожуха, расположенные на каждом конце упомянутого балансировочного стержня на противоположных сторонах упомянутого балансировочного стержня;
первый и второй концы на каждом из упомянутых соединительных звеньев кожуха, которые подсоединяют упомянутые первый и второй концы упомянутого балансировочного стержня к упомянутой внутренней стенке упомянутого кожуха.
Еще один аспект заключается в том, что упомянутое средство соединительных звеньев кожуха содержит первую и вторую, по существу, круглые диафрагмы, расположенные на противоположных концах упомянутого балансировочного стержня;
каждая диафрагма имеет поверхность, внешний край которой соединяет упомянутые первый и второй концы упомянутого балансировочного стержня с внутренней стенкой упомянутого кожуха; и
по меньшей мере один изгиб вне плоскости в упомянутой поверхности упомянутой диафрагмы обеспечивает возможность изменений эффективного диаметра упомянутой диафрагмы в ответ на тепловые различия между упомянутой расходомерной трубкой и упомянутым кожухом.
Еще один аспект заключается в том, что упомянутое средство соединительных звеньев кожуха является удлиненным и имеет множество изгибов вне плоскости в упомянутой поверхности упомянутого удлиненного средства соединительных звеньев кожуха, что обеспечивает возможность изменений эффективных размеров упомянутого удлиненного средства соединительных звеньев кожуха в ответ на тепловые различия между упомянутой расходомерной трубкой и упомянутым кожухом.
Еще один аспект заключается в том, что расходомерная трубка имеет постоянный диаметр по всей длине расходомера.
Еще один аспект заключается в том, что упомянутое средство соединительных звеньев кожуха является удлиненным и имеет сгибаемую поверхность, которая позволяет упомянутому соединительному средству кожуха изменять его эффективную длину в ответ на тепловые различия между упомянутой расходомерной трубкой и упомянутым кожухом;
концы упомянутой сгибаемой поверхности упомянутого удлиненного средства соединительных звеньев кожуха подсоединяют упомянутые первый и второй концы упомянутого балансировочного стержня к внутренней стенке упомянутого кожуха.
Еще один аспект заключается в том, что упомянутое средство соединительных звеньев кожуха содержит первое соединительное звено кожуха и второе соединительное звено кожуха;
упомянутое первое соединительное звено кожуха подсоединяет одну сторону упомянутой внутренней стенки упомянутого кожуха к первой стороне упомянутого балансировочного стержня;
упомянутое второе соединительное звено кожуха подсоединяет противоположную сторону упомянутой внутренней стенки упомянутого кожуха ко второй стороне упомянутого балансировочного стержня; и
центральный участок упомянутого соединительного средства кожуха определяет стержень растяжки, который подсоединяет упомянутую расходомерную трубку к упомянутому балансировочному стержню.
Еще один аспект заключается в том, что расходомер Кориолиса содержит:
прямую расходомерную трубку;
цилиндрический балансировочный стержень, окружающий упомянутую расходомерную трубку и ориентированный, по существу, параллельно продольной оси упомянутой расходомерной трубки;
первый и второй концы упомянутого балансировочного стержня, подсоединенные к противоположным ближним концевым участкам упомянутой расходомерной трубки;
цилиндрический кожух, содержащий упомянутый балансировочный стержень и упомянутую расходомерную трубку и ориентированный, по существу, параллельно продольной оси упомянутого балансировочного стержня;
первую и вторую круглые диафрагмы, определяющие упомянутое средство соединительных звеньев кожуха, соединенные с каждым концом упомянутого балансировочного стержня и имеющие поверхность, ориентированную, по существу, перпендикулярно продольной оси упомянутой расходомерной трубки и балансировочного стержня;
внешний край каждой упомянутой диафрагмы подсоединяет упомянутые первый и второй концы упомянутого балансировочного стержня к внутренней стенке упомянутого кожуха; и
по меньшей мере один изгиб вне плоскости в поверхности каждой упомянутой диафрагмы обеспечивает возможность изменений эффективного диаметра каждой упомянутой диафрагмы в ответ на тепловые различия между упомянутой расходомерной трубкой и упомянутым кожухом.
Еще один аспект заключается в том, что каждая из упомянутых диафрагм имеет внутренний участок, который определяет стержень растяжки, соединяющий упомянутую расходомерную трубку и упомянутый балансировочный стержень.
Еще один аспект изобретения заключается в способе функционирования расходомера Кориолисова, имеющего расходомерную трубку, приспособленную для приема потока вещества и вырабатывания выходной информации, касающейся упомянутого потока вещества; где упомянутый расходомер дополнительно имеет балансировочный стержень, ориентированный, по существу, параллельно продольной оси упомянутой расходомерной трубки, причем первый и второй концы упомянутого балансировочного стержня подсоединены стержнем растяжки к противоположным ближним торцевым участкам упомянутой расходомерной трубки, кожух, содержащий упомянутую расходомерную трубку и упомянутый балансировочный стержень; и упомянутое средство соединительных звеньев кожуха, подсоединяющее каждый конец упомянутого кожуха балансировочного стержня к внутренним участкам стенок упомянутого кожуха; трубку; где упомянутый способ содержит этапы:
колебания упомянутого балансировочного стержня и упомянутой расходомерной трубки в противофазе при условии протекания вещества по упомянутому расходомеру с целью вырабатывания упомянутой выходной информации, относящейся к упомянутому протекающему веществу; и
компенсирования упомянутого расходомера для условий изменения температурных перепадов между упомянутым кожухом и упомянутой расходомерной трубкой путем сгибания изгиба вне плоскости в поверхности упомянутого соединительного средства кожуха с целью облегчения изменений эффективных размеров упомянутого средства соединительных звеньев кожуха в ответ на упомянутые изменяющиеся перепады температур между упомянутой расходомерной трубкой и упомянутым кожухом.
Решение проблемы
Вышеупомянутая проблема решена и достигнут прогресс в технике в соответствии с настоящим изобретением, которое обеспечивает соединительное звено кожуха, имеющее изгиб вне плоскости, позволяющий ему расширяться/сжиматься в ответ на наличие теплового расширения/сжатия без постоянного повреждения соединительного звена кожуха или элементов расходомера, с которыми оно соединено.
В соответствии с первым примерным вариантом осуществления каждое соединительное звено кожуха содержит тонкую деталь, которая является удлиненной и которая проходит между внутренней стенкой кожуха расходомера и стержнем растяжки или концом балансировочного стержня. Соединительное звено кожуха размещают поперек стержня растяжки так, чтобы удлиненная ось соединительного звена кожуха располагалась поперек продольной оси расходомерной трубки, а также поперек направления возбуждения расходомерной трубки. Соединительное звено кожуха по настоящему изобретению содержит по меньшей мере один изгиб вне плоскости на участке звена, проходящем от конца стержня растяжки к внутренней стенке кожуха. Каждый изгиб вне плоскости содержит сгиб, который позволяет каждой половине соединительного звена кожуха расширяться или сжиматься в радиальном направлении в ответ на тепловые перепады без постоянной деформации конструкции. Изгиб вне плоскости также может содержать одни или больше острые сгибы, ряд складок, подобных гармошке, или в качестве альтернативы может содержать изогнутую или дугообразную конфигурацию.
В соответствии с другим возможным вариантом осуществления изобретения соединительное звено кожуха может содержать диафрагму, имеющую по меньшей мере одну складку или аналогичное устройство, где периферия диафрагмы соединена с внутренними стенками кожуха. Центральный участок диафрагмы подсоединен к стыку стержня растяжки, расходомерной трубки и балансировочного стержня. Торцевой участок расходомерной трубки проходит через отверстие в центре диафрагмы и подсоединяется к торцам кожуха.
Соединительное звено кожуха, обеспеченное в соответствии с настоящим изобретением, может согласовываться с тепловыми перепадами и деформироваться или сжиматься, по существу, в ответ на расширение/сжатие расходомерной трубки и балансировочного стержня в радиальном направлении без повреждения материала, содержащегося в соединительном звене кожуха. Это позволяет расходомеру, оборудованному соединительным звеном кожуха по настоящему изобретению, обрабатывать вещества в окружающей среде, где могут существовать сильные температурные перепады между различными частями расходомера, не вызывая повреждение конструкции в соединительном звене кожуха или элементах, с которыми оно соединено.
Описание чертежей
Вышеупомянутые и другие преимущества и особенности изобретения можно лучше понять из его последующего подробного описания, приведенного совместно с чертежами, на которых:
Фиг.1 раскрывает известный расходомер Кориолиса с прямой трубкой, имеющий соединительное звено кожуха.
Фиг.2 раскрывает дополнительные детали расходомера, показанного на фиг.1.
Фиг.3 раскрывает вид с торца показанного на фиг.1 расходомера по сечению 3-3 на фиг.1.
Фиг.4 раскрывает расходомер Кориолиса с прямой трубкой, имеющий соединительные звенья кожуха, воплощающие настоящее изобретение.
Фиг.5, 6, и 7 раскрывают альтернативные варианты осуществления соединительных звеньев кожуха, содержащих настоящее изобретение.
Подробное описание
Описание фиг.1
Расходомеры Кориолиса отличаются расходомерной трубкой, через которую протекает вещество, в то время как в расходомерной трубке вызываются колебания на ее резонансной частоте. Когда вещество не протекает, каждая точка на расходомерной трубке колеблется синфазно с каждой другой точкой на расходомерной трубке. Два чувствительных элемента, расположенных в различных точках на расходомерной трубке, вырабатывают синусоидальные сигналы, которые имеют одну и ту же фазу, когда вещество не протекает, и имеют разность фаз между ними, когда протекает вещество. Эта разность фаз обусловлена кориолисовыми силами, вырабатываемыми веществом, протекающим через колеблющуюся расходомерную трубку. Величина разности фаз между любыми двумя точками по длине расходомерной трубки, по существу, пропорциональна массовому расходу потока вещества. Массовые расходомеры Кориолиса используют обработку сигнала, которая определяет эту разность фаз и производит выходной сигнал, указывающий массовый расход наряду с другой информацией, относящейся к потоку вещества.
Фиг.1 раскрывает вид в разрезе известного расходомера 100 Кориолиса с прямой трубкой, имеющего кожух 101, который закрывает элементы расходомера, включающие расходомерную трубку 103 и окружающий ее балансировочный стержень 102. Расходомерная трубка 103 проходит по оси внутри кожуха 101 и подсоединена своими торцами 108 и 109 к торцевым фланцам 107. Торцевой фланец 107 присоединен горловиной 106 к торцам 104 кожуха 101. Расходомерная трубка 103 окружена балансировочным стержнем 102 и соединена с концами балансировочного стержня 102 стержнями 111 растяжки. Активным участком 115 расходомерной трубки 103 являются стержни 111 промежуточной связи. Продолжениями 113 и 114 расходомерной трубки являются промежуточные фланцы 107 и стержни 111 растяжки. Элементы 116 и 117 представляют собой концевые узлы колебаний активного участка 115 расходомерной трубки 103 при нормальных эксплуатационных условиях расходомера. Соединительные звенья кожуха содержат элементы 112а и 112b слева и элементы 112 с и 112d справа. Соединительные звенья кожуха стабилизируют колеблющиеся элементы расходомера, чтобы сохранять узел колебаний в местоположении 116 слева и в местоположении 117 справа в течение нормальных эксплуатационных условий, как описано ниже. Каждое соединительное звено 112 кожуха подсоединено первым концом к наружной стенке 124 балансировочного стержня 102, а вторым концом к внутренней стенке 105 кожуха 101.
Расходомер 100 дополнительно содержит задающее устройство D для колебания расходомерной трубки 103 и балансировочного стержня 102 не в фазе на резонансной частоте этих элементов с веществом, протекающим внутри расходомерной трубки 103. Расходомер 100 дополнительно содержит левый чувствительный элемент ЛЧЭ и правый чувствительный элемент ПЧЭ, которые подсоединены к расходомерной трубке 103 и балансировочному стержню 102 для обнаружения реакции Кориолиса расходомерной трубки, заполненной колеблющимся веществом. Левый чувствительный элемент ЛЧЭ, задающее устройство D и правый чувствительный элемент ПЧЭ подсоединены к электронике 122 измерителя проводниками 118, 119 и 121. Электроника 122 измерителя прикладывает возбуждающий сигнал к задающему устройству D через канал 119 для подачи питания в задающее устройство D так, чтобы оно колебало заполненную веществом расходомерную трубку 103 и балансировочный стержень 102 не в фазе на резонансной частоте этих элементов. Выходные сигналы, вырабатываемые левым чувствительным элементом ЛЧЭ и правым чувствительным элементом ПЧЭ, проводятся по проводникам 118 и 121 в электронику 122 измерителя. Электроника 122 измерителя принимает эти сигналы и обрабатывает их с целью вырабатывания информации, включающей массовый расход, для вещества, протекающего по расходомерной трубке 103. Информация, вырабатываемая электроникой 122 измерителя, подается по каналу 123 в схему использования (не показанную).
Колеблющаяся система расходомера 100 содержит расходомерную трубку 103, стержень 111 растяжки и балансировочный стержень 102. Узлы колебаний этих элементов постоянно находятся в левом и правом стержнях 111 растяжки во время нормального режима эксплуатации расходомера, при котором по расходомерной трубке 103 протекает вещество, имеющее номинальную плотность. Колеблющаяся система должна всегда сохранять свое динамическое равновесие, и при этих условиях динамическое равновесие сохраняется в узлах колебаний 116 и 117, представляющих местоположение без перемещения и находящихся в стержнях 111 растяжки. При таких условиях для стабилизирования колебаний внутренних элементов расходомера 100 соединительные звенья кожуха не требуются, пока расходомер 100 работает при этих идеальных условиях. Однако идеальные условия присутствуют не всегда и плотность протекающего вещества может либо увеличиваться, либо уменьшаться относительно номинального значения, при котором узлы колебаний находятся в местоположениях 116 и 117. Когда плотность вещества увеличивается, динамическое равновесие колеблющейся системы сохраняется, если узлы колебаний перемещаются по направлению внутрь от местоположений 116 и 117 вдоль расходомерной трубки 103. И наоборот, в случае вещества с меньшей плотностью узлы колебаний стремятся переместиться по направлению наружу, влево от местоположения 116 и вправо от местоположения 117, чтобы сохранить колеблющуюся конструкцию в динамическом равновесии. Если бы не было соединительных звеньев 112 кожуха, узлы колебаний переместились бы наружу от стержня 111 растяжки, когда плотность вещества становится более тяжелой или легкой. При таких условиях и при отсутствии соединительных звеньев 112 кожуха стержень 111 растяжки может колебаться в поперечном направлении относительно продольной оси расходомерной трубки 103. Это изменит колебательную длину расходомерной трубки 103 и изменит чувствительность к изменениям скорости потока измерителя из-за изменения расстояния между узлами колебаний и чувствительными элементами ЛЧЭ и ПЧЭ.
Соединительные звенья 112 кожуха минимизируют поперечные колебания стержня 111 растяжки. Они делают это, обеспечивая возможность направления сил, связанных с этими колебаниями, накладываемыми на стержень 111 растяжки, через соединительные звенья 112 кожуха к внутренней стенке 105 кожуха 101. Кожух 101 достаточно массивен для поглощения этих колебаний без каких-либо значимых колебаний самого кожуха. Таким образом, при наличии соединительных звеньев 112 кожуха узел колебаний колеблющейся конструкции, содержащей расходомерную трубку 103, стержень 111 растяжки и балансировочный стержень 102, остается внутри стержня 111 растяжки при всех приемлемых уровнях плотности вещества, с которыми может сталкиваться расходомерная трубка 103.
Известный расходомер на фиг.1 имеет недостаток, состоящий в том, что температурные перепады между расходомерной трубкой 103 и кожухом 101 могут вызвать повреждение конструкции во внутренних элементах расходомерной трубки 103, когда соединительные звенья 112 кожуха стремятся расширяться или сжиматься по длине в ответ на температурные перепады, которым они подвергаются. Причина этого заключается в том, что один конец каждого звена соединен с внутренней стенкой 105 кожуха 101, который имеет первую температуру, в то время как другой конец каждого звена эффективно соединен с расходомерной трубкой 103, имеющей другую температуру.
Описание фиг.2
Фиг.2 иллюстрирует проблему, с которой сталкивается расходомер 100, когда температура расходомерной трубки 103 выше, чем температура кожуха 101. При таком условии стержень 111 растяжки, расходомерная трубка 103 и балансировочный стержень 102 увеличиваются в диаметре вследствие теплового расширения. Соединительные звенья 112а и 112b кожуха также стремятся увеличивать свою длину, поскольку их концевые участки соединены с расходомерной трубкой 103, имеющей более высокую температуру. Однако концевые участки, соединенные с внутренней стенкой 105 кожуха 101, не могут перемещаться по направлению наружу, поскольку кожух 101 имеет более низкую температуру и чрезвычайно твердый. При таких условиях соединительные звенья 112а и 112b кожуха сгибаются и принимают изогнутое наружу положение, представленное пунктирными линиями 212а и 212b. Или они могут принимать положение, изогнутое внутрь (не показанное), или одно звено может выгибаться наружу, а другое звено выгибаться внутрь (не показано). Силы и напряжения, которым соединительные звенья 112 кожуха подвергаются при этих условиях, могут сгибать эти элементы за их нормальные пределы деформации и подвергать их постоянному механическому разрушению, при этом точность расходомера снижается.
Описание фиг.3
Фиг.3 представляет вид с торца, взятый по линии сечения 3-3 на фиг.1. Можно заметить, что соединительные звенья 112 кожуха являются плоскими и узкими элементами, корректирующими внутреннюю стенку 105 кожуха 101 и наружную поверхность балансировочного стержня 102. Стержень 111 растяжки представляет собой круглую подобную шайбе деталь, соединяющую балансировочный стержень 102 с расходомерной трубкой 103 и имеющую центральное отверстие для приема расходомерной трубки 103.
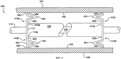
Описание фиг.4, 5 и 6
Фиг.4 иллюстрирует расходомер Кориолиса 400, воплощающий настоящее изобретение. Расходомер Кориолиса 400 содержит расходомерную трубку 103, окружающий балансировочный стержень 102, стержень 111 растяжки, соединительные звенья 412а и 412b кожуха и окружающий кожух. Расходомер Кориолиса 400 аналогичен расходомеру Кориолиса 100 на фиг.1 и 2 во всех отношениях, за исключением различия в соединительных звеньях кожуха. Таким образом, фиг.4 и последующие абзацы направлены на описание этих различий. С целью минимизирования сложности на фиг.4, 5, 6 и 7 не показаны фланцы 107, горловина 106, торцы кожуха 104 или задающее устройство D и чувствительные элементы ЛЧЭ и ПЧЭ, изображенные на фиг.1. Должно быть понято, что варианты осуществления фиг.4, 5, 6 и 7 содержат эти элементы.
На фиг.4 соединительные звенья 412а, 412b, 412с и 412d кожуха (звенья 412) отличаются от соединительных звеньев 112а и 112b кожуха фиг.1 и 2 тем, что каждое соединительное звено 412 кожуха имеет сгиб 401 в его среднем участке. Сгиб 401 обеспечивает возможность каждому соединительному звену 412 кожуха расширяться или сокращаться по длине без неблагоприятного воздействия на другие элементы расходомера 100. (Допустим, что температура расходомерной трубки 103 значительно уменьшается из-за холодного вещества, протекающего по расходомерной трубке. В этом случае балансировочный стержень 102, стержень 111 растяжки и расходомерная трубка 103 сжимаются и уменьшаются в диаметре. Точно так же внутренняя опора 403 каждого соединительного звена 412 кожуха становится значительно холоднее, чем температура участка 404 внешней опоры, который соединен с внутренней стенкой 105 кожуха 101. При этих условиях опора 404 остается постоянной по длине, в то время как опора 403 становится более холодной и сжимается. При сжатии она заставляет участок 402 раструба сгиба 401 открываться, чтобы поглотить сжатие опоры 403, образующееся в результате уменьшения диаметра балансировочного стержня 102 и расходомерной трубки 103. Точно так же, если температура расходомерной трубки возрастает, это повышение температуры расширяет диаметр балансировочного стержня 102 и расходомерной трубки 103 и расширяет опору 403. При таком выполнении это заставляет раструб 402 сгиба 401 закрываться, чтобы поглотить увеличение диаметра балансировочного стержня 102 и расходомерной трубки 103 и увеличение длины опоры 403.
Можно заметить, что изменения температуры расходомерной трубки 103 передаются стержню 111 растяжки, балансировочному стержню 102 и опоре 403 соединительного звена 412 кожуха. Однако из-за присутствия сгиба 401 и его раструба 402 соединительное звено 412 кожуха может поглощать сжатие или расширение по длине опоры 403 без какого-либо повреждения конструкции соединительного звена кожуха 412 или элементов, с которыми оно соединено. Вид с торца фиг.4 аналогичен фиг.3 за исключением того, что звенья 112а и 112b не содержат сгиб 401 звеньев 412. Элементы 405 и 406 представляют собой соединение опор 404 и внутренней стенки 105 кожуха 101.
Расходомерная трубка 103 и элементы 113 на фиг.4 проходят с постоянным диаметром по всей их длине между их входом и выходом в торцевых фланцах 107 на фиг.1. Этот постоянный диаметр выгоден, поскольку он улучшает очищаемость расходомера для применений, где требуется улучшение санитарных условий.
Фиг.5 раскрывает альтернативный вариант осуществления изобретения, содержащий расходомер 500, в котором соединительные звенья 512 (512а, 512b, 512с и 512d) кожуха имеют не единственный сгиб 401, а вместо этого имеют множество подобных синусоиде волнообразных поверхностей 501. Эти волнообразные поверхности обеспечивают возможность соединительным звеньям 512 кожуха расширяться или сжиматься без повреждения их конструкции или конструкций, с которыми они соединены. Элементы 511 представляют собой стержни растяжки.
Фиг.6 раскрывает другой альтернативный вариант осуществления изобретения, содержащий расходомер 600, в котором соединительные звенья 612 (612а, 612b, 612с и 612d) кожуха имеют постоянно изогнутую форму. Эта изогнутая форма обеспечивает возможность соединительным звеньям 612 кожуха либо расширяться, либо сокращаться по длине без постоянного повреждения конструкции элементов расходомера, с которыми они соединены. Стержни 611 растяжки соединены с соединительными звеньями 612 кожуха и соединяют расходомерной трубку 103 с балансировочным стержнем 102. Звенья 612 представляют собой узкие элементы, как показано для звеньев 112а и 112b на фиг.3. Элементы 601 и 602 являются соединением наружного конца каждого соединительного звена кожуха и внутренней стенки 105 кожуха 101.
Описание фиг.7
Фиг.7 раскрывает еще один альтернативный вариант осуществления изобретения, содержащий расходомер 700, в котором соединительные звенья кожуха содержат круглую диафрагму 712, имеющую центральное отверстие 702 для приема расходомерной трубки 103. Периферия 703 диафрагмы 712 крепится к внутренней стенке 105 кожуха 101. Диафрагма 712 крепится и к расходомерной трубке 103, и к концам 710а и 710b балансировочного стержня 102 и выполняет множество функций стержня растяжки и соединительного звена кожуха. Плоские поверхности 704 и 705 диафрагмы 712 имеют сгиб 701, который подобен сгибу 401 на фиг.4. Этот сгиб 701 обеспечивает возможность диафрагме 712 сжиматься/расширяться в диаметре в ответ на тепловые изменения диаметра расходомерной трубки без остаточной деформации либо ее самой, либо конструктивных элементов, с которыми она соединена. Участок поверхности между балансировочным стержнем 102 и расходомерной трубкой 103 функционирует, как стержень растяжки.
Хотя настоящее изобретение было раскрыто, как содержащее часть расходомера Кориолиса с единственной прямой трубкой, должно быть понятно, что настоящее изобретение не ограничено этим и может использоваться с другими типами расходомеров Кориолиса, включая расходомеры с единственной трубкой нерегулярной или изогнутой конфигурации, а также расходомеры Кориолиса, имеющие множество расходомерных трубок.
Формула изобретения
1. Расходомер Кориолиса, содержащий расходомерную трубку (103), балансировочный стержень (102), ориентированный, по существу, параллельно продольной оси упомянутой расходомерной трубки, первый и второй концы (410а, 410b), подсоединенные к противоположным торцевым участкам упомянутой расходомерной трубки, кожух (101), содержащий упомянутый балансировочный стержень и упомянутую расходомерную трубку, соединительные звенья кожуха, подсоединяющие упомянутые первый и второй концы упомянутого балансировочного стержня к внутренней стенке (105) упомянутого кожуха, отличающийся тем, что содержит, по меньшей мере, один изгиб (401) в упомянутых звеньях кожуха для обеспечения изменений эффективного размера упомянутых соединительных звеньев кожуха в ответ на тепловые различия между упомянутой расходомерной трубкой и упомянутым кожухом.
2. Расходомер Кориолиса по п.1, отличающийся тем, что упомянутая расходомерная трубка является, по существу, прямой.
3. Расходомер Кориолиса по п.1, отличающийся тем, что упомянутый балансировочный стержень является, по существу, цилиндрическим и окружает упомянутую расходомерную трубку.
4. Расходомер Кориолиса по п.1, отличающийся тем, что упомянутый кожух является цилиндрическим и ориентирован, по существу, параллельно продольной оси упомянутой расходомерной трубки.
5. Расходомер Кориолиса по п.1, отличающийся тем, что упомянутые соединительные звенья кожуха имеют продольную ось, ориентированную, по существу, перпендикулярно продольной оси упомянутой расходомерной трубки и упомянутого балансировочного стержня.
6. Расходомер Кориолиса по п.1, отличающийся тем, что соединительные звенья кожуха содержат первые соединительные звенья (412а, 412b) кожуха и вторые соединительные звенья (412с, 412d) кожуха, расположенные на каждом конце упомянутого балансировочного стержня на противоположных сторонах упомянутого балансировочного стержня, при этом наружные концы (405, 406) на упомянутых соединительных звеньях кожуха соединяют упомянутые первый и второй концы упомянутого балансировочного стержня с упомянутой внутренней стенкой упомянутого кожуха.
7. Расходомер Кориолиса по п.1, отличающийся тем, что упомянутые соединительные звенья кожуха содержат первую и вторую, по существу, круглые диафрагмы (712), расположенные на упомянутых первом и втором концах (710а, 710b) упомянутого балансировочного стержня, каждая диафрагма имеет поверхность (705), внешний край (703) которой соединяет упомянутые первый и второй концы упомянутого балансировочного стержня с внутренней стенкой (105) упомянутого кожуха, и, по меньшей мере, один изгиб (701) вне плоскости в упомянутой поверхности (704, 705) упомянутой диафрагмы, обеспечивающий возможность изменений эффективного диаметра диафрагмы в ответ на тепловые различия между упомянутой расходомерной трубкой и упомянутым кожухом.
8. Расходомер Кориолиса по п.1, отличающийся тем, что упомянутые соединительные звенья кожуха имеют множество изгибов (512а, 512b, 512с и 512d), которые обеспечивают возможность изменений длины упомянутых соединительных звеньев кожуха в ответ на тепловые различия между упомянутой расходомерной трубкой и упомянутым кожухом.
9. Расходомер Кориолиса по п.1, отличающийся тем, что упомянутая расходомерная трубка (103) проходит с постоянным диаметром по всей длине упомянутого расходомера.
10. Расходомер Кориолиса по п.1, отличающийся тем, что упомянутые соединительные звенья кожуха имеют изогнутую поверхность (612а, 612b, 612с и 612d), которая обеспечивает возможность упомянутым соединительным звеньям кожуха изменять свою эффективную длину в ответ на тепловые различия между упомянутой расходомерной трубкой и упомянутым кожухом, концы (601, 602, 603 и 604) упомянутой изогнутой поверхности упомянутые первый (605) и второй (606) концы упомянутого балансировочного стержня с внутренней стенкой упомянутого кожуха.
11. Расходомер Кориолиса по п.10, отличающийся тем, что упомянутые соединительные звенья кожуха содержат первые соединительные звенья (612а, 612с) кожуха и вторые соединительные звенья (612b, 612d) кожуха, упомянутые первые соединительные звенья (612а, 612с) кожуха соединяют упомянутую внутреннюю стенку (105) упомянутого кожуха (101) с первой стороной (603) упомянутого балансировочного стержня, упомянутые вторые соединительные звенья (612b, 612d) кожуха соединяют противоположную сторону упомянутой внутренней стенки (105) упомянутого кожуха (101) со второй стороной (604) упомянутого балансировочного стержня, и распорки (611), соединенные с упомянутыми соединительными звеньями (612а, 612b, 612с, 612d) кожуха и соединяющие упомянутую расходомерную трубку с упомянутым балансировочным стержнем.
12. Расходомер Кориолиса по п.1, отличающийся тем, что каждая упомянутая диафрагма имеет внутреннюю поверхность (704), которая является распорной пластиной, соединяющей упомянутую расходомерную трубку и упомянутый балансировочный стержень.
13. Способ работы расходомера Кориолиса по п.1, содержащий этап, на котором осуществляют колебания упомянутого балансировочного стержня и упомянутой расходомерной трубки в противофазе при условии протекания вещества по упомянутому расходомеру для вырабатывания упомянутой выходной информации, относящейся к упомянутому протекающему веществу, и используют упомянутые соединительные звенья кожуха с изгибом (401) поверхности для обеспечения возможности изменений эффективного размера упомянутых соединительных звеньев кожуха в ответ на тепловые различия между упомянутой расходомерной трубкой и упомянутым кожухом.
РИСУНКИ
|
|