|
|
(21), (22) Заявка: 2006132694/28, 13.09.2006
(24) Дата начала отсчета срока действия патента:
13.09.2006
(46) Опубликовано: 10.01.2008
(56) Список документов, цитированных в отчете о поиске:
RU 2251081 C2, 27.04.2005. SU 1303831 A1, 15.04.1987. SU 1118858 A, 15.10.1984. US 6871535 B2, 29.03.2005.
Адрес для переписки:
113557, Москва, ул. Болотниковская, 10, корп.А, кв.160, Ю.А. Кузма-Кичта
|
(72) Автор(ы):
Кузма-Кичта Юрий Альфредович (RU), Степанов Олег Сергеевич (RU), Кикнадзе Геннадий Ираклиевич (RU), Гачечиладзе Иван Александрович (RU), Данилов Михаил Александрович (RU), Анчишкин Александр Сергеевич (RU)
(73) Патентообладатель(и):
Кузма-Кичта Юрий Альфредович (RU), Степанов Олег Сергеевич (RU), Кикнадзе Геннадий Ираклиевич (RU), Гачечиладзе Иван Александрович (RU), Данилов Михаил Александрович (RU), Анчишкин Александр Сергеевич (RU)
|
(54) СПОСОБ ИЗМЕРЕНИЯ РАСХОДА СРЕДЫ И УСТРОЙСТВО ДЛЯ ЕГО ОСУЩЕСТВЛЕНИЯ
(57) Реферат:
Изобретение относится к области приборостроения. Устройство измерения расхода содержит измерительную секцию с входным и выходным патрубками, между которыми на поверхности секции выполнено по крайней мере одно углубление с криволинейной поверхностью двойной кривизны в форме лунки определенной относительной глубины. Поверхность углубления имеет два сопряженных участка с противоположными знаками кривизны. Измеряют перепад между давлением в точке на исходно гладкой поверхности и в точке, находящейся на вогнутой криволинейной поверхности, и определяют расход, используя калибровку. Изобретение обеспечивает увеличение точности измерения и уменьшение отложений на поверхности при одновременной простоте изготовления. 2 н. и 1 з.п. ф-лы, 2 ил.
Изобретение относится к области приборостроения, а именно к приборам измерения скорости и расхода сплошной среды, и может быть использовано, например, для измерения расхода жидких и газообразных сред в магистралях.
Известен способ измерения расхода среды путем измерения перепада давления на диафрагме (Измерение расхода методом переменного перепада давления. Правила 28-64. М.: Стандартиздат, 1964).
Известно устройство для измерения расхода, содержащее измерительную секцию с размещенной в ней диафрагмой (Измерение расхода методом переменного перепада давления. Правила 28-64. М.: Стандартиздат, 1964).
Недостатком известного способа является увеличение сопротивления движению жидкости вследствие уменьшения проходного сечения магистрали за счет установки диафрагмы.
Техническими результатами предложенного способа являются увеличение точности измерения и дополнительные возможности использования данного изобретения не только для жидкостей, но и для газов.
Недостатками известного устройства являются увеличение сопротивления движению жидкости, вследствие уменьшения проходного сечения, небольшой сигнал при измерении перепада давления на диафрагме.
Техническими результатами предложенного устройства являются простота изготовления и эксплуатации изобретения, увеличение точности измерения, устранение участка уменьшения проходного сечения, благодаря чему не меняются осредненные характеристики потока и появляются дополнительные возможности использования данного изобретения не только для жидкостей, но и для газов, уменьшение отложений на поверхности.
Технический результат достигается тем, что способ измерения расхода среды характеризуется тем, что на пути потока в стенке канала создают, по крайней мере, одно углубление с осесимметричной криволинейной поверхностью двойной кривизны, имеющее форму лунки, при относительной глубине криволинейного участка в интервале 0,025 h/D 0,25, где h – глубина, D – диаметр лунки, измеряют перепад между давлением в точке на исходно гладкой поверхности и в точке, находящейся на вогнутой криволинейной поверхности, и определяют расход, используя калибровку.
Технический результат достигается также тем, что устройство для измерения расхода среды содержит измерительную секцию с входным и выходным патрубками, между которыми на поверхности секции выполнено, по крайней мере, одно углубление с осесимметричной криволинейной поверхностью двойной кривизны в форме лунки, при относительной глубине в интервале 0,025 h/D 0,25, где D – диаметр лунки, h – глубина лунки, и измерительный прибор, с которым соединены точки отбора давления, находящиеся соответственно на исходно гладкой поверхности и на вогнутой криволинейной поверхности. Криволинейная поверхность углубления имеет два сопряженных участка с противоположными знаками кривизны, при этом радиусы кривизны выпуклой и вогнутой частей криволинейной поверхности находятся в диапазоне 10 R/R 1.
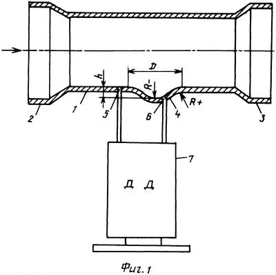
На фиг.1 представлена схема устройства, реализующего предложенный способ. На фиг.2 показаны в качестве примера экспериментально измеренные распределения перепада давления вдоль стенки плоского канала с одиночным углублением при различных скоростях основного потока. Лунка имеет диаметр 46 мм, глубину 10 мм. Теплоноситель – вода.
Устройство измерения расхода (фиг.1) содержит измерительную секцию 1 с входным 2 и выходным 3 патрубками, на поверхности секции между патрубками выполнено, по меньшей мере, одно углубление с криволинейной поверхностью 4 двойной кривизны, при этом радиусы кривизны выпуклой и вогнутой частей осесимметричной криволинейной поверхности находятся в диапазоне 10-3 R+/R– 1, при относительной глубине осесимметричного криволинейного участка по отношению к радиусу исходно гладкой поверхности, находящейся в интервале 0,025 h/D 0,25, причем, по меньшей мере, одна точка 5 измерения давления находится на исходно гладкой поверхности, и, по меньшей мере, одна точка 6 находится на вогнутой части криволинейной поверхности, при этом отборы давления в этих точках соединены с измерительным прибором.
Работа устройства осуществляется следующим образом.
Направляют среду в измерительную секцию 1 с углублением 4 описанной выше конфигурации. Производят измерение давления в точке 5 на плоской поверхности и в точке 6 на вогнутой части криволинейного участка с помощью датчика давления 7 и определяют расход, используя калибровку.
Углубления имеют обтекаемую поверхность второго порядка в виде сопряженных участков с противоположными знаками кривизны, в которых под действием сил инерции, инициированных формой рельефа углубления, формируется вторичное течение и происходит его эволюция.
Обтекание криволинейных поверхностей двойной кривизны в углублении приводит к возникновению и самоорганизации вторичных смерчеобразных вихрей. Процесс зарождения вторичных вихревых структур определяется вязкостным механизмом взаимодействия между основным потоком вязкой сплошной среды и той же средой в углублении. Даже при малой относительной глубине h/D основной поток увлекает среду в углубление за счет сил вязкости. Например, при h/D 0,005 увлечение среды можно наблюдать уже при скоростях потока над углублением U 0,002 м/с. Увлеченная масса среды натекает на нижние по потоку скаты углубления, упруго от них отражается, в результате чего внутри углубления вблизи его криволинейного дна возникает возвратное движение. Так как, вторичное течение в углублении не может развиваться в направлении основного потока из-за жесткого препятствия в виде скатов и скоростного напора над углублением, возникает, практически, единственно возможное возвратное движение. Возвратное течение среды в углублении достигает его верхних по потоку скатов, где препятствия для контакта с натекающим течением уже нет. В этой зоне возвратное течение, имея из-за упругого отражения от нижних по потоку скатов скорость, практически равную скорости натекающего потока, подхватывается им, сшивается с ним и замыкает циркуляцию среды в углублении. Например, на криволинейных поверхностях углублений с относительной глубиной рельефа h/D 0,005 прямой и возвратный потоки уже при скорости всего U 0,02 м/с порождают трехмерный пограничный слой, состоящий из вихрей, носящих имя Гертлера. Именно посредством этих вихрей, образующих мелкодисперсный трехмерный пограничный слой, осуществляется взаимодействие циркулирующего вторичного вихря в углублении с его криволинейной поверхностью.
Циркуляция среды, возникшая в углублении, обуславливает возникновение силы типа силы Магнуса, направленной от криволинейной поверхности углубления в основной поток среды. Помимо этого, движение среды относительно криволинейных поверхностей вызывает действие на движущийся в ней поток сил инерции, которые интенсифицируют рождение мелкодисперсных вихрей на поверхности и возникновение сил, также направленных в основное течение. При этом истекающая из углубления вторичная струя имеет радиальную сходимость и согласно проведенным измерениям описывается точными решениями нестационарных уравнений Новье-Стокса непрерывности, что обеспечивает однозначное соответствие измеряемого поля давления, формируемого при обтекании углубления, и расхода среды через измерительную секцию.
Изложенный механизм подтверждается измерениями перепада давлений, приведенных на фиг.2 на углублениях сферической формы. Типичный пример такого распределения приведен на указанных выше фигурах.
Экспериментальные исследования показали, что эффект увеличения точности измерения и уменьшения отложений на поверхности канала с углублениями достигается только в интервале указанных в изобретении соотношений.
Формула изобретения
1. Способ измерения расхода среды, характеризующийся тем, что на пути потока в стенке канала создают по крайней мере одно углубление с осесимметричной криволинейной поверхностью двойной кривизны, имеющее форму лунки, при относительной глубине криволинейного участка в интервале 0,025 h/D 0,25, где h – глубина, D – диаметр лунки, измеряют перепад между давлением в точке на исходно гладкой поверхности и в точке, находящейся на вогнутой криволинейной поверхности, и определяют расход, используя калибровку.
2. Устройство измерения расхода среды, содержащее измерительную секцию с входным и выходным патрубками, между которыми на поверхности секции выполнено по крайней мере одно углубление с осесимметричной криволинейной поверхностью двойной кривизны в форме лунки, при относительной глубине в интервале 0,025 h/D 0,25, где h – глубина, D – диаметр лунки, и измерительный прибор, с которым соединены точки отбора давления, находящиеся соответственно на исходно гладкой поверхности и на вогнутой криволинейной поверхности.
3. Устройство измерения расхода по п.2, отличающееся тем, что криволинейная поверхность углубления имеет два сопряженных участка с противоположными знаками кривизны, при этом радиусы кривизны выпуклой и вогнутой частей криволинейной поверхности находятся в диапазоне 10-3 R+/R– 1.
РИСУНКИ
MM4A – Досрочное прекращение действия патента СССР или патента Российской Федерации на изобретение из-за неуплаты в установленный срок пошлины за поддержание патента в силе
Дата прекращения действия патента: 14.09.2008
Извещение опубликовано: 27.07.2010 БИ: 21/2010
|
|