|
(21), (22) Заявка: 2006107445/02, 10.03.2006
(24) Дата начала отсчета срока действия патента:
10.03.2006
(46) Опубликовано: 10.01.2008
(56) Список документов, цитированных в отчете о поиске:
RU 2224205 С1, 20.02.2004. RU 2108531 C1, 10.04.1998. RU 2187777 C1, 20.08.2002. US 5322241, 21.06.1994. DE 1406533, 22.03.1973.
Адрес для переписки:
300001, г.Тула, Щегловская засека, ГУП “Конструкторское бюро приборостроения”, зам.главного инженера А.В.Морозову
|
(72) Автор(ы):
Савченко Дмитрий Игнатьевич (RU), Иванова Любовь Владимировна (RU)
(73) Патентообладатель(и):
Государственное унитарное предприятие “Конструкторское бюро приборостроения” (RU)
|
(54) УСТРОЙСТВО ДЛЯ СБОРКИ И ЮСТИРОВКИ ПРИЦЕЛ-ПРИБОРА НАВЕДЕНИЯ
(57) Реферат:
Изобретение относится к оптико-механическим приборам, в частности к прицелам-приборам наведения управляемого вооружения. Устройство для сборки и юстировки прицел-прибора наведения содержит опорную плиту, стойки, силовые привода с прижимами, фиксирующие и крепежные элементы. Стойки скреплены попарно планками с уступами. Плита-имитатор объекта с посадочными местами и отверстиями зафиксирована от перемещений прижимами силовых приводов. Опорная плита имеет три силовых котировочных устройства. Силовые котировочные устройства выполнены в виде винт-гайки, при этом торец винта установлен в подпятник, а гайка выполняет роль ограничителя вертикального перемещения. Техническим результатом является повышение качества прибора и его эффективности за счет сборки и юстировки параллельности оптических осей информационного и визирного каналов на одном устройстве. 1 з.п.ф-лы, 4 ил.
Изобретение относится к оптико-механическим приборам, в частности к танковому прицел-прибору наведения управляемого вооружения для создания поля управления летательным аппаратом в луче лазера, а также для осуществления поиска и обнаружения и распознавания цели и совмещения прицельной марки с изображением цели. Прицел-прибор наведения состоит из блока головного зеркала, расположенного снаружи объекта, и блока модулей, включающего электронный блок, блок управления, визирный канал с дальномером, информационный канал, электрическую связь с приводом блока головного зеркала и блоком управления, расположенного внутри объекта.
Известно устройство для сборки прицел-прибора наведения, содержащее опорную плиту, две пары стоек, силовой привод, ограничитель прижима, фиксирующие и крепежные элементы (патент России №2224205 от 20 февраля 2004 г., МПК 7 F41G 7/00, B25B 27/00), данное устройство выбрано нами в качестве прототипа.
Недостатком данного устройства является то, что с помощью его можно осуществить только сборку прицел-прибора наведения и нельзя произвести юстировку параллельности визирного и информационного каналов на оптической скамье по шаблон-мишени, что снижает качество прибора и его эффективность из-за перестановки прибора и его крепления и фиксации на сборочном и юстировочном устройствах.
Задача изобретения состоит в повышении качества прибора и его эффективности за счет сборки и юстировки параллельности оптических осей информационного и визирного каналов на одном устройстве.
Задача изобретения достигается тем, что в устройство для сборки и юстировки прицел-прибора наведения, содержащее опорную плиту, две пары стоек, силовые привода с прижимами для ограничения перемещения, фиксирующие и крепежные элементы, а стойки скреплены попарно направляющими планками с продольными уступами, в которые установлена зафиксированная от перемещений прижимами силовых приводов плита-имитатор объекта с посадочными местами и отверстиями под фиксирующие и крепежные элементы для прицел-прибора наведения, включающего части, располагаемые над и под плитой-имитатором объекта, закрепляемые фиксирующими и крепежными элементами, а опорная плита имеет три силовых юстировочных устройства.
Каждое силовое юстировочное устройство выполнено в виде винт-гайки, при этом торец винта установлен в подпятник, поверхности контактирования торцев винта и подпятника выполнены сферическими, а гайка выполняет роль ограничителя вертикального перемещения.
Предложенное устройство для сборки и юстировки прицел-прибора наведения позволяет производить котировочные и сборочные операции без увеличения номенклатуры приспособлений, так как плиту-имитатор объекта из направляющих можно переставлять на различные рабочие места, укомплектованные данным устройством.
Изобретение поясняется графическими материалами.
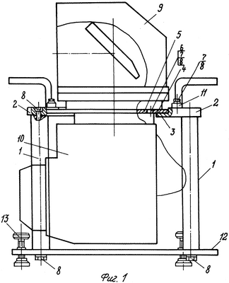
На фиг.1 изображен общий вид устройства для сборки и юстировки прицел-прибора наведения, на фиг.2 представлено устройство для сборки и юстировки прицел-прибора наведения без блока головного зеркала и блока модулей, на фиг.3 представлено крепление плиты-имитатора, на фиг.4 – юстировочное устройство, выполненное в виде винт-гайки, где:
1 – две пары стоек;
2 – направляющие планки;
3 – продольные уступы направляющих планок;
4 – плита-имитатор с ручками;
5 – посадочные места и отверстие 6 на плите-имитаторе 4 под блок головного зеркала 9 и блок модулей 10;
7 – фиксирующие и крепежные элементы 8;
9 – блок головного зеркала;
10 – блок модулей;
11 – прижимы от перемещений плиты-имитатора 4 в уступах 3 направляющих планок 2;
12 – опорная плита, которая имеет три юстировочных силовых устройства 13;
14 – торец винта 15 установлен в подпятник 16;
17 – поверхность контактирования торца 14 винта 15 и подпятника 16 выполнена сферической;
18 – ограничитель вертикального перемещения винта 15, выполненный в виде гайки.
Работает устройство для сборки и юстировки прицел-прибора наведения следующим образом.
Плиту-имитатор объекта 4 устанавливают в уступ 3 направляющих планок 2, закрепляют ее от перемещений с помощью силовых приводов с прижимами 11, затем к плите-имитатору объекта 4 стыкуют и крепят блок модулей 10, производят электростыковку разъема блока головного зеркала с разъемом блока модулей, устанавливают блок головного зеркала 9 сверху плиты-имитатора объекта 4 и закрепляют его фиксирующими 7 и крепежными элементами 8.
Устройство устанавливают на оптическую скамью и производят юстировку визирного и информационного каналов путем совмещения перекрестия визирного канала с перекрестием шаблона-мишени с помощью силовых юстировочных устройств 13.
После чего производят юстировку параллельности информационного канала относительно визирного. А юстировочные устройства играют роль силовых, так как все устройство для сборки и юстировки прицел-прибора наведения поднимают-опускают в трех плоскостях до совмещения перекрестий прицела на перекрестие шаблон-мишени.
Предложенное устройство для сборки и юстировки прицел-прибора наведения с учетом допусков посадочных поверхностей верхней части (блок головного зеркала) и нижней части (блок модулей) прицел-прибора наведения позволяет исключить монтаж и демонтаж, что повышает качество и эффективность юстировки параллельности визирного и информационного каналов при совмещении перекрестия визирного канала на перекрестие шаблон-мишени за счет силовых юстировочных устройств, а многократность, повторяемость использования снижает металлоемкость и трудоемкость в изготовлении оснастки.
Формула изобретения
1. Устройство для сборки и юстировки прицел-прибора наведения, содержащее опорную плиту, две пары стоек, силовые привода с прижимами для ограничения перемещения, фиксирующие и крепежные элементы, отличающееся тем, что стойки скреплены попарно направляющими планками с продольными уступами, в которые установлена зафиксированная от перемещения прижимами силовых приводов плита-имитатор объекта с посадочными местами и отверстиями под фиксирующие и крепежные элементы для прицел-прибора наведения, включающего части, располагаемые над и под плитой-имитатором объекта, закрепляемые фиксирующими и крепежными элементами, а опорная плита имеет три силовых юстировочных устройства.
2. Устройство по п.1, отличающееся тем, что каждое силовое юстировочное устройство выполнено в виде винт-гайки, при этом торец винта установлен в подпятник, поверхности контактирования торцев винта и подпятника выполнены сферическими, а гайка выполняет роль ограничителя вертикального перемещения.
РИСУНКИ
|