|
|
(21), (22) Заявка: 2006129328/06, 07.01.2005
(24) Дата начала отсчета срока действия патента:
07.01.2005
(30) Конвенционный приоритет:
09.01.2004 DE 102004001379.9
(46) Опубликовано: 10.01.2008
(15) Информация о коррекции:
Версия коррекции № 1 (W1 C1)
(48) Коррекция опубликована:
27.04.2008 Бюл. № 12/2008
(56) Список документов, цитированных в отчете о поиске:
US 4798242 А, 17.01.1989. SU 485299 A, 25.09.1975. RU 2121637 C1, 10.11.1998. SU 1590931 A1, 07.09.1990. SU 1467365 A1, 23.03.1989.
(85) Дата перевода заявки PCT на национальную фазу:
09.08.2006
(86) Заявка PCT:
DK 2005/000005 (07.01.2005)
(87) Публикация PCT:
WO 2005/066571 (21.07.2005)
Адрес для переписки:
191002, Санкт-Петербург, а/я 5, ООО “Ляпунов и партнеры”, пат.пов. Ю.В.Кузнецовой
|
(72) Автор(ы):
БЕНОНЮССОН Атли (DK)
(73) Патентообладатель(и):
ДАНФОСС А/С (DK)
|
(54) МНОГОСТУПЕНЧАТЫЙ ТЕПЛООБМЕННЫЙ АППАРАТ
(57) Реферат:
Изобретение относится к многоступенчатому теплообменному аппарату, содержащему первичный и вторичный контур, между которыми происходит теплообмен, и теплоноситель в которых протекает в противоположных направлениях. Задачей данного изобретения является достижение стабильного регулирования температуры на выходе вторичного контура. Для решения поставленной задачи первичный контур имеет, по меньшей мере, две точки подвода теплоносителя, смещенные относительно друг друга по ходу потока. Указанный аппарат также содержит систему клапанов, взаимодействующих с датчиками температуры и регулирующих поток теплоносителя через первичный контур. Клапанное устройство для каждой точки подвода теплоносителя имеет отдельный клапан. 4 з.п. ф-лы, 3 ил.
Изобретение относится к многоступенчатому теплообменному аппарату с первичным и вторичным контурами, между которыми происходит теплообмен, и теплоноситель в которых протекает в противоположных направлениях, причем первичный контур имеет, по меньшей мере, две точки подвода теплоносителя, смещенные относительно друг друга по ходу потока, при этом в теплообменном аппарате также предусмотрена система клапанов, взаимодействующих с датчиками температуры и регулирующих поток теплоносителя через первичный контур.
Такой теплообменный аппарат известен, например, из патентного документа DE 19702897 С2. В этом аппарате через первичный контур теплообменника протекает горячая вода, которая служит источником тепла, а во вторичном контуре при отборе сетевой воды посредством клапана осуществляют рециркуляцию источника тепла. Датчик температуры регулирует работу трехходового клапана в зависимости от температуры теплоносителя в питающей линии первичного контура. С помощью этого клапана теплоноситель, обычно горячую воду, направляют в один или в несколько участков труб, имеющихся в теплообменнике. Благодаря этому увеличивается или уменьшается эффективная теплопередающая поверхность между первичным и вторичным контурами. При этом существует возможность регулировать производительность теплообменника в зависимости от температуры в первичном контуре. Это, в свою очередь, позволяет в системе с сетевой водой регулировать температуру во вторичном контуре, а именно, посредством укорачивания или удлинения термической длины теплообменника в зависимости от температуры в питающем трубопроводе источника тепла. Благодаря этому производительность теплообменника изменяется в зависимости от текущей потребности. Кроме того, достигают большей стабильности температуры сетевой воды.
Однако оказалось, что такая система инерционна.
Целью заявленного изобретения является достижение стабильного регулирования температуры среды на выходе из вторичного контура. Многоступенчатый теплообменный аппарат с первичным и вторичным контурами, между которыми происходит теплообмен, и теплоноситель в которых протекает в противоположных направлениях, причем первичный контур имеет, по меньшей мере, две точки подвода теплоносителя, смещенные относительно друг друга по ходу потока, также содержит систему клапанов, взаимодействующую с датчиками температуры и регулирующую поток теплоносителя через первичный контур. Поставленная задача решается тем, что система клапанов для каждой точки подвода теплоносителя имеет отдельный клапан, причем количество датчиков температуры, размещенных во вторичном контуре, соответствует числу точек подвода теплоносителя. Датчики температуры предназначены для определения температуры во вторичном контуре в районе точек подвода теплоносителя первичного контура. Каждый датчик температуры соответствует одному клапану. Датчики температуры связаны с общим управляющим устройством, которое управляет клапанами. По меньшей мере один клапан, соединенный с точкой подвода теплоносителя, размещенной по ходу потока дальше первой точки подвода теплоносителя, скомбинирован с дифференциальными регулятором давления, поддерживающим постоянный перепад давления в клапане.
Использование нескольких клапанов, которые соответственно могут иметь меньший конструктивный размер, ускоряет регулирование и улучшает стабильность. Кроме того, состоящее из нескольких клапанов устройство (клапаны, в принципе, могут быть выполнены в виде простых дросселей) является более дешевым, чем трехходовой клапан, имеющий сложную конструкцию. Новая конструкция позволяет распределять поток теплоносителя в первичном контуре теплообменного аппарата иначе, чем это происходит в случае трехходового клапана. Напротив, теплоноситель можно подвести ко всем точкам подвода теплоносителя. Так, например, при низком расходе тепла во вторичном контуре теплоносителем можно снабжать только одну точку подвода теплоносителя, расположенную после первой точки подвода теплоносителя в первичном контуре. Так как соответствующий клапан регулирует только небольшое количество протекающей жидкости, улучшена стабильность, поскольку небольшим клапаном управлять проще и быстрее. Кроме того, при этом получают небольшой эффективный теплообменник и вместе с этим меньшее усиление. Регулирование при этом более быстрое и стабильное. При большом расходе тепла на выходе вторичного контура поток теплоносителя можно направить через весь первичный контур.
Наконец, можно подавать теплоноситель одновременно на все точки подвода теплоносителя, благодаря чему во вторичный контур будет подведено дополнительное тепло. При таком ступенчатом увеличении подачи энергии опять получают более стабильное регулирование, так как в указанных конфигурациях при регулировании снижены отклонения в меньшую или большую сторону. Датчик температуры имеет, по меньшей мере, один термочувствительный элемент, посредством которого определяют температуру жидкости во вторичном контуре. Это позволяет регулировать подвод теплоносителя в первичном контуре в зависимости от температуры жидкости во вторичном контуре.
Датчик температуры во вторичном контуре имеет такое количество термочувствительных элементов, которое соответствует числу точек подвода теплоносителя. Это позволяет лучше учесть влияние первичного контура на температуру во вторичном контуре.
Сказанное, в частности, относится к случаю, когда датчики температуры во вторичном контуре определяют температуру в точке подвода теплоносителя из первичного контура. Это позволяет в еще большей степени учесть действие теплоносителя, подводимого через отдельные точки подвода теплоносителя первичного контура. Получается гораздо более точное регулирование.
При этом, в частности, предпочтительно, каждый датчик температуры соответствует одному из клапанов. При этом количество датчиков температуры соответствует количеству клапанов. Каждый клапан выполнен с возможностью регулирования посредством соответствующего датчика. При этом в зависимости от обстоятельств предпочтительно установить некоторую очередность. Один из возможных подходов заключается в том, что сначала приводят в действие лишь один клапан, с помощью которого осуществляют подвод теплоносителя к точке, расположенной в первичном контуре дальше всего по ходу теплоносителя. Клапан, через который среду подводят к точке, расположенной выше по ходу теплоносителя, открывают только в том случае, если ранее указанный клапан уже полностью открыт, но необходимая температура все еще не достигнута. Этот ступенчатый метод позволяет сравнительно быстро достичь во вторичном контуре необходимой температуры.
В одном из вариантов исполнения датчики температуры связаны с общим устройством, управляющим клапанами. В этом случае управляющее устройство на основании всех данных о температуре определяет потребность в тепле и меняет распределение теплоносителя в первичном контуре для достижения необходимой температуры сетевой воды на выходе вторичного контура.
Предпочтительно по меньшей мере один клапан, связанный с точкой подвода теплоносителя, расположенной по ходу среды дальше первой точки подвода теплоносителя, скомбинирован с дифференциальным регулятором давления. Регулятор давления поддерживает постоянный перепад давления в клапане. При таком варианте подвод жидкости-теплоносителя через указанный клапан, а вместе с тем и подвод тепла зависит только от степени открытия этого клапана. Это значительно облегчает регулирование.
Далее изобретение описано более подробно на основе предпочтительных примеров реализации, описание сопровождается чертежами. На чертежах показано следующее:
Фиг.1 – Первый вариант многоступенчатого теплообменного аппарата.
Фиг.2 – Второй вариант теплообменного аппарата.
Фиг.3 – Третий вариант теплообменного аппарата.
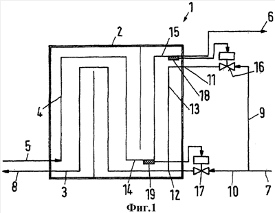
На Фиг.1 показан теплообменный аппарат 1 с теплообменником 2, имеющим первичный контур 3 и вторичный контур 4. Первичный контур 3 и вторичный контур 4 показаны схематично. Между ними происходит теплообмен, при этом тепло, которое с жидкостью-теплоносителем поступает в первичный контур 3, передают во вторичный контур 4 другой жидкости, например сетевой воде. Как показано стрелками, жидкость в первичном контуре протекает в первом направлении (справа налево, если посмотреть на изображение, которое представлено на Фиг.3), а во вторичном контуре 4 – в противоположном направлении. Сетевую воду подают во вторичный контур 4 через вход 5, отбор воды осуществляют через выход 6. В первичный контур из теплоцентрали через питающий трубопровод 7 подают жидкость-теплоноситель, например горячую воду. Отбор жидкости осуществляют через обратный трубопровод 8.
Питающая линия 7 разветвлена на два трубопровода 9 и 10. Первое ответвление 9 соединено с первой точкой 11 подвода теплоносителя в первичный контур 3, второе ответвление 10 – со второй точкой 12 подвода теплоносителя в первичный контур 3. В первичном контуре 3 вторая точка 12 подвода теплоносителя по направлению движения потока расположена дальше первой точки 11 подвода теплоносителя. Итак, жидкость-теплоноситель, поступающая через первую точку 11 подвода теплоносителя, протекает через весь первичный контур 3 теплообменника 2. Жидкость, поступающая в первичный контур 3 через вторую точку 12 подвода теплоносителя, проходит только через часть первичного контура 3 теплообменника, то есть первый участок 13 первичного контура 3 для передачи тепла от жидкости, подводимой через вторую точку 12 подвода теплоносителя, не задействован.
Соответственно, вторичный контур 4 также имеет два участка 14, 15. Участок 14 используют для передачи тепла от первичного контура 3 во вторичный контур 4 (или наоборот) постоянно, в то время как участок 15 задействован только тогда, когда теплоноситель через ответвление 9 подают в первую точку 11 подвода теплоносителя.
На первом ответвлении 9 размещен первый клапан 16, на втором ответвлении 10 – второй клапан 17. Эти клапаны регулируют подачу теплоносителя в первичный контур 3 через соответствующие точки 11, 12 подвода теплоносителя. Если первый клапан 16 открыт, то теплоноситель поступает через первую точку 11 подвода теплоносителя и после этого протекает через весь первичный контур 3. При открытии второго клапана 17 теплоноситель поступает через вторую точку 12 подвода теплоносителя, поэтому передача тепла во вторичный контур 4 происходит только на втором участке 14. Разумеется, можно открыть оба клапана 16, 17, чтобы через участок 13 протекала только часть жидкости, а в остальную часть первичного контура 3 поступало большее количество жидкости.
Для управления клапанами 16, 17 предусмотрен датчик 18 температуры, размещенный в районе первой точки 11 подвода теплоносителя, и второй датчик 19, расположенный в районе второй точки 12 подвода теплоносителя. Оба датчика 18, 19 регистрируют температуру во вторичном контуре 4.
В конструкции, показанной на Фиг.1, датчик 18 предназначен для клапана 16, датчик 19 – для клапана 17, таким образом, подвод жидкости регулируют непосредственно в зависимости от температуры во вторичном контуре 4.
Если на выходе 6 необходимо осуществить отбор сетевой воды с требуемой температурой, то в этом месте открывают клапан, который подробно не показан. Сетевая вода, протекающая через вторичный контур 4, имеет низкую температуру, но ее абсолютное значение меняется в зависимости от воздействия окружающей среды. Если температура во вторичном контуре еще не соответствует заданной температуре, то это регистрируют вторым датчиком 19, который управляет вторым клапаном 17 таким образом, что сетевая вода во вторичном контуре 4 нагревается. Если тепла, передаваемого на той стадии работы теплообменника 2, при которой задействован участок 14 вторичного контура 4, достаточно для нагревания сетевой воды до необходимой температуры, то никакие дополнительные меры не нужны. Ведь в этом случае первый датчик 18 также определяет, что заданная температура достигнута. Итак, регулирование температуры воды до этих пор происходило только посредством взаимодействия между вторым датчиком температуры 19 и вторым клапаном 17. Это регулирование осуществляют сравнительно быстро, поэтому опасность колебаний незначительна.
Если первый датчик 18 также установит, что заданная температура еще не достигнута, то указанный датчик начинает управлять первым клапаном 16 таким образом, что станет возможной передача тепла от первичного контура 3 участку 15 вторичного контура 4.
Итак, открытием и закрытием обоих клапанов 16, 17 управляют два датчика температуры 18, 19. Запорный механизм клапанов 16, 17 выполнен с возможностью управления посредством привода клапанов. Управлять клапанами можно различными способами. Можно, например, закрыть клапан 16 и открыть клапан 17 таким образом, что передача тепла будет происходить только на участке 14 вторичного контура 4. Клапаны 16, 17 можно привести в действие таким образом, что клапан 16 будет открыт, а клапан 17 – закрыт, В этом случае передачу тепла во вторичный контур 4 осуществляют на участках 14 и 15. Можно открыть и оба клапана 16, 17. В последнем случае осуществляют теплопередачу на участке 15 вторичного контура 4, а также усиленную теплопередачу на участке 14 вторичного контура 4.
Клапаны 16, 17 выполнены, как показано на чертеже, с возможностью приведения в действие непосредственно датчиками 18, 19, например, с использованием электрического, магнитного или механического регулирования. Можно также использовать клапаны 16, 17 и с ручным приводом. В этом случае клапаны приводятся в действие вручную в зависимости от субъективно ощущаемой или измеренной температуры.
На Фиг.2 показан еще один конструктивный вариант исполнения теплообменного аппарата, обозначения деталей здесь такие же.
Изменения заключаются в том, что датчики 18, 19 связаны с клапанами 16, 17 уже не напрямую, а посредством управляющего устройства 20, которое управляет клапанами 16, 17. Управляющее устройство 20 позволяет лучше учесть температурное влияние первичного контура 3 на вторичный контур 4.
В обоих случаях датчики температуры 18, 19 размещены возле точек 11, 12 подвода теплоносителя, поэтому в принципе они комплексно позволяют учесть термическое воздействие теплоносителя, подводимого через отдельные ступени первичного контура.
На Фиг.3 показан еще один конструктивный вариант исполнения многоступенчатого теплообменного аппарата. Обозначения деталей соответствуют Фиг.1 и 2.
Каждый клапан 16, 17 имеет привод 21, 22, причем приводами 21, 22 управляют посредством датчиков температуры 18, 19.
Последовательно со вторым клапаном 17 установлен клапан 23, реагирующий на изменения давления. Клапаном 23 управляют посредством мембраны 24 и капиллярной трубки 25, через которую передают давление, действующее перед клапаном 17, а также посредством схематично показанной мембранной пружины 26. Таким образом, благодаря клапану 23 падение давления в клапане 17 остается постоянным.
На первый клапан 16 влияет только температура в районе датчика 18. При этом степень открытия клапана 16 зависит от температуры на выходе вторичного контура 4. Вторым клапаном 17 управляют в зависимости от давления в подающей линии 7, так как на втором клапане 17 посредством дифференциального регулятора давления, содержащего реагирующий на изменение давления клапан 23, поддерживают постоянный перепад давления.
Формула изобретения
1. Многоступенчатый теплообменный аппарат (1) с первичным (3) и вторичным (4) контурами, между которыми происходит теплообмен, и теплоноситель, в которых протекает в противоположных направлениях, причем первичный контур (3) имеет, по меньшей мере, две точки (11, 12) подвода теплоносителя, смещенные относительно друг друга по ходу потока, при этом указанный теплообменный аппарат также содержит систему клапанов (16, 17), взаимодействующую с датчиками (18, 19) температуры и регулирующую поток теплоносителя через первичный контур (3), отличающийся тем, что система клапанов для каждой точки (11, 12) подвода теплоносителя имеет отдельный клапан (16, 17), причем количество датчиков (18, 19) температуры, размещенных во вторичном контуре (4), соответствует числу точек (11, 12) подвода теплоносителя.
2. Аппарат по п.1, отличающийся тем, что датчики (18, 19) температуры предназначены для определения температуры во вторичном контуре (4) в районе точек (11, 12) подвода теплоносителя первичного контура (3).
3. Аппарат по п.1, отличающийся тем, что каждый датчик температуры (18, 19) соответствует одному клапану (16, 17).
4. Аппарат по п.1, отличающийся тем, что датчики температуры (18, 19) связаны с общим управляющим устройством (20), которое управляет клапанами (16, 17).
5. Аппарат по любому из пп.1-4, отличающийся тем, что, по меньшей мере, один клапан (17), соединенный с точкой (12) подвода теплоносителя, размещенной по ходу потока дальше первой точки (11) подвода теплоносителя, скомбинирован с дифференциальным регулятором (23-26) давления, поддерживающим постоянный перепад давления в клапане (17).
РИСУНКИ
TH4A – Переиздание описания изобретения к патенту Российской Федерации
Причина переиздания: Коррекция в тексте формулы изобретения
Извещение опубликовано: 27.04.2008 БИ: 12/2008
TK4A – Поправки к публикациям сведений об изобретениях в бюллетенях “Изобретения (заявки и патенты)” и “Изобретения. Полезные модели”
Напечатано: (57) 1. …количество датчиков (28,19) температуры, размещенных во вторичном контуре (4) …4. Аппарат по п.1, отличающийся тем, что датчики темпратуры (18,19) связаны с …
Следует читать: (57) 1. …количество датчиков (18,19) температуры, размещенных во вторичном контуре (4) …4. Аппарат по п.1, отличающийся тем, что датчики температуры (18,19) связаны с …
Номер и год публикации бюллетеня: 1-2008
Код раздела: FG4A
Извещение опубликовано: 27.04.2008 БИ: 12/2008
|
|