|
|
(21), (22) Заявка: 2005123190/12, 26.01.2004
(24) Дата начала отсчета срока действия патента:
26.01.2004
(30) Конвенционный приоритет:
24.01.2003 DE 10302797.1
(43) Дата публикации заявки: 27.01.2006
(46) Опубликовано: 10.01.2008
(56) Список документов, цитированных в отчете о поиске:
WO 02/065036 А1, 22.08.2002. GB 2087529 А, 26.05.1982. GB 2186672 А, 19.08.1987. US 2179589 А, 14.11.1939. JP 01-266484 А, 24.10.1989. SU 1143952 А, 05.11.1983. SU 77084 A, 30.11.1949. SU 1245449 A, 27.03.1986.
(85) Дата перевода заявки PCT на национальную фазу:
24.08.2005
(86) Заявка PCT:
EP 2004/000638 (26.01.2004)
(87) Публикация PCT:
WO 2004/065867 (05.08.2004)
Адрес для переписки:
191186, Санкт-Петербург, а/я 230, “АРС-ПАТЕНТ”, пат.пов. В.М.Рыбакову, рег. № 90
|
(72) Автор(ы):
БАУЭР Петер (DE), БЕКЕ Кристоф (DE), ГЁРЦ Александер (DE), ЙАНССЕН Ханс-Райнхарт (DE), ШПИЛЛЕР Ральф (DE)
(73) Патентообладатель(и):
БСХ БОШ УНД СИМЕНС ХАУСГЕРЕТЕ ГМБХ (DE)
|
(54) ХОЛОДИЛЬНИК И ДВЕРЬ ХОЛОДИЛЬНИКА
(57) Реферат:
Холодильник с дверью и корпусом, к которому прикреплена дверь, причем дверь содержит наружную стенку и внутреннюю стенку, соединенные между собой по продольным и поперечным кромкам, а на верхней передней кромке корпуса смонтирован элемент индикации, отличающийся тем, что поперечная кромка выполнена так, что образовано смотровое окно, проходящее по глубине двери, через которое элемент индикации виден при закрытой двери. Использование данного изобретения позволяет увеличить дверь до верхней кромки корпуса так, чтобы не ухудшилось обозрение расположенных на лицевой стороне корпуса элементов управления при закрытой двери. 10 з.п. ф-лы, 9 ил.
Область техники
Предлагаемое изобретение относится к холодильнику, в особенности к его двери.
Уровень техники
Корпус обычных холодильников состоит из теплоизолирующего корпуса и прикрепленной к передней стороне корпуса также теплоизолирующей двери, которая обычно занимает всю ширину корпуса. В известном корпусе холодильника дверь заканчивается на несколько сантиметров ниже верхней кромки корпуса, чтобы оставить место для панели управления, которая монтируется на верхней кромке корпуса над дверью так, что передняя сторона панели управления находится на одном уровне с передней стороной двери, и предназначена для установки выключателей, кнопок и других элементов управления для задания режима работы холодильника, а также элементов индикации, содержащих информацию о рабочих параметрах холодильника, в хорошо обозримом и удобном для пользователя положении.
Чтобы удовлетворить вкусы как можно более широких слоев потребителей, для изготовителя холодильников желательно иметь возможность предложить холодильники различного внешнего вида, причем двери, как наиболее бросающейся в глаза части холодильника, придается особое значение. Одной из возможностей изменения внешнего вида является увеличение двери таким образом, чтобы она закрывала корпус холодильника до его верхней кромки, включая установленную на ней панель управления. Однако при этом теряются удобство обслуживания и обозримость панели управления.
Раскрытие изобретения
Задача настоящего изобретения состоит в том, чтобы создать холодильник, в котором можно увеличить дверь до верхней кромки корпуса так, чтобы, по меньшей мере, не ухудшалась обозримость расположенных на лицевой стороне корпуса элементов управления при закрытой двери.
Эта задача решена в холодильнике с дверью и с корпусом, к которому прикреплена дверь, причем дверь содержит наружную стенку и внутреннюю стенку, соединенные между собой по продольным и поперечным кромкам, а на верхней передней кромке корпуса смонтирован элемент индикации, причем согласно изобретению поперечная кромка выполнена так, что образовано смотровое окно, проходящее по глубине двери, через которое элемент индикации виден при закрытой двери.
Предпочтительно, поперечная кромка наружной стенки двери имеет служащее вырезом смотровое окно и выступает над соответствующей поперечной кромкой внутренней стенки.
Смотровое окно может захватывать всю толщину двери; но так как обычно в краевой области двери, где образовано смотровое окно, не требуется теплоизоляция, достаточно, чтобы внутренняя стенка двери, которая вместе с наружной стенкой охватывает теплоизолирующую полость двери, была не больше, чем требуется для закрытия внутренней полости корпуса. Тогда смотровое окно должно занимать только выступающий над кромкой внутренней стенки край наружной стенки, который по существу выполняет только эстетическую функцию.
Изолирующий промежуток между внутренней и наружной стенкой предпочтительно на одной стороне замкнут замыкающим элементом, закрепленным на краю наружной стенки, в котором вырезано смотровое окно, и на краю внутренней стенки. Контур замыкающего элемента повторяет контур образованного, по меньшей мере, в наружной стенке смотрового окна.
Смотровое окно может быть полностью открытым, так чтобы находящиеся на расположенной за ним панели управления корпуса элементы управления и индикации можно было не только видеть, но и трогать руками.
Чтобы лицевая поверхность холодильника была гладкой, удобной для чистки, желательно, чтобы в смотровое окно была вставлена светопроницаемая пластина. Такая пластина не позволяет непосредственно оперировать расположенными за ней элементами управления при закрытой двери. Однако возможность оперировать элементами управления имеет второстепенное значение по сравнению с возможностью видеть элементы индикации, так как оперировать элементами управления приходится редко, тогда как возможность в любое время беспрепятственно видеть элементы индикации важна, чтобы в любое время, в том числе и при закрытой двери, можно было обнаружить ненормальное рабочее состояние или нарушение функций холодильника.
Светопроницаемая пластина может быть выполнена заодно с замыкающим элементом или вставляться в вырез окна замыкающего элемента. Чтобы в последнем случае, в особенности, если наружная стенка в области смотрового окна выпукла, пластина по всему периметру прилегала к двери, желательно, чтобы пластина монтировалась с предварительным напряжением. Для этого желательно предусмотреть средства для фиксации окна на двери, прижимающие пластину посредине.
Пластина может быть выполнена из прозрачного материала, позволяя беспрепятственно видеть любые находящиеся за ней элементы управления и индикации.
Пластина также может быть выполнена из мутного (матового) материала, что особенно целесообразно, если пластина изготовляется заодно с замыкающим элементом, который предпочтительно не светопроницаем. Поскольку мутность не очень сильна, такая пластина позволяет без труда различать элементы индикации, в особенности светящиеся, расположенные на небольшом расстоянии от пластины.
По меньшей мере, на краевой области обратной стороны пластины образовано непрозрачное декоративное обрамление, предпочтительно непрозрачное декоративное обрамление.
Краткий перечень чертежей
Дальнейшие признаки и преимущества изобретения вытекают из следующего описания примеров реализации со ссылками на прилагаемые чертежи. На них изображены:
на фиг.1 – вид холодильника в перспективной проекции согласно первому варианту реализации изобретения;
на фиг.2 – разрез по верхней части двери холодильника, изображенного на фиг.1, на высоте окна;
на фиг.3 – разрез по верхней части двери холодильника, изображенного на фиг.1, в удаленной от окна плоскости разреза, параллельной плоскости разреза на фиг.1;
на фиг.4 – вид холодильника в перспективной проекции согласно второму варианту реализации изобретения;
на фиг.5 – разрез по верхней части двери, согласно фиг.4;
на фиг.6 – вид в перспективе верхней передней части холодильника согласно третьему варианту реализации изобретения;
на фиг.7 – вид в перспективе пластины двери по фиг.6;
на фиг.8 – разрез, аналогичный фиг.2, двери по фиг.6; и
на фиг.9 – вид холодильника в перспективной проекции согласно четвертому варианту реализации изобретения.
Осуществление изобретения
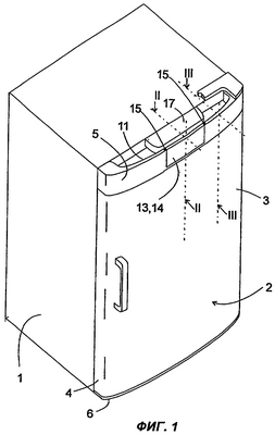
На фиг.1 изображен вид в перспективной проекции холодильника согласно первому варианту реализации изобретения. С корпусом 1 холодильника соединена дверь 2. Дверь 2 выполнена известным способом из металлического листа, согнутого вдоль нескольких вертикальных линий, для образования наружной стенки 3, боковых сторон 4 и не видных на фигуре, обращенных к передней стороне корпуса 1 планок, и из пластмассовой внутренней стенки 9 (см. фиг.2, 3), вертикальные кромки которой прикреплены к планкам. Внутренняя и наружная стенки ограничивают заполненную теплоизолирующим пеноматериалом полость 12. Горизонтальные кромки внутренней и наружной стенок не соприкасаются между собой, а соединяются с помощью верхнего и нижнего замыкающих элементов 5, 6, изготовленных из пластмассы методом литья под давлением.
На фиг.2 изображен верхний замыкающий элемент 5 и его окружение в вертикальном разрезе в плоскости, обозначенной на фиг.1 II-II. На фиг.3 изображен аналогичный разрез в плоскости III-III. Верхний замыкающий элемент содержит горизонтальную пластину 7, снабженную с нижней стороны пазами 8, в которые вставляются расположенные на одинаковом уровне верхние кромки наружной стенки 3 и внутренней стенки 9.
Как показано на фиг.3, наружная стенка 3 из стального листа продолжена вверх выполненным заодно с пластиной 7 участком 11 замыкающего элемента 5. Внутренняя полость участка 11, продолжающего наружную стенку, так же, как промежуток между наружной стенкой 3 и внутренней стенкой 9, заполнена изолирующим пеноматериалом 12. В этом участке 11 наружной стенки образован вырез окна 13, в которое вставлена пластина 14 из прозрачной пластмассы типа полиметилметакрилата или поликарбоната. По бокам пластины 14 расположены пружины 15, входящие в вертикальные пазы участка 11 наружной стенки. Сформованный на нижней кромке пластины 14 гребень 16 вставлен в вырез на верхней стороне пластины 7.
Сквозь пластину 14 видна смонтированная на передней кромке корпуса 1 панель обслуживания 17, на которой в частности расположены такие элементы для индикации рабочего состояния холодильника, как цифровой индикатор температуры, световой предупредительный сигнал неисправности и т.п.
Вариант, изображенный на фиг.4, отличается от варианта на фиг.1 тем, что наружная стенка 3 из металлического листа продолжена вверх с обеих сторон оконного выреза 13, так что вертикальные участки 11 замыкающего элемента 5 по фиг, 3 отпадают. Вместо этого в плоскости, обозначенной на фиг.4 V-V, которая соответствует плоскости III-III на фиг.1, образуется сечение, изображенное на фиг.5. Наружная стенка 3 продолжается непосредственно до верхней поперечной кромки двери 2, где она входит в паз 8 верхнего замыкающего элемента 5. Вертикальная боковая сторона 18 верхнего замыкающего элемента 5 компенсирует разность высот между наружной стенкой 3 и внутренней стенкой 9.
Вертикальный разрез по двери, изображенной на фиг.4, на высоте оконного выреза 13 не отличается от разреза, показанного на фиг.2, и поэтому не изображен на отдельной фигуре.
На фиг.6 изображен в перспективе еще один вид части корпуса холодильника и его двери 2 согласно изобретению. Наружная стенка 3 из металлического листа в данном варианте идентична изображенной на фиг.4. Верхний замыкающий элемент 5 отличается от изображенного на фиг.4 тем, что по периметру оконного выреза 13 его передняя кромка располагается заподлицо с наружной стенкой 3, что особенно хорошо видно в разрезе на фиг.8. Паз 8, в который вставлена верхняя кромка наружной стенки 3, здесь образован с внутренней стороны ребром 19, отходящим вниз от горизонтальной пластины 7 замыкающего элемента 5, а с наружной стороны – нижней краевой областью 20 пластины 14, которая незначительно выступает вперед над наружной стенкой 3.
На фиг.7 изображена в перспективной проекции пластина 14, если смотреть с ее обращенной к корпусу 1 обратной стороны. Можно видеть окруженную с трех сторон краевой областью 20 сравнительно толстостенную центральную часть 21, рассчитанную так, что она с геометрическим замыканием входит в оконный вырез 13 замыкающего элемента 5, тогда как краевая область 20 ложится снаружи на наружную стенку 3. Короткий прочный гребень 16 отходит вниз от нижнего края центральной части 21 и входит в вырез пластины 7. Так же, как наружная стенка 3, пластина 14 имеет незначительный цилиндрический выгиб с выпуклой наружной стороной. Пластина 14 изогнута сильнее, чем наружная стенка 3, так что когда краевые области 20 своими кромками прижимаются к наружной стенке 3, то расположенная между ними часть пластины 14 в разгруженном состоянии немного выступает над наружной стенкой 3. Только когда пластина 14 будет путем нажатия на ее среднюю часть подвергнута небольшой упругой деформации, выступ 16 встанет точно над вырезом в пластине 7, так что его можно будет вдвинуть в вырез и тем самым прочно зафиксировать пластину 14. Так, простым способом можно обеспечить, чтобы вся краевая область 20 окна 14, а в особенности ее нижняя кромка с геометрическим замыканием, была прижата к наружной стенке 3, даже если имеет место некоторый технологически обусловленный разброс кривизны наружной стенки 3.
Краевая область 20 на своей внутренней стороне, обращенной к наружной стенке 3 и замыкающему элементу 5, снабжена подходящим по цвету к наружной стенке 3 и замыкающему элементу 5 непрозрачным декоративным обрамлением, которое закрывает кромку наружной стенки 3 по периметру оконного выреза 13, так что незначительные отклонения размеров в этой зоне между наружной стенкой 3 и замыкающим элементом 5 остаются незаметными и не воспринимаются как дефекты внешнего вида.
На фиг.9 показан четвертый вариант предлагаемого изобретением холодильника. Наружная стенка 3 из металлического листа такая же, как в варианте по фиг.4; верхний замыкающий элемент 5 отличается от изображенного на фиг.4 только тем, что с обеих сторон оконного выреза по фиг.9 отсутствуют пазы 8. В оконный вырез не вставляется окно, вместо этого в этой области установленная на передней верхней кромке корпуса 1 панель управления 17 выдвигается вперед настолько, что она входит в оконный вырез и образует спереди вместе с наружной стенкой 3 и замыкающим элементом 5 гладкую торцевую поверхность 22. Так как торцевую поверхность 22 при закрытой двери можно не только беспрепятственно видеть, но и прикасаться к ней, на ней могут быть установлены также и элементы управления, на которые пользователь может воздействовать, чтобы регулировать режимы работы холодильника.
В соответствии с еще одним не изображенным на чертежах вариантом верхний замыкающий элемент 5 и пластина 14 могут быть выполнены также в виде цельной детали из одного и того же полимерного материала. Вообще для замыкающего элемента 5 используется совпадающий по цвету с наружной стенкой 3 непрозрачный полимерный материал. Но его толщина в области пластины может быть сделана столь малой, чтобы он, по меньшей мере, просвечивал. Световой индикатор на установленной позади пластины панели управления, расположенный на небольшом расстоянии от пластины, вызовет местное свечение самой просвечивающей пластины, так что показываемое индикатором эксплуатационное состояние можно будет определить непосредственно по самой пластине.
Формула изобретения
1. Холодильник с дверью и корпусом (1), к которому прикреплена дверь, причем дверь содержит наружную стенку и внутреннюю стенку, соединенные между собой по продольным и поперечным кромкам, а на верхней передней кромке корпуса (1) смонтирован элемент индикации, отличающийся тем, что поперечная кромка выполнена так, что образовано смотровое окно (13), проходящее по глубине двери (2), через которое элемент индикации виден при закрытой двери (2).
2. Холодильник по п.1, отличающийся тем, что поперечная кромка наружной стенки (3) имеет служащее вырезом смотровое окно (13) и выступает над соответствующей поперечной кромкой внутренней стенки (9).
3. Холодильник по п.1 или 2, отличающийся тем, что закрепленный на кромке наружной стенки (3) и на кромке внутренней стенки (9) первый замыкающий элемент (5), который вместе с наружной и внутренней стенками (3, 9) ограничивает изолирующую промежуточную полость, повторяет контур смотрового окна (13).
4. Холодильник по п.1 или 2, отличающийся тем, что в смотровом окне (13) установлена светопроницаемая пластина (14).
5. Холодильник по п.4, отличающийся тем, что пластина (14) выполнена заодно с замыкающим элементом (5).
6. Холодильник по п.4, отличающийся тем, что пластина (14) вставлена в оконный вырез замыкающего элемента (5).
7. Холодильник по п.6, отличающийся тем, что наружная стенка (3) в области смотрового окна (13) выполнена выпуклой, и пластина (14) смонтирована с предварительным напряжением.
8. Холодильник по п.7, отличающийся тем, что снабжен зацепляющимся за середину пластины (14) фиксатором (16) для фиксации пластины (14) на двери (2).
9. Холодильник п.4, отличающийся тем, что пластина (14) выполнена из прозрачного материала.
10. Холодильник по п.4, отличающийся тем, что пластина (14) выполнена из матового материала.
11. Холодильник п.4, отличающийся тем, что, по меньшей мере, на краевой области (20) обратной стороны пластины (14) образовано непрозрачное декоративное обрамление.
РИСУНКИ
|
|